|
|
(21), (22) Заявка: 2007147159/12, 18.12.2007
(24) Дата начала отсчета срока действия патента:
18.12.2007
(46) Опубликовано: 10.06.2009
(56) Список документов, цитированных в отчете о поиске:
SU 502627 A1, 15.02.1976. RU 2115304, 20.07.1998. RU 2265320 C2, 10.12.2005. EP 1329155 A2, 23.07.2003.
Адрес для переписки:
410012, г.Саратов, Театральная пл., 1, Саратовский государственный аграрный университет имени Н.И. Вавилова, патентный отдел
|
(72) Автор(ы):
Продивлянов Александр Владимирович (RU), Кузнецов Дмитрий Юрьевич (RU)
(73) Патентообладатель(и):
Федеральное государственное образовательное учреждение высшего профессионального образования “Саратовский государственный аграрный университет имени Н.И. Вавилова” (RU)
|
(54) ДОИЛЬНЫЙ АППАРАТ
(57) Реферат:
Изобретение относится к сельскому хозяйству, в частности к доильным аппаратам. Доильный аппарат содержит доильные стаканы, пульсоколлектор с камерами постоянного и переменного вакуума, разобщаемые клапанами. Пульсоколлектор выполнен в виде пульсатора и коллектора, соединенных между собой вакуумными шлангами, причем в верхней части коллектора установлен вибратор. Вибратор состоит из корпуса, внутри которого расположен поршень, делящий корпус на камеру постоянного атмосферного давления и камеру переменного вакуума, с возможностью перемещаться вверх вниз, причем камера постоянного атмосферного давления сообщается с атмосферой за счет отверстий в корпусе, а камера переменного вакуума соединена вакуумным шлангом вибратора с камерой переменного вакуума коллектора. Доильный аппарат обеспечивает стимулирование молокоотдачи в процессе доения, уменьшает наползание доильных стаканов на соски животного, прост по конструкции и удобен в эксплуатации. 1 ил.
Изобретение относится к сельскому хозяйству, в частности к доильным аппаратам.
Известен доильный аппарат, содержащий доильные стаканы, коллектор, пульсатор. Недостатком таких доильных аппаратов является то, что он не обеспечивает стимулирование молокоотдачи во время доения.
Известен доильный аппарат, содержащий доильные стаканы, коллектор, гофрированную трубку, груз, пружину, пульсатор. Такой доильный аппарат за счет использования силы, возникающей в результате периодического перемещения гофрированной трубки, воздействует на доильные стаканы через коллектор. При такте сжатия гофрированная трубка удлиняется, доильный стакан испытывает толчок вверх, при такте сосания – толчок вниз. (Королев В.Ф. Доильные машины (Теория, конструкция, расчет). М.: Государственное научно-техническое издательство «Машиностроительная литература», 1962. с.266].
Однако недостатком этого доильного аппарата является то, что при такте сосания доильные стаканы подталкиваются вверх, тем самым способствуя наползанию их на устье соска и перекрывая движение молока из вымени животного.
Наиболее близким к данному изобретению является доильный аппарат, содержащий однокамерные доильные стаканы с гофрированными эластичными присосками и пульсоколлектор с камерами постоянного и переменного вакуума, разобщенными клапанами с установленными на корпусе подвижными грузами. [прототип – А.с. 502627, кл. A01J 5/04, заяв. 11.09.73, опубл. 15.02.76. Бюл. 6].
Однако недостатком этого доильного аппарата является сложность конструкции и недостаточное стимулирование молокоотдачи во время доения, которое ведет к недополучению молока.
Технической задачей является извлечение большего количества молока за счет улучшения процесса доения путем стимулирования молокоотдачи коров и уменьшением наползания доильных стаканов на устье соска животного в процессе доения при одновременном упрощении конструкции доильного аппарата.
Задача достигается тем, что в доильном аппарате, содержащем доильные стаканы, пульсоколлектор с камерами постоянного и переменного вакуума, разобщаемые клапанами, в котором согласно изобретению пульсоколлектор выполнен в виде пульсатора и коллектора, соединенных между собой вакуумными шлангами, причем в верхней части коллектора установлен вибратор, состоящий из корпуса, внутри которого расположен поршень, делящий корпус вибратора на камеру постоянного атмосферного давления и камеру переменного вакуума с возможностью перемещаться вверх вниз, причем камера постоянного атмосферного давления сообщается с атмосферой за счет отверстий в корпусе вибратора, а камера переменного вакуума соединена вакуумным шлангом вибратора с камерой переменного вакуума коллектора.
Изобретение отличается от прототипа тем, что пульсоколлектор выполнен в виде пульсатора и коллектора, соединенных между собой вакуумными шлангами, причем в верхней части коллектора установлен вибратор, состоящий из корпуса, внутри которого расположен поршень, делящий корпус вибратора на камеру постоянного атмосферного давления и камеру переменного вакуума с возможностью перемещаться вверх вниз, причем камера постоянного атмосферного давления сообщается с атмосферой за счет отверстий в корпусе вибратора, а камера переменного вакуума соединена вакуумным шлангом вибратора с камерой переменного вакуума коллектора.
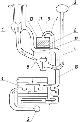
На чертеже изображена схема доильного аппарата.
Доильный аппарат состоит из доильных стаканов 1, вакуумпровода 2 соединенного с пульсатором 4, молокопровода 3 соединенного молочным шлангом 9 с коллектором 5. Пульсатор 4 через вакуумный шланг 10 соединен с коллектором 5, на котором установлен вибратор, состоящий из корпуса 6, с поршнем 7 разделяющим камеру постоянного атмосферного давления 8 и камеру переменного вакуума 13. Вакуумный шланг 11 вибратора соединяет камеру переменного вакуума 12 коллектора 5 и камеру переменного вакуума 13 вибратора.
Доильный аппарат работает следующим образом. При надевании доильных стаканов 1 на соски животного вакуум из молокопровода 3 через молочный шланг 9 поступает в коллектор 5 и далее в доильные стаканы 1. Одновременно с этим вакуум из вакуумпровода 2 поступает в пульсатор 4 и далее через вакуумный шланг 10 в камеру переменного вакуума 12 коллектора 5 и далее по вакуумному шлангу 11 в камеру переменного вакуума 13 вибратора, воздействуя на поршень 7, установленный в корпусе 6. За счет атмосферного давления в камере постоянного атмосферного давления 8, которое воздействует на поршень 7 снизу, и разрежения в камере переменного вакуума 13, поршень поднимается вверх, происходит толчок вверх коллектора 5 и доильных стаканов 1. Идет такт сосания. При наступлении смены тактов пульсатор 4 подает атмосферное давление в камеру переменного вакуума 12 коллектора 5, атмосферное давление поступает в доильные стаканы, наступает такт сжатия. Одновременно с этим атмосферное давление, через вакуумный шланг 11 вибратора воздействует на поршень 7 сверху. Под действием этого давления и собственного веса поршень 7 опускается вниз, происходит толчок вниз коллектора 5 и доильных стаканов в том же направлении, не давая доильным стаканам наползти на устье соска животного и одновременно стимулируя молокоотдачу. В дальнейшем процессы повторяются.
Предлагаемый доильный аппарат за счет ударных воздействий поршня 7 обеспечивает стимулирование молокоотдачи в процессе доения, уменьшает наползание доильных стаканов на соски животного, прост по конструкции и удобен в эксплуатации.
Формула изобретения
Доильный аппарат, содержащий доильные стаканы, пульсоколлектор с камерами постоянного и переменного вакуума, разобщаемые клапанами, отличающийся тем, что пульсоколлектор выполнен в виде пульсатора и коллектора, соединенных между собой вакуумными шлангами, причем в верхней части коллектора установлен вибратор, состоящий из корпуса, внутри которого расположен поршень, делящий корпус вибратора на камеру постоянного атмосферного давления и камеру переменного вакуума, с возможностью перемещаться вверх вниз, причем камера постоянного атмосферного давления сообщается с атмосферой за счет отверстий в корпусе вибратора, а камера переменного вакуума соединена вакуумным шлангом вибратора с камерой переменного вакуума коллектора.
РИСУНКИ
|
|