|
|
(21), (22) Заявка: 2007102562/12, 23.01.2007
(24) Дата начала отсчета срока действия патента:
23.01.2007
(43) Дата публикации заявки: 27.07.2008
(46) Опубликовано: 10.06.2009
(56) Список документов, цитированных в отчете о поиске:
SU 1172493 A1, 07.09.1984. SU 1606027 A1, 15.11.1990. FR 2469959 A1, 29.05.1981. DE 3530143 A1, 26.02.1987.
Адрес для переписки:
346428, Ростовская обл., г. Новочеркасск, ул. Пушкинская, 111, НГМА
|
(72) Автор(ы):
Ясониди Олег Евстратьевич (RU), Ясониди Елена Олеговна (RU), Кохно Наталья Олеговна (RU), Трофименко Анатолий Никифорович (RU), Рогозина Юлия Сергеевна (RU), Степанова Наталья Геннадиевна (RU), Тимонина Ирина Вячеславовна (RU)
(73) Патентообладатель(и):
ФГОУ ВПО “Новочеркасская Государственная Мелиоративная академия” (НГМА) (RU)
|
(54) КАПЕЛЬНИЦА
(57) Реферат:
Изобретение относится к технике полива сельскохозяйственных культур капельным способом. Капельница включает корпус с днищем и рифлениями, водовыпускное отверстие, гладкий плоский клапан, выполненный из эластичного материала, фиксатор, крышку с входным отверстием и присоединительным штуцером. Фиксатор гладкого плоского клапана выполнен монолитно с крышкой, одной деталью. На нижней поверхности фиксатора, обращенной к гладкому плоскому клапану, имеются делители – закручиватели потока воды криволинейной формы, выполняющие роль дополнительного гасителя напора. Рифления-канальцы на днище корпуса изгибаются под тупым углом у края водовыпускного отверстия и продолжаются по внутренним стенкам водовыпускного отверстия, что способствует устойчивой работе капельницы и ее самоочищению. Штуцерный наконечник снабжен упором в форме одного витка резьбы. Технический результат заключается в упрощении конструкции и технологического процесса изготовления, а также в повышении надежности ее работы. 1 з.п. ф-лы, 2 ил.
Изобретение относится к сельскохозяйственной гидротехнической мелиорации и может быть использовано для систем капельного орошения сельскохозяйственных культур.
Известна капельница, включающая корпус и крышку с выходными и входными патрубками, двояковыпуклый дроссель с отверстиями, перфорированный компенсатор, углубления, выполненные в крышке и корпусе, дополнительный дроссель, эластичный компенсатор, кольцевые пояски, при этом кольцевая полость гидравлически соединена с полостью корпуса радиально ориентированными прорезями (RU 2282345 С1, 27.08.2006).
Недостатком капельницы является значительная сложность ее конструкции, состоящей из множества конструктивных иногда дублирующих друг друга элементов, механически и гидравлически связанных между собой, в связи с чем капельница сложна в исполнении, имеет высокую стоимость и ненадежна в работе.
Наиболее близким техническим решением является капельница, включающая корпус с днищем и водовыпускным отверстием, эластичный клапан, расположенный на рифлениях с переменным сечением, выполненных на днище, фиксатор, крышку с входным отверстием, штуцерный наконечник, дополнительный гаситель напора (SU 1172493 А1, 07.09.1984).
Недостатком капельницы является ее сложная конструкция, которая состоит из пяти элементов, предусматривающих при ее изготовлении четыре литьевые прессформы и один штамп. Литье и сборка капельницы занимают много времени, а отсюда и высокая ее стоимость. Фиксатор эластичного клапана в виде разрезного кольца выскакивает из паза и ухудшает работу капельницы.
Техническим результатом, достигаемым при реализации данного изобретения, является упрощение конструкции и технологического процесса изготовления, снижение стоимости капельницы и повышение надежности ее работы.
Указанный технический результат достигается тем, что в капельнице, включающей корпус с днищем и рифлениями, водовыпускное отверстие, гладкий плоский клапан, выполненный из эластичного материала, фиксатор, крышку с входным отверстием и присоединительным штуцером, согласно изобретению фиксатор гладкого плоского клапана выполнен совместно и монолитно с крышкой, одной деталью, и на нижней поверхности фиксатора, обращенной к гладкому плоскому клапану, имеются делители-закручиватели потока воды криволинейной формы, выполняющие роль дополнительного гасителя напора, а рифления-канальцы на днище корпуса изогнуты под тупым углом у края водовыпускного отверстия и продолжены по внутренним стенкам водовыпускного отверстия, что способствует устойчивой работе капельницы и ее самоочищению.
Для более надежного крепления капельницы на трубопроводе штуцерный наконечник снабжен упором в форме одного витка резьбы.
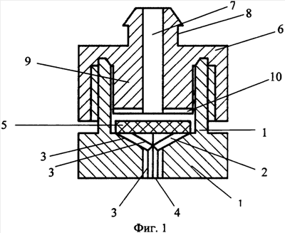
На фиг.1 изображена капельница, вертикальный разрез; на фиг.2 – фиксатор с делителями-закручивателями потока.
Капельница состоит из цилиндрического корпуса 1, изготовленного из пластика, днище 2 которого имеет рифления-канальцы 3, радиально расходящиеся от водовыпускного отверстия 4 к краям корпуса 1, причем высота рифлений-канальцев 3 у стенки корпуса 1 наибольшая, а у водовыпускного отверстия 4 наименьшая, рифления-канальцы 3 на днище корпуса, изгибаясь под тупым углом у края водовыпускного отверстия, продолжаются по внутренним стенкам водовыпускного отверстия 4. На рифлениях-канальцах 3 свободно расположен гладкий плоский клапан 5, изготовленный из эластичного материала. Совместно с крышкой 6, имеющей входное отверстие – канал 7 для воды и штуцерный наконечник 8, выполнен монолитно фиксатор 9, который определяет положение гладкого плоского клапана 5. На нижней поверхности фиксатора 9, обращенной к клапану 5, выполнены делители-закручиватели потока 10 криволинейной формы.
Капельница работает следующим образом.
Капельница устанавливается в отверстие на поливном трубопроводе, в которое с натягом и поворотом на 360° вставляется штуцерный наконечник 8. Вода из поливного трубопровода под давлением в 1,0-2,0 атм через входное отверстие – канал 7, расположенное на крышке 6 фиксатора 9, поступает в зону делителей-закручивателей потока 10, криволинейные лопасти которых расширяют и закручивают поток и выполняют роль дополнительного гасителя потока. При закручивании потока воды часть кинетической энергии поступательного движения переходит в кинетическую энергию вращательного движения, скорость поступательного движения уменьшается. Расчлененный на струи поток под действием центробежных сил при соударении между собой и о корпус 1 капельницы равномерно распределяется над свободно расположенным плоским клапаном 5, и его энергия гасится. Положение клапана 5 определяется фиксатором 9, и капельница может работать при любой ориентации в пространстве. Равномерно распределенный поток, с частично погашенной энергией, нормально давит на гладкий плоский клапан 5 из эластичного материала. У стенок корпуса 1 гладкий эластичный клапан 5 касается рифлений-канальцев 3 даже без давления. Под давлением воды гладкий эластичный клапан 5 воронкообразно прогибается, прижимаясь к рифлениям-канальцам 3 днища 2 и водовыпускному отверстию 4, изменяет, в зависимости от давления в сети, зазоры канальцев между рифлениями и затрудняет подход воды к водовыпускному отверстию 4. Этим достигается гашение энергии воды, а ее расход через водовыпускное отверстие 4 остается постоянным даже при различных давлениях в системе. Вода через водовыпускное отверстие 4 вытекает в атмосферу по каплям, безнапорно. Тонкий гладкий клапан 5 очень чувствителен к изменению давления в поливном трубопроводе, благодаря чему автоматическое регулирование расхода возможно в большом диапазоне давлений. Расход через капельницу зависит от конфигурации рифлений-канальцев 3, толщины и эластичности гладкого плоского клапана 5.
Автоматическая промывка капельницы происходит в момент включения и отключения системы при давлениях, близких к нулю. В этом случае гладкий плоский клапан 5 за счет своей эластичности выпрямляется, зазоры между ним и рифлениями-канальцами 3 увеличиваются, многократно возрастает расход воды через капельницу и происходит вынос из рифлений-канальцев 3 и водовыпускного отверстия 4 механических включений. Так как рифления-канальцы 3 выполнены не одинаковой высоты по длине (у стенок корпуса 1 их высота максимальная, а у водовыпускного отверстия 4 – минимальная), а, изгибаясь под тупым углом, они продолжаются по внутренним стенкам водовыпускного отверстия 4, это способствует быстрому выносу частиц за пределы капельницы. Капельница имеет несколько рифлений-канальцев 3 подхода воды к водовыпускному отверстию 4, что способствует надежности и устойчивости ее работы и обеспечивает более длительный срок службы.
Формула изобретения
1. Капельница, включающая корпус с днищем и рифлениями, водовыпускное отверстие, гладкий плоский клапан, выполненный из эластичного материала, фиксатор, крышку с входным отверстием и присоединительным штуцером, отличающаяся тем, что фиксатор гладкого плоского клапана выполнен совместно и монолитно с крышкой, одной деталью, и на нижней поверхности фиксатора, обращенной к гладкому плоскому клапану, имеются делители-закручиватели потока воды криволинейной формы, выполняющие роль дополнительного гасителя напора, а рифления-канальцы на днище корпуса изогнуты под тупым углом у края водовыпускного отверстия и продолжены по внутренним стенкам водовыпускного отверстия, что способствует устойчивой работе капельницы и ее самоочищению.
2. Капельница по п.1, отличающаяся тем, что для ее более надежного крепления на трубопроводе штуцерный наконечник снабжен упором в форме одного витка резьбы.
РИСУНКИ
|
|