|
|
(21), (22) Заявка: 2007115648/12, 25.04.2007
(24) Дата начала отсчета срока действия патента:
25.04.2007
(43) Дата публикации заявки: 27.10.2008
(46) Опубликовано: 10.06.2009
(56) Список документов, цитированных в отчете о поиске:
RU 49415 U1, 27.11.2005. SU 435778 A, 09.12.1974. SU 1186110 A, 23.10.1985. DE 3723141 A1, 04.02.1988.
Адрес для переписки:
656066, Алтайский край, г.Барнаул, ул. Гридасова, 20, ООО “Агроинновационный центр”, В.Г. Черепанову
|
(72) Автор(ы):
Кофейникова Елена Викторовна (RU), Мансков Владимир Ефимович (RU), Хоменко Анатолий Иванович (RU), Черепанов Вячеслав Геннадьевич (RU)
(73) Патентообладатель(и):
Общество с ограниченной ответственностью “Агроинновационный центр” (RU)
|
(54) ДИСКОВЫЙ СОШНИК
(57) Реферат:
Дисковый сошник содержит закрепленную на раме с возможностью вращения посредством подшипника стойку с каналом для прохода семян. На стойке закреплен режущий диск с отверстием в центре, совмещенным с каналом стойки. На нижней поверхности диска закреплен конусообразный рассеиватель семян. Рассеиватель с каналом образуют кольцевой зазор для прохода семян между конусообразной поверхностью рассеивателя и торцевой поверхностью стойки. Дисковый сошник дополнительно снабжен распределительными элементами. Распределительные элементы закреплены на нижней поверхности диска вокруг рассеивателя семян. Распределительные элементы установлены по меньшей мере в два отстоящих друг от друга и от рассеивателя ряда с зазорами между элементами в каждом ряду. Зазоры между элементами внутреннего ряда перекрыты элементами внешнего ряда. Распределительные элементы могут быть выполнены в виде пластин или штифтов цилиндрической, прямоугольной, овальной формы, установленных равномерно в шахматном порядке. Такое конструктивное выполнение позволит обеспечить равномерное внесение удобрений или семян и удобрений по всей ширине обрабатываемой полосы. 17 з.п. ф-лы, 4 ил.
Изобретение относится к области сельского хозяйства, в частности к рабочим органам машин для обработки почвы и посева.
Известен дисковый сошник, по технической сущности близкий заявленному (прототип). См. патент РФ на полезную модель 49415 от 27.11.2005 г., МПК А01В 49/06.
Известный дисковый сошник, содержит закрепленную на раме с возможностью вращения посредством подшипника стойку с каналом для прохода семян, закрепленный на стойке режущий диск с отверстием в центре, совмещенным с каналом стойки, конусообразный рассеиватель семян, закрепленный на нижней поверхности диска с образованием сообщенного с каналом стойки кольцевого зазора между его кольцеобразной поверхностью и торцевой поверхностью стойки.
В известном дисковом сошнике семена, попадающие через вертикальный канал стойки и кольцевой зазор на поверхность конусообразного рассеивателя, отскакивают от нее и концентрируются, по большей части, по краям посевной полосы. В центре полосы посев получается разреженным, что является основным недостатком известного дискового сошника.
Технической задачей настоящего изобретения является создание такого дискового сошника, в котором обеспечивалось бы равномерное распределение семян по всей ширине посевной полосы и снижение усилий, воздействующих на кромку режущего диска.
Поставленная техническая задача решается тем, что в известном дисковом сошнике, содержащем закрепленную на раме с возможностью вращения посредством подшипника стойку с каналом для прохода семян, закрепленный на стойке режущий диск с отверстием в центре, совмещенным с каналом стойки, конусообразный рассеиватель семян, закрепленный на нижней поверхности диска с образованием кольцевого зазора между конусообразной поверхностью и торцевой поверхностью стойки согласно изобретению:
– дисковый сошник дополнительно снабжен распределительными элементами, закрепленными на нижней поверхности вокруг рассеивателя семян;
– распределительные элементы выполнены в виде пластин, установленных, по меньшей мере, в два отстоящих друг от друга и от рассеивателя ряда с зазорами между элементами в каждом ряду, при этом зазоры между элементами внутреннего ряда перекрыты элементами внешнего ряда;
– распределительные элементы выполнены в виде штифтов цилиндрической, прямоугольной, овальной и т.п. формы, установленных равномерно в шахматном порядке;
– режущий диск имеет конусообразную форму;
– режущий диск имеет сфероидальную форму;
– режущий диск имеет в плане форму многогранника;
– на рабочих кромках режущего диска выполнены овальные и многогранные выступы;
– на наружной поверхности режущего диска выполнен, по меньшей мере, один кольцевой волнообразный выступ;
– по периметру режущего диска съемно закреплена режущая накладка из упрочненной стали, например стали 65 Г;
– на рабочую кромку режущего диска нанесен слой из изностойкого материала, например сормайта;
– дисковый сошник дополнительно снабжен ограничителем ширины рассева, закрепленным на нижней поверхности режущего диска, на расстоянии от его центра, равном половине ширины посевной полосы;
– ограничитель ширины рассева семян выполнен в виде кольца и к поверхности режущего диска прикреплен съемно;
– стойка закреплена на раме жестко, а режущий диск закреплен на стойке с возможностью вращения посредством подшипника;
– снаружи подшипника установлен стакан из упругого материала, например резины;
– конусообразная поверхность рассеивателя семян выполнена вогнутой в направлении его вертикальной оси;
– режущий диск смонтирован так, что между плоскостью, проходящей через его рабочую кромку, и горизонтальной плоскостью имеется угол =0,5-10°, направленный вершиной в сторону поступательного движения;
– в выходной части канала для прохода семян, выполненного в стойке, установлена центрирующая втулка с коническим пояском в ее верхней части, сужающимся по ходу движения семян с возможностью направления их на центральную часть рассеивателя;
– конусообразный рассеиватель установлен съемно.
Выполнение конусообразной поверхности рассеивателя семян, распределяющей сыпучие материалы, вогнутой к ее вертикальной оси, а также монтаж в канале для прохода семян центрирующей сыпучие материалы втулки с коническим пояском в ее верхней части, сужающимся по ходу движения семян с возможностью направления их на центральную часть конусообразного рассеивателя семян, позволяет повысить технологические возможности предлагаемого дискового сошника, интенсифицировать процесс обработки (рыхления) почвы, не препятствуя одновременному проведению других технологических операций, например равномерному распределению по ширине обрабатываемой полосы удобрений или одновременному равномерному внесению в почву удобрений и семян.
Установка поверх подшипника, в котором установлена стойка, стакана из упругого материала, например из резины, позволяет более мягко воспринимать переменные нагрузки, воздействующие на режущий диск, позволяет отклоняться режущему диску в стороны при встрече с преградой, находящейся в почве, позволяет снизить ударные нагрузки на заостренную кромку режущего диска и тем самым предотвратить выход его из строя.
Центрирующая сыпучие материалы втулка обеспечивает постоянную подачу семян и удобрений на центральную часть рассеивателя семян, что в сочетании с распределительными элементами позволяет распределять семена и/или удобрения равномерно по всей ширине посевной полосы.
Возможность установки по всему периметру режущего диска, по крайней мере одной режущей заостренной и упрочненной сменной накладки или нескольких накладок намного повышает ресурс режущего диска, его ремонтопригодность путем многократной замены режущих накладок.
Придание режущему диску возможности свободного вращения в горизонтальной или в приближенной к горизонтальной плоскости вследствие наклона стойки позволяет в наиболее оптимальном режиме, не нагружая чрезмерно режущий диск, осуществлять рыхление почвы, поскольку диск, встречая на пути движения в почве повышенное сопротивление с какой либо одной стороны, имеет возможность повернуться относительно оси вращения в любую сторону, уменьшив таким образом сопротивление продвижению вперед. К тому же наклон режущего диска вперед предотвращает повреждение или перемещение тыльной кромкой режущего диска распределенных по ширине посевной полосы семян.
Выполнение диска сфероидальным, как с ровной верхней поверхностью, так и с поверхностью, выполненной в виде по крайней мере одного волнообразного кольцевого выступа, позволяет оптимально эффективно осуществлять срезание на заданном уровне разной по плотности почвы и ее рыхление, стабилизировать сопротивление и стабильно удерживать заданную глубину обработки.
Конструктивные особенности предлагаемого дискового сошника поясняются чертежами.
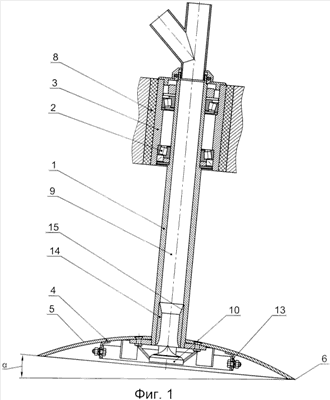
На фиг.1 представлен вид спереди.
На фиг.2 представлен вид снизу фиг.1.
На фиг.3 представлен вариант выполнения геометрии режущей кромки режущего диска, вид сверху и в разрезе в виде кольцевых волнообразных выступов.
На фиг.4 представлен вариант выполнения режущего диска с режущими упрочненными накладками.
Предлагаемый дисковый сошник содержит стойку 1, закрепленную на раме почвообрабатывающего агрегата (не показан) в подшипнике 2 с возможностью вращения в обойме 3. На стойке 1 жестко закреплен вращающийся в горизонтальной плоскости вместе со стойкой 1 режущий диск 4. Стойка 1 установлена с наклоном так, что между плоскостью, проходящей через рабочие кромки режущего диска и горизонтальной плоскостью, имеется угол =0,5-10°, направленный вершиной в сторону поступательного движения.
Наружная поверхность 5 режущего диска 4 выполнена сфероидальной формы (см. фиг.1), а для интенсификации рыхления почвы его наружная поверхность 5 может быть выполнена с кольцевыми волнообразными выступами (см. фиг.3). Кромки 6 режущего диска 4 упрочнены износостойким сплавом металлов (в варианте) и заточены. Для увеличения срока службы по периметру рабочей кромки 6 режущего диска 4 могут (в варианте) закрепляться одна или несколько режущих, упрочненных, например, сормайтом накладок 7 (см. фиг.4). Обойма 3 подшипника 2 может быть (в варианте) смонтирована в упругой обечайке 8, выполненной, например, из резины, обеспечивающей более «мягкий» контакт режущего диска с почвой. В полости сфероидального режущего диска 4 по осевой линии стойки 1 под каналом 9 для прохода семян смонтирован конусообразный рассеиватель 10 семян, распределяющий поток семян. Конусообразная поверхность рассеивателя 10 семян выполнена (в варианте) вогнутой к его оси, а на нижней поверхности сфероидального режущего диска 4 установлены распределительные элементы 11, 12 (см. фиг.2), частично ограничивающие движение семян и/или удобрений, отлетающих (отскакивающих) от конусообразной поверхности рассеивателя семян 10 и перекрывающих сектор, образованный вершиной последнего и краями ближайших распределительных элементов 11 или 12. Ограничитель ширины рассева 13 смонтирован на нижней поверхности режущего диска 4 и обеспечивает ограничение общей ширины распределения семян (удобрений) в почве согласно агротребованиям. В канале 9 стойки 1 в нижней его части установлена центрирующая втулка 14, в верхней части которой выполнен внутренний конусообразный поясок 15, направляющий поток семян к центру рассеивателя 10. По периметру рабочей кромки 6 режущего диска 4 могут быть смонтированы режущие сменные накладки 7. Рабочая кромка 6 режущего диска 4 может быть выполнена в виде выступов треугольной, прямоугольной, овальной или иной формы (не показано).
Предлагаемый дисковый сошник во время работы может выполнять раздельно или все вместе следующие основные операции: рыхление почвы, внесение удобрений в почву, высев семян в почву. При движении вперед режущий диск 4 вследствие наклона стойки 1 на угол =0-10° заглубляется в почву на заданную глубину. При перемещении режущего диска 4 в почве, последний по всему периметру передней режущей кромки 6 вследствие различного сопротивления почвы начинает воспринимать переменные, меняющиеся по величине в горизонтальной и вертикальной плоскостях нагрузки. Нагрузки на режущий диск 4 зависят не только от установленной глубины обработки, но и от засоренности поля, влажности и вида почв, от выровненности поверхности почвы. Так, в случае прохождения режущего диска 4 под выпуклой наружной поверхностью почвы (под холмом) нагрузка на режущий диск выше, а при прохождении режущего диска 4 под выемкой (углублением) в почве нагрузка на режущий диск 4 соответственно ниже. Нагрузки возрастают также при обработке тяжелых глинистых почв или при наличии накапливающихся на стойке 1 трав и сорняков, при встрече с инородными предметами, металлом, древесными корнями, камнями.
При воздействии нагрузки на режущий диск, последний, воспринимая эти нагрузки, распределяет их по всей длине полуокружности передней по ходу поступательного движения части режущего диска 4. Выполнение режущего диска 4 сфероидальным с волнообразным, по крайней мере одним кольцевым выступом (фиг.3) обеспечивает эффективное рыхление срезанного слоя почвы. При этом вращающаяся вместе с режущим диском 4 стойка 1 самоочищается от пожнивных остатков. После каждого поворота режущего диска 4 обработка и рыхление почвы осуществляются уже другой стороной режущего диска 4, первоначально не участвующей в резании слоя земли, сохраняя прежний режим обработки, в результате чего срок службы режущего диска 4 возрастает, по крайней мере, в три раза (если исходить из длины поверхности рабочей кромки режущего диска 4). К тому же исполнение режущего диска 4 сфероидальной формы, представляющей собой достаточно жесткую и прочную конструкцию, также сказывается на продолжительности работы предлагаемого дискового сошника.
При работе предлагаемого дискового сошника с почвами, при обработке которых возникают переменные вертикально-горизонтальные нагрузки на режущий диск 4, угол наклона стойки может быть изменен регулированием тягой, установленной на почвообрабатывающем агрегате (не показан). При работе с тяжелыми почвами угол наклона стойки по отношению к вертикальной плоскости может быть максимальным. Угол установки стойки менее 0,5° неприемлем вообще, а наклон стойки вперед на угол более 10° не дает ощутимых преимуществ в достижении положительного результата, являющегося технической задачей настоящего изобретения. Установка сменных режущих накладок 7 по периметру режущего диска 4 позволяет длительное время использовать в работе дисковый сошник предложенной конструкции.
Второй операцией, выполняемой при помощи предлагаемого дискового сошника, является посев семян. При проведении операций посева семян дисковый сошник работает следующим образом.
Семена по выполненному в стойке 1 каналу 9 с заданной интенсивностью падают на конусообразную поверхность 15 втулки 14, смонтированной в нижней части стойки 1, далее направляются на конусообразный рассеиватель семян 10 и, проскальзывая по его наружной поверхности, отлетают в стороны. При этом на пути их движения от конусообразного рассеивателя 10 смонтированы распределительные элементы 11 и 12. Часть семян задерживают распределительные элементы 11, смонтированные по периметру первой окружности, а часть семян задерживают распределительные элементы 12, смонтированные по периметру второй окружности. Окончательное расстояние разлета семян в стороны определяется размером режущего диска или (в варианте) смонтированным на нижней поверхности режущего диска 4 ограничителем ширины рассева 13, выполненным в виде кольца. Поскольку режущий диск 4 имеет наклон вперед от 0,5 до 10 градусов и вращается, то при сочетании всех отличительных признаков, связанных с вращением режущего диска 4 и стойки, распределение семян по ширине полосы, на которой осуществляется их посадка, получается равномерной.
Точно так же работает предлагаемый дисковый сошник при внесении в почву сыпучих удобрений.
При одновременной подаче в полость стойки удобрений и семян происходит равномерное распределение по ширине полосы и семян, и удобрений.
Размеры режущего диска, рассеивателя семян, ограничителя ширины рассеивания, расстояние между распределительными элементами определяются известным расчетным путем в зависимости от требуемых правилами агротехники ширины засеваемой полосы и расстояния между полосами.
Предлагаемый дисковый сошник может равномерно распределять по ширине обрабатываемой полосы и жидкие удобрения.
В случае обработки почвы с высокообразивными свойствами на режущий диск 4 устанавливаются износостойкие накладки 7.
В настоящее время авторами разработаны рабочие чертежи предлагаемого дискового сошника, изготовлен опытный образец, который проходит полевые испытания. Режущие диски дискового сошника хорошо показали себя в работе на различных глубинах и на различных видах почв при общей наработке на площади более 450 га. Ни один из дисков 4 или стоек 1 предлагаемой конструкции дискового сошника отказов в работе не имел. В работе дискового сошника со стойкой 1, установленной в упругой обечайке, отказов также не было.
Принято решение по окончании дополнительных полевых испытаний приступить к серийному выпуску предлагаемых устройств.
Формула изобретения
1. Дисковый сошник, содержащий закрепленную на раме с возможностью вращения посредством подшипника стойку с каналом для прохода семян, закрепленный на стойке режущий диск с отверстием в центре, совмещенным с каналом стойки, конусообразный рассеиватель семян, закрепленный на нижней поверхности диска с образованием сообщенного с каналом для прохода семян кольцевого зазора между его конусообразной поверхностью и торцевой поверхностью стойки, отличающийся тем, что дисковый сошник дополнительно снабжен распределительными элементами, закрепленными на нижней поверхности диска вокруг рассеивателя семян, при этом распределительные элементы установлены, по меньшей мере, в два отстоящих друг от друга и от рассеивателя ряда, с зазорами между элементами в каждом ряду, причем зазоры между элементами внутреннего ряда перекрыты элементами внешнего ряда.
2. Дисковый сошник по п.1, отличающийся тем, что распределительные элементы выполнены в виде пластин.
3. Дисковый сошник по п.1, отличающийся тем, что распределительные элементы выполнены в виде штифтов цилиндрической, прямоугольной, овальной формы, установленных равномерно в шахматном порядке.
4. Дисковый сошник по п.1, отличающийся тем, режущий диск имеет конусообразную форму.
5. Дисковый сошник по п.1, отличающийся тем, что режущий диск имеет сфероидальную форму.
6. Дисковый сошник по п.1, отличающийся тем, что режущий диск имеет форму многогранника.
7. Дисковый сошник по п.1, отличающийся тем, что на рабочих кромках режущего диска выполнены овальные и многогранные выступы.
8. Дисковый сошник по любому из пп.1-7, отличающийся тем, что на наружной поверхности режущего диска выполнен, по меньшей мере, один кольцевой волнообразный выступ.
9. Дисковый сошник по любому из пп.1-7, отличающийся тем, что по периметру режущего диска съемно закреплена режущая накладка из упрочненной стали, например стали 65 Г.
10. Дисковый сошник по любому из пп.1-7, отличающийся тем, что на рабочую кромку режущего диска нанесен слой из износостойкого материала, например сормайта.
11. Дисковый сошник по п.1, отличающийся тем, что он дополнительно снабжен ограничителем ширины рассева, закрепленным на нижней поверхности режущего диска, на расстоянии от его центра, равном половине ширины посевной полосы.
12. Дисковый сошник по п.1, отличающийся тем, что ограничитель ширины рассева семян выполнен в виде кольца и к поверхности режущего диска прикреплен съемно.
13. Дисковый сошник по п.12, отличающийся тем, что стойка закреплена на раме жестко, а режущий диск закреплен на стойке с возможностью вращения посредством подшипника.
14. Дисковый сошник по п.1, отличающийся тем, что снаружи подшипника установлен стакан из упругого материала, например резины.
15. Дисковый сошник по п.1, отличающийся тем, что конусообразная поверхность рассеивателя семян выполнена вогнутой в направлении его вертикальной оси.
16. Дисковый сошник по п.1, отличающийся тем, что режущий диск смонтирован так, что между плоскостью, проходящей через его рабочую кромку, и горизонтальной плоскостью имеется угол =0,5-10°, направленный вершиной в сторону поступательного движения.
17. Дисковый сошник по п.1, отличающийся тем, что в выходной части канала для прохода семян, выполненного в стойке, установлена центрирующая втулка с коническим пояском в ее верхней части, сужающимся по ходу движения семян, с возможностью направления их на центральную часть рассеивателя.
18. Дисковый сошник по п.1, отличающийся тем, что конусообразный рассеиватель установлен съемно.
РИСУНКИ
|
|