|
|
(21), (22) Заявка: 2007117972/02, 14.05.2007
(24) Дата начала отсчета срока действия патента:
14.05.2007
(43) Дата публикации заявки: 20.12.2007
(46) Опубликовано: 27.05.2009
(56) Список документов, цитированных в отчете о поиске:
СВЕНЧАНСКИЙ А.Д. Электрические промышленные печи, ч.1, «Энергия», 1958, с.134. SU 123639 A, 12.01.1959. RU 2077119 С1, 10.04.1997. RU 2057376 C1, 27.03.1996.
Адрес для переписки:
249032, Калужская обл., г. Обнинск, ул. Аксенова, 7, кв.140, Ю.В.Потапову
|
(72) Автор(ы):
Потапов Юрий Васильевич (RU)
(73) Патентообладатель(и):
Потапов Юрий Васильевич (RU)
|
(54) НАГРЕВАТЕЛЬНЫЙ ЭЛЕМЕНТ
(57) Реферат:
Изобретение относится к области электротермических установок, в частности к электрическим нагревательным элементам. Для повышения надежности нагревательного элемента за счет снижения его габаритов нагревательный элемент выполнен в виде стержня или трубы, длина рабочей части которой ограничена радиальным и осевым пазами до перемычки на торце, причем нормально к осевому пазу выполнен второй осевой паз, одна часть которого рассекает нагревательный элемент до перемычки у радиального паза, а другая часть – на всю длину. Нагревательный элемент может быть выполнен из тугоплавкого материала, например вольфрама. 1 з.п. ф-лы, 1 ил.
Изобретение относится к области электротермии, в частности к электрическим нагревательным элементам.
Известны нагревательные элементы, выполненные в виде проволочных и ленточных нагревателей, помещенных в трубчатую оболочку, заполненную наполнителем, например окисью магния (Низкотемпературный электрический нагрев./Под ред. А.Д.Свенчанского, М., Энергия, 1978, с.40, рис.10, где приведены эскизы таких элементов, а на с.68, рис.24 показаны варианты их выполнения).
Недостатком таких нагревательных элементов являются ограниченная температурой в 650-1400°С область применения, недостаточно высокая удельная теплоотдача (Свенчанский А.Д. Электрические промышленные печи. Ч.1. “Электрические печи сопротивления”, ГЭИ, 1958, с.103, 260, 263).
Наиболее близким по отличительным признакам к предлагаемому являются стержневые трубчатые нагревательные элементы (приведенные в этом же источнике на с.134, рис.4-42 с выводами, показанными на с.133, рис.4-38, где вывод 1 соединен с ленточным нагревателем 2 через приваренный к ним жароупорный хомутик 3).
При выполнении нагревательного элемента на температуру, превышающую 2000°С непосредственное соединение нагревателя, например из вольфрама с выводом из стали становится проблематичным особенно при его большой удельной теплоотдаче.
Габариты нагревателя и электрические параметры при этом имеют решающее значение.
Задачей изобретения является повышение надежности нагревательного элемента при снижении его габаритов.
Поставленная задача решается путем выполнения рабочей части нагревательного элемента на стержневой иди трубчатой заготовке с одновременным формированием токоподводов.
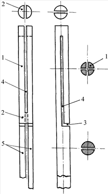
На чертеже приведены общий вид нагревательного элемента и его поперечные сечения.
Нагревательный элемент содержит рабочую часть 1 с перемычками 2, радиальный паз 3, осевые пазы 4 и токоподводы 5.
Такой нагревательный элемент выполнен из целой стержневой или трубчатой заготовки из тугоплавкого материала, например вольфрама. В этом случае на заготовке электроискровым способом сформированы радиальный паз 3 и осевые пазы 4 с сохранением перемычек 2.
В таком нагревательном элементе электрический ток протекает последовательно по четырем ветвям его рабочей части 1, обеспечивая высокое локальное тепловыделение и высокую надежность за счет существенного повышения сечения токоподводов из однородного материала.
При выполнении нагревательного элемента из стержневой или трубчатой заготовки, материал которой допускает механическую обработку, радиальный 3 и осевые пазы 4 выполнены фрезерованием.
Пример выполнения нагревательного элемента
| Вольфрам диаметром |
4,0 мм |
| Рабочая часть |
100,0 мм |
| Число ветвей рабочей части |
4 |
| Ширина радиального паза |
0,5 мм |
| Ширина осевых пазов |
0,3 мм |
| Сечение рабочей ветви |
2,57 мм |
| Ширина торцевых перемычек |
7,5 мм |
| Длина токоподводов |
85,0 мм |
| Общая длина нагревательного элемента |
200,0 мм |
| Удельное электросопротивление при 2100°С |
0,605 Ом·мм2/м |
| Длина токовой цепи |
400,0 мм |
| Сопротивление рабочей части при 2100°С |
0,094 Ом |
| Напряжение |
15,0 В |
| Ток |
160,0 А |
| Мощность |
2400,0 Вт |
Таким образом, нагревательный элемент при минимальных геометрических размерах позволяет получить достаточно большую мощность.
Формула изобретения
1. Нагревательный элемент, содержащий рабочую часть и токоподводы, отличающийся тем, что он выполнен в виде стержня или трубы и имеет перемычки на торце рабочей части, длина которой ограничена радиальным и осевым пазами до перемычки на торце, при этом нормально к осевому пазу выполнен второй осевой паз, одна часть которого рассекает нагревательный элемент до перемычки у радиального паза, а другая часть – на всю его длину.
2. Нагревательный элемент по п.1, отличающийся тем, что он выполнен из тугоплавкого материала, например из вольфрама.
РИСУНКИ
|
|