|
|
(21), (22) Заявка: 2005136979/09, 27.04.2004
(24) Дата начала отсчета срока действия патента:
27.04.2004
(30) Конвенционный приоритет:
29.04.2003 EP 03101170.3
(43) Дата публикации заявки: 10.04.2006
(46) Опубликовано: 27.05.2009
(56) Список документов, цитированных в отчете о поиске:
WO 01/69927 А2, 20.09.2001. RU 2154346 C2, 10.08.2000. WO 01/33852 A1, 10.05.2001. RU 2196389 C2, 10.01.2003.
(85) Дата перевода заявки PCT на национальную фазу:
29.11.2005
(86) Заявка PCT:
IB 2004/050519 20040427
(87) Публикация PCT:
WO 2004/098186 20041111
Адрес для переписки:
129090, Москва, ул. Б.Спасская, 25, стр.3, ООО “Юридическая фирма Городисский и Партнеры”, пат.пов. Ю.Д.Кузнецову, рег. 595
|
(72) Автор(ы):
ВАНГЕСТЕЛ Вильхельмус Й. (NL), КЕЛЛИ Деклан П. (NL), НЬЮТОН Филип С. (NL)
(73) Патентообладатель(и):
КОНИНКЛЕЙКЕ ФИЛИПС ЭЛЕКТРОНИКС Н.В. (NL)
|
(54) УСТРОЙСТВО И СПОСОБ ДЛЯ ЗАПИСИ ИНФОРМАЦИИ
(57) Реферат:
Изобретение относится к устройству и способу для записи информации и к носителю записи. Техническим результатом является расширение функциональных возможностей. Устройство для записи записывает закодированную цифровым образом видеоинформацию на носителе записи в соответствии с заранее заданным форматом, таким как BD. Устройство имеет блок (91) ввода для приема потока данных, содержащего видеоинформацию, и прикладных информационных объектов, содержащихся в сообщениях, таких как DVB-MHP. Устройство имеет блок (92, 94) сообщений для выделения сообщений из потока данных. Сообщения запоминаются в файле сообщений в виде последовательности сообщений для программы отдельно от видеоинформации. Устройство также имеет блок (95) синтаксического анализа для создания прикладной управляющей информации, которая включает в себя информацию доступа для доступа к сообщениям в файле сообщений. Прикладная управляющая информация запоминается в информационном файле сообщений. 4 н. и 6 з.п. ф-лы, 13 ил.
Область техники, к которой относится изобретение
Изобретение относится к устройству для записи информации.
Кроме того, изобретение относится к устройству для считывания информации с носителя записи.
Изобретение также относится к носителю записи.
Изобретение, кроме того, относится к способу записи информации.
Изобретение также относится к компьютерному программному продукту для записи информации.
Уровень техники
Из WO 01/33852 известны устройство и способ для записи информации на носителе записи, где сжатые цифровым образом видеоданные записываются на носитель записи в соответствии со стандартом видеокодирования, например, в формате MPEG2. Поток данных включает в себя видеоданные и «проталкиваемые» интерактивные данные (то есть данные, доставляемые пользователям, независимо от того, запрашивали ли они указанные данные или нет), образующие вместе пользовательскую программу с расширенными возможностями, которая предоставляет пользователю видеопрограмму и интерактивные функции или данные, такие как опции с ответами на вопросы или действующие биржевые котировки. Поток данных транслируется в приемное устройство и включает в себя один или несколько прикладных информационных объектов, представляющих проталкиваемые интерактивные данные. Прикладные информационные объекты могут включать в себя объекты различных типов, в том числе файловую таблицу, для предоставления пользователю нескольких интерактивных приложений при визуализации видеоданных. При приеме потока данных из него извлекают отдельные информационные объекты. Затем эти информационные объекты запоминают вместе со свойствами объектов и файловой таблицей. Таким образом, проталкиваемые интерактивные данные преобразуются в извлекаемые интерактивные данные, то есть приложение оказывается под управлением пользователя. Заметим, что запоминание потока данных целиком, то есть так, как он принят, связано с рядом недостатков. Например, при запуске визуализации программы в случайно выбранный момент времени любое интерактивное приложение будет доступно только после паузы, связанной с ожиданием, пока оно не будет включено (повторно включено) в поток данных. Поэтому информационные объекты запоминают отдельно в виде файлов, которые могут быть доступны пользователю в любое время. Однако для запоминания информационных объектов в виде файлов требуется заранее определенный формат файла и система доступа к файлам, подходящая для любых приложений, когда в поток данных должна быть включена информация файловой таблицы.
Раскрытие изобретения
Целью изобретения является создание системы для записи и воспроизведения пользовательской программы с расширенными возможностями, содержащей закодированную цифровым образом информацию в реальном времени и интерактивные приложения, которая способна запоминать видео и интерактивные приложения, содержащиеся в потоке данных, используя универсальный формат запоминания, и которая совместима с ранее существовавшими устройствами записи и воспроизведения, работающими в соответствии с заранее заданным форматом записи.
Согласно первому аспекту изобретения устройство для записи информации на носителе записи содержит: средство записи для записи меток, представляющих закодированную цифровым образом информацию в реальном времени, в частности – видео, в соответствии с заранее заданным форматом записи; блок ввода для приема потока данных, образующего пользовательскую программу с расширенными возможностями, причем поток данных содержит информацию в реальном времени и прикладные информационные объекты, при этом по меньшей мере один поднабор прикладных информационных объектов образует данные для предоставления пользователю по меньшей мере одного интерактивного приложения при визуализации информации в реальном времени; средство сообщений для выделения сообщений из потока данных, причем сообщения содержат прикладные информационные объекты; средство синтаксического анализа для создания прикладной управляющей информации и средство управления для запоминания сообщений в файле сообщений отдельно от информации в реальном времени в виде последовательности сообщений для программы и для запоминания прикладной управляющей информации в информационном файле сообщений, причем прикладная управляющая информация включает в себя информацию доступа для доступа к сообщениям в файле сообщений.
Согласно второму аспекту изобретения устройство для считывания информации с носителя записи для визуализации пользовательской программы с расширенными возможностями содержит: средство считывания для считывания меток, представляющих закодированную цифровым образом информацию в реальном времени, в частности – видео, в соответствии с заранее заданным форматом записи; и средство управления для обеспечения пользователя по меньшей мере одним интерактивным приложением на основе по меньшей мере одного поднабора прикладных информационных объектов при визуализации информации в реальном времени путем извлечения прикладной управляющей информации из информационного файла сообщений и путем извлечения сообщений из файла сообщений на основе информации доступа, включенной в прикладную управляющую информацию, причем сообщения содержат прикладные информационные объекты, а файл сообщений запоминается отдельно от информации в реальном времени.
Согласно третьему аспекту изобретения носитель записи несет на себе информацию для образования пользовательской программы с расширенными возможностями, на котором метки носителя записи на дорожке представляют закодированную цифровым образом информацию в реальном времени, в частности – видео, в соответствии с заранее заданным форматом записи, файл сообщений отдельно от информации в реальном времени, причем файл сообщений содержит сообщения, содержащие прикладные информационные объекты, при этом один поднабор прикладных информационных объектов образует данные для обеспечения пользователя по меньшей мере одним интерактивным приложением при визуализации информации в реальном времени, а информационный файл сообщений содержит прикладную управляющую информацию, включающую в себя информацию доступа для доступа к сообщениям в файле сообщений.
Упомянутые меры дают результаты, состоящие в том, что прикладные информационные объекты запоминаются в отдельном файле сообщений. Информационный файл сообщений имеет информацию доступа для извлечения отдельных прикладных информационных объектов из файла сообщений. Информационный файл сообщений создают путем использования информации из потока данных, предоставляемого для немедленной визуализации. Файл сообщений и информационный файл сообщений доступны напрямую устройству визуализации для использования при задержке воспроизведения и когда требуются интерактивные функции.
Это дает преимущество, состоящее в том, что обеспечивается система запоминания и извлечения для прикладных данных, которая не зависит от файловой информации, введенной передатчиком в поток данных. Появляется возможность размещения большого количества различных интерактивных приложений и произвольного доступа к ним, просто используя файл сообщений и информационный файл сообщений.
Изобретение также основано на следующем представлении. Авторы изобретения установили, что синтаксический анализ потока данных и выделение информационных объектов для запоминания файлов для каждого интерактивного приложения требует, чтобы приемник извлекал подробную информацию из потока данных. Обеспечение системы запоминания сообщений, которая последовательно запоминает сообщения и создает информацию доступа для быстрого перемещения по сообщениям, основано на той же информации, которая необходима для немедленного воспроизведения. Поэтому система запоминания, основанная на переданных сообщениях, менее сложна и более универсальна, чем система запоминания, основанная на прикладных файлах WO 01/33852. В этой системе приемник сконфигурирован для синтаксического анализа проталкиваемых данных для обеспечения отдельных информационных объектов, которые образуют поток данных программы и запоминания информационных объектов в запоминающем устройстве в виде набора файлов, а не в виде последовательности сообщений.
В варианте устройства средства синтаксического анализа скомпонованы для включения в информационный файл сообщений по меньшей мере одного из следующего для одного сообщения: номер сообщения, причем номер сообщения идентифицирует данное сообщение в последовательности сообщений; индикатор типа сообщения; начальное местоположение в файле сообщений; длину сообщения; количество последовательных сообщений. Это дает преимущество, заключающееся в том, что любое сообщение можно легко извлечь из файла сообщений, используя информационный файл сообщений.
В варианте устройства средства сообщений скомпонованы для удаления избыточной информации из сообщений, выделенных блоком синтаксического анализа. Это дает преимущество, состоящее в том, что уменьшается количество информации, подлежащей запоминанию.
Дополнительные предпочтительные варианты устройства записи или считывания, носителя записи и способа согласно изобретению представлены в формуле изобретения.
Краткое описание чертежей
Эти и другие аспекты изобретения станут очевидными и будут разъяснены дополнительно со ссылками на описанные в качестве примера варианты его осуществления в последующем описании и со ссылками на сопроводительные чертежи, на которых:
Фиг.1а – носитель записи (вид сверху).
Фиг.1b – носитель записи (поперечное сечение).
Фиг.2 – устройство записи и/или считывания.
Фиг.3 – блок-схема уровней во время записи BD.
Фиг.4 – запись видео в соответствии с форматом записи BD.
Фиг.5 – структура прикладного уровня.
Фиг.6 – структура каталогов для системы BD.
Фиг.7 – формат передачи для сообщений данных MHP в потоке MPEG-TS.
Фиг.8 – структура групп для карусели.
Фиг.9 – обработка потока данных для выделения сообщений и информации о сообщениях.
Фиг.10 – структура прикладного уровня при запоминании данных MHP.
Фиг.11 – структура файла сообщений.
Фиг.12 – пример информационного файла сообщений; и
Фиг.13 – структура каталогов для данных MHP.
Соответствующие элементы на разных фигурах имеют одинаковые цифровые ссылки.
Осуществление изобретения
На фиг.1а показан носитель 11 записи в форме диска, имеющий дорожку 9 и центральное отверстие 10. Дорожка 9, на которой размещается последовательность записанных (подлежащих записи) меток, представляющих информацию, имеет спиральную конфигурацию из витков, образующих фактически параллельные дорожки на информационном уровне. Носитель записи может представлять собой оптически считываемый диск, называемый оптическим диском, который имеет информационный уровень записываемого типа. Примерами записываемого диска являются компакт-диск CD-R (с однократной записью) и компакт-диск CD-RW (перезаписываемый), и перезаписываемые версии DVD, например DVD+RW, а также перезаписываемый оптический диск высокой плотности, использующий лазеры, работающие в синей области спектра, который называется диском синей области спектра (BD). Информация представляется на информационном уровне путем записи оптически обнаруживаемых меток вдоль дорожки, например кристаллических или аморфных меток в материале с фазовым переходом. Дорожка 9 на носителе с однократной записью отличается наличием предварительно выполненной тисненой структуры дорожки, обеспечиваемой при изготовлении чистого носителя записи. Структура дорожки образуется, например, предварительно размеченной дорожкой 14, которая позволяет головке считывания/записи отслеживать дорожку во время сканирования. Структура дорожки содержит информацию о положении, например адреса, для индикации местоположения единиц информации, обычно называемых информационными блоками.
На фиг.1b показано поперечное сечение носителя 11 с однократной записью по линии b-b, где прозрачная подложка 15 снабжена слоем 16 записи и защитным слоем 17. Защитный слой 17 может содержать дополнительный слой подложки, например как на диске DVD, где слой записи находится на подложке 0,6 мм, а дополнительная подложка 0,6 мм соединена с ее задней стороной. Предварительно размеченная дорожка 14 может быть реализована в виде углубления или возвышения материала подложки 15, или в виде отклонения свойства материала от окружающей среды.
Носитель 11 записи предназначен для того, чтобы нести информацию, представляющую закодированное цифровым образом видео, типа закодированной в стандарте MPEG2 видеоинформации, записанной в соответствии с заранее заданным форматом записи, таким как формат DVD. Дополнительные подробности о диске DVD можно найти, обратившись к ECMA-267: 120 mm DVD-Read-Only Disc – (1997) и соответствующим спецификациям для видеозаписи DVD. Формат записи BD описан в System Description Blue-Ray Disc Rewritable Format, в частности в Part 3: Audio Visual Specifications, version 1.0, June 2002. Соответствующие аспекты описаны ниже со ссылками на фиг. 3 и 4. Трансляция и транспортировка мультимедийных данных для домашней платформы, называемой далее MHP, описаны в документе по стандартизации ETSI TS 101.812, в то время как соответствующие аспекты описаны ниже со ссылками на чертежи.
На фиг.2 показано устройство записи и/или считывания для записи информации на носитель 11 записи, являющийся носителем с однократной записью или носителем перезаписываемого типа, например CD-R или CD-RW, либо DVD+RW или BD. Устройство снабжено средством записи для сканирования дорожки на носителе записи, причем это средство включает в себя приводной блок 21 для вращения носителя 11 записи, головку 22, блок 25 позиционирования для грубого позиционирования головки 22 в радиальном направлении на дорожке и блок 20 управления. Головка 22 содержит оптическую систему известного типа для создания луча 24 излучения, направленного через оптические элементы, сфокусированные на пятно 23 излучения на дорожке информационного слоя носителя записи. Луч 24 излучения создается источником излучения, например лазерным диодом. Головка дополнительно содержит (не показано) фокусирующий исполнительный механизм для перемещения фокуса луча 24 излучения вдоль оптической оси указанного луча и исполнительный механизм слежения для точного позиционирования пятна 23 в радиальном направлении по центру дорожки. Исполнительный механизм слежения может содержать обмотку для радиального перемещения оптического элемента или в альтернативном варианте может быть установлен для изменения угла отражающего элемента. Во время записи информации обеспечивается управление излучением для создания оптически обнаруживаемых меток в слое записи. Метки могут быть выполнены в любом оптически считываемом виде, например в виде областей с коэффициентом отражения, отличным от окружающей среды, причем это обеспечивается при записи на таких материалах, как краситель, сплав или материал с фазовым переходом, или в виде областей с направлением намагничивания, отличным от окружающей среды, что обеспечивается при записи на магнитооптическом материале. Во время считывания излучение, отраженное информационным слоем, обнаруживается детектором обычного типа, например четырехквадратным диодом, в головке 22 для создания сигнала считывания и дополнительных сигналов детектора, в том числе ошибки слежения и сигнала ошибки фокусировки для управления указанными исполнительными механизмами слежения и фокусировки. Сигнал считывания обрабатывается блоком 30 обработки считывания обычного типа, включающим демодулятор, деформатер и блок вывода, для извлечения информации. Таким образом, средство извлечения для считывания информации включает в себя приводной блок 21, головку 22, блок 25 позиционирования и блок 30 обработки считывания. Устройство может включать в себя блок 36 визуализации, соединенный с блоком 30 обработки считывания, для визуализации информации в реальном времени, например на дисплейном экране для визуализации видеоинформации.
Устройство содержит средство обработки записи для обработки введенной информации с целью создания сигнала записи для привода головки 22, причем средство содержит блок ввода 27, форматер 28 и модулятор 29. Блок 20 управления управляет записью и извлечением информации и может быть скомпонован для приема команд от пользователя или от главного компьютера. Блок 20 управления подсоединен через линии 26 управления, например системную шину, к указанному блоку 27 ввода, форматеру 28 и модулятору 29, к блоку 30 обработки считывания и к блоку 21 привода и блоку 25 позиционирования. Блок 20 управления содержит схемы управления, например микропроцессор, программную память и управляющие вентильные схемы для выполнения процедур и функций согласно изобретению, как описано ниже. Блок 20 управления может также быть реализован в виде конечного автомата на логических схемах.
Блок 27 ввода принимает и обрабатывает поток данных, содержащий по меньшей мере одну аудио- или видеопрограмму, например транспортный поток цифровой вещательной сети, такой как MHP, для образования пользовательской программы с расширенными возможностями. Поток данных содержит программную информацию в реальном времени и прикладные информационные объекты, передаваемые в карусели, как объяснено ниже со ссылками на фиг. 7 и 8. Поднабор прикладных информационных объектов, обычно называемый модулем, образует данные для предоставления пользователю по меньшей мере одного интерактивного приложения при визуализации информации в реальном времени. Поток данных выбранной программы передается на форматер 28 для создания управляющих данных и форматирования этих данных, как описано ниже со ссылками на фиг.9. Для компьютерных приложений информация может взаимодействовать с форматером 28 непосредственно. Отформатированные данные с выхода форматера 28 передаются в блок 29 модуляции, который содержит, например, канальный кодер, для создания модулированного сигнала, который приводит в действие головку 22. Кроме того, блок 29 модуляции содержит средство синхронизации для включения в модулированный сигнал синхронизирующих последовательностей. Отформатированная информация, поданная на вход блока 29 модуляции, содержит адресную информацию и записывается в соответствующие адресуемые места на носителе записи под управлением блока 20 управления в соответствии с заранее заданным форматом записи. Следует заметить, что дополнительно в тексте сделаны ссылки на заранее заданный формат записи BD, как пример указанного формата. Однако можно также использовать другие, заранее заданные форматы записи, такие как DVD+RW.
Устройство снабжено прикладным блоком 32 для извлечения прикладных информационных объектов и прикладных управляющих данных под управлением блока 20 управления из файлов, как описано ниже. Приложение представляют пользователю вместе с информацией в реальном времени, извлекаемой через блок 30 считывания.
Заметим, что, как показано на фиг.2, устройство имеет функции записи и воспроизведения. В альтернативном варианте устройство считывания только для воспроизведения имеет соответствующие элементы для извлечения информации из носителя записи и содержит сканирующие элементы и схемы обработки считывания, но не имеет блок 27 ввода, форматер 28 и модулятор 29.
Запись транспортных потоков, таких как транспортные потоки MPEG, определена в системе BD. В системе BD-RE заданы режимы для запоминания транспортных потоков MPEG2, получаемых из цифрового вещания. Во время записи поток анализируется, в результате чего получают и запоминают характеристические данные вне основного транспортного потока. Главная причина запоминания этих характеристических данных вне транспортного потока состоит в обеспечении произвольного доступа для запуска визуализации в выбранный момент представления и для предоставления возможности редактирования списков воспроизведения. В известной системе BD характеристические данные относятся к самим видеоданным, и возможности для отдельных приложений типа MHP не предоставляются.
Заметим, что в системах записи на основе магнитной ленты записывается поток данных целиком. Например, в системе DV (используемой теперь только для приложений для портативных видеокамер) разработаны спецификации для записи транспортных потоков MPEG2 на лентах DV. Такую спецификацию можно найти в:
Specifications of Consumer Use Digital VCRs using 6.3 mm magnetic tape,
Part 7: DVB Specifications of Consumer-Use Digital VCR
Part 8: ATV Specifications of Consumer-Use Digital VCR
by: HD Digital VCR Conference [Blue Book], December 1995.
Например, система DVHS предназначена для использования с целью запоминания (частичного) транспортных потоков MPEG из цифровых вещательных программ. Поток MPEG TS запоминается в том же виде, как он принят от вещательной станции (режим стримера). Система DVHS описана в:
D-VHS system standard by Victor Company of Japan, July 2000.
На фиг.3 показана блок-схема уровней во время записи BD. На входе 40 имеется транспортный поток, на выходе 45 имеются отформатированные данные, доступные для использования. Пользовательский интерфейс 45 и дополнительная обработка отформатированных данных не стандартизированы. Транспортный поток может быть доставлен через цифровой интерфейс или встроенным блоком настройки. Уровни в системе BD описаны в различных частях документа System Description Blue-Ray Disc Rewritable Format :
физический уровень 44 описан в Части 1, где поясняются физические характеристики записи на диск 11. В интерфейсе между физическим уровнем и файловым системным уровнем имеется пространство логических адресов;
Файловый системный уровень 43 описан в Части 2. В файловом системном уровне база данных FS отображает файлы из прикладного уровня 42 в пространство логических адресов из физического уровня 44. Кроме того, на этом уровне заданы некоторые правила распределения, чтобы гарантировать режим реального времени;
прикладной уровень представлен в Части 3, где задана обработка, необходимая для определенных приложений, например запоминание транспортных потоков MPEG2.
На фиг.4 показана запись видео согласно формату записи BD. Поток данных подается на вход 46. В блоке 47 выбора программ выполняется выбор конкретной программы. Пакеты TS из других программ убираются. Результирующий поток 48 называется «частичный транспортный поток». Выбор программ также может происходить в передатчике цифрового интерфейса. Выбор программ не требуется, если транспортный поток содержит только одну программу. Для поддержания правильных временных характеристик каждого пакета TS каждому оставшемуся пакету TS добавляется временной штамп. Временной штамп представляет время поступления пакета TS. Таким путем можно восстановить правильные временные характеристики пакетов TS во время воспроизведения. В следующем блоке 50 потока пакеты источника с длиной 192 байта (пакет транспортного потока + временной штамп) упаковываются в блоки, и эти блоки последовательно объединяются в файл клипового потока. Для следующей записи создается и запоминается новый файл клипового потока. С потоком 48 также связан блок 49 синтаксического анализа видео для синтаксического анализа входящего потока TS и получения характеристик программы и транспортного потока, которые запоминаются в информационном файле ClipInfo. Файл ClipInfo также содержит отображение из элемента мозаичного представления в программе в местоположение в файле потока (с так называемой таблицей данных о характеристических точках (CPI)). По определению клип состоит из файла потока + соответствующий файл ClipInfo. В файле ClipInfo имеется несколько подтаблиц, а именно:
ClipInfo (): Общие условия кодирования и т.д.
SequenceInfo (): Части потока, которые имеют одну и ту же временную основу.
ProgramInfo (): Части потока с одной и той же информацией, относящейся к программе
CPI (): Точки входа в поток
ClipMark (): Местоположение и вид меток.
MakersPrivateData (): Данные частного характера для этого потокового файла.
С блоком 49 синтаксического анализа видео также соединен блок 52 PlayList для создания и запоминания файла PlayList. Файл PlayList состоит из нескольких подтаблиц, а именно:
User-Appl-Info (): Общая информация, которая может быть использована для пользовательского интерфейса (UI)
PlyItems (): PlayList состоит из нескольких PlyItems.
PlayListMarks (): Местоположение и вид меток.
MakersPrivateData (): Данные частного характера для этого потокового файла.
На фиг.5 показана структура прикладного уровня. Уровень 55 PlayList содержит множество файлов PlayList. Файл PlayList содержит несколько PlyItem. Каждая подтаблица PlyItem относится к моменту запуска представления и моменту окончания представления в клипе через файл ClipInfo на уровне 56 клипов. Местоположение для запуска считывания в файле ClipStream можно обнаружить, используя файл ClipInfo. Файл PlayList может состоять из подтаблиц PlyItem, которые принадлежат разным клипам. Таким образом можно выполнять редактирование, не изменяя контент AV на диске.
На фиг.6 показана структура каталогов для сообщений с данными MHP в потоке MPEG-TS. Способ пакетирования и передачи данных MHP известен из спецификации MHP. Аудиовизуальный (AV) контент передается при мультиплексной передаче транспортного потока (TS) MPEG. Дополнительная информация передается в карусели 65, которая также мультиплексируется в мультиплексной передаче MPEG-TS. Первая передача приложения должна закончиться прежде, чем это приложение может быть активизировано. Приложение можно обновить с присвоением номера новой версии. Важные события передаются в карусели. В цифровом видеовещании (DVB-MHP) карусель объектов используют для передачи данных MHP, карусель данных используют для прикладной программной среды цифрового телевидения (DASE) и цифрового вещания с интегрированными услугами (ISDB). Отличия между ними состоят в обращении к передаче и приложениям. Карусели данных являются более простыми. Передача карусели данных и карусели объектов несколько отличаются друг от друга. Но для дальнейшего объяснения это отличие не важно, так как запоминание выполняется независимо от передачи. Ниже в этом тексте для объяснения используется карусель объектов MHP, но тот же самый способ может быть использован для каруселей данных.
На верхней диаграмме показаны сообщения 66 для MHP, так называемые сообщения BIOP (BIOP = протокол Broadcast Inter ORB Protocol с ORB = Посредник запросов к объектам). Эти сообщения имеют заголовок 67 и подзаголовок 68. В приложениях MHP имеются сообщения для событий каталогов (Obj-1[Dir]), файловых событий (Obj-1[File]), а также потока и события потока (Obj-1[Stream]). Эти сообщения содержат данные и атрибуты одного объекта. Они транслируются в одном модуле 69 (один модуль может содержать несколько сообщений 66 BIOP). Сообщение BIOP содержит:
заголовок 67 сообщения [версия и длина сообщения];
подзаголовок 68 сообщения [информация о транспортируемом объекте, например тип объекта (файл, поток, каталог)];
ключ объекта [уникальный идентификатор в модуле];
тело сообщения [зависит от типа объекта].
Во время передачи модули разбиваются на блоки 70 данных загрузки (DDB), которые имеют одинаковую длину, кроме последнего DDB модуля. К каждому DDB прикреплен заголовок 71 DDB, причем заголовок содержит идентификатор модуля и номер блока данных в модуле. Блоки DDB (с заголовком) передаются в секциях 72, как это определено в стандарте MPEG2, описанном в IEC13818-1. Добавляется заголовок 73 секции. Заголовок 73 секции содержит информацию о передаче секций при мультиплексной передаче MPEG TS. Секции передаются в пакетах 74 TS. Каждый пакет 74 TS имеет заголовок 75 пакета TS и, в качестве опции, заголовок адаптации, поле указателя и/или дополнение. Пакеты TS мультиплексируются вместе с другими пакетами TS из программ при мультиплексной передаче. Заголовок 75 пакета TS содержит информацию о передаче пакетов TS при мультиплексной передаче MPEG TS.
В карусели объектов также посылаются некоторые управляющие сообщения BIOP. Эти сообщения используют для извлечения модулей из MPEG-TS. В карусели данных существующие дескрипторы в таблицах служебной информации (SI) используют для извлечения модулей из карусели данных.
На фиг.8 показана структура групп для карусели. Группа 80 содержит несколько модулей 69. Информация о модулях включена в Module-Info 82. Супергруппа 81 содержит несколько групп. Информация о группах включена в Group-Info 83. Таким образом, карусель объектов или данных может содержать много модулей.
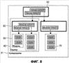
На фиг.9 показана обработка потока данных для выделения сообщений и информации о сообщениях. В блоке 91 выбора программ пакеты TS из выбранной программы поступают в демультиплексор 92, в то время как другие потоки TS удаляются, в результате чего создается частичный поток TS. Затем демультиплексор 92 отделяет пакеты MPEG TS из программы (DVB) от пакетов MHP TS, в результате чего обеспечивается подача данных DVB в блок 93 обработки видео, имеющий функции для извлечения файла клипового потока, клипового информационного файла и файла PlayList, как было описано выше в связи с фиг.4. Демультиплексор 92, кроме того, подает данные MHP в блок 94 сообщений для выделения сообщений из потока данных, причем эти сообщения содержат прикладные информационные объекты, и в блок 95 синтаксического анализа для создания прикладной управляющей информации. В блоке синтаксического анализа пакеты MHP подвергаются синтаксическому анализу для сбора соответствующей информации в дескрипторах SI. Средства 20 управления скомпонованы для запоминания сообщений в файле сообщений, называемом прикладной файл MHP (отдельно от информации в реальном времени в виде последовательности сообщений для программы), и для запоминания прикладной управляющей информации в информационном файле сообщений, называемом информационным файлом MHP. Прикладная управляющая информация включает в себя информацию доступа для доступа к сообщениям в файле сообщений, как подробно описывается ниже. Эти функции имеются в форматере 28 и/или в блоке 20 управления, как было описано в связи с фиг.2.
В варианте блока 94 сообщений избыточная информация пакетов MHP удаляется:
удаляется информация о заголовке пакета TS;
удаляется информация о заголовке секции;
удаляется информация о заголовке DDB;
удаляются избыточные сообщения. Сообщения являются избыточными, когда они передаются многократно. Например, если одно из сообщений в модуле обновляется, то тогда весь модуль получает новую версию, в то время как другие сообщения все еще могут оставаться без изменений. Если имеются сообщения, обращающиеся к другим программам, которые не запомнены или информация из которых недоступна при воспроизведении с временным сдвигом, то тогда эти сообщения должны быть удалены, или могут быть созданы альтернативные ссылки, как описано в WO01/33852. Остальные сообщения запоминаются в файле MHP-Appl.
На фиг.10 показана структура прикладного уровня при запоминании данных MHP. Вдобавок к пунктам, описанным со ссылками на фиг.5, запоминается информационный файл 101 сообщений, называемый MHPInfo(1). Дополнительные файлы 102 сообщений, называемые сообщениями MHP, запоминаются в соответствии с файлами клипового потока.
На фиг.11 показана структура файла сообщений. Файл сообщений содержит последовательность сообщений 111. Первое сообщение 112, называемое Сообщение(1), берется из версии (1) модуля (1); второе сообщение 113, называемое Сообщение(2), берется из версии (1) модуля (3); сообщение 114, называемое Сообщение(3), вновь берется из версии (1) модуля (1). Таким образом, несколько сообщений образуют вместе модуль для приложения. Все сообщения из всех модулей нумеруются в указанном файле и последовательно сцепляются. Порядок, в котором они запоминаются, не имеет значения; можно использовать время поступления. Из сообщений в файле сообщений в файле MHP-Info запоминается информация доступа, например номер сообщения, а также начало и конец активного периода (со ссылкой на время представления).
На фиг.12 показан пример информационного файла сообщений. В этом файле под названием MHP-Info содержится таблица записей. В состав файла MHP-Info может входить:
Общая информация с
именем приложения,
требуемыми ссылочными данными,
периодом действия этого приложения,
соответствующим файлом MHP-Appl,
первым сообщением (объектом), подлежащим считыванию (опция);
Количество записей объектов:
Таблица, имеющая для каждой записи:
номер сообщения (объекта) в файле MHP-App,
вид сообщения (объекта),
начальное местоположение в файле MHP-App [с точностью до байта],
длину сообщения (в байтах),
начало активного периода (время представления программы),
конец активного периода (время представления программы),
номер x следующего сообщения.
Файл MHP-Info предоставляет возможность произвольного доступа в программе. В варианте устройства считывания файл MHP-Info считывается перед запуском программы. В любой момент (в течение времени представления) известно, что сообщения активны. Заметим, что в файле MHP-Info может быть больше одной карусели.
На фиг.13 показана структура каталогов для данных MHP. Файл 131 MHP-Appl и файл 132 MHP-Info запоминаются на диске BD таким образом, что системы версии 1 могут считывать программу без данных MHP путем обеспечения нового подкаталога 130, например, под названием MHPINFO. Ранее существовавшая версия 1.0 системы BD будет игнорировать содержимое каталога MHPINFO. Версия MHP сможет распознать каталог MHPINFO. Файлы в каталоге MHPINFO являются файлами Group-4 (как определено в Part-2). Они хранятся вне области LB для собранных файлов.
Хотя изобретение было в основном описано с рассмотрением варианта, где используется BD, для запоминания прикладных данных подходят аналогичные варианты типа DVD+RW, имеющие заранее заданный формат записи. Кроме того, заметим, что версия указанного заданного формата может стандартизировать определенное место для запоминания файла сообщений и информационного файла сообщений. Также в качестве носителя информации был описан оптический диск, но для этого можно использовать другие среды, такие как магнитооптический диск или магнитную ленту. Заметим, что в этом документе слово «содержащий» не включает в себя наличие других элементов или шагов, кроме перечисленных, а неопределенный артикль, предшествующий элементу, не подразумевает наличия множества указанных элементов, что любые ссылочные позиции не ограничивают объем формулы изобретения, что изобретение можно реализовать как аппаратными, так и программными средствами, и что несколько «средств» могут быть представлены одним и тем же аппаратным элементом. Кроме того, объем изобретения не ограничивается указанными вариантами, а изобретение содержится в каждом новом признаке или комбинации из вышеописанных признаков.
Формула изобретения
1. Устройство для записи информации на носитель записи, которое содержит средство (22) записи для записи меток, представляющих закодированную цифровым образом информацию в реальном времени, в частности видео, в соответствии с заранее заданным форматом записи, средство (27) ввода для приема потока данных, образующего пользовательскую программу с расширенными возможностями, причем поток данных содержит информацию в реальном времени и сообщения, содержащие заголовки сообщений, обеспечивающих информацию о соответствующих сообщениях, при этом сообщения содержат прикладные информационные объекты, при этом по меньшей мере один поднабор прикладных информационных объектов образует данные для обеспечения пользователя по меньшей мере одним интерактивным приложением при визуализации информации в реальном времени, средство (94) сообщений для выделения указанных сообщений из потока данных, средство (20) управления для запоминания сообщений в виде последовательности сообщений для программы в файле сообщений отдельно от информации в реальном времени, средство (95) синтаксического анализа для создания прикладной управляющей информации, которая включает в себя информацию доступа, основанную на информации о соответствующем сообщении, содержащуюся в заголовке сообщения, и для доступа к сообщениям, хранящимся в файле сообщений в виде последовательности сообщений, и при этом средство (20) управления обеспечивает запоминание прикладной управляющей информации в информационном файле сообщений отдельно от информации в реальном времени и отдельно от файла сообщений.
2. Устройство по п.1, в котором средство (95) синтаксического анализа выполнено с возможностью включения в соответствующее сообщение по меньшей мере одного из следующих пунктов в виде информации доступа для одного сообщения: номер сообщения, причем номер сообщения идентифицирует сообщение в последовательности сообщений; индикатор типа сообщения; начальное местоположение в файле сообщений; длину сообщения; номер последующего сообщения.
3. Устройство по п.1 или 2, в котором средство (95) синтаксического анализа выполнено с возможностью включения в информационный файл сообщений информации об активном периоде, в частности время начала и время окончания применительно ко времени представления программы.
4. Устройство по п.1, в котором средство (94) сообщений выполнено с возможностью удаления избыточной информации из сообщений, выделенных из потока данных.
5. Устройство по п.4, в котором средство (94) сообщений выполнено с возможностью удаления в качестве избыточной информации информации о заголовках пакетов, в частности заголовков пакетов транспортного потока или заголовков секций, используемых при передаче сжатых видеоданных (MPEG2), или заголовков блоков данных загрузки, используемых в мультимедийных данных (МНР).
6. Устройство по п.4, в котором средство (94) сообщений выполнено с возможностью удаления в качестве избыточной информации сообщений, которые передают многократно, в частности, в карусели данных.
7. Устройство для считывания информации с носителя записи для визуализации пользовательской программы с расширенными возможностями, причем устройство содержит средство (30) считывания для считывания меток, представляющих закодированную цифровым образом информацию в реальном времени, в частности видео, в соответствии с заранее заданным форматом записи, и средство (20; 32) управления для обеспечения пользователя по меньшей мере одним интерактивным приложением на основе по меньшей мере одного поднабора прикладных информационных объектов при визуализации информации в реальном времени, при этом средство управления обеспечивает извлечение сообщений, содержащих заголовки сообщений, обеспечивающих информацию о соответствующих сообщениях, из последовательности сообщений для программы из файла сообщений, отдельно от информации в реальном времени, при этом сообщения содержат прикладные информационные объекты, и извлечение прикладной управляющей информации из информационного файла сообщений, при этом информационный файл сообщений является файлом, отдельным от информации в реальном времени и отдельным от файла сообщений, при этом прикладная управляющая информация включает в себя информацию доступа, основанную на информации о соответствующем сообщении, содержащуюся в заголовке сообщения, для доступа к сообщениям, хранящимся в файле сообщений в виде последовательности сообщений, и для извлечения сообщений из последовательности сообщений из файла сообщений, основываясь на информации доступа, включенной в прикладную управляющую информацию.
8. Носитель записи, хранящий информацию для образования пользовательской программы с расширенными возможностями, на котором метки носителя записи на дорожке (9) представляют закодированную цифровым образом информацию в реальном времени, в частности видео, в соответствии с заранее заданным форматом записи, файл (102) сообщений, отделенный от информации в реальном времени, причем файл сообщений содержит сообщения, содержащие заголовки сообщений, обеспечивающих информацию о соответствующих сообщениях, хранящихся в виде последовательности сообщений, сообщения содержат прикладные информационные объекты, при этом по меньшей мере один поднабор прикладных информационных объектов образует данные для обеспечения пользователя по меньшей мере одним интерактивным приложением при визуализации информации в реальном времени, и информационный файл (101) сообщений, который является отдельным от информации в реальном времени и отдельным от файла сообщений, содержащий прикладную управляющую информацию, включающую в себя информацию доступа, основанную на информации о соответствующем сообщении, включенной в заголовок сообщения, для доступа к сообщениям в файле сообщений.
9. Носитель записи по п.8, в котором информационный файл (101) сообщений содержит в качестве информации доступа к соответствующему сообщению по меньшей мере один из следующих пунктов для одного сообщения: номер сообщения, причем номер сообщения идентифицирует сообщение в последовательности сообщений; индикатор типа сообщения; начальное местоположение в файле сообщений; длину сообщения; начало активного периода; конец активного периода; номер последующего сообщения.
10. Способ записи информации на носитель записи, содержащий этапы, на которых записывают закодированную цифровым образом информацию в реальном времени, в частности видео, в соответствии с заранее заданным форматом записи, принимают поток данных, образующий пользовательскую программу с расширенными возможностями, причем поток данных содержит информацию в реальном времени и сообщения, содержащие заголовки сообщений, обеспечивающих информацию о соответствующих сообщениях, при этом сообщения содержат прикладные информационные объекты, при этом по меньшей мере один поднабор прикладных информационных объектов образует данные для обеспечения пользователя по меньшей мере одним интерактивным приложением при визуализации информации в реальном времени, и выделяют указанные сообщения из потока данных, и запоминают сообщения в виде последовательности сообщений для программы в файле сообщений отдельно от информации в реальном времени, создают прикладную управляющую информацию, включающую в себя информацию доступа, основанную на информации о соответствующем сообщении, содержащуюся в заголовке сообщения, для доступа к сообщениям, хранящимся в файле сообщений в виде последовательности сообщений, и запоминают прикладную управляющую информацию, при этом информационный файл сообщений является файлом, отдельным от информации в реальном времени и отдельным от файла сообщений.
РИСУНКИ
|
|