|
|
(21), (22) Заявка: 2004133057/09, 26.02.2004
(24) Дата начала отсчета срока действия патента:
26.02.2004
(30) Конвенционный приоритет:
26.02.2003 DE 10308304.9
(43) Дата публикации заявки: 10.10.2005
(46) Опубликовано: 27.05.2009
(56) Список документов, цитированных в отчете о поиске:
DE 19645368 A1, 16.04.1998. RU 2195789 C2, 27.12.2002. RU 2173028 C2, 27.08.2001. WO 02/41583 A, 23.05.2002. EP 1191753 A, 27.03.2002. US 2002/089975 A1, 11.07.2002.
(85) Дата перевода заявки PCT на национальную фазу:
11.11.2004
(86) Заявка PCT:
EP 2004/001934 20040226
(87) Публикация PCT:
WO 2004/077772 20040910
Адрес для переписки:
129090, Москва, ул. Б.Спасская, 25, стр.3, ООО “Юридическая фирма Городисский и Партнеры”, пат.пов. Ю.Д.Кузнецову, рег. 595
|
(72) Автор(ы):
ЛОГЕМАНН Гунтер (DE), ПАЛАНДЕКЕН Хасан (DE), ШЕФЕР Франк (DE)
(73) Патентообладатель(и):
СИМЕНС АКЦИЕНГЕЗЕЛЛЬШАФТ (DE)
|
(54) ПРИЕМНИК/ИСТОЧНИК ДАННЫХ, ПРИБОР ПЕРЕДАЧИ ДАННЫХ И ОКОНЕЧНЫЙ ПРИБОР ДАННЫХ ДЛЯ СЕТИ С КОММУТАЦИЕЙ ЛИНИЙ СВЯЗИ И СЕТИ С КОММУТАЦИЕЙ ПАКЕТОВ
(57) Реферат:
Изобретение относится к приемнику/источнику данных для гибридной сети, включающей сеть с коммутацией линий связи и сеть с коммутацией пакетов. Чтобы в приемнике/источнике данных, приборе передачи данных и в оконечном приборе данных устранить логическое разделение между приложениями, которые базируются на сети с коммутацией линий связи (PTSN, ISDN) и приложениями, которые базируются на сети с коммутацией пакетов (Интернет), прибор передачи данных (DÜG), предназначенный для передачи/приема данных, в особенности речевых и пакетных данных, в сеть или из сети с коммутацией линий связи (LVN), который является соотносимым с универсально используемым прибором (DVG) для автоматической обработки данных и для передачи/приема данных в сеть или из сети с коммутацией пакетов (PVN) и с которым соотнесен, по меньшей мере, один оконечный прибор данных (DEG) для передачи/приема данных в сеть или из сети с коммутацией линий связи (LVN), содержит управляемые средства переключения (USM), которые управляются таким образом, что оконечный прибор данных (DEG), который в первом режиме соединен через прибор передачи данных (DÜG) с сетью с коммутацией линий связи (LVN), переключается из первого режима работы во второй режим работы, в котором оконечный прибор данных (DEG) через прибор передачи данных (DÜG) и прибор обработки данных (DVG) соединен с сетью с коммутацией пакетов (PVN) и наоборот. 3 н. и 51 з.п. ф-лы, 4 ил.
Настоящее изобретение относится к приемнику/источнику данных для сети с коммутацией линий связи и сети с коммутацией пакетов согласно родовому понятию пункта 1, прибору передачи данных для сети с коммутацией линий связи и сети с коммутацией пакетов согласно родовому понятию пункта 25 и оконечному прибору данных для сети с коммутацией линий связи и сети с коммутацией пакетов согласно родовому понятию пункта 44.
Публикации по теме «организация домашних сетей», «подсоединенный дом» или «телефония и управление» обсуждают соединение в сеть приборов частного сектора, например телевизоров, персональных компьютеров и других приборов повседневного пользования. Телефон, стационарный или беспроводный, служит при этом предпочтительно в качестве средства сетевого доступа к сети с коммутацией линий связи (сети передачи речевых сигналов). Доступ к сети с коммутацией пакетов (сети передачи данных), например доступ к сети Интернет, при этом считается несущественным и может осуществляться разными путями.
Соединение между сетью с коммутацией пакетов и сетью с коммутацией линий связи существует, согласно фиг.1, как известно, лишь в том отношении, что приборы, например персональный компьютер, который для передачи пакетов данных через сеть Ethernet, цифровую абонентскую линию (DSL) или кабельное соединение соединяется с сетью с коммутацией пакетов, например Интернет, и, например, беспроводная базовая станция, которая для передачи речевых данных связывается через сетевое соединение ISDN/PTSN (цифровая сеть с комплексными услугами/коммутируемая телефонная сеть общего пользования) с сетью с коммутацией каналов, инициируют установление соединения (управление) или конфигурирование прибора с помощью беспроводного мобильного устройства (конфигурирование). При этом части беспроводной базовой станции или функции телефона переносятся на персональный компьютер. Управление и конфигурирование, разумеется, могут следовать и в обратном направлении.
Решающим, однако, является то, что никакие речевые данные не обрабатываются в сети с коммутацией пакетов или в сети передачи данных, а всегда имеется логическое соединение между речевым оконечным устройством, т.е. беспроводным мобильным устройством, и коммутатором, т.е. беспроводной базовой станцией. Таким образом, в отношении передачи речевых данных не имеется логического соединения между сетью передачи речи с коммутацией линий связи и сетью передачи данных с коммутацией пакетов (например, Интернет). Использование услуг передачи речи сети передачи данных с коммутацией пакетов (как, например, Интернет-телефония, передача речевых сообщений) в настоящее время реализуется не через беспроводное мобильное устройство, регистрирующееся в беспроводной базовой станции.
Задача, лежащая в основе изобретения, состоит в том, чтобы создать приемник/источник данных, прибор передачи данных и оконечный прибор данных для сети с коммутацией линий связи и сети с коммутацией пакетов, которые устраняют логическое разделение между приложениями, базирующимися на сети с коммутацией линий связи, например PSTN, ISDN, и приложениями, базирующимися на сети с коммутацией пакетов, например Интернет.
Эта задача, исходя из приемника/источника данных, определенного родовым понятием в пункте 1 формулы изобретения, решается посредством признаков отличительной части пункта 1 формулы изобретения.
Кроме того, указанная задача, исходя из прибора передачи данных, определенного родовым понятием пункта 28 формулы изобретения, решается посредством признаков отличительной части пункта 28 формулы изобретения.
Кроме того, указанная задача, исходя из оконечного прибора данных, определенного родовым понятием пункта 47 формулы изобретения, решается посредством признаков отличительной части пункта 47 формулы изобретения.
Лежащая в основе изобретения идея заключается в том, чтобы прибор передачи данных, предназначенный для передачи и приема данных, особенно речевых и/или пакетных данных, в сеть с коммутацией линий связи или из сети с коммутацией линий связи, который соотнесен или может соотноситься с универсально используемым прибором для автоматической обработки данных и для передачи и приема данных в сеть с коммутацией пакетов или из сети с коммутацией пакетов, и с которым соотнесен или может соотноситься, по меньшей мере, один оконечный прибор данных для передачи и приема данных, особенно речевых и/или пакетных данных, в сеть с коммутацией линий связи или из сети с коммутацией линий связи, снабдить управляемыми средствами переключения, которые могут управляться таким образом, что оконечный прибор данных, который в первом режиме работы соединен через прибор передачи данных с сетью с коммутацией линий связи, может переключаться из первого режима работы во второй режим работы, в котором оконечный прибор данных с одной стороны через прибор передачи данных и прибор обработки данных соединен с сетью с коммутацией пакетов и наоборот, таким образом осуществляется смена режима работы.
Изобретение заключается в расширении прибора передачи данных, который, например, согласно пунктам 22, 23, 24, 43, 44, 45 выполнен в виде беспроводной базовой станции за счет возможности переключения, которая реализуется, согласно пунктам 21, 42, предпочтительно посредством программного обеспечения, так что потоки речевых данных могут передаваться к прибору обработки данных, который, согласно пункту 27, предпочтительно выполнен в виде персонального компьютера, ноутбука или сервера для домашнего и/или офисного применения, и таким образом обеспечивается возможность реализации новых приложений. С помощью выполненного таким образом прибора передачи данных или беспроводной базовой станции имеется возможность передавать потоки речевых данных и/или потоки данных сигнализации в прибор обработки данных, соединенный с сетью Интернет, например в персональный компьютер. Благодаря этому, посредством оконечных приборов данных, управляемых указанным прибором передачи данных, могут использоваться базирующиеся на Интернет или персональном компьютере речевые приложения (например, Интернет-телефония, передача голосовых сообщений и т.д.).
Это означает, что оконечные приборы данных, например беспроводное мобильное устройство, согласно пунктам 26, 54, или телефон, могут коммутировать логическое соединение для речевых данных в сеть с коммутацией пакетов, например в Интернет или в локальную сеть передачи данных в случае сценария организации домашней сети.
За счет этого прежде всего повышается удобство для пользователя. Приложения, которые в настоящее время можно реализовать с использованием работающего на базе персонального компьютера головного телефона, в соответствии с изобретением могут осуществляться и в беспроводном мобильном устройстве.
За счет соответствующей изобретению возможности переключения в беспроводной базовой станции пользователь может устанавливать в беспроводном мобильном устройстве по выбору два режима работы.
В первом режиме работы беспроводное мобильное устройство работает как обычный телефон в сети с коммутацией линий связи.
Во втором режиме работы речевые данные и данные протокола передаются к устройству обработки данных, например персональному компьютеру, или в сеть передачи данных. При этом отсутствует соединение с сетью, связанной с линией связи. Дополнительно информация о пользовательских вводах данных в беспроводное мобильное устройство передается на персональный компьютер, а информация индикации посылается с персонального компьютера на беспроводное мобильное устройство. Кроме того, речевые каналы прозрачным образом подключаются посредством так называемого туннельного соединения к персональному компьютеру.
Тем самым беспроводное мобильное устройство, связанное с беспроводной базовой станцией, может применять приложения, исполняемые на персональном компьютере, как, например, приложения головного телефона. Дополнительные приложения могут активироваться посредством взаимодействия с пользователем с помощью данных отображения и управления, за счет чего, в частности, дополнительно повышается удобство для пользователя. Так, например, телефония протокола VoIP («Речь через протокол Интернет») может быть реализована с помощью обычного беспроводного телефона (функциональные возможности телефонной связи предоставляются всем приложениям в сети (например, персональный компьютер в домашней сети)). Кроме того, возможно, что таким способом с помощью обычного беспроводного телефона могут проводиться, например, онлайновые игры; может быть реализовано речевое управление в домашней сети, и может осуществляться дистанционное управление приборами в домашней сети.
С помощью изобретения, например, можно интегрировать обычные беспроводные телефоны в сценарий «подсоединенного дома». При этом персональный компьютер служит для телефонии протокола VoIP в качестве шлюза протокола VoIP. Также возможна интеграция в игровые приставки, например Х-Вох.
Кроме того, изобретение обеспечивает возможность управлять приложениями прибора обработки данных через оконечный прибор данных на основе механизмов речевого управления и распознавания речи, использовать оконечный прибор данных в качестве блока дистанционного управления, устанавливать доступ к услуге передачи сообщений Microsoft через оконечный прибор данных, реализовывать Интернет-радиосвязь, Интернет-интерактивную переписку посредством беспроводного мобильного устройства или телефона, преобразование текстовых сообщений в речевые сообщения, чтобы, например, можно было прочитать сообщения электронной почты и/или использовать отображение сообщений на дисплее оконечного прибора данных.
Однако изобретение применимо не только для домашней сферы, как описано выше, когда прибор передачи данных выполнен как беспроводная базовая станция, оконечный прибор данных – как беспроводное мобильное устройство и прибор обработки данных – как персональный компьютер или сервер, но также непосредственно применимо для общественной сферы, когда прибор передачи данных выполнен как сотовая инфраструктура мобильной радиосвязи, состоящая из базовой станции и центрального блока коммутации, оконечный прибор данных выполнен как мобильный радиотелефон (трубка), и прибор обработки данных выполнен как сервер.
Дальнейшие предпочтительные варианты осуществления изобретения следуют из зависимых пунктов формулы изобретения и последующего описания примера осуществления изобретения.
Пример осуществления изобретения описан ниже со ссылками на чертежи, на которых представлено следующее:
Фиг.2 – первый приемник/источник данных для сети с коммутацией линий связи и сети с коммутацией пакетов, состоящий из оконечного прибора данных, прибора передачи данных и прибора обработки данных,
Фиг.3 – исходя из фиг.2, второй приемник/источник данных для сети с коммутацией линий связи и сети с коммутацией пакетов, состоящий из оконечного прибора данных и прибора передачи данных и обработки данных,
Фиг.4 – реализация первого приемника/источника данных с беспроводным телефоном и персональным компьютером.
На фиг.2 показан первый приемник/источник DSQ1 данных предпочтительно для сети LVN с коммутацией линий связи, предпочтительно выполненной как сеть PTSN (коммутируемая телефонная сеть общего пользования) или ISDN (цифровая сеть с комплексными услугами), и для сети PVN с коммутацией пакетов, предпочтительно выполненной как сеть Интернет, состоящий из оконечного прибора DEG данных, прибора DÜG передачи данных и прибора DVG обработки данных.
Оконечный прибор DEG данных содержит первый центральный блок ZSE1 управления, средства STM управления и первый интерфейс EÜSS1 между оконечным прибором и прибором передачи. Первый центральный блок ZSE1 управления служит для управления функциональными процессами в оконечном приборе DEG данных и соединен как со средствами STM управления, так и с первым интерфейсом EÜSS1 между оконечным прибором и прибором передачи. Через первый интерфейс EÜSS1 между оконечным прибором и прибором передачи оконечный прибор DEG данных связан с прибором DÜG передачи данных, который для этого соединения имеет второй интерфейс EÜSS2 между оконечным прибором и прибором передачи. В качестве соединения между оконечным прибором DEG данных и прибором DÜG передачи данных предусмотрено либо первое соединение LV1 линии связи, либо первое соединение FRV1 свободного пространства.
Прибор DÜG передачи данных содержит наряду со вторым интерфейсом EÜSS2 между оконечным прибором и прибором передачи еще второй центральный блок ZSE2 управления, первый интерфейс NÜSS1 между сетью и прибором передачи, первые средства USM1 переключения и первый интерфейс VÜSS1 между прибором обработки и прибором передачи. Второй центральный блок ZSE2 управления, который служит для управления процессами функционирования в приборе DÜG передачи данных и содержит первые средства USSM1 управления переключением, связан со вторым интерфейсом EÜSS2 между оконечным прибором и прибором передачи, первым интерфейсом NÜSS1 между сетью и прибором передачи и первым интерфейсом VÜSS1 между приборами и прибором передачи. Первые средства USSM1 управления переключением второго центрального блока ZSE2 управления образуют с первыми средствами USM1 переключения функциональный блок таким образом, что средства USSM1 управления переключением управляют средствами USM1 переключения, что показано на фиг.2 соединением между этими средствами. Прибор DÜG передачи данных, с одной стороны, соединен через первый интерфейс NÜSS1 между сетью и прибором передачи с сетью LVN с коммутацией линий связи, а с другой стороны, через первый интерфейс VÜSS1 между прибором обработки и прибором передачи соединен с прибором DVG обработки данных, который для этого соединения имеет второй интерфейс VÜSS2 между прибором обработки и прибором передачи. В качестве соединения между прибором DÜE передачи данных и прибором DVG обработки данных вновь предусмотрено либо второе соединение LV2 линии связи, либо второе соединение FRV2 свободного пространства.
Прибор DVG обработки данных содержит наряду со вторым интерфейсом VÜSS2 между прибором обработки и прибором передачи еще третий центральный блок ZSE3 управления и первый интерфейс NVSS1 между сетью и прибором обработки. Третий центральный блок ZSE3 управления, который служит для управления процессами функционирования в приборе DVG обработки данных и дополнительно к первым средствам USSM1 управления переключением второго центрального блока ZSE2 управления в приборе DÜE передачи данных еще содержит показанные пунктиром на фиг.2 вторые средства USSM2 управления переключением, соединен со вторым интерфейсом VÜSS2 между прибором обработки и прибором передачи и с первым интерфейсом NVSS1 между сетью и прибором обработки. Через первый интерфейс NVSS1 между сетью и прибором обработки прибор DVG обработки данных связан с сетью PVN с коммутацией пакетов.
Ниже на основе пояснения структуры первого приемника/источника DSQ1 данных описан способ функционирования приемника/источника DSQ1 данных в отношении устранения логического разделения между первыми приложениями, которые основываются на сети LVN с коммутацией линий связи, и вторыми приложениями, которые основываются на сети PVN с коммутацией пакетов.
С точки зрения оконечного прибора DEG данных, который до сих пор был связан через первое соединение LV1 линии связи или первое соединение FRV1 свободного пространства и прибор DÜG передачи данных с сетью LVN с коммутацией линий связи (например, беспроводная базовая станция в качестве прибора передачи данных и беспроводное мобильное устройство в качестве оконечного прибора данных на фиг.1), это означает, что пользователь оконечного прибора DEG данных может использовать по выбору, с одной стороны, услуги сети LVN с коммутацией линий связи, а с другой стороны, – услуги сети PVN с коммутацией пакетов, соответственно в качестве получателя и отправителя. Иными словами, канал передачи от оконечного прибора DEG данных к сети LVN с коммутацией линий связи и к сети PVN с коммутацией пакетов должен предоставляться пользователю соответственно по выбору, а также по мере необходимости может переключаться пользователем (смена режима работы оконечного прибора данных). Так оконечный прибор DEG данных, например, в первом режиме работы соединяется через прибор DÜG передачи данных с сетью LVN с коммутацией линий связи, а во втором режиме работы соединяется через прибор DÜG передачи данных и прибор DVG обработки данных с сетью PVN с коммутацией пакетов.
На основе уже имеющегося для известного сценария (оконечное устройство данных <-> сеть с коммутацией линий связи) соединения между оконечным прибором DEG данных и прибором DÜG передачи данных с этой целью в приборе DÜG передачи данных предусмотрены первые средства USM1 переключения и первые средства USSM1 управления переключением, в приборе DVG обработки данных – соответственно вторые средства USSM2 управления переключением, и в оконечном приборе DEG данных – средства STM управления. Названные средства, за исключением средств STM управления в оконечном приборе DEG данных, которые предпочтительно выполнены в виде клавиатуры, предпочтительно выполнены в виде программного модуля (программного обеспечения). Вместо клавиатуры также можно использовать речевое управление.
Однако для каждого возможного сценария распределение названных средств может быть и другим. Так, в одном сценарии (оконечный прибор данных <-> сеть с коммутацией пакетов) оконечный прибор данных, например, через соединение посредством линии связи или соединение свободного пространства и прибор обработки данных соединяется с сетью с коммутацией пакетов. В этом случае средства переключения и средства управления переключением предпочтительно предусмотрены в приборе обработки данных, в то время как в приборе передачи данных предусмотрены дополнительные средства управления переключением.
В качестве альтернативы также возможна конфигурация, при которой прибор передачи данных соединен с сетью с коммутацией пакетов, а прибор обработки данных соединен с сетью с коммутацией каналов.
Для показанного на фиг.2 сценария (оконечный прибор данных <-> сеть с коммутацией пакетов), при котором первые средства USM1 переключения предусмотрены в приборе DÜG передачи данных, в зависимости от следующих трех условий:
(i) если первые средства USSM1 управления переключением предусмотрены в приборе DÜG передачи данных,
(ii) если первые средства USSM1 управления переключением предусмотрены в приборе DÜG передачи данных, а вторые средства управления USSM2 переключением предусмотрены в приборе DVG обработки данных, причем средства USSM1, USSM2 управления переключением управляют первыми средствами USM1 переключения в приборе DÜG передачи данных,
(iii) если первые средства USSM1 управления переключением предусмотрены в приборе DÜG передачи данных, а вторые средства USSM2 управления переключением предусмотрены в приборе DVG обработки данных, причем, в отличие от (ii), только первые средства USSM1 управления переключением управляют первыми средствами USM1 переключения в приборе DÜG передачи данных,
возможны три варианта того, каким образом на основе указанного сценария можно реализовать смену режимов работы первого приемника/источника DSQ1 данных.
Вариант реализации (i)
При описании данного варианта реализации предполагается, что оконечный прибор DEG данных находится, например, в первом режиме работы, согласно которому оконечный прибор DEG данных соединен через прибор DÜG передачи данных с сетью LVN с коммутацией линий связи. Разумеется, также возможен другой случай, когда оконечный прибор DEG данных находится во втором режиме работы.
Пользователю оконечного прибора DEG данных желательно было бы перейти во второй режим работы. Указанная смена режима работы вводится пользователем оконечного прибора DEG данных тем, что он приводит в действие средства STM управления. Вслед за этим, при управлении посредством первого блока ZSE1 управления, через последние и первый интерфейс EÜSS1 между оконечным прибором и прибором передачи передается первый сигнал S1 для сигнализации о смене режима работы от оконечного прибора DEE данных через первое соединение LV1 линии связи или первое соединение FRV1 свободного пространства на второй интерфейс EÜSS2 между оконечным прибором и прибором передачи в прибор DÜG передачи данных, который переданный от оконечного прибора DEG данных первый сигнал S1 передает далее на первые средства USSM1 управления переключением.
Первые средства USSM1 управления переключением вслед за этим вырабатывают второй сигнал S2, который передается в прибор DVG обработки данных, в частности на третий центральный блок ZSE3 управления, и которым прибор DVG обработки данных информируется о том, что оконечный прибор DEG данных хотел бы установить соединение с сетью PVN с коммутацией пакетов через прибор DVG обработки данных. После того как прибор DVG обработки данных проинформирован, первые средства USSM1 управления переключением вырабатывают третий сигнал S3 и передают его на первые средства USM1 переключения. Посредством передачи третьего сигнала S3 первым средствам USM1 переключения предписывается освободить канал передачи к сети LVN с коммутацией линий связи, до сих пор использовавшийся оконечным прибором DEG данных, и вместо этого установить новый канал передачи через прибор DVG обработки данных к сети PVN с коммутацией пакетов. На фиг.2 этот процесс показан в первых средствах USM1 переключения с помощью символа переключателя. Тем самым оконечный прибор DEG данных через второе соединение LV2 линии связи, либо второе соединение FRV2 свободного пространства и прибор DVG обработки данных соединяется с сетью PVN с коммутацией пакетов. Этот относящийся ко второму режиму работы канал передачи остается включенным или установленным до тех пор, пока аналогичным образом новая смена режима работы, на этот раз из второго режима работы в первый режим работы, не будет введена пользователем.
Чтобы информировать пользователя оконечного прибора данных о том, в каком режиме работы находится оконечный прибор данных, соответственно активизированный режим работы предпочтительно указывается на дисплее оконечного прибора данных (см. фиг.4). Кроме того, возможен вариант, при котором в оконечных приборах данных, которые, в первую очередь, использовались для передачи речи (телефонной связи) (фиг.4) и с помощью которых было невозможно устанавливать соединение протокола VoIP, осуществляется приоритизация соединения с сетью с коммутацией линий связи по отношению к сети с коммутацией каналов. Это может достигаться, например, путем управляемой по времени установки по умолчанию. Это означает, что когда осуществлена смена режима работы, как описано выше, и оконечный прибор данных после окончания времени нахождения во втором режиме работы не переключен обратно, то возврат в исходное состояние (установленное по умолчанию) осуществляется автоматически.
Вариант реализации (ii)
При описании данного варианта реализации предполагается, что оконечный прибор DEG данных находится, например, в первом режиме работы, согласно которому оконечный прибор DEG данных соединен через прибор DÜG передачи данных с сетью LVN с коммутацией линий связи. Разумеется, также возможен другой случай, когда оконечный прибор DEG данных находится во втором режиме работы.
Пользователю оконечного прибора DEG данных желательно было бы перейти во второй режим работы или соответственно в первый режим работы. Соответствующая смена режима работы вводится пользователем оконечного прибора DEG данных тем, что он приводит в действие средства STM управления. Для каждой смены режима может использоваться, например, одна и та же клавиша или программируемая клавиша, или для каждой смены режима работы могут применяться и различные клавиши. При речевом управлении, напротив, это является однозначным, потому что всегда осуществляется смена режима работы соответственно речевому вводу.
Вслед за этим при управлении посредством первого блока ZSE1 управления, через последнее и первый интерфейс EÜSS1 между оконечным прибором и прибором передачи передается четвертый сигнал S4 для сигнализации о смене режима работы от оконечного прибора DEG данных через первое соединение LV1 линии связи или первое соединение FRV1 свободного пространства на второй интерфейс EÜSS2 между оконечным прибором и прибором передачи в прибор DÜG передачи данных, который переданный от оконечного прибора DEG данных четвертый сигнал S4 в случае перехода во второй режим работы (согласно этому текущим режимом работы является первый режим работы) передает на первые средства USSM1 управления переключением, а в случае перехода в первый режим работы (согласно этому текущим режимом работы является второй режим работы) через первый интерфейс VÜSS1 между прибором обработки и прибором передачи, второе соединение LV2 линии связи или второе соединение FRV2 свободного пространства, а также через второй интерфейс VÜSS2 между прибором обработки и прибором передачи в указанной очередности передает на вторые средства USSM2 управления переключением в приборе DVG обработки данных.
Принимающие четвертый сигнал S4 первые и вторые средства USSM1, USSM2 управления переключением вслед за этим вырабатывают пятый сигнал S5, которым соответственно другие средства USSM2, USSM1 управления переключением информируются о соответствующей смене режима работы. Пятый сигнал S5 передается через первый интерфейс VÜSS1 между прибором обработки и прибором передачи, второе соединение LV2 линии связи или второе соединение FRV2 свободного пространства, а также второй интерфейс VÜSS2 между прибором обработки и прибором передачи или в обратном направлении на соответствующие средства USSM2, USSM1 управления переключением. После того как соответствующие средства USSM2, USSM1 управления переключением и тем самым прибор DVG обработки данных или прибор DÜG передачи данных проинформированы о смене режима работы, принимающие четвертый сигнал первые и вторые средства USSM1, USSM2 управления переключением вырабатывают шестой сигнал S6 и передают его на первые средства USM1 переключения. В случае перехода во второй режим работы шестой сигнал S6 вырабатывается первыми средствами USSM1 управления переключением, а в случае перехода в первый режим работы шестой сигнал S6 вырабатывается вторыми средствами USSM2 управления переключением. Посредством передачи шестого сигнала S6 первым средствам USM1 переключения предписывается освободить канал передачи к сети LVN с коммутацией линий связи или соответственно к сети с коммутацией пакетов PVN, до сих пор использовавшийся оконечным прибором DEG данных, и вместо этого установить новый канал передачи через прибор DVG обработки данных к сети PVN с коммутацией пакетов или через прибор DÜG передачи данных к сети LVN с коммутацией линий связи. На фиг.2 этот процесс показан в первых средствах USM1 переключения с помощью символа переключателя. Тем самым оконечный прибор DEG данных через второе соединение LV2 линии связи либо второе соединение FRV2 свободного пространства и прибор DVG обработки данных соединяется с сетью PVN с коммутацией пакетов или через прибор DÜG передачи данных соединяется с сетью LVN с коммутацией линий связи. Этот относящийся ко второму режиму работы или соответственно к первому режиму работы канал передачи остается включенным или установленным до тех пор, пока аналогичным образом новая смена режима работы на этот раз из второго режима работы в первый режим работы или соответственно из первого режима работы во второй режим работы не будет введена пользователем.
Чтобы информировать пользователя о том, в каком режиме работы находится оконечный прибор данных, соответственно активизированный режим работы предпочтительно вновь указывается на дисплее оконечного прибора DEG данных (см. фиг.4). Кроме того, также возможен вариант, при котором в оконечных приборах данных, которые, в первую очередь, использовались для передачи речи (телефонной связи) (фиг.4) и с помощью которых было невозможно устанавливать соединение протокола VoIP, осуществляется приоритизация соединения с сетью с коммутацией линий связи по отношению к сети с коммутацией каналов. Это может достигаться, например, путем управляемой по времени установки по умолчанию. Это означает, что когда осуществлена смена режима работы с первого режима работы на второй режим работы или соответственно с второго режима работы на первый режим работы, как описано выше, и оконечный прибор данных после окончания времени нахождения во втором режиме работы или соответственно в первом режиме работы не переключен обратно, то возврат в исходное состояние (установленное по умолчанию) осуществляется автоматически.
Вариант реализации (iii)
При описании данного варианта реализации предполагается, что оконечный прибор DEG данных находится, например, в первом режиме работы, согласно которому оконечный прибор DEG данных соединен через прибор DÜG передачи данных с сетью LVN с коммутацией линий связи. Разумеется, также возможен другой случай, когда оконечный прибор DEG данных находится во втором режиме работы.
Пользователю оконечного прибора DEG данных желательно было бы перейти во второй режим работы или соответственно в первый режим работы. Соответствующая смена режима работы вводится пользователем оконечного прибора DEG данных тем, что он приводит в действие средства STM управления. Для каждой смены режима может использоваться, например, одна и та же клавиша или программируемая клавиша, или для каждой смены режима работы могут применяться и различные клавиши. При речевом управлении, напротив, это является однозначным, потому что всегда осуществляется смена режима работы соответственно речевому вводу.
Вслед за этим, при управлении посредством первого блока ZSE1 управления, через последнее и первый интерфейс EÜSS1 между оконечным прибором и прибором передачи передается четвертый сигнал S4 для сигнализации о смене режима работы от оконечного прибора DEG данных через первое соединение LV1 линии связи или первое соединение FRV1 свободного пространства на второй интерфейс EÜSS1 между оконечным прибором и прибором передачи в приборе DÜG передачи данных, через который переданный от оконечного прибора DEG данных четвертый сигнал S4 в случае перехода во второй режим работы (согласно этому текущим режимом работы является первый режим работы) вновь передается на первые средства USSM1 управления переключением, а в случае перехода в первый режим работы (согласно этому текущим режимом работы является второй режим работы) вновь передается через первый интерфейс VÜSS1 между прибором обработки и прибором передачи, второе соединение LV2 линии связи или второе соединение FRV2 свободного пространства, а также через второй интерфейс VÜSS2 между прибором обработки и прибором передачи в указанной очередности на вторые средства USSM2 управления переключением в приборе DVG обработки данных.
Принимающие четвертый сигнал S4 первые средства USSM1 управления переключением вслед за этим вырабатывают седьмой сигнал S7, которым вторые средства управления переключением USSM2 информируются о соответствующей смене режима работы. Седьмой сигнал S7 передается через первый интерфейс VÜSS1 между прибором обработки и прибором передачи, второе соединение LV2 линии связи или второе соединение FRV2 свободного пространства, а также второй интерфейс VÜSS2 между прибором обработки и прибором передачи на вторые средства USSM2 управления переключением. После того как вторые средства USSM2 управления переключением и тем самым прибор DVG обработки данных или прибор DÜG передачи данных проинформированы о смене режима работы, принимающие седьмой сигнал S7 вторые средства USSM2 управления переключением вырабатывают восьмой сигнал S8 и передают его через второй интерфейс VÜSS2 между прибором обработки и прибором передачи, второе соединение LV2 линии связи или второе соединение FRV2 свободного пространства, а также первый интерфейс VÜSS1 между прибором обработки и прибором передачи на первые средства USSM1 управления переключением. Посредством этого восьмого сигнала S8 вторые средства USSM2 управления переключением сигнализируют первым средствам USSM1 управления переключением, что об этой смене со второго режима работы на первый режим работы следует сигнализировать первым средствам USM1 переключения и тем самым управлять ими. Первые средства USSM1 управления переключением вслед за этим вырабатывают девятый сигнал S9 и передают его на первые средства USM1 переключения. Посредством передачи девятого сигнала S9 первым средствам USM1 переключения предписывается освободить канал передачи к сети LVN с коммутацией линий связи или соответственно к сети PVN с коммутацией пакетов, до сих пор использовавшийся оконечным прибором DEG данных, и вместо этого установить новый канал передачи через прибор DVG обработки данных к сети PVN с коммутацией пакетов или через прибор DÜG передачи данных к сети LVN с коммутацией линий связи. На фиг.2 этот процесс показан в первых средствах USM1 переключения с помощью символа переключателя. Тем самым оконечный прибор DEG данных через второе соединение LV2 линии связи либо второе соединение FRV2 свободного пространства и прибор DVG обработки данных соединяется с сетью PVN с коммутацией пакетов или через прибор DÜG передачи данных соединяется с сетью LVN с коммутацией линий связи. Этот относящийся ко второму режиму работы или соответственно к первому режиму работы канал передачи остается включенным или установленным до тех пор, пока аналогичным образом новая смена режима работы, на этот раз из второго режима работы в первый режим работы или соответственно из первого режима работы во второй режим работы, не будет введена пользователем.
Чтобы информировать пользователя оконечного прибора данных о том, в каком режиме работы находится оконечный прибор данных, соответственно активизированный режим работы предпочтительно вновь указывается на дисплее оконечного прибора DEG данных (см. фиг.4). Кроме того, также возможен вариант, при котором в оконечных приборах данных, которые, в первую очередь, использовались для передачи речи (телефонной связи) (фиг.4) и с помощью которых было невозможно устанавливать соединение протокола VoIP, осуществляется приоритизация соединения с сетью с коммутацией линий связи по отношению к сети с коммутацией каналов. Это может достигаться, например, путем управляемой по времени установки по умолчанию. Это означает, что если осуществлена смена режима работы с первого режима работы на второй режим работы или соответственно со второго режима работы на первый режим работы, как описано выше, и оконечный прибор данных после окончания времени нахождения во втором режиме работы или соответственно в первом режиме работы, не переключен обратно, то возврат в исходное состояние (установленное по умолчанию) осуществляется автоматически.
Для представленных вариантов реализации (i), (ii), (iii) является предпочтительным, если сигнализированная с помощью сигналов S2, S5, S7, S8 смена режима работы подтверждается принимающими эти сигналы средствами переключения соответственно десятым сигналом 310, прежде чем первыми средствами USM1 переключения будет осуществлена смена режима работы.
На фиг.3 показан второй приемник/источник DSQ2 данных для сети с коммутацией линий связи, выполненной предпочтительно как сеть PSTN или ISDN, и сети с коммутацией пакетов, выполненной предпочтительно как сеть Интернет, состоящий из оконечного прибора DEG данных и прибора DVÜG передачи данных и обработки данных. В приборе DVÜG передачи данных и обработки данных объединены показанные на фиг.2 прибор DVG обработки данных и прибор DÜG передачи данных для образования единого конструктивного и функционального блока.
Оконечный прибор DEG данных содержит первый центральный блок ZSE1 управления, средства STM управления STM и первый интерфейс EÜSS1 между оконечным прибором и прибором передачи. Первый центральный блок ZSE1 управления служит для управления функциональными процессами в оконечном приборе DEG данных и соединен как со средствами STM управления, так и с первым интерфейсом EÜSS1 между оконечным прибором и прибором передачи. Через первый интерфейс EÜSS1 между оконечным прибором и прибором передачи оконечный прибор DEG данных связан с прибором DVÜG обработки данных и передачи данных, который для этого соединения имеет третий интерфейс EÜSS3 между оконечным прибором и прибором передачи. В качестве соединения между оконечным прибором DEG данных и прибором DVÜG обработки данных и передачи данных предусмотрено либо первое соединение LV1 линии связи, либо первое соединение
FRV1 свободного пространства.
Прибор DVÜG обработки данных и передачи данных содержит наряду с третьим интерфейсом EÜSS3 между оконечным прибором и прибором передачи еще четвертый центральный блок ZSE4 управления, второй интерфейс NÜSS2 между сетью и прибором передачи, вторые средства USM2 переключения и второй интерфейс NVSS1 между сетью и прибором обработки. Четвертый центральный блок ZSE4 управления, который служит для управления процессами функционирования в приборе DVÜG обработки данных и передачи данных и содержит третьи средства USSM3 управления переключением, связан с третьим интерфейсом EÜSS3 между оконечным прибором и прибором передачи, вторым интерфейсом NÜSS2 между сетью и прибором передачи и вторым интерфейсом NVSS2 между сетью и прибором обработки.
Третьи средства USSM3 управления переключением четвертого центрального блока ZSE4 управления образуют со вторыми средствами USM2 переключения функциональный блок таким образом, что средства USSM3 управления переключением управляют средствами USM1 переключения, что показано на фиг.3 соединением между этими средствами. Прибор DVÜG обработки данных и передачи данных, с одной стороны, соединен через второй интерфейс NÜSS2 между сетью и прибором передачи с сетью LVN с коммутацией линий связи, а с другой стороны, через второй интерфейс NVSS2 между сетью и прибором обработки соединен с сетью PVN с коммутацией пакетов.
Ниже на основе пояснения структуры второго приемника/источника DSQ2 данных описан способ функционирования приемника/источника DSQ2 данных в отношении устранения логического разделения между первыми приложениями, которые основываются на сети LVN с коммутацией линий связи, и вторыми приложениями, которые основываются на сети PVN с коммутацией пакетов.
Для сценария, представленного на фиг.3, предполагается, что оконечный прибор DEG данных находится, например, в первом режиме работы, согласно которому оконечный прибор DEG данных соединен через прибор DVÜG обработки данных и передачи данных с сетью LVN с коммутацией линий связи. Разумеется, также возможен другой случай, когда оконечный прибор DEG данных находится во втором режиме работы.
Пользователю оконечного прибора DEG данных желательно было бы перейти во второй режим работы. Указанная смена режима работы вводится пользователем оконечного прибора DEG данных тем, что он приводит в действие средства STM управления. Вслед за этим, при управлении посредством первого блока ZSE1 управления, через последнее и первый интерфейс EÜSS1 между оконечным прибором и прибором передачи передается одиннадцатый сигнал S11 для сигнализации о смене режима работы от оконечного прибора DEG данных через первое соединение линии LV1 связи или первое соединение FRV1 свободного пространства на третий интерфейс EÜSS3 между оконечным прибором и прибором передачи в приборе DVÜG обработки данных и передачи данных, который переданный от оконечного прибора DEG данных одиннадцатый сигнал S11 передает далее на третьи средства USSM3 управления переключением.
Третьи средства USSM3 управления переключением вслед за этим вырабатывают двенадцатый сигнал S12 и передают его на вторые средства USM2 переключения. Посредством передачи двенадцатого сигнала S12 вторым средствам USM2 переключения предписывается освободить канал передачи к сети LVN с коммутацией линий связи, до сих пор использовавшийся оконечным прибором DEG данных, и вместо этого установить новый канал передачи к сети PVN с коммутацией пакетов. На фиг.3 этот процесс показан во вторых средствах USM2 переключения с помощью символа переключателя. Тем самым оконечный прибор DEG данных соединяется с сетью PVN с коммутацией пакетов. Этот относящийся ко второму режиму работы канал передачи остается включенным или установленным до тех пор, пока аналогичным образом новая смена режима работы, на этот раз из второго режима работы в первый режим работы, не будет введена пользователем.
Чтобы информировать пользователя оконечного прибора данных о том, в каком режиме работы находится оконечный прибор данных, соответственно активизированный режим работы предпочтительно указывается на дисплее оконечного прибора данных (см. фиг.4).
Кроме того, возможен вариант, при котором в оконечных приборах данных, которые, в первую очередь, используются для передачи речи (телефонной связи) (фиг.4) и с помощью которых невозможно устанавливать соединение протокола VoIP, осуществляется приоритизация соединения с сетью с коммутацией линий связи по отношению к сети с коммутацией пакетов. Это может достигаться, например, путем управляемой по времени установки по умолчанию. Это означает, что когда осуществлена смена режима работы с первого режима работы на второй режим работы, как описано выше, и оконечный прибор данных после окончания времени нахождения во втором режиме работы не переключен обратно, то возврат в исходное состояние (установленное по умолчанию) осуществляется автоматически.
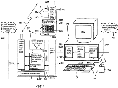
Фиг.4 показывает реализацию первого приемника/источника DSQ1 данных по фиг.2 согласно варианту реализации (i) с беспроводным телефоном SLT в качестве оконечного прибора данных и прибора передачи данных, который соединен с сетью LVN с коммутацией линий связи, а также с персональным компьютером PC в качестве прибора обработки данных, соединенным с сетью PVN с коммутацией пакетов. Персональный компьютер PC содержит рядом с экраном BSC (монитором) устройство EV ввода, состоящее из клавиатуры ТА и «мыши МА», в системном блоке SYE, который состоит из устройств, показанных на фиг.2. Так в системном блоке SYS наряду с третьим центральным блоком ZSE3 управления также размещен выполненный как интерфейс USB (универсальной последовательной шины) второй интерфейс VÜSS2 между прибором обработки и прибором передачи и выполненный как интерфейс между сетью Ethernet и DSL первый интерфейс NVSS1 между сетью и прибором обработки. Посредством USB-соединения USBV, LV2 в качестве второго соединения линии связи персональный компьютер PC соединен с беспроводным телефоном SLT. Беспроводный телефон SLT в качестве прибора передачи данных использует беспроводную станцию, а в качестве оконечного прибора данных – беспроводное мобильное устройство SLM, которые посредством радиосоединения FRV1 в качестве первого соединения свободного пространства связаны друг с другом. Беспроводное мобильное устройство SLM содержит наряду с устройством АЕ отображения (дисплеем), устройством EGE ввода, выполненным в виде клавиатуры, и состоящими из микрофона и наушников средствами EGM ввода первый центральный блок ZSE1 управления и в качестве первого интерфейса между оконечным прибором и прибором передачи первый радиоинтерфейс EÜSS1. Устройство АЕ отображения, устройство EGE ввода и средства EGM ввода образуют показанные на фиг.2 средства STM управления. В беспроводной базовой станции SLB размещены второй центральный блок ZSE2 управления с первыми средствами USSM1 управления переключением, первое средство USM1 переключения, выполненный в качестве второго интерфейса между оконечным прибором и прибором передачи второй радиоинтерфейс EÜSS2, выполненное в качестве первого интерфейса между сетью и прибором передачи подключение NÜSS1 к линии связи и выполненный в качестве первого интерфейса между прибором обработки и прибором передачи USB-интерфейс VÜSS1. Посредством подключения NÜSS1 к линии связи устанавливается соединение с сетью LVN с коммутацией линий связи, а USB-интерфейс VÜSS1 через USB-соединение USBV, LV2 соединяется с находящимся в персональном компьютере PC USB-интерфейсом VÜSS2.
Если беспроводная станция SLB встроена в качестве беспроводного адаптера данных в персональный компьютер PC, то тем самым может быть получен второй приемник/источник DSQ2 данных согласно фиг.3.
Формула изобретения
1. Приемник/источник данных для сети с коммутацией линий связи и сети с коммутацией пакетов, содержащий a) прибор передачи данных (DÜG), предназначенный для передачи и приема данных, в особенности речевых и/или пакетных данных, в сеть с коммутацией линий связи или из сети с коммутацией линий связи (LVN), который имеет возможность соединения с сетью с коммутацией линий связи (LVN), b) универсально используемый прибор (DVG) для автоматической обработки данных и для передачи и приема данных в сеть с коммутацией пакетов и из сети с коммутацией пакетов (PVN), соотносимый с сетью с коммутацией пакетов (PVN), и с которым соотнесен прибор передачи данных (DÜG), c) по меньшей мере, один оконечный прибор данных (DEG) для передачи и приема данных, в особенности речевых и/или пакетных данных, в сеть с коммутацией линий связи или из сети с коммутацией линий связи (LVN), который соотнесен с прибором передачи данных (DÜG), отличающийся тем, что d) в приборе передачи данных (DÜG, DVÜG) имеются средства переключения (USM1, USM2), управляемые таким образом, что оконечный прибор данных (DEG), который в первом режиме работы соединен через прибор передачи данных (DÜG) с сетью с коммутацией линий связи (LVN), может переключаться из первого режима работы во второй режим работы, в котором оконечный прибор данных (DEG) через прибор передачи данных (DÜG) и упомянутый прибор обработки данных (DVG) соединен с сетью с коммутацией пакетов (PVN), и наоборот.
2. Приемник/источник данных по п.1, отличающийся тем, что оконечный прибор данных (DEG) содержит средства управления (STM) и для управления процессами функционирования в оконечном приборе данных (DEG) первый центральный блок управления (ZSE1), которые связаны друг с другом и выполнены таким образом, что средства переключения (USM) являются управляемыми.
3. Приемник/источник данных по п.2, отличающийся тем, что средства управления (STM) выполнены в виде клавиши на клавиатуре оконечного прибора данных (DEG), или в виде программируемой клавиши, или посредством реализованного в оконечном приборе данных (DEG) речевого управления.
4. Приемник/источник данных по п.2, отличающийся тем, что в приборе передачи данных (DÜG) имеются первые средства управления переключением (USSM1), которые с первыми средствами переключения (USM1), средствами управления (STM) и первым центральным блоком управления (ZSE1) образуют функциональный блок, причем указанный функциональный блок выполнен таким образом, что a) средства управления (STM) через первый центральный блок управления (ZSE1) сигнализируют (S1) первым средствам управления переключением (USSM1) о смене режима работы, b) первые средства управления переключением (USSM1) сигнализируют (S2) прибору обработки данных (DVG) о смене режима работы, c) первые средства управления переключением (USSM1) управляют (S3) первыми средствами переключения (USM1) для сигнализированной смены режима работы.
5. Приемник/источник данных по п.2, отличающийся тем, что в приборе передачи данных (DÜG) имеются первые средства управления переключением (USSM1), а в приборе обработки данных (DVG) имеются вторые средства управления переключением (USSM2), которые с первыми средствами переключения (USM1), средствами управления (STM) и первым центральным блоком управления (ZSE1) образуют функциональный блок, причем указанный функциональный блок выполнен таким образом, что a) средства управления (STM), когда оконечный прибор данных (DEG) в текущий момент находится в первом режиме работы, через первый центральный блок управления (ZSE1) сигнализируют первым средствам управления переключением (USSM1) в приборе передачи данных (DÜG) о смене режима работы, когда оконечный прибор данных (DEG) в текущий момент находится во втором режиме работы, через первый центральный блок управления (ZSE1) сигнализируют (S4) вторым средствам управления переключением (USSM2) в приборе обработки данных (DVG) о смене режима работы, b) средства управления переключением (USSM1, USSM2) сигнализируют (S5) соответствующим другим средствам управления переключением (USSM2, USSM1) о смене режима работы, c) первые средства управления переключением (USSM1) в приборе передачи данных (DÜG) управляют (S6) первыми средствами переключения (USM1) для смены режима работы путем перехода из первого режима работы во второй режим работы, и вторые средства управления переключением (USSM2) в приборе обработки данных (DVG) управляют (S6) первыми средствами переключения (USM1) для смены режима работы путем перехода из второго режима работы в первый режим работы.
6. Приемник/источник данных по п.2, отличающийся тем, что в приборе передачи данных (DÜG) имеются первые средства управления переключением (USSM1), а в приборе обработки данных (DVG) имеются вторые средства управления переключением (USSM2), которые с первыми средствами переключения (USM1), средствами управления (STM) и первым центральным блоком управления (ZSE1) образуют функциональный блок, причем указанный функциональный блок выполнен таким образом, что а) средства управления (STM), когда оконечный прибор данных (DEG) в текущий момент находится в первом режиме работы, через первый центральный блок управления (ZSE1) сигнализируют первым средствам управления переключением (USSMI) в приборе передачи данных (DÜG) о смене режима работы, когда оконечный прибор данных (DEG) в текущий момент находится во втором режиме работы, через первый центральный блок управления (ZSE1) сигнализируют (S4) вторым средствам управления переключением (USSM2) в приборе обработки данных (DVG) о смене режима работы, b) первые средства управления переключением (USSM1) в приборе передачи данных (DÜG) сигнализируют (S7) вторым средствам управления переключением (USSM2) в приборе обработки данных (DVG) о смене режима работы, c) вторые средства управления переключением (USSM2) в приборе обработки данных (DVG) сигнализируют первым средствам управления переключением (USSM1) в приборе передачи данных (DÜG) об управлении (S8) сменой режима работы путем перехода из второго режима работы в первый режим работы, d) первые средства управления переключением (USSM1) в приборе передачи данных (DÜG) управляют (S9) первыми средствами переключения (USM1) для соответствующей смены режима работы.
7. Приемник/источник данных по пп.4, 5 или 6, отличающийся тем, что упомянутый функциональный блок выполнен таким образом, что сигнализированная смена режима работы посредством первых средств управления переключением (USSM1) должна подтверждаться противоположной стороной, прежде чем будет осуществлена (S10) смена режима работы посредством первых средств переключения (USM1).
8. Приемник/источник данных по п.1, отличающийся тем, что оконечный прибор данных (DEG) и прибор передачи данных (DÜG) соединены посредством первого соединения линии связи (LV1).
9. Приемник/источник данных по п.1, отличающийся тем, что оконечный прибор данных (DEG) и прибор передачи данных (DÜG) соединены посредством первого соединения свободного пространства (FRV1).
10. Приемник/источник данных по п.1, отличающийся тем, что оконечный прибор данных (DEG) встроен в прибор передачи данных (DÜG) для образования конструктивного блока.
11. Приемник/источник данных по п.1, отличающийся тем, что прибор передачи данных (DÜG) соотнесен с прибором обработки данных (DVG) посредством второго соединения линии связи (LV2).
12. Приемник/источник данных по п.1, отличающийся тем, что прибор передачи данных (DÜG) соотнесен с прибором обработки данных (DVG) посредством второго соединения свободного пространства (FRV2).
13. Приемник/источник данных по п.1, отличающийся тем, что прибор передачи данных (DÜG) для образования конструктивного функционального блока, выполненного в виде прибора обработки данных и передачи данных (DVÜG), встроен в прибор обработки данных (DVG).
14. Приемник/источник данных по п.13, отличающийся тем, что прибор обработки данных и передачи данных (DVÜG) выполнен в виде приставки, ноутбука или персонального компьютера.
15. Приемник/источник данных по п.13 или 14, отличающийся тем, что в приборе обработки данных и передачи данных (DVÜG) имеются третьи средства управления переключением (USSM3), которые со вторыми средствами переключения (USM2) в приборе обработки данных и передачи данных (DVÜG), средствами управления (STM) и первым центральным блоком управления (ZSE1) образуют функциональный блок, причем указанный функциональный блок выполнен таким образом, что a) средства управления (STM) сигнализируют третьим средствам управления переключением (USSM3) о смене режима работы, b) третьи средства управления переключением (USSM3) управляют вторыми средствами переключения (USM2) для сигнализированной смены режима работы.
16. Приемник/источник данных по п.1, отличающийся тем, что прибор обработки данных (DVG) содержится в сети с коммутацией пакетов (PVN), предпочтительно в Интернет, локальной сети (LAN), глобальной сети (WAN), a прибор передачи данных (DÜG) соотнесен с прибором обработки данных (DVG) посредством туннельного соединения.
17. Приемник/источник данных по любому из пп.4-6, отличающийся тем, что первые средства управления переключением (USSM1) содержатся во втором центральном блоке управления (ZSE2) для управления процессами функционирования в приборе передачи данных (DÜG), и вторые средства управления переключением (USSM2) содержатся в третьем центральном блоке управления (ZSE3) для управления процессами функционирования в приборе обработки данных (DVG).
18. Приемник/источник данных по п.15, отличающийся тем, что третьи средства управления переключением (USSM3) содержатся в четвертом центральном блоке управления (ZSE4) для управления процессами функционирования в приборе обработки данных и передачи данных (DVÜG).
19. Приемник/источник данных по п.1, отличающийся тем, что средства переключения (USM1, USM2) выполнены в виде программных модулей.
20. Приемник/источник данных по любому из пп.4-6, отличающийся тем, что средства управления переключением (USSM1, USSM2) выполнены в виде программных модулей.
21. Приемник/источник данных по п.15, отличающийся тем, что средства управления переключением (USSM3) выполнены в виде программных модулей.
22. Приемник/источник данных по п.9 или 11, отличающийся тем, что прибор передачи данных (DÜG) выполнен в виде беспроводной базовой станции и соединен посредством второго соединения линии связи (LV2) с прибором обработки данных (DVG).
23. Приемник/источник данных по п.22, отличающийся тем, что второе соединение линии связи (LV2) представляет собой соединение универсальной последовательной шины (USBV).
24. Приемник/источник данных по п.9 или 12, отличающийся тем, что прибор передачи данных (DÜG) выполнен в виде беспроводной базовой станции, а с прибором обработки данных (DVG) соотнесен беспроводный модуль, предназначенный для беспроводной связи с беспроводной базовой станцией.
25. Приемник/источник данных по п.12 или 13, отличающийся тем, что прибор обработки данных и передачи данных (DVÜG) выполнен в виде прибора обработки данных с встроенным беспроводным адаптером данных.
26. Приемник/источник данных по п.9, отличающийся тем, что оконечный прибор данных (DEG) выполнен в виде беспроводного мобильного устройства.
27. Приемник/источник данных по п.1, отличающийся тем, что прибор обработки данных (DVG) выполнен в виде персонального компьютера, ноутбука или сервера для домашнего или офисного использования.
28. Прибор передачи данных, в особенности речевых и пакетных данных, для сети с коммутацией линий связи и сети с коммутацией пакетов, a) который для передачи и приема данных, в особенности речевых и/или пакетных данных, в сеть с коммутацией линий связи или из сети с коммутацией линий связи (LVN) имеет возможность соединения с этой сетью, b) который является соотносимым с универсально используемым прибором (DVG) для автоматической обработки данных и для передачи и приема данных в сеть с коммутацией пакетов и из сети с коммутацией пакетов (PVN), причем упомянутый прибор обработки данных (DVG) является соотносимым с сетью с коммутацией пакетов (PVN), c) с которым соотнесен, по меньшей мере, один оконечный прибор данных (DEG) для передачи и приема данных, в особенности речевых и/или пакетных данных, в сеть с коммутацией линий связи или из сети с коммутацией линий связи (LVN), отличающийся тем, что d) содержит средства переключения (USM1, USM2), управляемые таким образом, что оконечный прибор данных (DEG), который в первом режиме работы соединен через прибор передачи данных (DÜG) с сетью с коммутацией линий связи (LVN), может переключаться из первого режима работы во второй режим работы, в котором оконечный прибор данных (DEG) через прибор передачи данных (DÜG) и прибор обработки данных (DVG) соединен с сетью с коммутацией пакетов (PVN), и наоборот.
29. Прибор передачи данных по п.28, отличающийся тем, что содержит первые средства управления переключением (USSM1), которые с первыми средствами переключения (USM1), средствами управления (STM) и первым центральным блоком управления (ZSE1) в оконечном приборе данных (DEG) образуют функциональный блок, причем указанный функциональный блок выполнен таким образом, что a) первым средствам управления переключением (USSM1) от средств управления (STM) и первого центрального блока управления (ZSE1) сигнализируется (S1) о смене режима работы, b) первые средства управления переключением (USSM1) сигнализируют (S2) прибору обработки данных (DVG) о смене режима работы, c) первые средства управления переключением (USSM1) управляют первыми средствами переключения (USM1) для сигнализированной (S3) смены режима работы.
30. Прибор передачи данных по п.28, отличающийся тем, что содержит первые средства управления переключением (USSM1), которые со вторыми средствами управления переключением (USSM2) в приборе обработки данных (DVG), с первыми средствами переключения (USM1), средствами управления (STM) и первым центральным блоком управления (ZSE1) в оконечном приборе данных (DEG) образуют функциональный блок, причем указанный функциональный блок выполнен таким образом, что a) первым средствам управления переключением (USSM1) сигнализируется (S4) от средств управления (STM) и первого центрального блока управления (ZSE1), когда оконечный прибор данных (DEG) в текущий момент находится в первом режиме работы, о смене режима работы, b) первые средства управления переключением (USSM1) сигнализируют (S5) вторым средствам управления переключением (USSM2) о смене режима работы, c) первым средствам управления переключением (USSM1) сигнализируется (S5) от вторых средств управления переключением (USSM2) о смене режима работы, когда оконечный прибор данных (DEG) в текущий момент находится во втором режиме работы, и вторым средствам управления переключением (USSM2) в приборе обработки данных (DVG) сигнализируется о смене режима работы от средства управления (STM) и первого центрального блока управления (ZSE1), d) первые средства управления переключением (USSM1) управляют (S6) первыми средствами переключения (USM1) для смены режима работы путем перехода из первого режима работы во второй режим работы.
31. Прибор передачи данных по п.28, отличающийся тем, что содержит первые средства управления переключением (USSM1), которые совместно со вторыми средствами управления переключением (USSM2) в приборе обработки данных (DVG), первыми средствами переключения (USM1), средствами управления (STM) и первым центральным блоком управления (ZSE1) в оконечном приборе данных (DEG) образуют функциональный блок, причем указанный функциональный блок выполнен таким образом, что a) первым средствам управления переключением (USSM1) от средств управления (STM) и первого центрального блока управления (ZSE1), когда оконечный прибор данных (DEG) в текущий момент находится в первом режиме работы, сигнализируется (S4) о смене режима работы, b) первые средства управления переключением (USSM1) сигнализируют (S7) вторым средствам управления переключением (USSM2) в приборе обработки данных (DVG) о смене режима работы, c) первым средствам управления переключением (USSM1) от вторых средств управления переключением (USSM2) в приборе обработки данных (DVG) сигнализируется о смене режима работы, когда оконечный прибор данных (DEG) в текущий момент находится во втором режиме работы, и вторым средствам управления переключением (USSM2) в приборе обработки данных (DVG) сигнализируется о смене режима работы от средства управления (STM) и первого центрального блока управления (ZSE1) для управления переходом из второго режима работы в первый режим работы, d) первые средства управления переключением (USSM1) управляют (S9) первыми средствами переключения (USM1) для соответствующей смены режима работы.
32. Прибор передачи данных по любому из пп.29-31, отличающийся тем, что упомянутый функциональный блок выполнен таким образом, что сигнализированная смена режима работы посредством первых средств управления переключением (USSM1) должна подтверждаться противоположной стороной, прежде чем будет осуществлена (S10) смена режима работы посредством первых средств переключения (USM1).
33. Прибор передачи данных по п.28, отличающийся тем, что имеется первое соединение линии связи (LV1), посредством которого прибор передачи данных (DÜG) соединен с оконечным прибором данных (DEG).
34. Прибор передачи данных по п.28, отличающийся тем, что имеется первое соединение свободного пространства (FRV1), посредством которого прибор передачи данных (DÜG) соединен с оконечным прибором данных (DEG).
35. Прибор передачи данных по п.28, отличающийся тем, что оконечный прибор данных (DEG) встроен в прибор передачи данных (DÜG) для образования конструктивного функционального блока.
36. Прибор передачи данных по п.28, отличающийся тем, что имеется второе соединение линии связи (LV2), посредством которого прибор передачи данных (DÜG) соотнесен с прибором обработки данных (DVG).
37. Прибор передачи данных по п.28, отличающийся тем, что имеется второе соединение свободного пространства (FRV2), посредством которого прибор передачи данных (DÜG) соотнесен с прибором обработки данных (DVG).
38. Прибор передачи данных по п.28, отличающийся тем, что он встроен в прибор обработки данных (DVG) для образования конструктивного блока, выполненного в виде прибора обработки данных и передачи данных (DVÜG).
39. Прибор передачи данных по п.38, отличающийся тем, что прибор обработки данных и передачи данных (DVÜG) выполнен в виде приставки, ноутбука или персонального компьютера.
40. Прибор передачи данных по п.38, отличающийся тем, что в приборе обработки данных и передачи данных (DVÜG) имеются третьи средства управления переключением (USSM3), которые со вторыми средствами переключения (USM2) в приборе обработки данных и передачи данных (DVÜG), средствами управления (STM) и первым центральным блоком управления (ZSE1) в оконечном приборе данных (DEG) образуют функциональный блок, причем указанный функциональный блок выполнен таким образом, что a) третьим средствам управления переключением (USSM3) сигнализируется о смене режима работы от средств управления (STM) и первого центрального блока управления (ZSE1), b) третьи средства управления переключением (USSM3) управляют вторыми средствами переключения (USM2) для сигнализированной смены режима работы.
41. Прибор передачи данных по любому из пп.29-31, отличающийся тем, что для управления процессами функционирования в приборе передачи данных (DÜG) имеется второй центральный блок управления (ZSE2), в котором содержатся первые средства управления переключением (USSM1).
42. Прибор передачи данных по любому из пп.28-31, 40, отличающийся тем, что средства переключения (USM1, USM2) и средства управления переключением (USSM1, USSM2, USSM3) выполнены в виде программных модулей.
43. Прибор передачи данных по п.34 или 36, отличающийся тем, что прибор передачи данных (DÜG) выполнен в виде беспроводной базовой станции и соединен посредством второго соединения линии связи (LV2) с прибором обработки данных (DVG).
44. Прибор передачи данных по п.43, отличающийся тем, что второе соединение линии связи (LV2) представляет собой соединение универсальной последовательной шины (USBV).
45. Прибор передачи данных по п.34 или 37, отличающийся тем, что прибор передачи данных (DÜG) выполнен в виде беспроводной базовой станции, а с прибором обработки данных (DVG) соотнесен беспроводный модуль, предназначенный для беспроводной связи с беспроводной базовой станцией.
46. Прибор передачи данных по п.37 или 38, отличающийся тем, что прибор обработки данных и передачи данных (DVÜG) выполнен в виде прибора обработки данных с встроенным беспроводным адаптером данных.
47. Оконечный прибор данных, особенно речевых и/или пакетных данных, для сети с коммутацией линий связи и сети с коммутацией пакетов, который для передачи и приема данных, особенно речевых и/или пакетных данных, в сеть с коммутацией линий связи или из сети с коммутацией линий связи (LVN) является соотносимым с прибором передачи данных (DÜG) для передачи и приема данных, особенно речевых и/или пакетных данных, в сеть с коммутацией линий связи или из сети с коммутацией линий связи (LVN), причем прибор передачи данных (DÜG) является соединяемым с сетью с коммутацией линий связи (LVN) и соотносимым с универсально используемым прибором (DVG) для автоматической обработки данных и для передачи и приема данных в сеть с коммутацией пакетов и из сети с коммутацией пакетов (PVN), который, в свою очередь, является соотносимым с сетью с коммутацией пакетов (PVN), отличающийся тем, что содержит средства управления (STM) и первый центральный блок управления (ZSE1) для управления процессами функционирования в оконечном приборе данных (DEG), которые связаны между собой и посредством которых средства переключения (USM1, USM2) прибора передачи данных (DUG, DVÜG) являются управляемыми таким образом, что оконечный прибор данных (DEG), который в первом режиме работы соединен через прибор передачи данных (DÜG) с сетью с коммутацией линий связи (LVN), может переключаться из первого режима работы во второй режим работы, в котором оконечный прибор данных (DEG) через прибор передачи данных (DÜG) и упомянутый прибор обработки данных (DVG) соединен с сетью с коммутацией пакетов (PVN), и наоборот.
48. Оконечный прибор данных по п.47, отличающийся тем, что средства управления (STM) выполнены в виде клавиши на клавиатуре оконечного прибора данных (DEG), или в виде программируемой клавиши, или посредством реализованного в оконечном приборе данных (DEG) речевого управления.
49. Оконечный прибор данных по п.47 или 48, отличающийся тем, что средства управления (STM) и первый центральный блок управления (ZSE1) с первыми средствами управления переключением (USSM1) и первыми средствами переключения (USM1) в приборе передачи данных (DÜG) образуют функциональный блок, причем указанный функциональный блок выполнен таким образом, что средства управления (STM) и первый центральный блок управления (ZSE1) сигнализируют (S1) первым средствам управления переключением (USSM1) о смене режима работы.
50. Оконечный прибор данных по п.47 или 48, отличающийся тем, что средства управления (STM) и первый центральный блок управления (ZSE1) с первыми средствами управления переключением (USSM1) в приборе передачи данных (DÜG) и вторыми средствами управления переключением (USSM2) в приборе обработки данных (DVG), а также первыми средствами переключения (USM1) в приборе передачи данных (DÜG) образуют функциональный блок, причем указанный функциональный блок выполнен таким образом, что средства управления (STM) и первый центральный блок управления (ZSE1), когда оконечный прибор данных (DEG) в текущий момент находится в первом режиме работы, сигнализируют (S4) о смене режима работы первым средствам управления переключением (USSM1) в приборе передачи данных (DÜG), или когда оконечный прибор данных (DEG) в текущий момент находится во втором режиме работы, сигнализируют (S4) о смене режима работы вторым средствам управления переключением (USSM2) в приборе обработки данных (DVG).
51. Оконечный прибор данных по п.47, отличающийся тем, что имеется первое соединение линии связи (LV1), посредством которого оконечный прибор данных (DEG) соединен с прибором передачи данных (DÜG).
52. Оконечный прибор данных по п.47, отличающийся тем, что имеется первое соединение свободного пространства (FRV1), посредством которого оконечный прибор данных (DEG) соединен с прибором передачи данных (DÜG).
53. Оконечный прибор данных по п.47, отличающийся тем, что он встроен в прибор передачи данных (DÜG) для образования конструктивного блока.
54. Оконечный прибор данных по п.47, отличающийся тем, что оконечный прибор данных (DEG) выполнен в виде беспроводного мобильного устройства.
РИСУНКИ
|
|