|
|
(21), (22) Заявка: 2004136319/09, 05.04.2004
(24) Дата начала отсчета срока действия патента:
05.04.2004
(30) Конвенционный приоритет:
11.04.2003 JP 2003-107571
(43) Дата публикации заявки: 10.09.2005
(46) Опубликовано: 27.05.2009
(56) Список документов, цитированных в отчете о поиске:
WO 0176127 A1, 11.10.2001. RU 2190884 C1, 10.10.2002. JP 2000331420 A, 30.11.2000. JP 2002196982 A, 12.07.2002.
(85) Дата перевода заявки PCT на национальную фазу:
10.12.2004
(86) Заявка PCT:
JP 2004/004909 20040405
(87) Публикация PCT:
WO 2004/093379 20041028
Адрес для переписки:
103735, Москва, ул. Ильинка, 5/2, ООО “Союзпатент”, пат.пов. С.Б.Фелицыной, рег. 303
|
(72) Автор(ы):
КИТАНИ Сатоси (JP), ЁНЕМИЦУ Дзун (JP), МУРАМАЦУ Кацуми (JP), АСАНО Томоюки (JP), ТАКАСИМА Ёсикацу (JP)
(73) Патентообладатель(и):
СОНИ КОРПОРЕЙШН (JP)
|
(54) ПРИВОД НОСИТЕЛЯ ЗАПИСИ ИНФОРМАЦИИ
(57) Реферат:
Изобретение относится к области обработки информации. Технический результат заключается в повышении уровня защиты информации. Сущность изобретения заключается в том, что начальное число, необходимое для генерирования блочного ключа для применения в процессе декодирования зашифрованного содержимого, хранится в виде информации, зашифрованной с использованием другого блочного ключа Kb1. Дополнительно к этому, в конфигурации, в которой начальное число необходимо передавать из одного устройства в другое, как начальное число, так и ключ записи устройства в другое, как начальное число, так и ключ записи передаются из одного устройства в другое в виде информации, зашифрованной с использованием ключа сеанса. 8 н. и 9 з.п. ф-лы, 23 ил.
Область техники, к которой относится изобретение
Данное изобретение относится к устройству для обработки информации, приводу носителя записи информации, способу обработки информации и компьютерной программе. А именно, данное изобретение относится к устройству для обработки информации, приводу носителя записи информации, способу обработки информации и к компьютерной программе для осуществления предотвращения незаконного использования содержимого в процессе записи и воспроизведения данных на носитель записи информации и с него.
Уровень техники
В настоящее время различные виды данных программного обеспечения циркулируют в сети, такой как Интернет, или распространяются посредством записи данных программного обеспечения на носитель записи информации для распространения. Примерами данных программного обеспечения являются аудиоданные, такие как музыкальные данные, видеоданные, такие как кинофильм, игровая программа и различные прикладные программы. Данные программного обеспечения называются в последующем содержимым. Примеры носителя записи информации включают CD (компакт-диск), DVD (цифровой универсальный диск) и MD (мини-диск). Это распространяемое содержимое воспроизводится и используется посредством использования оборудования, принадлежащего пользователю. Примерами оборудования являются ПК (персональный компьютер) и устройства воспроизведения, такие как плеер CD, плеер DVD и плеер MD.
Обычно право на распространение содержимого, такого как музыкальные данные и изображения, принадлежит авторам содержимого или распространителям содержимого. Таким образом, на распространение такого содержимого накладываются заданные ограничения по использованию. То есть такие ограничения устанавливают систему, в которой право на использование содержимого предоставляется лишь авторизованному пользователю с целью исключения незаконного копирования содержимого.
В частности, в последние годы стали популярными записывающие устройства и носители записи для записи информации в виде цифровых данных. При помощи таких устройств записи и носителей записи можно, например, записывать информацию и воспроизводить ее много раз без ухудшения качества изображения и звука. Следовательно, возникает проблема, состоящая в том, что незаконно скопированное содержимое циркулирует по Интернету, и распространяется большое количество так называемых пиратских дисков. Пиратские диски изготавливают посредством копирования содержимого на обычный CD-ROM.
Особенно в случае носителя записи большой емкости, такого как DVD, разработанного в последние годы, можно огромное количество данных кинофильма записывать на носитель записи в виде цифровой информации. Если данные, такие как видеоинформация, можно записывать в виде цифровой информации, как указывалось выше, то исключение незаконного копирования и защита авторских прав становится намного более важной проблемой.
При помощи цифрового носителя записи и записывающего устройства для записи цифровых данных на носитель записи и воспроизведения с него цифровые данные можно записывать и воспроизводить много раз без ухудшения качества изображения и звука. Поскольку цифровые данные можно копировать много раз при сохранении качества изображения и звука, то носители записи, каждый из которых содержит незаконную копию, можно продавать на рынке. В этом случае нарушаются интересы лиц, владеющих авторскими правами на различное содержимое, такое как музыкальные данные или кинофильмы, и лиц, владеющих правами на продажу содержимого. В настоящее время на практике используются различные технологии для предотвращения использования цифровых записывающих устройств и носителей записи в качестве инструментов для изготовления незаконных копий с целью исключения незаконного копирования таких цифровых данных.
Например, в плеере DVD используется система скремблирования содержимого. В системе скремблирования содержимого видеоданные и аудиоданные шифруются и записываются на DVD-ROM (память только для считывания). Ключ для расшифровки зашифрованных видеоданных и аудиоданных дается плееру DVD, получившему лицензию. Лицензия дается плееру DVD, выполненному с возможностью соблюдения заданных рабочих предписаний, таких как неизготовление незаконных копий. Таким образом, плеер DVD, получивший лицензию, способен расшифровывать зашифрованные видеоданные и аудиоданные, записанные на DVD-ROM, посредством использования ключа, данного плееру для воспроизведения данных с DVD-ROM.
С другой стороны, плеер DVD, не получивший лицензии, не способен расшифровывать зашифрованные видеоданные и аудиоданные, записанные на DVD-ROM, поскольку плеер не имеет ключа для расшифровки данных. Таким образом, в конфигурации системы скремблирования содержимого плеер DVD, не удовлетворяющий условиям, предъявляемым во время лицензирования, не способен воспроизводить цифровые данные с DVD-ROM, что способствует исключению незаконного копирования.
Однако система скремблирования содержимого, предназначенная для DVD-ROM, содержит носители записи, которые запрещают пользователю записывать на них данные и не учитывают носители записи, которые позволяют пользователю записывать на них данные.
То есть даже если данные записаны на носитель записи, позволяющий пользователю записывать на нем данные в виде зашифрованных данных, то посредством копирования всех зашифрованных данных как они есть на RAM носитель (память с произвольной выборкой) подходящее устройство, получившее лицензию, способно воспроизводить данные с носителя RAM. Таким образом, этот процесс позволяет создавать носитель RAM в качестве так называемой пиратской версии данных.
Дополнительно к этому, программное обеспечение для расшифровки шифрования CSS распространяется через Интернет. Примером программного обеспечения является программное обеспечение DeCSS. За счет использования этой программы можно декодировать зашифрованный видеокод DVD с целью образования кода, подлежащего записи в DVD с возможностью записи в формате открытого текста. Программное обеспечение DeCSS создается следующим образом. Ключ для расшифровки CSS должен быть, естественно, зашифрован. Программное обеспечение плеера DVD, выполненное с ключом расшифровки CSS, как оно есть в незашифрованном виде подвергается процессу обратного проектирования для декодирования ключа. Из декодированного ключа декодируется весь алгоритм CSS по цепочке, приводящей к созданию программного обеспечения DeCSS.
Когда программа выполнения технологии защиты авторских прав, включающая ключ, вводится в прикладную программу, подлежащую исполнению в ПК, то обычно предусматривается защищенная от подделки характеристика для предотвращения анализа технологии защиты авторских прав. Однако нет показателя, указывающего силу защиты характеристики от подделки. Таким образом, согласно современному уровню техники, способность копирования с помощью обратного проектирования определяется решительностью и реальной способностью отдельных исполнителей. В результате, CSS было разрушено, что привело к потоку незаконно копируемого содержимого.
В системах, отличных от CSS, доступными являются СРРМ (защита содержимого для предварительно записанного носителя) и CPRM (защита содержимого для выполненного с возможностью записи носителя) в качестве технологии защиты авторских прав или технологии управления копированием для применения в технике DVD. СРРМ является технологией управления копированием, разработанной для носителя только для воспроизведения или предварительно записанного носителя. С другой стороны, CPRM является технологией управления копированием, разработанной для выполненного с возможностью записи носителя. Эти технологии управления копированием осуществляют управление копированием за счет использования комбинации из ключевой информации и ключа устройства. Ключевая информация является ключевым блоком носителя записи, хранящимся на носителе записи, таком как диск. С другой стороны, ключ устройства является ключом, хранящимся в устройстве, таком как устройство воспроизведения или ПК.
Однако ни в CPRM, ни в СРРМ не предлагается технология для решения основных проблем. Проблемы включают опасность утечки ключевой информации, хранящейся на носителе записи, таком как диск, или хранящейся в устройстве, таком как ПК. Таким образом, в существующем уровне техники, даже в случае применения CPRM и СРРМ, всегда имеется опасность утечки ключевой информации, которая приводит к разрушению системы управления копированием.
Следует отметить, что в качестве технологии для предотвращения незаконного копирования в патентных документах 1 и 2 описаны технологии процессов шифрования с применением уникального ключа для каждого блока данных содержимого, хранящегося на носителе записи. Патентный документ 1 является опубликованным патентом Японии 2001-351324, а патентный документ 2 является опубликованным патентом Японии 2002-236622. Раскрытая технология обеспечивает конфигурацию, в которой устанавливается начальное число в качестве информации генерирования ключа для каждого блока данных, и начальное число, установленное для каждого блока, используется для генерирования ключа шифрования. Таким образом, эта технология усложняет обычный процесс шифрования содержимого с использованием одного ключа и увеличивает трудность декодирования алгоритма шифрования для процесса.
Однако в указанной выше конфигурации начальное число, устанавливаемое в качестве информации генерирования ключа для каждого блока данных, является ничем иным как информацией, хранящейся на носителе записи. Таким образом, аналогично условиям разрушения CSS, ключевые данные декодируются, и можно вывести ключ блока из декодированных данных ключа и начальное число, уникальное для блока данных. Таким образом, нельзя сказать, что вообще не существует опасности утечки содержимого.
Сущность изобретения
Поэтому целью данного изобретения, нацеленного на решение указанных выше проблем, является создание устройства обработки информации, привода для носителя записи информации, носителя записи информации, способа обработки информации и компьютерной программы, способных сделать более трудной утечку ключевой информации, использованной для шифрования содержимого, подлежащего хранению на носителе записи, способных повысить трудность декодирования ключевой информации, а также трудность декодирования алгоритма шифрования в конфигурации, в которой было записано содержимое на различных носителях записи, таких как DVD и CD, используемых в устройстве воспроизведения или в ПК (персональном компьютере).
Согласно одному аспекту данного изобретения, предлагается устройство для обработки информации, используемое для выполнения процесса расшифровки зашифрованных данных, хранящихся на носителе записи информации. Устройство для обработки информации содержит средство обработки шифрования для:
генерирования первого блочного ключа Kb1 на основе первого начального числа, служащего в качестве информации для генерирования ключа, установленного для каждого из блоков обработки шифрования, составляющих зашифрованные данные, хранящиеся на носителе записи информации;
получения второго начального числа для выполнения процесса расшифровки зашифрованного второго начального числа, хранящегося на носителе записи, на основе генерированного первого блочного ключа Kb1;
генерирования второго блочного ключа Kb2 на основе полученного второго начального числа;
расшифровки зашифрованных данных, хранящихся на носителе записи, посредством выполнения процесса расшифровки на основе генерированного второго блочного ключа Kb2.
Дополнительно к этому, в соответствии с вариантом выполнения, устройство для обработки информации, согласно данному изобретению, содержит средство памяти для хранения информации для генерирования главного ключа. Средство обработки шифрования также:
генерирует главный ключ на основе информации для генерирования главного ключа;
генерирует два ключа К1 и К2 записи на основе генерированного главного ключа и информации, считываемой с носителя записи информации;
генерирует первый блочный ключ Kb1 посредством выполнения процесса шифрования на основе генерированного первого ключа К1 записи и первого начального числа;
получает второе начальное число посредством выполнения процесса расшифровки второго зашифрованного начального числа, хранящегося на носителе записи информации, на основе генерированного первого блочного ключа Kb1;
генерирует второй блочный ключ Kb2 посредством выполнения процесса шифрования на основе полученного второго начального числа и генерированного второго ключа К2 записи;
декодирует зашифрованные данные, хранящиеся на носителе записи информации, посредством выполнения процесса расшифровки на основе генерированного второго блочного ключа Kb2.
Кроме того, в другом варианте выполнения устройства для обработки информации, согласно данному изобретению, средство обработки шифрования также:
генерирует первый заглавный уникальный ключ и второй заглавный уникальный ключ на основе главного ключа, идентификатора диска, который является информацией, считываемой с носителя записи информации, и двух заглавных ключей, записанных на носителе записи информации;
генерирует первый ключ К1 записи посредством выполнения процесса шифрования на основе первого заглавного уникального ключа и первой информации, считанной с носителя записи информации;
генерирует второй ключ К2 записи посредством выполнения процесса шифрования на основе второго заглавного уникального ключа и второй информации, считанной с носителя записи информации.
Кроме того, в соответствии с другим вариантом выполнения устройства для обработки информации, согласно данному изобретению, средство обработки шифрования также:
генерирует первый заглавный уникальный ключ и второй заглавный уникальный ключ на основе главного ключа, идентификатора диска, который является информацией, считываемой с носителя записи информации, и одного ключевого начального числа, записанного на носителе записи информации;
генерирует первый ключ К1 записи посредством выполнения процесса шифрования на основе первого заглавного уникального ключа и первой информации, считанной с носителя записи информации;
генерирует второй ключ К2 записи посредством выполнения процесса шифрования на основе второго заглавного уникального ключа и второй информации, считанной с носителя записи информации.
Согласно второму аспекту данного изобретения, предлагается привод для носителя записи информации для считывания зашифрованных данных с носителя записи и выдачи зашифрованных данных во внешнее устройство. Привод для носителя записи информации имеет конфигурацию, включающую:
модуль процесса аутентификации для выполнения процесса аутентификации с внешним устройством для приема зашифрованных данных, считанных с носителя записи информации, с целью генерирования ключа Ks сеанса;
средство обработки шифрования для:
генерирования первого блочного ключа Kb1 на основе первого начального числа, служащего в качестве информации для генерирования ключа, установленного для каждого из блоков обработки шифрования, составляющих зашифрованные данные, хранящиеся на носителе записи информации;
получения второго начального числа для выполнения процесса расшифровки зашифрованного второго начального числа, хранящегося на носителе записи, на основе генерированного первого блочного ключа Kb1;
генерирования выходной зашифрованной информации посредством выполнения процесса шифрования данных, включающих второе начальное число, на основе ключа Ks сеанса.
Выходная зашифрованная информация, полученная в результате процесса шифрования данных, включающих второе начальное число, на основе ключа Ks сеанса, выдается через интерфейс.
Дополнительно к этому, в соответствии с вариантом выполнения привода для носителя записи информации, согласно данному изобретению, средство обработки шифрования также:
генерирует главный ключ на основе информации для генерирования главного ключа, хранящегося в приводе для носителя записи информации;
генерирует два ключа К1 и К2 записи на основе главного ключа и информации, считываемой с носителя записи информации;
генерирует первый блочный ключ Kb1 посредством выполнения процесса шифрования на основе генерированного первого ключа К1 записи и первого начального числа;
получает второе начальное число посредством выполнения процесса расшифровки второго зашифрованного начального числа, хранящегося на носителе записи информации, на основе генерированного первого блочного ключа Kb1;
генерирует выходную зашифрованную информацию посредством шифрования данных, включающих второе начальное число и второй ключ К2 записи, на основе ключа Ks сеанса;
выдает выходную зашифрованную информацию, включающую второе начальное число и второй ключ К2 записи, через интерфейс.
Согласно третьему аспекту данного изобретения, предлагается устройство для обработки информации, используемое для выполнения процесса расшифровки зашифрованных данных, полученных из внешнего устройства через интерфейс ввода данных. Устройство для обработки данных включает:
модуль аутентификации для выполнения процесса аутентификации с внешним устройством, выдающим зашифрованные данные, с целью генерирования ключа Ks сеанса;
модуль обработки шифрования для:
получения начального числа, используемого в качестве информации для генерирования ключа, и ключа записи посредством выполнения процесса на основе ключа сеанса для расшифровки зашифрованной информации, принятой через интерфейс ввода данных;
генерирования блочного ключа для использования в качестве ключа расшифровки для расшифровки зашифрованных данных посредством выполнения процесса шифрования на основе начального числа и ключа записи;
выполнения процесса на основе блочного ключа для расшифровки зашифрованных данных.
Согласно четвертому аспекту данного изобретения, предлагается привод для носителя записи информации, используемый для считывания зашифрованных данных с носителя записи информации и выдачи зашифрованных данных во внешнее устройство. Привод для носителя записи информации имеет конфигурацию, включающую:
модуль аутентификации для выполнения процесса аутентификации с внешним устройством для приема зашифрованных данных, считанных с носителя записи информации, с целью генерирования ключа Ks сеанса;
модуль обработки шифрования для:
генерирования блочного ключа на основе начального числа, служащего в качестве информации для генерирования ключа, установленного для каждого из блоков обработки шифрования, составляющих зашифрованные данные, хранящиеся на носителе записи;
получения расшифрованных данных посредством выполнения процесса расшифровки зашифрованных данных, хранящихся на носителе записи информации, на основе генерированного блочного ключа;
генерирования выходной зашифрованной информации посредством выполнения процесса шифрования расшифрованных данных на основе генерированного ключа Ks сеанса.
Выходная зашифрованная информация, полученная в результате процесса шифрования расшифрованных данных на основе ключа Ks сеанса, выдается через интерфейс.
Согласно пятому аспекту данного изобретения, предлагается носитель записи информации, используемый для хранения зашифрованной информации. Носитель записи информации сконфигурирован для хранения:
первого начального числа, служащего в качестве информации для генерирования ключа, установленного для каждого из блоков обработки шифрования, составляющих зашифрованные данные;
второго начального числа, служащего в качестве информации для генерирования ключа, зашифрованного на основе первого блочного ключа Kb1, генерированного на основе первого начального числа;
зашифрованного содержимого, зашифрованного на основе второго блочного ключа Kb2, генерированного на основе второго начального числа.
Дополнительно к этому, в соответствии с вариантом выполнения носителя записи информации, согласно данному изобретению, первое начальное число хранится внутри информации управления, установленной для каждого из блоков обработки шифрования, в то время как второе начальное число хранится в виде зашифрованной информации в области данных пользователя вне информации управления.
Кроме того, в соответствии с другим вариантом выполнения носителя записи информации, согласно данному изобретению, первое начальное число хранится в области данных пользователя в виде не зашифрованных данных, в то время как второе начальное число хранится в области данных пользователя в виде зашифрованных данных.
Кроме того, в соответствии с другим вариантом выполнения носителя записи информации, согласно данному изобретению, зашифрованные данные являются пакетом транспортного потока, первое начальное число хранится внутри информации управления для множества пакетов транспортного потока, и второе начальное число хранится в виде зашифрованной информации внутри одного из пакетов транспортного потока в области данных пользователя вне информации управления.
Кроме того, в соответствии с еще одним вариантом выполнения носителя записи информации, согласно данному изобретению, первое начальное число хранится внутри пакета транспортного потока в области данных пользователя в виде не зашифрованных данных, в то время как второе начальное число хранится в виде зашифрованной информации внутри пакета транспортного потока в области данных пользователя.
Согласно шестому аспекту данного изобретения, предлагается способ обработки информации, используемый для выполнения процесса расшифровки зашифрованных данных, хранящихся на носителе записи информации. Способ обработки информации включает этапы:
генерирования первого блочного ключа Kb1 на основе первого начального числа, служащего в качестве информации для генерирования ключа, установленного для каждого из блоков обработки шифрования, составляющих зашифрованные данные, хранящиеся на носителе записи информации;
получения второго начального числа посредством выполнения процесса расшифровки зашифрованного второго начального числа, хранящегося на носителе записи информации, на основе генерированного первого блочного ключа Kb1;
генерирования второго блочного ключа Kb2 на основе полученного второго начального числа;
расшифровки зашифрованных данных, хранящихся на носителе записи информации, посредством выполнения процесса расшифровки на основе генерированного второго блочного ключа Kb2.
Дополнительно к этому, в соответствии с вариантом выполнения способа обработки информации, согласно данному изобретению, способ обработки информации дополнительно содержит этапы:
генерирования главного ключа на основе информации для генерирования главного ключа, считанной из средства хранения;
генерирования двух ключей К1 и К2 записи на основе генерированного главного ключа и информации, считанной с носителя записи информации;
генерирования первого блочного ключа Kb1 для выполнения процесса шифрования на основе генерированного первого ключа К1 записи и первого начального числа;
получения второго начального числа посредством выполнения процесса расшифровки зашифрованного второго начального числа, хранящегося на носителе записи, на основе генерированного первого блочного ключа Kb1;
генерирования второго блочного ключа Kb2 посредством выполнения процесса шифрования на основе полученного второго начального числа и генерированного второго ключа К2 записи;
расшифровки зашифрованных данных, хранящихся на носителе записи информации, посредством выполнения процесса расшифровки на основе генерированного второго блочного ключа Kb2.
Кроме того, в соответствии с другим вариантом выполнения способа обработки информации, согласно данному изобретению, способ обработки информации дополнительно содержит этапы:
генерирования первого заглавного уникального ключа и второго заглавного уникального ключа на основе главного ключа, идентификатора диска, который является информацией, считанной с носителя записи информации, и двух заглавных ключей, записанных на носителе записи информации;
генерирования первого ключа К1 записи посредством выполнения процесса шифрования на основе первого заглавного уникального ключа и первой информации, считанной с носителя записи информации;
генерирования второго ключа К2 записи посредством выполнения процесса шифрования на основе второго заглавного уникального ключа и второй информации, считанной с носителя записи информации.
Кроме того, в соответствии с другим вариантом выполнения способа обработки информации, согласно данному изобретению, способ обработки информации дополнительно содержит этапы:
генерирования первого заглавного уникального ключа и второго заглавного уникального ключа на основе главного ключа, идентификатора диска, который является информацией, считываемой с носителя записи информации, и одного ключевого начального числа, записанного на носителе записи информации;
генерирования первого ключа К1 записи посредством выполнения процесса шифрования на основе первого заглавного уникального ключа и первой информации, считанной с носителя записи информации;
генерирования второго ключа К2 записи посредством выполнения процесса шифрования на основе второго заглавного уникального ключа и второй информации, считанной с носителя записи информации.
Согласно седьмому аспекту данного изобретения, предлагается способ обработки информации, используемый для считывания зашифрованных данных с носителя записи информации и выдачи зашифрованных данных во внешнее устройство. Способ обработки информации включает этапы:
выполнения процесса аутентификации с внешним устройством для приема зашифрованных данных, считанных с носителя записи информации, с целью генерирования ключа Ks сеанса;
генерирования первого блочного ключа Kb1 на основе первого начального числа, служащего в качестве информации для генерирования ключа, установленного для каждого из блоков обработки шифрования, составляющих зашифрованные данные, хранящиеся на носителе записи информации;
получения второго начального числа посредством выполнения процесса расшифровки зашифрованного второго начального числа, хранящегося на носителе записи информации, на основе генерированного первого блочного ключа Kb1;
генерирования выходной зашифрованной информации посредством выполнения процесса шифрования данных, включающих второе начальное число, на основе ключа Ks сеанса;
выдачи выходной зашифрованной информации, полученной в результате процесса шифрования данных, включающих второе начальное число, на основе ключа Ks сеанса, через интерфейс.
Дополнительно к этому, в соответствии с вариантом выполнения способа обработки информации, согласно данному изобретению, способ обработки информации дополнительно содержит этапы:
генерирования главного ключа на основе информации для генерирования главного ключа, удерживаемой в приводе для носителя записи информации;
генерирования двух ключей К1 и К2 записи на основе генерированного главного ключа и информации, считанной с носителя записи информации;
генерирования первого блочного ключа Kb1 посредством выполнения процесса шифрования на основе генерированного первого ключа К1 записи и первого начального числа;
получения второго начального числа посредством выполнения процесса расшифровки зашифрованного второго начального числа, хранящегося на носителе записи, на основе генерированного первого блочного ключа Kb1;
генерирования выходной зашифрованной информации посредством шифрования данных, включающих второе начальное число и второй ключ К2 записи, на основе ключа Ks сеанса;
выдачи выходной зашифрованной информации, включающей второе начальное число и второй ключ К2 записи, через интерфейс.
Согласно восьмому аспекту данного изобретения, предлагается способ обработки информации, используемый для выполнения процесса расшифровки зашифрованных данных, принятых с внешнего устройства через интерфейс ввода данных. Способ обработки информации включает этапы:
выполнения процесса аутентификации с внешним устройством, выдающим зашифрованные данные, с целью генерирования ключа Ks сеанса;
получения начального числа, используемого в качестве информации для генерирования ключа, и ключа записи посредством выполнения процесса на основе ключа сеанса с целью расшифровки зашифрованной информации, принятой через интерфейс ввода данных;
генерирования блочного ключа для использования в качестве ключа расшифровки для расшифровки зашифрованных данных посредством выполнения процесса шифрования на основе начального числа и ключа записи;
выполнения процесса на основе блочного ключа для расшифровки зашифрованных данных.
Согласно девятому аспекту данного изобретения, предлагается способ обработки информации, используемый для считывания зашифрованных данных с носителя записи информации и выдачи зашифрованных данных во внешнее устройство. Способ обработки информации включает этапы:
выполнения процесса аутентификации с внешним устройством для приема зашифрованных данных, считанных с носителя записи информации, с целью генерирования ключа Ks сеанса;
генерирования блочного ключа на основе начального числа, служащего в качестве информации для генерирования ключа, установленного для каждого из блоков обработки шифрования, составляющих зашифрованные данные, хранящиеся на носителе записи информации;
получения расшифрованных данных посредством выполнения процесса расшифровки зашифрованных данных, хранящихся на носителе записи информации, на основе генерированного блочного ключа;
генерирования выходной зашифрованной информации посредством выполнения процесса шифрования данных на основе генерированного ключа Ks сеанса;
выдачи через интерфейс выходной зашифрованной информации, полученной в результате процесса шифрования расшифрованных данных на основе ключа Ks сеанса.
Согласно десятому аспекту данного изобретения, предлагается компьютерная программа, которая подлежит исполнению для выполнения процесса расшифровки зашифрованных данных, хранящихся на носителе записи информации. Компьютерная программа включает этапы:
генерирования первого блочного ключа Kb1 на основе первого начального числа, служащего в качестве информации для генерирования ключа, установленного для каждого из блоков обработки шифрования, составляющих зашифрованные данные, хранящиеся на носителе записи информации;
получения второго начального числа посредством выполнения процесса расшифровки зашифрованного второго начального числа, хранящегося на носителе записи, на основе генерированного первого блочного ключа Kb1;
генерирования второго блочного ключа Kb2 на основе полученного второго начального числа;
расшифровки зашифрованных данных, хранящихся на носителе записи информации, посредством выполнения процесса расшифровки на основе генерированного второго блочного ключа Kb2.
В соответствии с конфигурацией данного изобретения, данное изобретение осуществляется в виде варианта выполнения, в котором начальное число (начальное число 2), необходимое для генерирования ключа (блочного ключа Kb2), подлежащего использованию в процессе расшифровки зашифрованного содержимого, зашифровано посредством использования другого ключа (блочного ключа Kb1) и хранится на диске. Таким образом, зашифрованное начальное число (начальное число 2) не может быть считано с диска без расшифровки. В результате, трудности для анализа ключа, генерированного с использованием начального числа, и анализа алгоритма шифрования увеличиваются, а защиту содержимого можно осуществлять с высоким уровнем защиты.
В соответствии с конфигурацией данного изобретения, если данное изобретение осуществляется в виде варианта выполнения, в котором начальное число (начальное число 2), необходимое для генерирования ключа (блочного ключа Kb2), используемого для процесса расшифровки зашифрованного содержимого, необходимо передавать из одного устройства в другое, то информация для генерирования блочного ключа, то есть конкретно начальное число (начальное число 2) и ключ К2 записи, шифруется с использованием ключа сеанса перед передачей. Таким образом, если даже происходит утечка данных из линии передачи, то сложно получить начальное число (начальное число 2) и ключ К2 записи. В результате, трудности для анализа ключа, генерированного с использованием начального числа, и анализа алгоритма шифрования увеличиваются, а защиту содержимого можно осуществлять с высоким уровнем защиты.
Следует отметить, что компьютерная программа, предлагаемая данным изобретением, может быть представлена в компьютерной системе общего назначения, которая обычно способна выполнять различные виды программного кода посредством использования носителя записи или среды связи, в состоянии, обеспечивающем выполнение компьютером. Примеры носителя записи включают CD, DVD и MD, в то время как примером среды связи является сеть. Таким образом, посредством представления компьютерной программы в состоянии, обеспечивающем выполнение компьютером, в компьютерной системе можно выполнять обработку, соответствующую компьютерной программе.
Другие цели данного изобретения, его характеристики и преимущества следуют из приведенного ниже подробного описания вариантов выполнения со ссылками на чертежи. Следует отметить, что используемое в этом описание техническое понятие система означает конфигурацию логического комплекта множества устройств, однако устройства, составляющие систему, не обязательно находятся в одном и том же физическом корпусе.
Краткое описание чертежей
Фиг.1(а), 1(b) и 1(с) – структура данных, хранящихся на носителе записи информации;
фиг.2 – типичная конфигурация устройства обработки информации;
фиг.3 – процесс расшифровки, выполняемый устройством обработки информации;
фиг.4(а) и 4(b) – типичный процесс генерирования уникального ключа диска;
фиг.5(а) и 5(b) – типичный процесс генерирования ключа записи;
фиг.6 – процесс записи данных с использованием ключа записи;
фиг.7(а) и 7(b) – типичный процесс генерирования заглавного уникального ключа;
фиг.8 – последовательность процессов расшифровки зашифрованных данных;
фиг.9 – последовательность процессов расшифровки зашифрованных данных;
фиг.10(а) и 10(b) – структура данных, хранящихся на носителе записи информации;
фиг.11 – процесс расшифровки, выполняемый устройством обработки информации;
фиг.12 – последовательность процессов расшифровки зашифрованных данных;
фиг.13(а), 13(b) и 13 (с) – типичная конфигурация хранения начального числа;
фиг.14(d), 14(e) и 14(f) – другая типичная конфигурация хранения начального числа;
фиг.15(g), 15(h) и 15(i) – другая типичная конфигурация хранения начального числа;
фиг.16 – конфигурация соединения привода носителя записи и устройства обработки информации;
фиг.17 – процесс передачи данных между приводом носителя записи и устройством обработки информации;
фиг.18 – последовательность процессов расшифровки, сопровождающих процесс передачи данных между приводом носителя записи и устройством обработки информации;
фиг.19 – процесс аутентификации между приводом носителя записи и устройством обработки информации;
фиг.20 – другая последовательность процессов расшифровки, сопровождающих процесс передачи данных между приводом носителя записи и устройством обработки информации;
фиг.21 – другая последовательность процессов расшифровки, сопровождающих процесс передачи данных между приводом носителя записи и устройством обработки информации;
фиг.22 – еще одна последовательность процессов расшифровки, сопровождающих процесс передачи данных между приводом носителя записи и устройством обработки информации;
фиг.23 – еще одна последовательность процессов расшифровки, сопровождающих процесс передачи данных между приводом носителя записи и устройством обработки информации.
Подробное описание изобретения
(Структура данных, записанных на носителе записи)
Прежде всего, ниже приводится описание структуры данных, записанных на носителе записи информации, согласно данному изобретению. Зашифрованные данные, хранящиеся на носителе записи, считываются, декодируются и воспроизводятся с помощью устройства записи/воспроизведения данных или ПК (персонального компьютера).
Данные, хранящиеся на носителе записи, являются транспортным потоком TS кодированных данных, соответствующих обычно системе MPEG-2. Транспортный поток может иметь конфигурацию, включающую множество программ в одном потоке. В транспортном потоке установлены метки времени прихода ATS в качестве информации времени появления транспортных пакетов. Метка времени определяется по времени кодирования, чтобы не вызвать сбоя работы целевого детектора транспортного потока системы T-STD. T-STD является виртуальным декодером, предписанным в системе MPEG-2. В операции для воспроизведения потока такты появления управляются в соответствии с метками ATS, добавленными к каждому пакету транспортного потока, и поток декодируется для создания результата воспроизведения.
В процессе записи пакетов транспортного потока на носитель записи пакеты, например, упаковываются в виде исходных пакетов посредством сжимания промежутков между пакетами. Однако, за счет сохранения времени появления каждого пакета транспортного потока на носителе записи, можно управлять также тактом появления транспортных пакетов во время процесса воспроизведения.
Ниже приводится описание структуры данных, хранящихся на носителе записи, а также схемы расшифровки и воспроизведения данных со ссылками на фиг.1(а), 1(b) и 1(с). Поскольку данные, хранящиеся на носителе записи, являются зашифрованными данными, то необходимо выполнять процесс расшифровки данных с целью воспроизведения данных. На фиг.1(а) показана структура данных, хранящихся на носителе записи. Данные управления пользователя, имеющие длину 18 байт, и данные пользователя, имеющие размер в 2048 байт, образуют данные одного сектора, а данные обычно трех секторов задаются в качестве модуля обработки шифрования. Следует отметить, что количество байтов и размер модуля обработки шифрования являются обычно числом. То есть размеры данных управления пользователя, данных пользователя и модуля обработки шифрования можно устанавливать любой величины.
С другой стороны, на фиг.1(b) показана структура выровненного блока AU, используемого в качестве блока обработки шифрования. Устройство обработки информации, воспроизводящее зашифрованные данные, хранящиеся на носителе записи, выделяет один AU, используемый в качестве блока обработки шифрования на основе флага, включенного в данные управления пользователя.
На фиг.1(с) показана зашифрованная конфигурация. Как показано на фиг.1(с), один выровненный блок AU, используемый в качестве блока обработки шифрования, включает область, зашифрованную с использованием блочного ключа Kb1, и область, зашифрованную с использованием блочного ключа Kb2. Один выровненный блок AU может включать область, дважды зашифрованную с использованием блочных ключей Kb1 и Kb2. Для генерирования блочного ключа необходимо начальное число в качестве информации генерирования ключа. Начальное число (начальное число 1) является информацией для генерирования блочного ключа Kb1, и начальное число (начальное число 2) является информацией для генерирования блочного ключа Kb2. Эти начальные числа хранятся в области управления или области управления пользователя. Конфигурация состояний хранения и шифрования начальных чисел, показанная на фиг.1(с), является типичной конфигурацией. Ниже будет приведено описание множества других типичных конфигураций.
Для расшифровки зашифрованного содержимого, хранящегося в области данных пользователя, необходимо считывать начальные числа с носителя записи и генерировать ключи на основе начальных чисел.
В конфигурации, согласно данному изобретению, начальное число (начальное число 1), необходимое для генерирования блочного ключа Kb1, а также начальное число (начальное число 2), необходимое для генерирования блочного ключа Kb2, хранятся на носителе записи, а одно из начальных чисел, т.е. начальное число 2, является информацией, зашифрованной с использованием блочного ключа Kb1, генерированного с помощью другого начального числа (начального числа 1), как показано на фиг.1(с).
Как указывалось выше, в конфигурации, согласно данному изобретению, данные, полученные в результате процесса шифрования с использованием двух разных ключей, хранятся на носителе записи, и процесс расшифровки выполняется с использованием двух разных ключей в процессе воспроизведения. А именно, прежде всего, генерируются блочные ключи Kb1 и Kb2 посредством выполнения процесса шифрования с применением начальных чисел 1 и 2, которые являются различными кусками информации генерирования ключа, установленной для каждого заданного блока обработки шифрования, и процесс расшифровки выполняется с использованием блочных ключей Kb1 и Kb2.
После процесса расшифровки такого блока обработки шифрования декодированные пакеты транспортного потока подаются в декодер MPEG-2 для выполнения процесса декодирования с целью воспроизведения содержимого. Обычно один блок обработки шифрования, занимающий три сектора, содержит 32 пакета TS (транспортного потока). То есть данные с размером 6144 (=32×192) байт обрабатываются как один блок обработки шифрования. Следует отметить, что блок обработки может быть установлен любой величины.
Во время расшифровки/воспроизведения для каждого блока обработки извлекаются из носителя записи два начальных числа (начальные числа 1 и 2) и генерируются два блочных ключа Kb1 и Kb2 на основе их соответствующих начальных чисел. Затем посредством использования двух генерированных блочных ключей Kb1 и Kb2 выполняется процесс расшифровки для воспроизведения данных.
Дополнительно к этому, во время воспроизведения содержимого выполняется обратный процесс, противоположный процессу расшифровки. То есть устанавливаются два начальных числа (начальные числа 1 и 2) для каждого из блоков обработки, на основе начальных чисел генерируются два блочных ключа Kb1 и Kb2, выполняется процесс шифрования содержимого с использованием блочных ключей Kb1 и Kb2, и записывается зашифрованное содержимое на носитель записи.
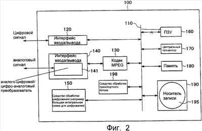
(Конфигурация устройства обработки информации)
На фиг.2 показана блок-схема типичной конфигурации устройства 100 обработки информации для выполнения процессов с целью записи и воспроизведения содержимого, имеющего конфигурацию зашифрованных данных, указанную выше. Устройство 100 обработки информации включает интерфейс 120 ввода-вывода, кодек 130 MPEG (Экспертная группа по вопросам движущихся изображений), другой интерфейс 140 ввода-вывода, включающий аналого-цифровой – цифроаналоговый преобразователь 141, средство 151 обработки шифрования, ПЗУ 160, ЦП (центральный процессор) 170, память 180, привод 190 для носителя 195 записи и средство 198 обработки транспортного потока. Эти компоненты соединены друг с другом шиной 110.
Интерфейс 120 ввода-вывода принимает цифровые сигналы, представляющие различное содержимое, такое как изображения, звук, и программу из внешнего источника и выдает сигналы в шину 110. С другой стороны, интерфейс 120 ввода-вывода принимает цифровой сигнал из шины 110 и выдает сигнал для внешнего использования.
Кодек 130 MPEG выполняет процесс декодирования MPEG данных, принятых из шины 110 в качестве данных, полученных в результате процесса кодирования MPEG, и выдает результат процесса декодирования MPEG в интерфейс 140 ввода-вывода. С другой стороны, кодек 130 MPEG выполняет процесс кодирования MPEG цифрового сигнала, принятого из интерфейса 140 ввода-вывода, и выдает результат процесса кодирования MPEG в шину 110. Как указывалось выше, интерфейс 140 ввода-вывода содержит встроенный в него аналого-цифровой – цифроаналоговый преобразователь 141. Интерфейс 140 ввода-вывода принимает аналоговый сигнал, представляющий содержимое, поставляемое внешним источником, и аналого-цифровой – цифроаналоговый преобразователь 141 выполняет процесс аналого-цифрового преобразования с целью преобразования аналогового сигнала в цифровой сигнал, подавая цифровой сигнал в кодек 130 MPEG. С другой стороны, аналого-цифровой – цифроаналоговый преобразователь 141 выполняет процесс цифроаналогового преобразования для преобразования цифрового сигнала, принятого из кодека 130 MPEG, в аналоговый сигнал и подает аналоговый сигнал для внешнего использования.
Средство 150 обработки шифрования обычно имеет конфигурацию схемы LSI (большой интегральной схемы), созданной на одном кристалле. Средство 150 обработки шифрования шифрует или расшифровывает цифровой сигнал, принятый из шины 110 в качестве сигнала, представляющего содержимое, и выдает результат шифрования или расшифровки в шину 110. Следует отметить, что выполнение средства 150 обработки шифрования не ограничивается конфигурацией схемы LSI, созданной на одном кристалле. Вместо этого средство 150 обработки шифрования может быть выполнено в виде конфигурации, включающей комбинацию из различного программного обеспечения и различного аппаратурного обеспечения. Дополнительно к этому, средство 150 обработки шифрования действует также в качестве модуля аутентификации для выполнения процесса аутентификации в операциях по вводу и выводу содержимого из и во внешнее устройство, соединенное с интерфейсом 120 ввода-вывода.
ПЗУ 160 используется для хранения уникального ключа устройства, свойственного исключительно для устройства обработки информации или свойственного исключительно для группы устройств обработки информации, и ключа аутентификации, необходимого в процессе взаимной аутентификации. Ключ устройства используется для получения главного ключа посредством расшифровки разрешающего ключевого блока (ЕКВ), например, на основе структуры дерева распределения ключей. То есть ключ устройства используется в качестве информации для генерирования главного ключа. Разрешающий ключевой блок является информацией зашифрованного блочного ключа.
ЦП 170 управляет компонентами, такими как кодек 130 MPEG и средство 150 обработки шифрования, посредством выполнения программы, хранящейся в памяти 180. Память 180 обычно является неразрушаемой памятью, используемой для хранения программы, подлежащей исполнению в ЦП 170, и данных, необходимых для операций, выполняемых ЦП 170. Привод 190 приводит в действие носитель 195 записи и может считывать и записывать цифровые данные с целью считывания (или воспроизведения) данных с носителя 195 записи и выдачи данных в шину 110 или же с целью записи цифровых данных, принятых из шины 110, на носитель 195 записи. Следует отметить, что программу можно хранить в ПЗУ 160, а информацию генерирования главного ключа и ключ аутентификации можно хранить в памяти 180.
Носитель 195 записи является носителем, который можно использовать для записи цифровых данных. Примерами такого носителя являются оптический диск, магнитно-оптический диск, магнитный диск, магнитная лента и полупроводниковая память. Примеры оптического диска включают DVD и CD, в то время как полупроводниковой памятью являются флэш-ПЗУ, MRAM и ОЗУ. В данном варианте выполнения носитель 195 записи имеет конфигурацию, позволяющую установку и снятие носителя 195 записи в и из привода 190. Однако носитель 195 записи может иметь также конфигурацию, встроенную в устройство 100 обработки информации.
Средство 198 обработки транспортного потока выполняет обработку данных с целью получения транспортных пакетов, соответствующих специфическому содержимому, из транспортного потока, включающего множество мультиплексированного содержимого, и сохранения времени появления, установленного на извлеченном транспортном потоке, на носителе 195 записи вместе с пакетами. Дополнительно к этому, средство 198 обработки транспортного потока управляет временем появления, установленным в транспортном потоке, в процессе расшифровки и воспроизведения зашифрованного содержимого на носителе 195 записи.
Как указывалось выше, метки времени прихода ATS, служащих каждая в качестве времени появления пакета, устанавливаются в транспортном потоке, и такт управляется на основе меток времени прихода ATS в процессе декодирования, выполняемого декодером MPEG-2. В процессе записи транспортных пакетов на носитель записи, например, средство 198 обработки транспортного потока записывает пакеты на носитель записи посредством сжимания промежутков между пакетами с целью упаковки пакетов в качестве исходных пакетов. Однако за счет сохранения также времени появления для каждого транспортного пакета на носителе записи временем появления транспортных пакетов можно управлять в процессе воспроизведения.
Устройство 100 обработки информации, согласно данному изобретению, выполняет процессы записи и воспроизведения зашифрованного содержимого на и с носителя 195 записи. Обычно зашифрованное содержимое имеет конфигурацию, включающую указанный выше транспортный поток. Описание подробностей этого процесса будет приведено ниже. Следует отметить, что хотя средство 150 обработки шифрования и средство 198 обработки транспортного потока показаны на фиг.2 как отдельные модули с целью упрощения пояснения, их можно осуществлять также в виде большой интегральной схемы на одном кристалле для выполнения функций как средства 150 обработки шифрования, так и средства 198 обработки транспортного потока. Дополнительно к этому, функции средства 150 обработки шифрования и средства 198 обработки транспортного потока можно осуществлять также в конфигурации, включающей комбинацию различного программного обеспечения и различного аппаратурного обеспечения. Кроме того, все функциональные блоки привода 190, за исключением носителя 195 записи, могут быть осуществлены в виде большой интегральной схемы, созданной на одном кристалле, или в конфигурации, включающей комбинацию различного программного обеспечения и различного аппаратурного обеспечения. Таким образом, можно повысить устойчивость к аннулированию функций защиты устройства 100 обработки информации.
(Процесс воспроизведения данных)
Ниже приводится описание процесса расшифровки зашифрованных данных, хранящихся на носителе записи. На фиг.3 показана графическая схема, поясняющая процесс обработки данных с целью расшифровки. Процесс, показанный на фиг.3, является процессом, выполняемым в основном средством 150 обработки шифрования, показанным на фиг.2.
Прежде всего, устройство 210 обработки информации считывает главный ключ 211, хранящийся в его собственной памяти 180, показанной на фиг.2. Главный ключ 211 является закрытым ключом, хранящимся в устройстве обработки информации, получившим лицензию. Главный ключ 211 является общим ключом, хранящимся в качестве ключа, общего для множества устройств обработки информации. Затем устройство 210 обработки информации проверяет носитель 220 записи с целью определения, был ли уже записан идентификатор 221 диска на носителе 220 записи в качестве идентификации. Если идентификатор 221 уже был записан на носитель 220 записи, то идентификатор 221 диска считывается с носителя 220 записи. Идентификатор 221 диска является информацией, свойственной исключительно носителю 220 записи, и обычно хранится в области хранения общих данных или в области ввода на носителе 220 записи.
Затем на этапе S101 устройство 210 обработки информации генерирует уникальный ключ диска с использованием главного ключа 211 диска и идентификатора 221 диска. Типичные конкретные методы, применимые для генерирования уникального ключа диска, показаны на фиг.4(а) и 4(b). На фиг.4(а) показана схема метода шифрования AES (улучшенный стандарт шифрования), принимающая идентификатор диска в качестве входной величины и использующая главный ключ в качестве ключа шифрования. На фиг.4(b) показана схема метода, в котором данные, полученные в результате конкатенации битов главного ключа и идентификатора диска, подаются в хеш-функцию SHA-1, предписанную требованиями FIPS (федеральный стандарт по обработке информации) 180-1, и извлекается порция данных, имеющая лишь необходимую длину, из выходных сигналов хеш-функции для использования в качестве уникального ключа диска.
Затем с носителя 220 записи считываются два заглавных ключа, свойственных исключительно записанному содержимому. Два заглавных ключа являются заглавными ключами 1 и 2, обозначенными, соответственно, позициями 223 и 224. Заглавные ключи хранятся в файле управления данными, существующем на носителе 220 записи в качестве файла для хранения информации, указывающей, какой заголовок относится к каким данным. Если для одного диска существует только одна пара заглавных ключей, то есть, если заглавные ключи можно однозначно определить для идентификатора 221 диска, то заглавные ключи можно хранить на носителе 220 записи так же, как идентификатор 221 диска. А именно, пару заглавных ключей можно хранить в области хранения общих данных или в области ввода на носителе 220 записи.
Затем генерируются два заглавных уникальных ключа 1 и 2 из уникального ключа диска и заглавных ключей 1 и 2, соответственно, на этапах S102 и S103, соответственно. Конкретные методы, которые можно использовать для генерирования заглавных уникальных ключей включают метод с использованием хеш-функции SHA-1, основанный на блочном шифровании.
Затем на этапах S104 и S105 устройство 210 обработки информации генерирует два ключа К1 и К2 записи, соответственно, на основе двух заглавных уникальных ключей 1 и 2, генерированных на этапах S102 и S103, соответственно, и на основе начального числа 225 записи и физического индекса 226, которые считываются с носителя 220 записи.
Описание типичного процесса, выполняемого на этапах S102 – S105 для генерирования двух ключей К1 и К2 записи, приводится ниже со ссылками на фиг.5(а) и 5(b).
На фиг.5(а) показана схема типичного процесса, выполняемого на этапах S102 и S104, показанных на фиг.3, с целью генерирования ключа К1 записи, в то время как на фиг.5(b) показана схема типичного процесса, выполняемого на этапах S103 и S105, показанных на фиг.3, с целью генерирования ключа К2 записи.
В процессе, показанном на фиг.5(а), прежде всего заглавный ключ 1, считанный с носителя 220 записи, подается в процессор 271 шифрования AES для выполнения процесса расшифровки с применением уникального ключа диска, генерированного на этапе S101, заглавного ключа 1 для генерирования заглавного уникального ключа 1 на этапе S102. Затем физический индекс 226, считанный с носителя 220 записи, подается в процессор 272 шифрования AES для выполнения процесса шифрования с применением заглавного уникального ключа 1. Наконец, блок 273 исключающего ИЛИ выполняет процесс исключающего ИЛИ с результатом процесса шифрования и заглавным уникальным ключом 1 на этапе S104 с целью генерирования выходного комплекта в качестве ключа 1 записи.
В процессе, показанном на фиг.5(b), прежде всего заглавный ключ 2, считанный с носителя 220 записи, подается в процессор 274 шифрования AES для выполнения процесса расшифровки с применением уникального ключа диска, генерированного на этапе S101, заглавного ключа 2 для генерирования заглавного уникального ключа 2 на этапе S103. Затем начальное число 225 записи, считанное с носителя 220 записи, подается в процессор 275 шифрования AES для выполнения процесса шифрования с применением заглавного уникального ключа 2 начального числа 225 для генерирования ключа 2 записи на этапе S105.
Ключи К1 и К2 записи необходимы в указанном выше процессе воспроизведения, и они также являются ключами, применяемыми в процессе шифрования содержимого, подлежащего записи на носитель записи.
Как показано на фиг.6, прежде всего содержимое, подлежащее шифрованию и записанное на носителе 284 записи, редактируется в студии 282 авторизации. Затем отредактированное содержимое поставляется изготовителю 283 дисков, например на фабрику по изготовлению дисков, для записи на носитель 284 записи, такой как диск.
В этом процессе изготовления студия 282 авторизации устанавливает физический индекс и выполняет процесс шифрования с применением ключа К2 записи отредактированного содержимого с целью генерирования зашифрованного содержимого. Затем изготовитель 283 дисков устанавливает начальное число записи и выполняет процесс шифрования с применением ключа К1 записи зашифрованного отредактированного содержимого. В результате, зашифрованные данные, полученные в результате процессов шифрования с использованием ключей К1 и К2 записи в качестве двух ключей шифрования, записываются на носитель 284 записи. В таком процессе изготовления диска облеченный доверием центр 281, выполняющий управление содержимым, поставляет заглавный уникальный ключ 2 в качестве получаемой информации в студию 282 авторизации, и заглавный уникальный ключ 1 в качестве получаемой информации – изготовителю 283 диска.
Облеченный доверием центр 281 выполняет это управление ключами так, что лишь студия 282 авторизации и изготовитель 283 диска, которые являются получателями ключей из центра 281, способны изготавливать носитель записи для хранения зашифрованного содержимого. В соответствии с этим, может быть предотвращено изготовление пиратских дисков неавторизованным третьим лицом. В частности, студия 282 авторизации хранит идентификатор редактирования в пакете транспортного потока отредактированного содержимого и выполняет процесс шифрования отредактированного содержимого, включающего идентификатор редактирования, указывающий, какая студия авторизации выполнила редактирование содержимого. Таким образом, зашифрованное отредактированное содержимое поставляется изготовителю 283 диска с идентификатором редактирования, удерживаемым в секрете. В результате, можно управлять копированием содержимого, полученного изготовителем 283 диска.
Следует отметить, что в примере, показанном на фиг.3, выполняется обычная обработка для вычисления двух заглавных уникальных ключей на основе двух заглавных ключей 1 и 2, сохраненных заранее на носителе 220 записи. Однако можно создать конфигурацию, в которой два заглавных уникальных ключа вычисляются лишь из одного куска информации без необходимости сохранения заранее двух заглавных ключей 1 и 2 на носителе 220 записи.
Ниже приводится описание со ссылками на фиг.7(а) и 7(b) конфигурации, в которой два заглавных уникальных ключа вычисляются лишь из одного куска информации. В этой типичной конфигурации случайная величина, такая как случайное число, установленное для каждого процесса редактирования (авторизации), хранится на носителе 220 записи в качестве начального числа ключа диска.
В типичном процессе, показанном на фиг.7(а), начальное число ключа диска подвергается процессу шифрования с применением уникального ключа диска в процессоре 291 шифрования AES с целью генерирования заглавного уникального ключа 1. Затем заглавный уникальный ключ 1 подвергается процессу шифрования AES с применением уникального ключа в процессоре 292 шифрования AES с целью генерирования заглавного уникального ключа 2.
В типичном процессе, показанном на фиг.7(b), начальное число ключа диска подвергается процессу шифрования с применением уникального ключа диска в процессоре 293 шифрования AES с целью генерирования заглавного уникального ключа 1. Заглавный уникальный ключ 1 также подается в блок 294 обработки для выполнения процесса, такого как вычисление ((начальное число ключа диска +1) mod 2128). Результат процесса подвергается процессу шифрования AES с применением уникального ключа диска в процессоре 295 шифрования AES с целью генерирования заглавного уникального ключа 2. В соответствии с методами, показанными на фиг.7(а) и 7(b), количество информации, хранящейся на носителе 220 записи, можно уменьшить.
Далее приводится продолжение описания со ссылками на фиг.3 процесса декодирования и воспроизведения данных, считанных с носителя записи. Два ключа 1 и 2 записи генерируются на этапе S104 и на этапе S105, соответственно. Затем на этапе S106 выполняется процесс генерирования блочного ключа Kb1.
В процессе генерирования блочного ключа Kb1 с носителя 220 записи считывается начальное число (начальное число 1) 227 в качестве информации, необходимой для генерирования блочного ключа Kb1. Затем выполняется процесс шифрования на основе начального числа (начального числа 1) 227 и ключа 1 записи, генерированного на этапе S104, с целью генерирования блочного ключа Kb1.
Ниже приводится описание со ссылками на фиг.8 процесса, выполняемого после процесса, выполненного на этапе S106 для генерирования блочного ключа Kb1.
В типичной конфигурации, показанной на фиг.8, процесс расшифровки выполняется в блоках 300 обработки. Блок 300 обработки соответствует блоку обработки, описанному применительно к фиг.1(b). Блок обработки, описанный выше со ссылками на фиг.1(b), является выровненным блоком (AU). На основе флага, включенного в данные управления, устройство 210 обработки информации, воспроизводящее зашифрованные данные, записанные на носителе 220 записи, извлекает выровненный блок, используемый в качестве блока обработки шифрования.
Блоки 300 обработки включают данные управления, имеющие длину 18 байт, и данные пользователя размером 6144 байт, включающие зашифрованное содержимое. Данные пользователя, имеющие размер 6144 байт, разделены на блоки из 192 байт, которые являются пакетами транспортного потока. Пояснение данных пользователя приводится ниже посредством разделения данных пользователя на первый пакет 302 транспортного потока в начале данных пользователя и последующую группу 303 пакетов транспортного потока, имеющую длину 5952 байт. В этой типичной конфигурации начальное число (начальное число 1) 311 включено в данные 301 управления. С другой стороны, начальное число (начальное число 2) 312 включено в первый пакет 302 транспортного потока в начале данных пользователя в виде зашифрованной информации.
Следует отметить, что указанная выше конфигурация, в которой начальные числа 1 и 2 хранятся на носителе записи в качестве начальных чисел, является типичной. Имеется множество конфигураций, в которых начальные числа можно хранить на носителе записи, как будет описано ниже.
На фиг.8 этапы обработки, идентичные с соответствующими этапами, показанными на фиг.3, обозначены теми же позициями, что и на фиг.3.
На этапе S106, показанном на фиг.3 и 8, начальное число (начальное число 1) 311, считанное из данных управления, хранящихся на носителе записи, подается в процессор шифрования AES, который выполняет процесс шифрования AES с применением ключа 1 записи, генерированного на предыдущем этапе S104, начального числа 311 с целью генерирования блочного ключа Kb1. Следует отметить, что на фиг.8 опорное обозначение обозначает процесс генерирования ключа с применением процесса шифрования AES, а опорное обозначение AES_D обозначает процесс расшифровки данных с применением процесса шифрования AES.
Затем на этапе S107, показанном на фиг.3, лишь зашифрованная часть данных извлекается из данных пользователя, включающих 32 пакета транспортного потока. Зашифрованная часть данных в данных пользователя отделяется от не зашифрованной части данных на этапе S107, и лишь зашифрованная часть данных подвергается процессам расшифровки, выполняемым на этапах S108-S111. Не зашифрованная часть данных перепрыгивает этапы S108-S111, и на этапе S112 (который является этапом разделения) не зашифрованная часть данных снова подвергается конкатенации с результатом расшифровки зашифрованной части данных для образования расшифрованной группы пакетов транспортного потока. Затем расшифрованная группа пакетов транспортного потока подается обычно в декодер MPEG, который выполняет процесс декодирования группы.
На этапе S108, показанном на фиг.3 и 8, выполняется процесс расшифровки AES с применением блочного ключа Kb1, генерированного на этапе S106. Только часть данных, полученная в результате процесса шифрования с применением блочного ключа Kb1, подвергается процессу расшифровки, выполняемому на этапе S108. В этой типичной конфигурации часть данных, включающая, по меньшей мере, начальное число (начальное число 2) первого пакета 302 транспортного потока в начале данных пользователя, является частью данных, полученной в результате процесса шифрования с применением блочного ключа Kb1. Таким образом, часть данных, включающая, по меньшей мере, начальное число (начальное число 2), подвергается процессу расшифровки с применением блочного ключа Kb1.
Следует отметить, что, как будет описано ниже, имеются некоторые схемы для определения части данных в качестве части данных, полученной в результате процесса шифрования с применением блочного ключа Kb1.
Первый пакет 302 транспортного потока включает начальное число (начальное число 2) 312, необходимое для вычисления блочного ключа Kb2, подлежащего применению в процессе расшифровки частей данных пользователя, отличных от пакета 302 транспортного потока. В этой типичной конфигурации другими частями данных пользователя является группа 303 пакетов транспортного потока, следующая за первым пакетом 302 транспортного потока в качестве группы, имеющей длину 5952 байт. То есть начальное число (начальное число 2) 312 записывается в первом пакете 302 транспортного потока в виде зашифрованных данных, полученных в результате процесса шифрования с применением блочного ключа Kb1.
В качестве результата процесса расшифровки, выполняемого на этапе S108 посредством применения блочного ключа Kb1, создается декодированный пакет 304 транспортного потока. Затем из пакета 304 транспортного потока извлекается начальное число (начальное число 2).
На этапе S109, показанном на фиг.3, извлекается начальное число (начальное число 2) из результата процесса расшифровки посредством применения блочного ключа Kb1. Извлеченное начальное число подается в процесс, выполняемый на этапе S110, для генерирования блочного ключа Kb2. Зашифрованные данные, полученные в результате процесса шифрования с применением блочного ключа Kb2, подаются в процесс расшифровки, выполняемый на этапе S111, для генерирования расшифрованного (не зашифрованного) результата, который затем подвергается конкатенации с другим результатом на этапе S112 разделения.
А именно, на этапе S110, показанном на фиг.3 и 8, выполняется процесс шифрования AES для генерирования блочного ключа Kb2 посредством выполнения процесса шифрования на основе начального числа (начального числа 2) и ключа К2 записи. Начальное число (начальное число 2) является начальным числом, извлеченным из декодированного пакета 304 транспортного потока, полученного в результате процесса расшифровки, выполняемого на этапе S108, с применением блочного ключа Kb1. С другой стороны, ключ К2 записи являемся ключом, генерированным на этапе S105, показанном на фиг.3.
Затем на следующем этапе S111 зашифрованная часть данных из данных пользователя подвергается расшифровке с применением блочного ключа Kb2 для генерирования расшифрованного блока 305 пакетов транспортного потока. Зашифрованная часть данных из данных пользователя является частью 303 данных, которая является результатом, полученным из результата, полученного из процесса шифрования с применением блочного ключа Kb2.
Наконец, на этапе S112 разделения декодированная группа 305 пакетов транспортного потока подвергается конкатенации с декодированным пакетом 304 транспортного потока для генерирования декодированных пакетов транспортного потока, которые затем подаются обычно в декодер MPEG-2 для генерирования декодированного результата в качестве действительно воспроизводимых данных.
Как указывалось выше, в конструкции, согласно данному изобретению, начальное число (начальное число 2), необходимое для генерирования ключа (блочного ключа Kb2), подлежащего применению в процессе расшифровки зашифрованного содержимого, шифруется с применением другого ключа (то есть блочного ключа Kb1) и сохраняется заранее на диске. Таким образом, не зашифрованное начальное число (начальное число 2) не может быть считано без расшифровки с диска. В результате, трудности анализа ключа, генерированного с использованием начального числа, и анализа алгоритма возрастают, и защиту содержимого можно осуществлять на высоком уровне защиты.
Следует отметить, что имеется множество конфигураций, в которых два начальных числа хранятся на носителе записи. Множество типичных конфигураций хранения начальных чисел поясняются ниже.
На фиг.9 показана схема типичной конфигурации, в которой оба начальных числа (начальные числа 1 и 2) хранятся в первом пакете 302 транспортного потока данных пользователя. В типичной конфигурации, описанной выше со ссылками на фиг.8, начальное число (начальное число 1) 311 включается в данные 301 управления, в то время как другое начальное число (начальное число 2) 312 включается в первый пакет 302 транспортного потока в начале данных пользователя в виде зашифрованной информации. С другой стороны, в типичной конфигурации, показанной на фиг.9, как начальное число (начальное число 1) 321, так и другое начальное число (начальное число 2) 322 хранятся в первом пакете 302 данных транспортного потока в начале данных пользователя.
Следует отметить, что во многом аналогично типичной конфигурации, поясненной выше со ссылками на фиг.8, другое начальное число (начальное число 2) 322 зашифровано с использованием блочного ключа Kb1, полученного с применением начального числа (начального числа 1) 321, и включено в первый пакет 302 транспортного потока в начале данных пользователя.
В случае типичной конфигурации, показанной на фиг.9, процесс расшифровки выполняется в блоках 300 обработки. Блок 300 обработки является выровненным блоком (AU), соответствующим блоку обработки, поясненном ранее со ссылками на фиг.1(b). На основе флага, включенного в данные управления, устройство 210 обработки информации, воспроизводящее зашифрованные данные, записанные на носителе 220 записи, извлекает выровненный блок, используемый в качестве блока обработки для шифрования.
Возможна также альтернативная композиция, в которой флаг, включенный в начальное число 321, хранящееся в начале блока обработки шифрования, используется для определения, зашифрованы ли данные в блоках обработки шифрования или не зашифрованы в блоках обработки шифрования. На фиг.10(а) и 10(b) показаны схемы другой типичной конфигурации, в которой в начале блока обработки шифрования включено начальное число. За счет использования флага, записанного в части CCI, служащей в качестве информации управления копированием, показанной на фиг.10(а) и 10(b), можно определять, были или нет зашифрованы данные. Если определяется, что данные являются зашифрованными данными, то данные воспроизводятся на пути расшифровки данных. С другой стороны, если определяется, что данные являются не зашифрованными данными, то данные воспроизводятся без прохождения по пути расшифровки данных.
На фиг.11 показана схема конфигурации обработки, в которой флаг, записанный в части CCI, используется для определения, были или нет зашифрованы данные, и если определяется, что данные являются зашифрованными данными, то данные воспроизводятся на пути расшифровки данных, с другой стороны, если определяется, что данные являются не зашифрованными данными, то данные воспроизводятся без прохождения по пути расшифровки данных. Единственное различие между конфигурацией обработки, показанной на фиг.11, и конфигурацией, показанной на фиг.3, состоит в следующем. В случае конфигурации, показанной на фиг.11, флаг, записанный в части CCI начального числа (начального числа 1) 227, который является входным сигналом на этапе S107, используется для определения, были или не были зашифрованы данные. Если определяется, что данные являются зашифрованными данными, то данные воспроизводятся на пути расшифровки данных, а с другой стороны, если определяется, что данные являются не зашифрованными данными, то данные воспроизводятся без прохождения по пути расшифровки данных. Другие процессы конфигурации, показанной на фиг.11, являются одинаковыми с соответствующими процессами конфигурации, показанной на фиг.3.
Ниже приводится описание обработки, показанной на фиг.9. На фиг.9 этапы обработки, идентичные соответствующим этапам, показанным на фиг.11, обозначены одинаковыми позициями.
Этап S106, показанный на фиг.11 и 9, является этапом, в котором начальное число (начальное число 1) 321, считанное из первого пакета транспортного потока в начале данных пользователя, записанных на носителе записи, подается в процессор шифрования AES, который выполняет процесс шифрования AES с помощью ключа К1 записи, генерированного ранее на этапе S104, показанном на фиг.11, начального числа для генерирования блочного ключа Kb1.
Затем на следующем этапе S107, показанном на фиг.11, лишь зашифрованная часть данных извлекается из данных пользователя, включающих 32 пакета транспортного потока. Зашифрованная часть данных из данных пользователя отделяется от не зашифрованной части данных на этапе S107, и лишь зашифрованная часть данных подвергается процессу расшифровки, выполняемому на этапах S108-S112. Не зашифрованная часть данных перепрыгивает через этапы S108-S111, и на этапе S112 (который является этапом разделения) не зашифрованная часть данных снова подвергается конкатенации с результатом расшифровки зашифрованной части данных с целью образования группы расшифрованных пакетов транспортного потока. Затем группа расшифрованных пакетов транспортного потока подается обычно в декодер MPEG, который выполняет процесс декодирования группы.
На этапе S108, показанном на фиг.11 и 9, выполняется процесс расшифровки с применением блочного ключа Kb1, генерированного на этапе S106. Лишь часть данных, полученная в результате процесса шифрования с применением блочного ключа Kb1, подвергается процессу расшифровки, выполняемому на этапе S108. В этой типичной конфигурации часть данных, включающая, по меньшей мере, начальное число (начальное число 2) 322 первого пакета 302 транспортного потока в начале данных пользователя, подвергается процессу расшифровки.
Первый пакет 302 транспортного потока включает начальное число (начальное число 2), необходимое для вычисления блочного ключа Kb2, подлежащего применению в процессе расшифровки частей данных пользователя, отличных от первого пакета 302 транспортного потока. В этой типичной конфигурации другие части данных пользователя являются группой 303 пакетов транспортного потока, следующих за первым пакетом 302 транспортного потока, в виде группы, имеющей длину 5952 байт. То есть начальное число (начальное число 2) 322 записано в первом пакете 302 транспортного потока в виде зашифрованных данных, полученных в результате процесса шифрования с применением блочного ключа Kb1.
В результате процесса расшифровки, выполняемого на этапе S108 с применением блочного ключа Kb1, образуется декодированный пакет 304 транспортного потока. Затем из декодированного пакета 304 транспортного потока извлекается начальное число (начальное число 2).
На этапе S109 разделения, показанном на фиг.3, начальное число (начальное число 2) извлекается из результата процесса расшифровки с применением блочного ключа Kb1. Извлеченное начальное число подается в процесс, выполняемый на этапе S110, с целью генерирования блочного ключа Kb2. Зашифрованные данные, полученные в результате процесса шифрования с применением блочного ключа Kb2, подаются в процесс расшифровки, выполняемый на этапе S111 с целью генерирования расшифрованного (не расшифрованного) результата 305, который затем подвергается конкатенации с другим результатом на этапе S112 разделения.
А именно, на этапе S110, показанном на фиг.11 и 9, выполняется процесс шифрования AES для генерирования блочного ключа Kb2 посредством выполнения процесса шифрования на основе начального числа (начального числа 2) и ключа К2 записи. Начальное число (начальное число 2) является начальным числом, извлеченным из декодированного пакета 304 транспортного потока, полученного в результате процесса расшифровки, выполняемого на этапе S108 с помощью блочного ключа Kb1. С другой стороны, ключ К2 записи является ключом, генерированным на этапе S105, показанном на фиг.11.
Затем на следующем этапе S111 зашифрованная часть данных из данных пользователя расшифровывается с применением блочного ключа Kb2 с целью генерирования блока 305 расшифрованных пакетов транспортного потока. Расшифрованная часть данных из данных пользователя является частью 303 данных, которая является результатом, полученным из процесса шифрования с применением блочного ключа Kb2.
Наконец, на этапе S112 разделения группа 305 декодированных пакетов транспортного потока подвергается конкатенации с декодированным пакетом 304 транспортного потока для генерирования декодированных пакетов транспортного потока, которые затем подаются обычно в декодер MPEG-2 для создания декодированного результата в виде действительно воспроизводимых данных.
Как указывалось выше, в этой типичной конфигурации начальное число (начальное число 1) и другое начальное число (начальное число 2) хранятся оба в первом пакете транспортного потока данных пользователя. Другое начальное число (начальное число 2), необходимое для генерирования блочного ключа Kb2, шифруется заранее на основе блочного ключа Kb1. Блочный ключ Kb1 генерируется на основе начального числа (начального числа 1) и ключа К1 записи.
Таким образом, в этой типичной конфигурации также невозможно считывать с диска не зашифрованное начальное число (начальное число 2) без расшифровки. В результате, трудности анализа ключа, генерированного с использованием начального числа, и анализа алгоритма шифрования увеличиваются, и защиту содержимого можно осуществлять на высоком уровне защиты.
На фиг.12 показана типичная конфигурация, в которой начальное число (начальное число 1) 331 хранится в первом пакете 302 транспортного потока данных пользователя, а другое начальное число (начальное число 2) 332 хранится в пакете 341 транспортного потока, следующем непосредственно за первым пакетом 302 транспортного потока в данных пользователя.
Следует отметить, что аналогично типичной конфигурации, описанной выше применительно к фиг.8 и 9, другое начальное число (начальное число 2) 332 шифруется с использованием блочного ключа Kb1, полученного с применением начального числа (начального числа 1) 331, но включается во второй пакет 341 транспортного потока в начале данных пользователя.
В случае типичной конфигурации, показанной на фиг.12, процесс расшифровки выполняется в блоках 300 обработки. Блок 300 обработки является выровненным блоком AU, соответствующим блоку обработки, описанному выше со ссыпками на фиг.1(b). На основе флага, включенного в данные управления, устройство 210 обработки информации, воспроизводящее зашифрованные данные, записанные на носитель 220 записи, извлекает выровненный блок AU, используемый в качестве блока обработки шифрования.
Можно обеспечить также альтернативную конфигурацию, в которой флаг, включенный в начальное число 321, хранящееся в начале блока обработки шифрования, используется для определения, были ли зашифрованы данные в блоках обработки шифрования или не были зашифрованы в блоках обработки шифрования. На фиг.10(а) и 10(b) показаны схемы других типичных конфигураций, в которых заголовок блока обработки шифрования включает начальное число. За счет использования флага, записанного в части CCI, показанной на фиг.10(а) и 10(b), можно определять, были или нет зашифрованы данные. Если данные определяются как зашифрованные данные, то данные воспроизводятся по пути расшифровки данных. С другой стороны, если данные определяются как не зашифрованные данные, то данные воспроизводятся без прохождения по пути расшифровки данных.
Ниже приводится описание процесса, показанного на фиг.12. На фиг.12 этапы обработки, идентичные с соответствующими этапами, показанными на фиг.3, обозначены теми же позициями, что и на фиг.3.
Этап S106, показанный на фиг.11 и 12, является этапом, в котором начальное число (начальное число 1) 331, считанное из первого пакета транспортного потока в данных пользователя, записанных на носителе записи, подается в процессор шифрования AES, который выполняет процесс шифрования AES с применением ключа К1 записи, генерированного ранее на этапе S104, показанном на фиг.11, начального числа с целью генерирования блочного ключа Kb1.
Затем на следующем этапе S107, показанном на фиг.3, только зашифрованная часть данных извлекается из данных пользователя, включающих 32 пакета транспортного потока. Зашифрованная часть данных из данных пользователя отделяется от не зашифрованной части данных на этапе S107, и лишь зашифрованная часть данных подвергается процессу расшифровки, выполняемому на этапах S108-S111. Не зашифрованная часть данных перепрыгивает через этапы S108-S111, и на этапе S112 (который является этапом разделения) непосредственно зашифрованная часть данных подвергается процессу конкатенации с результатом расшифровки зашифрованной части данных для образования расшифрованной группы пакетов транспортного потока. Затем расшифрованная группа пакетов транспортного потока подается обычно в процессор MPEG, который выполняет процесс декодирования группы.
На этапе S108, показанном на фиг.11 и 12, выполняется процесс расшифровки с применением блочного ключа Kb1, генерированного на этапе S106. Только часть данных, полученная в результате процесса шифрования с применением блочного ключа Kb1, подвергается процессу расшифровки. В этой типичной конфигурации зашифрованная часть данных, за исключением начального числа (начального числа 1) 321 первого пакета транспортного потока из данных пользователя, и область данных, включающая другое начальное число (начальное число 2) 332 второго пакета транспортного потока из данных пользователя, подвергаются процессу расшифровки. Как будет описано ниже, имеются некоторые схемы для определения области данных в качестве части данных, полученных в результате процесса шифрования с применением блочного ключа Kb1.
В этой типичной конфигурации область зашифрованных данных второго пакета 341 транспортного потока включает начальное число (начальное число 2) 332, необходимое для вычисления блочного ключа Kb2, подлежащего применению в процессе расшифровки других частей данных пользователя. Другими частями данных пользователя является группа 342 пакетов транспортного потока, следующая за вторым пакетом 341 транспортного потока. То есть начальное число (начальное число 2) 332 записано во втором пакете 341 транспортного потока в виде зашифрованных данных, полученных в результате процесса шифрования с применением блочного ключа Kb1.
В результате процесса расшифровки, выполненного на этапе S108 с применением блочного ключа Kb1, генерируется декодированный пакет 304 транспортного потока.
На этапе S109 разделения, показанном на фиг.11, начальное число (начальное число 2) извлекается из результата процесса расшифровки с применением блочного ключа Kb1. Извлеченное начальное число подается в процесс, выполняемый на этапе S110, для генерирования блочного ключа Kb2. Зашифрованные данные, полученные в результате процесса шифрования с применением блочного ключа Kb2, подаются в процесс расшифровки, выполняемый на этапе S111, для генерирования расшифрованного (не расшифрованного) результата 305, который затем подвергается конкатенации с другим результатом на этапе S112 разделения.
А именно, на этапе S110, показанном на фиг.11 и 12, выполняется процесс шифрования AES для генерирования блочного ключа Kb2 посредством выполнения процесса шифрования на основе начального числа (начального числа 2) и ключа К2 записи. Начальное число (начальное число 2) является начальным числом, извлеченным из декодированного пакета 304 транспортного потока, полученного в результате процесса расшифровки, выполняемого на этапе S108, с применением блочного ключа Kb1. С другой стороны, ключ К2 записи является ключом, генерированным на этапе S105, показанном на фиг.11.
Затем на следующем этапе S111 зашифрованная часть данных из данных пользователя подвергается расшифровке с применением блочного ключа Kb2 для генерирования расшифрованного блока 305 пакетов транспортного потока. Зашифрованная часть данных из данных пользователя является частью 342 данных, которая является результатом, полученным из результата, полученного из процесса шифрования с применением блочного ключа Kb2.
Наконец, на этапе S112 разделения декодированная группа 305 пакетов транспортного потока подвергается конкатенации с декодированным пакетом 304 транспортного потока для генерирования декодированных пакетов транспортного потока, которые затем подаются обычно в декодер MPEG-2 для генерирования декодированного результата в качестве действительно воспроизводимых данных.
Как указывалось выше, в этой типичной конфигурации начальное число (начальное число 1) хранится в первом пакете данных пользователя. Другое начальное число (начальное число 2) хранится во втором пакете данных пользователя. Начальное число (начальное число 2), необходимое для генерирования ключа (блочного ключа Kb2), шифруется заранее на основе блочного ключа Kb1. Блочный ключ Kb1 генерируется на основе начального числа (начального числа 1) и ключа К1 записи.
Таким образом, в этой типичной конфигурации не зашифрованное начальное число (начальное число 2) также не может быть считано с диска без расшифровки. В результате, трудности анализа ключа, генерированного с использованием начального числа, и анализа алгоритма возрастают, и защиту содержимого можно осуществлять на более высоком уровне защиты.
Ниже приводится описание со ссылками на фиг.13(а)-15(i) области, зашифрованной с использованием блочного ключа Kb1, который генерируется на основе начального числа (начального числа 1) и ключа К1 записи. На фиг.13(а), 13(b) и 13(с) показаны схемы типичной конфигурации, в которой начальное число (начальное число 1) хранится в блоке управления, и другое начальное число (начальное число 2) включено в один из пакетов транспортного потока, составляющих данные пользователя. В типичных конфигурациях, описанных выше со ссылками на фиг.8, 9 и 12, начальное число (начальное число 2) включено в первый или второй пакет транспортного потока данных пользователя. Однако начальное число (начальное число 2) можно хранить также в произвольном пакете транспортного потока данных пользователя, отличном от первого и второго пакетов транспортного потока.
На фиг.13(а)-13(с) показаны схемы конфигурации области, зашифрованной с использованием блочного ключа Kb1, который генерируется на основе начального числа (начального числа 1) и ключа К1 записи, для начального числа (начального числа 2), хранящегося в произвольном пакете транспортного потока данных пользователя. В частности, на фиг.13(а) показана типичная конфигурация, в которой только начальное число (начальное число 2) зашифровано с использованием блочного ключа Kb1. Области, отличные от начального числа (начального числа 2), являются каждая не зашифрованной областью или областью данных, зашифрованных с использованием блочного ключа Kb2, который генерируется на основе начального числа (начального числа 2) и ключа К2 записи.
На фиг.13(b) показана типичная конфигурация, в которой частичная область, включенная в пакет транспортного потока в качестве области, включающей начальное число (начальное число 2), зашифрована с использованием блочного ключа Kb1.
В студии 282 авторизации, показанной на фиг.6, в пакете транспортного потока сохраняется начальное число (начальное число 2) и идентификатор редактирования. Изготовитель 283 диска, также показанный на фиг.6, шифрует начальное число (начальное число 2) с использованием ключа К1 записи, который может быть генерирован на основе начального числа (начального числа 1), перед сохранением на диске.
На фиг.13(а) показана типичная конфигурация, в которой вся область пакета транспортного потока, включающего начальное число (начальное число 1), зашифрована с использованием блочного ключа Kb1.
В другой типичной конфигурации, показанной на фиг.14(d), 14(e) и 14(f), начальное число (начальное число 1) и начальное число (начальное число 2) хранятся в одном и том же пакете транспортного потока. Начальное число (начальное число 1) хранится в виде не зашифрованной информации. С другой стороны, начальное число (начальное число 2) хранится в том же пакете транспортного потока, что и начальное число (начальное число 1), в виде информации, зашифрованной с использованием блочного ключа Kb1, который генерируется на основе начального числа (начального числа 1) и ключа К1 записи.
В частности, на фиг.14(d) показана типичная конфигурация, в которой только начальное число (начальное число 2) зашифровано с использованием блочного ключа Kb1. Области, отличные от начального числа (начального числа 2), являются каждая не зашифрованной областью или областью данных, зашифрованных с использованием блочного ключа Kb2, который генерируется на основе начального числа (начального числа 2) и ключа К2 записи.
На фиг.14(е) показана типичная конфигурация, в которой частичная область, включенная в пакет транспортного потока в качестве области, включающей начальное число (начальное число 2), зашифрована с использованием блочного ключа Kb1. На фиг.14(f) показана типичная конфигурация, в которой вся область пакета транспортного потока, включающего начальное число (начальное число 2), зашифрована с использованием блочного ключа Kb1.
В каждой из типичных конфигураций, показанных на фиг.15(g), 15(h) и 15(i), начальное число (начальное число 1) и начальное число (начальное число 2) хранятся в разных пакетах транспортного потока. Начальное число (начальное число 1) хранится в виде не зашифрованной информации. С другой стороны, начальное число (начальное число 2) хранится в пакете транспортного потока, отличном от пакета для начального числа (начального числа 1), в виде информации, зашифрованной с использованием блочного ключа Kb1, который генерируется на основе начального числа (начального числа 1) и ключа К1 записи.
В частности, на фиг.15(g) показана типичная конфигурация, в которой только начальное число (начальное число 2) зашифровано с использованием блочного ключа Kb1. Области, отличные от начального числа (начального числа 2), являются каждая не зашифрованной областью или областью данных, зашифрованных с использованием блочного ключа Kb2, который генерируется на основе начального числа (начального числа 2) и ключа К2 записи.
На фиг.15(h) показана типичная конфигурация, в которой частичная область, включенная в пакет транспортного потока в качестве области, включающей начальное число (начальное число 2), зашифрована с использованием блочного ключа Kb1. На фиг.15(i) показана типичная конфигурация, в которой вся область пакета транспортного потока, включающего начальное число (начальное число 2), зашифрована с использованием блочного ключа Kb1.
Из описания со ссылками на фиг.13(а)-15(i) очевидно, что можно устанавливать различные конфигурации для хранения начальных чисел (начальных чисел 1 и 2) и различные конфигурации для определения зашифрованной области. Однако в другой конфигурации начальное число (начальное число 2) хранится в виде информации, зашифрованной с использованием блочного ключа Kb1, который генерируется на основе начального числа (начального числа 1). Таким образом, не зашифрованное начальное число (начальное число 2) не может быть считано без расшифровки с носителя записи. В результате, трудности анализа начального числа (начального числа 2), анализа блочного ключа Kb2, генерированного с применением начального числа (начального числа 2), и анализа алгоритма для шифрования данных пользователя с целью создания зашифрованных данных пользователя возрастают.
(Конфигурация для ввода и вывода данных через интерфейсы с приводом для носителя записи информации)
Ниже приводится описание различных интерфейсов для соединения устройства обработки информации, такого как персональный компьютер, с приводом для носителя записи для установки носителя записи. Приводится также описание типичной обработки для переноса данных между устройством обработки информации и приводом для носителя записи через интерфейсы. Примерами интерфейса являются SCSI, IEEE1394 и USB, в то время как примеры носителя записи включают DVD и CD.
Например, на фиг.16 показана схема конфигурации, в которой устройство 410 обработки информации, такое как ПК, соединено с приводом 420 носителя записи для установки носителя 430 записи, такого как DVD или CD, через интерфейс 411 в устройстве 410 обработки информации и интерфейс 421 в приводе 420 носителя записи. В этой типичной конфигурации привод 420 носителя записи обеспечивает доступ к носителю 430 записи, передачу данных в устройство 410 обработки информации, такое как ПК, через интерфейсы 421 и 411, и в устройстве 410 обработки информации данные воспроизводятся.
Как показано на фиг.16, если данные, передаваемые через интерфейсы 421 и 411, включают начальное число (начальное число 2) в зашифрованном состоянии, то в пределах возможного находится утечка начального числа (начального числа 2) из передаваемых данных.
Для решения этой проблемы в конфигурации обработки, согласно данному изобретению, устройство 410 обработки информации и привод 420 носителя записи выполняют процесс взаимной аутентификации, когда данные передаются между устройством 410 обработки информации и приводом 420 носителя записи через интерфейсы. Перед передачей данных данные шифруются с использованием ключа сеанса, полученного в результате процесса взаимной аутентификации. Ниже приводится подробное описание конфигурации обработки.
На фиг.17 показана схема обработки, выполняемой приводом 510 носителя записи для считывания данных зашифрованного содержимого с носителя 520 записи, и обработки, выполняемой устройством 500 обработки информации, таким как ПК, для воспроизведения данных. Следует отметить, что устройство 500 обработки информации и привод 510 носителя записи имеют каждый конфигурацию, почти идентичную с конфигурацией, описанной применительно к фиг.2, за исключением того, что носитель 195 записи и привод 190, показанные на фиг.2, не являются обязательно необходимыми в устройстве 500 обработки информации, таком как ПК, а необходимы лишь в приводе 510 носителя записи. С другой стороны, в конфигурации, показанной на фиг.17, кодек 130 MPEG и средство 198 обработки транспортного потока являются не обязательно необходимыми в приводе 510 носителя записи, а необходимы лишь в устройстве 500 обработки информации, таком как ПК.
Ниже приводится описание со ссылками на фиг.17 обработки, выполняемой приводом 510 носителя записи, для считывания данных с носителя 520 записи и передачи данных в устройство 500 обработки информации.
Прежде всего, привод 510 носителя записи считывает главный ключ 511, хранящийся в его собственной памяти 180, показанной на фиг.2. Следует отметить, что главный ключ 511 может храниться в устройстве 500 обработки информации. В этом случае привод 510 носителя записи запрашивает устройство 500 обработки информации передать главный ключ 511 в привод 510 носителя записи. Главный ключ 511 является закрытым ключом, хранящимся в устройстве обработки информации, получившем лицензию. Устройством обработки информации, получившим лицензию, может быть привод носителя записи. Главный ключ 511 является общим ключом, хранящимся во множестве устройств обработки информации в качестве ключа, общего для устройств обработки информации.
Затем привод 510 носителя записи считывает идентификатор 521 диска с носителя 520 записи. Идентификатор 521 диска является информацией, свойственной исключительно носителю 520 записи, и обычно хранится в области хранения общих данных или в области ввода на носителе 220 записи.
Затем на этапе S551 привод 510 носителя записи генерирует уникальный ключ диска с использованием главного ключа 511 диска и идентификатора 521 диска. Типичные конкретные методы, применимые для генерирования уникального ключа диска, были описаны выше со ссылками на фиг.4(а) и 4(b).
Затем с носителя 520 записи считываются два заглавных ключа, свойственных исключительно записанному содержимому. Два заглавных ключа являются заглавными ключами 1 и 2, обозначенными, соответственно, позициями 523 и 524. Заглавные ключи хранятся в файле управления данными, существующем на носителе 520 записи в качестве файла для хранения информации, указывающей, какое название относится к каким данным. Если для одного диска существует только одна пара заглавных ключей, то есть, если заглавные ключи можно однозначно определить для идентификатора 521 диска, то заглавные ключи можно хранить так же, как идентификатор 521 диска. А именно, пару заглавных ключей можно хранить в области хранения общих данных или в области ввода на носителе 520 записи.
Затем на этапах S552 и S553 генерируются два заглавных уникальных ключа 1 и 2 из уникального ключа диска и заглавных ключей 1 и 2, соответственно.
Затем на этапах S554 и S555 привод 510 носителя записи генерирует два ключа К1 и К2 записи, соответственно, на основе двух заглавных уникальных ключей 1 и 2, генерированных на этапах S552 и S553, соответственно, и на основе начального числа 525 записи и физического индекса 526, которые считываются с носителя 520 записи.
Описание типичного процесса, выполняемого на этапах S552-S555 для генерирования двух ключей К1 и К2 записи, было приведено выше со ссылками на фиг.5(а) и 5(b). То есть процесс генерирования двух ключей К1 и К2 записи является процессом шифрования AES, основанным на двух заглавных уникальных ключах 1 и 2, а также начальном числе 525 записи и физическом индексе 526, которые считываются с носителя 520 записи.
Следует отметить, что, как было описано выше применительно к фиг.7(а) и 7(b), вместо хранения начального числа 525 записи и физического индекса 526 на носителе записи 520 можно также использовать метод, с помощью которого случайная величина, такая как случайное число, установленное для каждого процесса редактирования (авторизации), хранится на носителе записи 520 в качестве начального числа ключа диска, и процесс шифрования AES с применением уникального ключа диска выполняется с начальным числом ключа диска с целью генерирования заглавных уникальных ключей 1 и 2.
За счет использования любого из указанных выше методов генерируются два ключа 1 и 2 записи на этапах S554 и S555, соответственно. Затем на этапе S558 выполняется процесс генерирования блочного ключа Kb1.
В процессе генерирования блочного ключа Kb1 с носителя 520 записи считывается начальное число (начальное число 1) 527 в качестве информации, необходимой для генерирования блочного ключа Kb1. Затем выполняется процесс шифрования на основе начального числа (начального числа 1) 527 и ключа К1 записи, генерированного на этапе S554, с целью генерирования блочного ключа Kb1.
Ниже приводится описание со ссылками на фиг.18 процесса, выполняемого после процесса, выполненного на этапе S556 для генерирования блочного ключа Kb1.
Аналогично процессам, описанным выше со ссылками на фиг.8 и 12, в типичной конфигурации, показанной на фиг.18, процесс расшифровки выполняется в блоках 600 обработки. Блок 600 обработки соответствует блоку обработки, описанному применительно к фиг.1(b). Блок обработки, описанный выше со ссылками на фиг.1(b), является выровненным блоком (AU). На основе флага, включенного в данные управления, привод 510 носителя записи, воспроизводящий зашифрованные данные, записанные на носителе 520 записи, извлекает выровненный блок, используемый в качестве блока обработки для шифрования.
Блок 600 обработки включает данные 601 управления, имеющие длину 18 байт, и данные пользователя размером 6144 байт, включающие зашифрованное содержимое. Данные пользователя, имеющие размер 6144 байт, разделены на блоки из 192 байт, которые являются каждый пакетом транспортного потока. Пояснение данных пользователя приводится ниже посредством разделения данных пользователя на первый пакет 602 транспортного потока в начале данных пользователя и последующую группу 603 пакетов транспортного потока, имеющую длину 5952 байт. В этой типичной конфигурации начальное число (начальное число 1) 611 включено в данные 601 управления. С другой стороны, начальное число (начальное число 2) 612 включено в первый пакет 602 транспортного потока в начале данных пользователя в виде зашифрованной информации.
Следует отметить, что указанная выше конфигурация, в которой начальные числа 1 и 2 хранятся на носителе записи в качестве начальных чисел, является типичной. Имеется множество конфигураций, в которых начальные числа можно хранить на носителе записи, как будет описано ниже.
На фиг.18 этапы обработки, идентичные с соответствующими этапами, показанными на фиг.17, обозначены теми же позициями, что и на фиг.17.
На этапе S556, показанном на фиг.17 и 18, начальное число (начальное число 1) 611, считанное из данных управления, хранящихся на носителе записи, подается в процессор шифрования AES, который выполняет процесс шифрования AES с применением ключа К1 записи, генерированного на предыдущем этапе S554, начального числа 611 с целью генерирования блочного ключа Kb1.
Затем на этапе S557, показанном на фиг.17, лишь зашифрованная часть данных, зашифрованных с использованием блочного ключа Kb1, извлекается из данных пользователя, включающих 32 пакета транспортного потока. Зашифрованная часть данных в данных пользователя отделяется от не зашифрованной части данных на этапе S557, и лишь зашифрованная часть данных, зашифрованная с использованием блочного ключа Kb1, подвергается процессу расшифровки, выполняемому на этапе S558. Не зашифрованная часть данных перепрыгивает этап S558, и на этапе S559 (который является этапом разделения) не зашифрованная часть данных снова подвергается конкатенации с результатом расшифровки зашифрованной части данных для образования группы расшифрованных пакетов транспортного потока. Затем расшифрованная группа пакетов транспортного потока шифруется с использованием ключа сеанса на этапе S563.
На этапе S558, показанном на фиг.17 и 18, выполняется процесс расшифровки AES с применением блочного ключа Kb1, генерированного на этапе S556. Только часть данных, полученная в результате процесса шифрования с применением блочного ключа Kb1, подвергается процессу расшифровки, выполняемому на этапе S558. В этой типичной конфигурации часть данных, включающая, по меньшей мере, начальное число (начальное число 2) первого пакета 602 транспортного потока в начале данных пользователя, является частью данных, полученной в результате процесса шифрования с применением блочного ключа Kb1. Таким образом, часть данных, включающая, по меньшей мере, начальное число (начальное число 2), подвергается процессу расшифровки с применением блочного ключа Kb1.
Следует отметить, что имеются некоторые схемы для определения части данных в качестве части данных, полученной в результате процесса шифрования с применением блочного ключа Kb1. Эти схемы были описаны выше со ссылками на фиг.13-15.
Первый пакет 602 транспортного потока включает начальное число (начальное число 2) 612, необходимое для вычисления блочного ключа Kb2, подлежащего применению в процессе расшифровки частей данных пользователя, отличных от пакета 602 транспортного потока. В этой типичной конфигурации другими частями данных пользователя является группа 603 пакетов транспортного потока, следующая за первым пакетом 602 транспортного потока в виде группы, имеющей длину 5952 байт. То есть начальное число (начальное число 2) 612 записывается в первом пакете 302 транспортного потока в виде зашифрованных данных, полученных в результате процесса шифрования с применением блочного ключа Kb1.
В качестве результата процесса расшифровки, выполняемого на этапе S558 посредством применения блочного ключа Kb1, создается декодированный пакет 604 транспортного потока. Затем из пакета 604 транспортного потока извлекается начальное число (начальное число 2).
На этапе S559 разделения, показанном на фиг.17, декодированный пакет 604 транспортного потока, включающий начальное число (начальное число 2), подвергается конкатенации с другими данными для генерирования результата конкатенации, подлежащего выдаче на этапе S563 шифрования. Декодированный пакет 604 транспортного потока, включающий начальное число (начальное число 2), является результатом, полученным из процесса расшифровки с применением блочного ключа Kb1, как указывалось выше.
Процесс шифрования, выполняемый на этапе S563, является процессом шифрования на основе общего ключа сеанса, совместно используемого приводом 510 носителя записи и устройством 500 обработки информации. Ключ сеанса получается в результате процесса взаимной аутентификации, выполняемой приводом 510 носителя записи и устройством 500 обработки информации. Процесс взаимной аутентификации выполняется на основе ключей Km 530 и 540 аутентификации, совместно используемых приводом 510 носителя записи и устройством 500 обработки информации.
Ниже приводится последовательность операций взаимной аутентификации со ссылками на фиг.19. На фиг.19 показана схема последовательности операций аутентификации и операций для совместного использования ключа сеанса. Эти операции аутентификации и операции для совместного использования ключа сеанса являются типичной обработкой, основанной на способе обработки с общим ключом. Однако последовательность операций аутентификации и операций для совместного использования ключа сеанса не обязательно должна быть этой типичной обработкой. То есть можно использовать также другие методы обработки.
Привод 510 носителя записи и устройство 500 обработки информации имеют ключи Km 530 и 540 аутентификации, соответственно. Прежде всего, на этапе S571 устройство 500 обработки информации генерирует случайное число Rb1, имеющее длину 64 бит, и передает случайное число Rb1 в привод 510 носителя записи. На этапе S581 привод 510 носителя записи генерирует случайное число Ra1. Затем на этапе S582 выполняется процесс шифрования AES на основе объединенных данных [Ra1||Rb1] для генерирования MAC (код аутентификации сообщений). Объединенные данные [Ra1||Rb1] являются данными, полученными в результате конкатенации случайного числа Ra1 и Rb1. Пусть величина MAC будет обозначаться как eKm(Ra1||Rb1). Следует отметить, что обычно обозначение eK(В) обозначает результат шифрования данных В с использованием ключа Ка, а обозначение А||В обозначает конкатенацию данных А и данных В. Привод 510 носителя записи передает генерированную величину MAC eKm(Ra1||Rb1) и генерированное случайное число Ra1 в устройство 500 обработки информации.e
На этапе S572 устройство 500 обработки информации вычисляет величину MAC eKm(Ra1||Rb1) на основе случайного числа Ra1, принятого из привода 510 носителя записи, и случайного числа Rb1, генерированного на этапе S571. Затем на этапе S573 вычисленная величина MAC сравнивается с величиной MAC, принятой из привода 510 носителя записи. Если они соответствуют друг другу, то устройство 500 обработки информации аутентифицирует привод 510 носителя записи в качестве законного устройства, имеющего правильный ключ аутентификации. С другой стороны, не совпадающие друг с другом величины MAC указывают на ошибку аутентификации. В этом случае последующая обработка не выполняется.
Кроме того, на этапе S574 устройство 500 обработки информации генерирует случайное число Rb2 и передает случайное число Rb2 в привод 510 носителя записи. На этапе S583 привод 510 носителя записи генерирует случайное число Ra2 и передает случайное число Ra2 в устройство 500 обработки информации.
Затем на этапе S575 устройство 500 обработки информации генерирует величину MAC eKm(Ra2||Rb2) на основе случайного числа Ra2 и случайного числа Rb2 и передает величину MAC eKm(Ra2||Rb2) в привод 510 носителя записи.
На этапе S584 привод 510 носителя записи вычисляет величину MAC eKm(Ra2||Rb2) на основе случайного числа Rb2, принятого из устройства 500 обработки информации, и случайного числа Ra2, генерированного на этапе S583. Затем на этапе S585 вычисленная величина MAC сравнивается с величиной MAC, принятой из устройства 500 обработки информации. Если они соответствуют друг другу, то привод 510 носителя записи аутентифицирует устройство 500 обработки информации в качестве законного устройства, имеющего правильный ключ аутентификации. С другой стороны, не совпадающие друг с другом величины MAC указывают на ошибку аутентификации. В этом случае последующая обработка не выполняется.
Кроме того, на этапе S576 устройство 500 обработки информации генерирует случайное число Rb3 и передает случайное число Rb3 в привод 510 носителя записи.
На этапе S586 привод 510 носителя записи генерирует случайное число Ra3. Затем на этапе S587 выполняется процесс шифрования AES на основе данных, полученных в результате конкатенации случайного числа Ra3 и случайного числа Rb3, принятого из устройства 500 обработки информации, с применением совместно используемого ключа Km с целью генерирования ключа Ks сеанса = eKm(Ra3||Rb3).
На этапе S577 устройство 500 обработки информации выполняет процесс шифрования AES на основе данных, полученных в результате конкатенации генерированного случайного числа Rb3 и случайного числа Ra3, принятого из привода 510 носителя записи, с применением совместно используемого ключа Km с целью генерирования ключа Ks сеанса = eKm(Ra3||Rb3).
За счет выполнения указанных выше процессов устройство 500 обработки информации и привод 510 носителя записи способны взаимно аутентифицировать партнера в качестве правильного устройства и совместно использовать ключ Ks сеанса = eKm(Ra3||Rb3). Процессы, выполняемые на этапах S560 и S561, показанных на фиг.17, соответствуют процессам, описанным ранее со ссылками на фиг.19.
Поскольку ключ Ks сеанса совместно используется устройством 500 обработки информации и приводом 510 носителя записи, то привод 510 носителя записи выполняет процесс шифрования на этапах S562 и S563, показанных на фиг.17.
Процесс шифрования на этапе S562 является процессом шифрования AES, выполняемым с ключом К2 записи с использованием ключа Ks сеанса с целью генерирования ключа eKs (К2) записи. Как указывалось выше, ключ К2 записи является ключом, генерированным на этапе S555. С другой стороны, процесс шифрования на этапе S563 является процессом шифрования, выполняемым с расшифрованным пакетом 604 транспортного потока с использованием ключа Ks сеанса. Как указывалось выше, расшифрованный пакет 604 транспортного потока является результатом процесса расшифровки, выполненного на этапе S558 с использованием блочного ключа Kb1. Следует отметить, что в процессе шифрования на этапе S563 объектом шифрования может быть весь пакет 604 транспортного потока, часть пакета 604, только начальное число (начальное число 2) или что-то другое. Дополнительно к этому, тип обработки можно определять в соответствии со схемой хранения информации, включенной в пакет транспортного потока в качестве конфиденциальной информации, т.е. в соответствии с областью, зашифрованной с использованием блочного ключа Kb1. Эти схемы хранения были описаны ранее со ссылками на фиг.13-15.
На этапе S562 генерируются данные как результат процесса шифрования ключа К2 записи с использованием ключа Ks сеанса. На этапе S563 шифруется закрытая информация, включающая начальное число (начальное число 2), с использованием ключа Ks сеанса для генерирования зашифрованного пакета 605 транспортного потока, показанного на фиг.18. Эти куски зашифрованных данных передаются из привода 510 носителя записи в устройство 500 обработки информации. То есть куски данных, передаваемых через линию передачи, являются каждый результатом шифрования с использованием ключа Ks сеанса.
На этапах S564 и S565 устройство 500 обработки информации расшифровывает эти куски зашифрованных данных, принятые из привода 510 носителя записи. А именно, на этапе S564 устройство 500 обработки информации расшифровывает зашифрованный ключ eKs (К2) записи с применением ключа Ks сеанса с целью получения ключа К2 записи. С другой стороны, на этапе S565 устройство 500 обработки информации расшифровывает закрытую зашифрованную информацию, включающую начальное число (начальное число 2), с применением ключа Ks сеанса с целью получения расшифрованной информации, включающей начальное число (начальное число 2). Пакет 606 транспортного потока, показанный на фиг.18, включает расшифрованное начальное число (начальное число 2).
Этап S566 является этапом разделения для разбивки выходных данных этапа S565 на расшифрованное начальное число (начальное число 2), данные, подлежащие расшифровке с использованием блочного ключа Kb2, и не зашифрованные данные. На этапе S567, показанном на фиг.17 и 18, выполняется процесс шифрования AES на основе начального числа (начального числа 2) и ключа К2 записи с целью генерирования блочного ключа Kb2. Начальное число (начальное число 2) является результатом процесса расшифровки, выполняемого на этапе S565 с применением ключа Ks сеанса. С другой стороны, ключ К2 записи является ключом, генерированным на этапе S564.
Затем на этапе S568 зашифрованная часть данных пользователя расшифровывается с применением блочного ключа Kb2 для генерирования группы 607 декодированных пакетов транспортного потока. Зашифрованная часть данных пользователя является частью, зашифрованной с использованием блочного ключа Kb2.
На этапе S569 разделения группа 607 декодированных пакетов транспортного потока подвергается конкатенации с декодированным пакетом 606 транспортного потока, и результат конкатенации подается обычно в декодер MPEG-2, который затем декодирует результат конкатенации для генерирования конечных воспроизводимых данных.
Как указывалось выше, в этой типичной конфигурации, где необходимо передавать начальное число (начальное число 2), требуемое для генерирования ключа (блочного ключа Kb2) для применения в процессе расшифровки зашифрованного содержимого как части обработки для воспроизведения данных, хранящихся на носителе записи, из одного устройства в другое, шифруется перед передачей между устройствами не только начальное число (начальное число 2) для генерирования блочного ключа Kb2, но также шифруется перед передачей между устройствами ключ К2 записи. Таким образом, даже если происходит утечка данных из линии передачи между устройствами, становится трудным получение начального числа (начального числа 2) и ключа К2 записи. В результате увеличиваются трудности анализа ключа, генерированного с использованием начального числа, и анализа алгоритма шифрования, так что защиту содержимого можно осуществлять на высоком уровне защиты. Эти признаки можно дополнительно усилить за счет повышения конфиденциальности с помощью осуществления методов, включающих метод получения блочного ключа Kb1, метод вычисления блочного ключа Kb1, метод генерирования ключа Ks сеанса и метод шифрования ключа Ks сеанса, в приводе 510 носителя записи в качестве процессов, выполняемых в одной большой интегральной схеме.
Следует отметить, что во многом аналогично описанному ранее варианту выполнения имеется множество конфигураций, в которых хранятся два начальных числа, хранящихся на носителе записи. Описание нескольких типичных конфигураций приводится ниже.
На фиг.20 показана схема типичной конфигурации, в которой как начальное число (начальное число 1), так и начальное число (начальное число 2) хранятся в первом пакете 602 транспортного потока данных пользователя. В типичной конфигурации, описанной ранее со ссылками на фиг.18, начальное число (начальное число 1) 611 хранится в данных 601 управления, а начальное число (начальное число 2) 612 хранится в первом пакете 602 транспортного потока данных пользователя в виде зашифрованной информации. С другой стороны, в типичной конфигурации, показанной на фиг.20, как начальное число (начальное число 1) 621, так и начальное число (начальное число 2) 622 хранятся в первом пакете 602 транспортного потока данных пользователя.
Следует отметить, что аналогично типичной конфигурации, описанной ранее со ссылками на фиг.18, начальное число (начальное число 2) 622 хранится в первом пакете 602 транспортного потока данных пользователя в виде информации, зашифрованной с применением блочного ключа Kb1, который получен с применением начального числа (начального числа 1) 621.
В типичной конфигурации, показанной на фиг.20, процесс расшифровки выполняется в блоках 600 обработки. Блок 600 обработки соответствует блоку обработки, описанному применительно к фиг.1(b). Блок обработки, описанный выше со ссылками на фиг.1(b), является выровненным блоком (AU). На основе флага, включенного в данные управления, привод 510 носителя записи, воспроизводящий зашифрованные данные, записанные на носителе 520 записи, извлекает выровненный блок, используемый в качестве блока обработки для шифрования.
Ниже приводится описание обработки, показанной на фиг.20. На фиг.20 этапы обработки, идентичные с соответствующими этапами, показанными на фиг.17, обозначены теми же позициями, что и на фиг.17.
На этапе S556, показанном на фиг.17 и 20, начальное число (начальное число 1) 621, считанное из первого пакета транспортного потока данных пользователя, хранящихся на носителе записи, подается в процессор шифрования AES, который выполняет процесс шифрования AES с применением ключа К1 записи, генерированного на предыдущем этапе S554, показанном на фиг.17, начального числа 621 с целью генерирования блочного ключа Kb1.
Затем на этапе S557, показанном на фиг.17, лишь зашифрованная часть данных, зашифрованных с использованием блочного ключа Kb1, извлекается из данных пользователя, включающих 32 пакета транспортного потока. Зашифрованная часть данных блочного ключа Kb1 отделяется от не зашифрованной части данных на этапе S557, и лишь зашифрованная часть данных подвергается процессу расшифровки, выполняемому на этапе S558. Не зашифрованная часть данных перепрыгивает этап S558, и на этапе S559 (который является этапом разделения) не зашифрованная часть данных снова подвергается конкатенации с результатом расшифровки зашифрованной части и затем шифруется с использованием ключа сеанса на этапе S563.
На этапе S558, показанном на фиг.17 и 20, выполняется процесс расшифровки AES с применением блочного ключа Kb1, генерированного на этапе S556. Только часть данных, полученная в результате процесса шифрования с применением блочного ключа Kb1, подвергается процессу расшифровки, выполняемому на этапе S558. В этой типичной конфигурации часть данных, включающая, по меньшей мере, начальное число (начальное число 2) первого пакета 602 транспортного потока в начале данных пользователя, является частью данных, полученной в результате процесса шифрования с применением блочного ключа Kb1. Таким образом, часть данных, включающая, по меньшей мере, начальное число (начальное число 2), подвергается процессу расшифровки с применением блочного ключа Kb1.
Зашифрованная часть данных первого пакета 602 транспортного потока включает начальное число (начальное число 2) 612, необходимое для вычисления блочного ключа Kb2, подлежащего применению в процессе расшифровки частей данных пользователя, отличных от пакета 602 транспортного потока. В этой типичной конфигурации другими частями данных пользователя является группа 603 пакетов транспортного потока, следующая за первым пакетом 602 транспортного потока в виде группы, имеющей длину 5952 байт. То есть начальное число (начальное число 2) 622 записывается в первом пакете 602 транспортного потока в виде зашифрованных данных, полученных в результате процесса шифрования с применением блочного ключа Kb1.
В качестве результата процесса расшифровки, выполняемого на этапе S556 посредством применения блочного ключа Kb1, создается декодированный пакет 604 транспортного потока. Пакет 604 транспортного потока включает начальное число (начальное число 2).
На этапе S559 разделения, показанном на фиг.17, декодированный пакет 604 транспортного потока, включающий начальное число (начальное число 2), подвергается конкатенации с другими данными для генерирования результата конкатенации, подлежащего выдаче на этап S563 шифрования. Декодированный пакет 604 транспортного потока, включающий начальное число (начальное число 2), является результатом, полученным из процесса расшифровки с применением блочного ключа Kb1, как указывалось выше.
Процесс шифрования, выполняемый на этапе S563, является процессом шифрования на основе общего ключа сеанса, совместно используемого приводом 510 носителя записи и устройством 500 обработки информации. Ключ сеанса получается в результате процесса взаимной аутентификации, выполняемой приводом 510 носителя записи и устройством 500 обработки информации. Процесс взаимной аутентификации выполняется на основе ключей Km 530 и 540 аутентификации, совместно используемых приводом 510 носителя записи и устройством 500 обработки информации. Процесс взаимной аутентификации и процесс совместного использования ключа сеанса был описан выше со ссылками на фиг.19.
Поскольку ключ Ks сеанса совместно используется устройством 500 обработки информации и приводом 510 носителя записи, то привод 510 выполняет процесс шифрования на этапах S562 и S563, показанных на фиг.17 и 20. А именно, на этапе S562 генерируются данные как результат процесса шифрования ключа К2 записи с использованием ключа Ks сеанса. На этапе S563 закрытая информация, включающая начальное число (начальное число 2), шифруется с использованием ключа Ks сеанса для генерирования пакета 605 транспортного потока, показанного на фиг.20. Эти куски зашифрованных данных передаются из привода 510 носителя записи в устройство 500 обработки информации. То есть куски данных, передаваемые по линии передачи, являются каждый результатом шифрования с использованием ключа Ks сеанса.
На этапах S564 и S565 устройство 500 расшифровывает эти куски зашифрованных данных, принятые из привода 510 носителя записи. А именно, на этапе S564 устройство 500 обработки информации расшифровывает зашифрованный ключ eKs (K2) записи с применением ключа Ks сеанса с целью получения ключа К2 записи. С другой стороны, на этапе S565 устройство 500 обработки информации расшифровывает закрытую зашифрованную информацию, включающую начальное число (начальное число 2), с применением ключа Ks сеанса с целью получения расшифрованной информации, включающей начальное число (начальное число 2). Пакет 606 транспортного потока, показанный на фиг.20, включает расшифрованное начальное число (начальное число 2).
Этап S566 является этапом разделения для разбивки результата, генерированного на этапе S565, на расшифрованное начальное число (начальное число 2), данные, подлежащие расшифровке с использованием блочного ключа Kb2, и не зашифрованные данные. На этапе S567, показанном на фиг.17 и 20, выполняется процесс шифрования AES на основе начального числа (начального числа 2) и ключа К2 записи с целью генерирования блочного ключа Kb2. Начальное число (начальное число 2) является результатом процесса расшифровки, выполняемого на этапе S565 с применением ключа Ks сеанса. С другой стороны, ключ К2 записи является ключом, генерированным на этапе S564.
Затем на этапе S568 зашифрованная часть данных пользователя расшифровывается с применением блочного ключа Kb2 для генерирования группы 607 декодированных пакетов транспортного потока. Зашифрованная часть данных пользователя является частью, зашифрованной с использованием блочного ключа Kb2.
На этапе S569 разделения группа 607 декодированных пакетов транспортного потока подвергается конкатенации с декодированным пакетом 606 транспортного потока, и результат конкатенации подается обычно в декодер MPEG-2, который затем декодирует результат конкатенации для генерирования конечных воспроизводимых данных.
Как указывалось выше, в этой типичной конфигурации начальное число (начальное число 1) и начальное число (начальное число 2) оба хранятся в первом пакете транспортного потока. Начальное число (начальное число 2), необходимое для генерирования ключа (блочного ключа Kb2), сохраняется в виде информации, зашифрованной с использованием блочного ключа Kb1, который генерируется с использованием начального числа (начального числа 1) и ключа К1 записи.
Таким образом, и в этой типичной конфигурации невозможно считывать начальное число (начальное число 2) с диска или из линии передачи без расшифровки. В результате увеличиваются трудности анализа ключа, генерированного с использованием начального числа, и анализа алгоритма шифрования, так что защиту содержимого можно осуществлять на высоком уровне защиты. Эти признаки можно дополнительно усилить за счет повышения конфиденциальности с помощью осуществления методов, включающих метод получения блочного ключа Kb1, метод вычисления блочного ключа Kb1, метод генерирования ключа Ks сеанса и метод шифрования ключа Ks сеанса, в приводе 510 носителя записи в качестве процессов, выполняемых в одной большой интегральной схеме.
В типичной конфигурации, показанной на фиг.21, начальное число (начальное число 1) 631 хранится в первом пакете 602 транспортного потока, а начальное число (начальное число 2) 632 хранится в пакете 641 транспортного потока, непосредственно следующем за первым пакетом 602 транспортного потока.
Следует отметить, что, как описывалось ранее со ссылками на фиг.18 и 20, начальное число (начальное число 2) 632 хранится во втором пакете 641 транспортного потока данных пользователя в виде информации, зашифрованной с применением блочного ключа Kb1, который получен с применением начального числа (начального числа 1) 631.
В типичной конфигурации, показанной на фиг.21, процесс расшифровки выполняется в блоках 600 обработки. Блок 600 обработки соответствует блоку обработки, описанному применительно к фиг.1(b). Блок обработки, описанный выше со ссылками на фиг.1(b), является выровненным блоком (AU).
Ниже приводится описание обработки, показанной на фиг.21. На фиг.21 этапы обработки, идентичные с соответствующими этапами, показанными на фиг.17, обозначены теми же позициями, что и на фиг.17.
На этапе S556, показанном на фиг.17 и 21, начальное число (начальное число 1) 631, считанное из первого пакета транспортного потока данных пользователя, хранящихся на носителе записи, подается в процессор шифрования AES, который выполняет процесс шифрования AES с применением ключа К1 записи, генерированного на предыдущем этапе S554, показанном на фиг.17, начального числа 631 с целью генерирования блочного ключа Kb1.
Затем на этапе S557, показанном на фиг.17, лишь зашифрованная часть данных, зашифрованных с использованием блочного ключа Kb1, извлекается из данных пользователя, включающих 32 пакета транспортного потока. Зашифрованная часть данных блочного ключа Kb1 отделяется от не зашифрованной части данных на этапе S557, и лишь зашифрованная часть данных подвергается процессу расшифровки, выполняемому на этапе S558. Не зашифрованная часть данных перепрыгивает этап S558, и на этапе S559 (который является этапом разделения) не зашифрованная часть данных снова подвергается конкатенации с результатом расшифровки зашифрованной части и затем шифруется с использованием ключа сеанса на этапе S563.
На этапе S558, показанном на фиг.17 и 21, выполняется процесс расшифровки AES с применением блочного ключа Kb1, генерированного на этапе S556. Только часть данных, полученная в результате процесса шифрования с применением блочного ключа Kb1, подвергается этому процессу расшифровки. В этой типичной конфигурации зашифрованная часть данных области данных, за исключением начального числа (начального числа 1) 631 первого пакета транспортного потока данных пользователя, и часть данных, включающая, по меньшей мере, другое начальное число (начальное число 2) 632 второго пакета транспортного потока данных пользователя, подвергаются процессу расшифровки. Как указывалось выше, имеется несколько схем определения области данных в качестве части данных, полученных в результате процесса шифрования с применением блочного ключа Kb1.
В этой типичной конфигурации зашифрованная часть данных второго пакета 641 транспортного потока включает начальное число (начальное число 2) 632, необходимое для вычисления блочного ключа Kb2, подлежащего применению в процессе расшифровки частей данных пользователя, отличных от второго пакета 641 транспортного потока. В этой типичной конфигурации другими частями данных пользователя является группа 642 пакетов транспортного потока, следующая за вторым пакетом 641 транспортного потока. То есть начальное число (начальное число 2) 632 записывается во втором пакете 641 транспортного потока в виде зашифрованных данных, полученных в результате процесса шифрования с применением блочного ключа Kb1.
В качестве результата процесса расшифровки, выполняемого на этапе S606 посредством применения блочного ключа Kb1, создается декодированный пакет 604 транспортного потока. Пакет 604 транспортного потока включает начальное число (начальное число 2).
На этапе S559 разделения, показанном на фиг.17, декодированный пакет 604 транспортного потока, включающий начальное число (начальное число 2), подвергается конкатенации с другими данными для генерирования результата конкатенации, подлежащего выдаче на этапе S563 шифрования. Декодированный пакет 604 транспортного потока, включающий начальное число (начальное число 2), является результатом, полученным из процесса расшифровки с применением блочного ключа Kb1, как указывалось выше.
Процесс шифрования, выполняемый на этапе S563, является процессом шифрования на основе общего ключа сеанса, совместно используемого приводом 510 носителя записи и устройством 500 обработки информации. Ключ сеанса получается в результате процесса взаимной аутентификации, выполняемой приводом 510 носителя записи и устройством 500 обработки информации. Процесс взаимной аутентификации выполняется на основе ключей Km 530 и 540 аутентификации, совместно используемых приводом 510 носителя записи и устройством 500 обработки информации. Процесс взаимной аутентификации и процесс совместного использования ключа сеанса был описан выше со ссылками на фиг.19.
Поскольку ключ Ks сеанса совместно используется устройством 500 обработки информации и приводом 510 носителя записи, то привод 510 выполняет процесс шифрования на этапах S562 и S563, показанных на фиг.17 и 21. А именно, на этапе S562 генерируются данные как результат процесса шифрования ключа К2 записи с использованием ключа Ks сеанса. На этапе S563 закрытая информация, включающая начальное число (начальное число 2), шифруется с использованием ключа Ks сеанса для генерирования пакета 605 транспортного потока, показанного на фиг.21. Эти куски зашифрованных данных передаются из привода 510 носителя записи в устройство 500 обработки информации. То есть куски данных, передаваемые по линии передачи, являются каждый результатом шифрования с использованием ключа Ks сеанса.
На этапах S564 и S565 устройство 500 расшифровывает эти куски зашифрованных данных, принятые из привода 510 носителя записи. А именно, на этапе S564 устройство 500 обработки информации расшифровывает зашифрованный ключ eKs (K2) записи с применением ключа Ks сеанса с целью получения ключа К2 записи. С другой стороны, на этапе S565 устройство 500 обработки информации расшифровывает закрытую зашифрованную информацию, включающую начальное число (начальное число 2), с применением ключа Ks сеанса с целью получения расшифрованной информации, включающей начальное число (начальное число 2). Пакет 606 транспортного потока, показанный на фиг.21, включает расшифрованное начальное число (начальное число 2).
Этап S566 является этапом разделения для разбивки выходных данных этапа S565 на расшифрованное начальное число (начальное число 2), данные, подлежащие расшифровке с использованием блочного ключа Kb2, и не зашифрованные данные. На этапе S567, показанном на фиг.17 и 21, выполняется процесс шифрования AES на основе начального числа (начального числа 2) и ключа К2 записи с целью генерирования блочного ключа Kb2. Начальное число (начальное число 2) является результатом процесса расшифровки, выполняемого на этапе S565 с применением ключа Ks сеанса. С другой стороны, ключ К2 записи является ключом, генерированным на этапе S564.
Затем на этапе S568 зашифрованная часть данных пользователя расшифровывается с применением блочного ключа Kb2 для генерирования группы 607 декодированных пакетов транспортного потока. Зашифрованная часть данных пользователя является частью, зашифрованной с использованием блочного ключа Kb2.
На этапе S569 разделения группа 607 декодированных пакетов транспортного потока подвергается конкатенации с декодированным пакетом 606 транспортного потока, и результат конкатенации подается обычно в декодер MPEG-2, который затем декодирует результат конкатенации для генерирования конечных воспроизводимых данных.
Как указывалось выше, в этой типичной конфигурации начальное число (начальное число 1) хранится в первом пакете транспортного потока. Начальное число (начальное число 2) хранится во втором пакете транспортного потока данных пользователя. Начальное число (начальное число 2), необходимое для генерирования блочного ключа Kb2, сохраняется в виде информации, зашифрованной с использованием блочного ключа Kb1, который генерируется с использованием начального числа (начального числа 1) и ключа К1 записи.
Таким образом, и в этой типичной конфигурации невозможно считывать начальное число (начальное число 2) с диска или из линии передачи данных без расшифровки. В результате увеличиваются трудности анализа ключа, генерированного с использованием начального числа, и анализа алгоритма шифрования, так что защиту содержимого можно осуществлять на высоком уровне защиты. Эти признаки можно дополнительно усилить за счет повышения конфиденциальности с помощью осуществления методов, включающих метод получения блочного ключа Kb1, метод вычисления блочного ключа Kb1, метод генерирования ключа Ks сеанса и метод шифрования ключа Ks сеанса, в приводе 510 носителя записи в качестве процессов, выполняемых в одной большой интегральной схеме.
(Применение к другим структурам данных)
В описанных выше типичных конфигурациях данные хранятся на носителе записи в виде пакетов транспортного потока. Однако конфигурацию, согласно данному изобретению, можно применять к различным структурам данных, отличных от пакета транспортного потока. То есть в указанных выше типичных конфигурациях второе начальное число (начальное число 2) для шифрования данных в блочных единицах с целью генерирования зашифрованных данных хранится на носителе записи в виде информации, зашифрованной с использованием блочного ключа Kb1, генерированного с применением другого начального числа (начального числа 1), так что можно исключить утечку второго начального числа (начального числа 2) и осуществлять защиту содержимого с высоким уровнем защиты. Эта указанная схема типичных конфигураций является эффективной для любой другой структуры данных, отличной от транспортного потока, если применяется процесс шифрования, выполняемый в блочных единицах, и генерируется блочный ключ с использованием начального числа.
Дополнительно к этому, в одной частной типичной конфигурации, описанной выше, где данные шифруются с использованием ключа сеанса перед передачей через интерфейсы из одного устройства в другое, выполняется типичный процесс с использованием ключа сеанса для шифрования одного из начальных чисел. Процесс, выполняемый для передачи данных после шифрования данных, не ограничивается этой частной конфигурацией, но также является в целом эффективным для конфигурации, в которой зашифрованное содержимое сохраняется на носителе записи.
Ниже приводится описание со ссылками на фиг.22 типичного процесса передачи данных между устройством обработки информации и приводом носителя записи в конфигурации, в которой зашифрованное содержимое хранится на носителе записи.
В типичном процессе, показанном на фиг.22, зашифрованное содержимое 675, записанное на носителе 670 записи, является содержимым, зашифрованным на основе блочного ключа Kb1, который генерируется с использованием начального числа 674, установленного для каждого блока обработки.
Ниже приводится описание процесса, выполняемого в приводе 660 носителя записи для считывания данных с носителя записи 670, и процесса, выполняемого устройством 650 обработки информации, таким как ПК, с целью воспроизведения результата из данных.
Прежде всего, привод 660 носителя записи считывает главный ключ 661, хранящийся в его собственной памяти. Следует отметить, что если главный ключ 661 хранится в устройстве 500 обработки информации, то привод 660 носителя записи может принимать главный ключ 661 из устройство 650 обработки информации. Главный ключ 661 является закрытым ключом, обычно хранящимся в устройстве обработки информации, получившем лицензию. Устройством обработки информации, получившим лицензию, может быть привод носителя записи. Главный ключ 661 является общим ключом, хранящимся в памяти 180 в качестве ключа, общего для множества устройств обработки информации.
Затем привод 660 носителя записи считывает идентификатор 671 диска с носителя 670 записи. Идентификатор 671 диска является информацией, свойственной исключительно носителю 670 записи, и обычно хранится в области хранения общих данных или в области ввода на носителе 670 записи.
Затем на этапе S651 привод 660 носителя записи генерирует уникальный ключ диска с использованием главного ключа 661 и идентификатора 671 диска. Типичные конкретные методы, применимые для генерирования уникального ключа диска, были описаны выше со ссылками на фиг.4(а) и 4(b).
Затем с носителя 670 записи считывается заглавный ключ 1, обозначенный позицией 672. Заглавный ключ 1 является уникальным ключом для каждого записанного содержимого. Заглавный ключ 672 хранится в файле управления данными, существующем на носителе 670 записи в качестве файла для хранения информации, указывающей, какое название относится к каким данным.
Затем на этапе S652 генерируется заглавный уникальный ключ 1 из уникального ключа диска и заглавного ключа 1, обозначенного позицией 672.
Затем на этапе S653 привод 660 носителя записи генерирует ключ К1 записи на основе заглавного уникального ключа 1, генерированного на этапе S652, и на основе физического индекса 673, считанного с носителя 670 записи.
Описание типичного процесса, выполняемого на этапе S653 для генерирования ключа К1 записи, было приведено выше со ссылками на фиг.5(а) и 5(b). Как показано на фигуре, процесс генерирования ключа К1 записи является процессом шифрования AES на основе заглавного уникального ключа 1 и физического индекса 673, считываемого с носителя 670 записи.
В процессе, выполняемом на этапе S654 для генерирования блочного ключа Kb1, начальное число 674 считывается с носителя записи 670 в качестве информации, необходимой для генерирования блочного ключа Kb1. Затем выполняется процесс шифрования на основе начального числа 674 и ключа К1 записи, генерированного на этапе S653, с целью генерирования блочного ключа Kb1.
Ниже приводится описание со ссылками на фиг.23 процессов, выполняемых после процесса, выполняемого на этапе S654, для генерирования блочного ключа Kb1.
В типичной конфигурации, показанной на фиг.23, процесс расшифровки выполняется в блоках обработки, каждый из которых является данными 701 пользователя блока обработки, имеющего типичный размер 2048 байт. Данные 711 управления устанавливаются для каждого блока обработки. На основе флага, включенного в данные управления, привод 660 носителя записи извлекает выровненный блок, используемый в качестве блока обработки шифрования.
Блок обработки включает данные 711 управления, имеющие длину 18 байт, и зашифрованные данные 711 управления, имеющие длину 2048 байт. Начальное число 674 включено в данные 711 управления. Зашифрованные данные 701 являются данными, зашифрованными с использованием блочного ключа Kb1, генерированного на основе начального числа 674.
На фиг.23 этапы обработки, идентичные с соответствующими этапами, показанными на фиг.22, обозначены теми же позициями, что и на фиг.22.
На этапе S654, показанном на фиг.22 и 23, начальное число 674, считанное из данных управления, хранящихся на носителе записи, подается в процессор шифрования AES, который выполняет процесс шифрования AES с применением ключа К1 записи, генерированного на предыдущем этапе S653, начального числа 674 с целью генерирования блочного ключа Kb1.
На этапе S655, показанном на фиг.22 и 23, выполняется процесс расшифровки AES с применением блочного ключа Kb1, генерированного на этапе S654. Данные 701 пользователя, полученные в результате процесса шифрования с применением блочного ключа Kb1, подвергаются процессу расшифровки, выполняемому на этапе S655. Обычно процесс выполняется с применением метода AES CBC (цепочка цифровых блоков).
Процесс шифрования, выполняемый на следующем этапе S663, является процессом шифрования, основанным на общем ключе сеанса, совместно используемого приводом 660 носителя записи и устройством 650 обработки информации. Ключ сеанса получается в результате процесса взаимной аутентификации, выполняемого приводом 660 носителя записи и устройством 650 обработки информации.
Процесс взаимной аутентификации является процессом взаимной аутентификации на основе ключей Km 680 и 690 аутентификации, совместно используемых приводом 660 носителя записи и устройством 650 обработки информации. Типичная последовательность операций взаимной аутентификации показана на фиг.19, как указывалось выше.
На этапах S661 и S662, показанных на фиг.22, соответственно, выполняется процесс взаимной аутентификации и процесс генерирования ключа Ks сеанса, подлежащего совместному использованию устройством 650 обработки информации и приводом 660 носителя записи.
Затем на этапе S663, показанном на фиг.22 и 23, привод 660 носителя записи выполняет процесс шифрования.
Процесс шифрования, выполняемый на этапе S663, является процессом шифрования расшифрованных данных пользователя с использованием ключа Ks сеанса. Расшифрованные данные пользователя являются результатом процесса расшифровки, выполненного на этапе S655. Процесс шифрования является процессом с применением обычно метода AES CBC (цепочка цифровых блоков) для генерирования зашифрованных данных 702 пользователя.
Зашифрованные данные, то есть данные 702 пользователя, показанные на фиг.23, передаются из привода 660 носителя записи в устройство 650 обработки информации. То есть через линию передачи данных передаются данные, зашифрованные с использованием ключа Ks сеанса.
На этапе S664 устройство 650 обработки информации расшифровывает зашифрованные данные, принятые из привода 660 носителя записи, для создания данных 730 пользователя. Процесс расшифровки, выполняемый на этом этапе, является процессом с использованием ключа Ks сеанса и обычно метода AES СВС (цепочка цифровых блоков).
В обработке, выполняемой в этой типичной конфигурации для воспроизведения данных, хранящихся на носителе записи, данные, подлежащие передаче из одного устройства в другое, зашифрованы заранее с использованием ключа сеанса. Таким образом, возможно предотвращение утечки содержимого, даже если зашифрованные данные перехватываются из линии передачи. В результате, можно выполнять защиту содержимого на высоком уровне защиты. Эти признаки можно дополнительно усилить за счет повышения конфиденциальности с помощью осуществления методов, включающих метод получения ключа записи, метод вычисления блочного ключа Kb1, метод генерирования ключа Ks сеанса и метод шифрования ключа Ks сеанса, в устройстве 650 обработки информации в качестве процессов, выполняемых в одной большой интегральной схеме.
Выше было приведено описание данного изобретения со ссылками на специфические варианты выполнения. Однако для специалистов в данной области техники очевидно, что возможна модификация вариантов выполнения и создание замен для вариантов выполнения в пределах, не отклоняющихся от существенных признаков данного изобретения. То есть варианты выполнения использовались в качестве примеров выполнения данного изобретения, и их не следует рассматривать как ограничение данного изобретения. Для определения существенных признаков данного изобретения основанием является лишь формула изобретения.
Серии процессов, указанных выше, можно выполнять с использованием аппаратурного обеспечения, программного обеспечения или комбинации из аппаратурного обеспечения и программного обеспечения. Если процессы выполняются с использованием программного обеспечения, то программы, каждая из которых задает последовательность обработки, устанавливаются в памяти, используемой в компьютере, включенном в специальное аппаратурное обеспечение, или же устанавливаются в памяти компьютера общего назначения. Компьютер общего назначения является компьютером, способным выполнять различные программы, устанавливаемые в компьютере.
Вместо установки программ в память программы можно также записывать заранее на носителе записи, таком как жесткий диск или ПЗУ.
В качестве альтернативного решения, программы, подлежащие установке в памяти, можно хранить временно или постоянно (записывать) на носителе записи, таком как гибкий диск, CD-ROM (компакт-диск с памятью только для считывания) и МО (магнитно-оптический) диск, DVD (цифровой универсальный диск), магнитный диск или полупроводниковая память. Программа, хранящаяся в таком съемном носителе записи, представляется пользователю в виде так называемого пакетного программного обеспечения.
Следует отметить, что вместо установки программ в памяти из съемного носителя записи программы можно также передавать из места хранения в компьютер посредством передачи по радио или посредством передачи по проводам через сеть, такую как LAN (локальная сеть) или Интернет. Затем компьютер может устанавливать программы, принятые с места хранения, во встроенный носитель записи, такой как жесткий диск, упомянутый выше.
Следует отметить, что различные этапы, указанные в этом описании, можно естественно выполнять по оси времени в порядке описания. Однако этапы можно выполнять также одновременно или по отдельности в соответствии с емкостью обработки или необходимостью устройств для выполнения этапов. Дополнительно к этому, техническое понятие система , используемое в данном описании, обозначает логически установленную конфигурацию, включающую множество устройств, даже если устройства не размещены в одном корпусе.
Как указывалось выше, в соответствии с конфигурацией данного изобретения, начальное число (начальное число 2), необходимое для генерирования ключа (блочного ключа Kb2), подлежащего применению в процессе расшифровки зашифрованного содержимого, хранится в диске в виде информации, зашифрованной с помощью другого ключа (блочного ключа Kb1). Таким образом, невозможно считывание начального числа (начального числа 2) с диска без расшифровки. В результате, трудности анализа ключа, генерированного с использованием начального числа, и анализа алгоритма шифрования возрастают, так что защиту содержимого можно осуществлять на высоком уровне защиты.
Дополнительно к этому, согласно данному изобретению, в конфигурации, в которой начальное число (начальное число 2), необходимое для генерирования ключа (блочного ключа Kb2), подлежащего применению в процессе расшифровки зашифрованного содержимого, передается из одного устройства в другое, куски информации для генерирования блочного ключа или, конкретно, начальное число (начальное число 2) и ключ К2 записи передаются оба после шифрования с использованием ключа сеанса. Таким образом, даже при утечке данных из линии передачи между устройствами трудно получить начальное число (начальное число 2) и ключ К2 записи. В результате, трудности анализа ключа, генерированного с использованием начального числа, и анализа алгоритма шифрования возрастают, так что защиту содержимого можно осуществлять на высоком уровне защиты.
Формула изобретения
1. Устройство для обработки информации, предназначенное для выполнения процесса расшифровки зашифрованных данных, хранящихся на носителе записи информации, при этом указанное устройство для обработки информации содержит средство обработки шифрования для генерирования первого блочного ключа Kb1 на основе первого начального числа, служащего в качестве информации для генерирования ключа, установленного для каждого из блоков обработки шифрования, составляющих зашифрованные данные, хранящиеся на указанном носителе записи информации; получения второго начального числа посредством выполнения процесса расшифровки зашифрованного второго начального числа, хранящегося на носителе записи, на основе указанного генерированного первого блочного ключа Kb1; генерирования второго блочного ключа Kb2 посредством выполнения процесса шифрования на основе указанного полученного второго начального числа и расшифровки указанных зашифрованных данных, хранящихся на указанном носителе записи на основе указанного генерированного второго блочного ключа Kb2.
2. Устройство для обработки информации по п.1, причем указанное средство обработки шифрования дополнительно генерирует два ключа К1 и К2 записи, при этом указанный первый блочный ключ Kb1 генерируется на основе указанного генерированного первого ключа К1 записи и указанного первого начального числа, а второй блочный ключ Kb2 генерируется на основе указанного полученного второго начального числа и указанного генерированного второго ключа К2 записи.
3. Устройство для обработки информации по п.2, причем указанное устройство для обработки информации содержит средства памяти для хранения информации для генерирования главного ключа, а указанное средство обработки шифрования генерирует главный ключ на основе указанной информации для генерирования главного ключа; два ключа К1 и К2 записи генерируются на основе указанного генерированного главного ключа и информации, считываемой с носителя записи информации.
4. Устройство для обработки информации по п.2, в котором указанное средство обработки информации содержит средства памяти для хранения информации для генерирования главного ключа, а указанное средство обработки шифрования также генерирует главный ключ на основе указанной информации для генерирования главного ключа, генерирует первый заглавный уникальный ключ и второй заглавный уникальный ключ на основе указанного главного ключа, идентификатора диска, который является информацией, считываемой с указанного носителя записи информации, и двух заглавных ключей, записанных на указанном носителе записи информации, при этом указанный первый ключ К1 записи генерируется посредством выполнения процесса шифрования на основе указанного первого заглавного уникального ключа и первой информации, считанной с указанного носителя записи информации; и указанный второй ключ К2 записи генерируется посредством выполнения процесса шифрования на основе указанного второго заглавного уникального ключа и второй информации, считанной с носителя записи информации.
5. Устройство для обработки информации по п.2, причем указанное устройство для обработки информации содержит средства памяти для хранения информации для генерирования главного ключа, а указанное средство обработки шифрования дополнительно генерирует главный ключ на основе указанной информации для генерирования главного ключа, генерирует первый заглавный уникальный ключ и второй заглавный уникальный ключ на основе указанного главного ключа, идентификатора диска, который является информацией, считываемой с указанного носителя записи информации, и одного ключевого начального числа, записанного на указанном носителе записи информации; указанный первый ключ К1 записи генерируется посредством выполнения процесса шифрования на основе указанного первого заглавного уникального ключа и первой информации, считанной с указанного носителя записи информации; и указанный второй ключ К2 записи генерируется посредством выполнения процесса шифрования на основе указанного второго заглавного уникального ключа и второй информации, считанной с указанного носителя записи информации.
6. Привод для носителя записи информации, предназначенный для считывания зашифрованных данных с носителя записи информации и выдачи зашифрованных данных во внешнее устройство, при этом указанный привод для носителя записи информации содержит модуль аутентификации для выполнения процесса аутентификации с указанным внешним устройством для приема зашифрованных данных, считанных с указанного носителя записи информации, с целью генерирования ключа Ks сеанса; и средство обработки шифрования для генерирования первого блочного ключа Kb1 на основе первого начального числа, служащего в качестве информации для генерирования ключа, установленного для каждого из блоков обработки шифрования, составляющих указанные зашифрованные данные, хранящиеся на указанном носителе записи информации; получения второго начального числа для выполнения процесса расшифровки зашифрованного второго начального числа, хранящегося на указанном носителе записи, на основе указанного генерированного первого блочного ключа Kb1 и генерирования выходной зашифрованной информации посредством выполнения процесса шифрования данных, включающих указанное второе начальное число, на основе указанного ключа Ks сеанса, при этом указанная выходная зашифрованная информация, полученная в результате указанного процесса шифрования данных, включающих указанное второе начальное число, на основе указанного ключа Ks сеанса, выдается через интерфейс.
7. Устройство для обработки информации, предназначенное для выполнения процесса расшифровки зашифрованных данных, полученных из внешнего устройства через интерфейс ввода данных, при этом устройство для обработки данных содержит модуль аутентификации для выполнения процесса аутентификации с указанным внешним устройством, выдающим указанные зашифрованные данные, с целью генерирования ключа Ks сеанса и модуль обработки шифрования для получения начального числа, используемого в качестве информации для генерирования ключа, и ключа записи посредством выполнения процесса на основе указанного ключа сеанса для расшифровки зашифрованной информации, принятой через указанный интерфейс ввода данных; генерирования блочного ключа для использования в качестве ключа расшифровки для расшифровки зашифрованных данных посредством выполнения процесса шифрования на основе указанного начального числа и указанного ключа записи и выполнения процесса на основе указанного блочного ключа для расшифровки зашифрованных данных.
8. Привод для носителя записи информации, предназначенный для считывания зашифрованных данных с носителя записи информации и выдачи зашифрованных данных во внешнее устройство, при этом указанный привод для носителя записи информации содержит модуль аутентификации для выполнения процесса аутентификации с указанным внешним устройством для приема указанных зашифрованных данных, считанных с указанного носителя записи информации, с целью генерирования ключа Ks сеанса и средство обработки шифрования для генерирования блочного ключа на основе начального числа, служащего в качестве информации для генерирования ключа, установленного для каждого из блоков обработки шифрования, составляющих зашифрованные данные, хранящиеся на указанном носителе записи; получения расшифрованных данных посредством выполнения процесса расшифровки указанных зашифрованных данных, хранящихся на указанном носителе записи информации, на основе указанного генерированного блочного ключа и генерирования выходной зашифрованной информации посредством выполнения процесса шифрования указанных расшифрованных данных на основе указанного генерированного ключа Ks сеанса, при этом указанная выходная зашифрованная информация, полученная в результате указанного процесса шифрования указанных расшифрованных данных на основе указанного ключа Ks сеанса, выдается через интерфейс.
9. Способ обработки информации, предназначенный для выполнения процесса расшифровки зашифрованных данных, хранящихся на носителе записи информации, при этом указанный способ обработки информации содержит этапы: генерирования первого блочного ключа Kb1 на основе первого начального числа, служащего в качестве информации для генерирования ключа, установленного для каждого из блоков зашифрованной информации, составляющих указанные зашифрованные данные, хранящиеся на указанном носителе записи информации; получения второго начального числа посредством выполнения процесса расшифровки зашифрованного второго начального числа, хранящегося на указанном носителе записи информации, на основе указанного генерированного первого блочного ключа Kb1; генерирования второго блочного ключа Kb2 на основе указанного полученного второго начального числа и расшифровки указанных зашифрованных данных, хранящихся на указанном носителе записи информации, посредством выполнения процесса расшифровки на основе указанного генерированного второго блочного ключа Kb2.
10. Способ обработки информации по п.9, в котором способ обработки информации дополнительно содержит этапы: генерирования главного ключа на основе информации для генерирования главного ключа, считанной из средства хранения; генерирования двух ключей К1 и К2 записи на основе указанного генерированного главного ключа и информации, считанной с указанного носителя записи информации; генерирования первого блочного ключа Kb1 посредством выполнения процесса шифрования на основе указанного генерированного первого ключа К1 записи и указанного первого начального числа; получения второго начального числа посредством выполнения процесса расшифровки зашифрованного второго начального числа, хранящегося на указанном носителе записи, на основе указанного генерированного первого блочного ключа Kb1; генерирования второго блочного ключа Kb2 посредством выполнения процесса шифрования на основе указанного полученного второго начального числа и указанного генерированного второго блочного ключа Kb2 и расшифровки указанных зашифрованных данных, хранящихся на указанном носителе записи информации, посредством выполнения процесса расшифровки на основе указанного генерированного второго блочного ключа Kb2.
11. Способ обработки информации по п.10, в котором указанный способ обработки информации дополнительно содержит этапы: генерирования главного ключа на основе информации для генерирования главного ключа, считанной из средства хранения, при этом указанные ключи К1 и К2 генерируются на основе указанного генерированного главного ключа информации, считанной с указанного носителя записи информации.
12. Способ обработки информации по п.10, в котором указанный способ обработки информации дополнительно содержит этапы: генерирования главного ключа на основе информации для генерирования главного ключа, считанной из средства хранения, генерирования первого заглавного уникального ключа и второго заглавного уникального ключа на основе указанного главного ключа, идентификатора диска, который является информацией, считываемой с указанного носителя записи информации, и одного ключевого начального числа, записанного на указанном носителе записи информации; указанный первый ключ К1 записи генерируется посредством выполнения процесса шифрования на основе указанного первого заглавного уникального ключа и первой информации, считанной с указанного носителя записи информации; и указанный второй ключ К2 записи генерируется посредством выполнения процесса шифрования на основе указанного второго заглавного уникального ключа и второй информации, считанной с указанного носителя записи информации.
13. Способ обработки информации по п.10, в котором указанный способ обработки информации дополнительно содержит этапы: генерирования главного ключа на основе информации для генерирования главного ключа, считанной из средства хранения, генерирования первого заглавного уникального ключа и второго заглавного уникального ключа на основе указанного главного ключа, идентификатора диска, который является информацией, считываемой с указанного носителя записи информации, и одного ключевого начального числа, записанного на указанном носителе записи информации, при этом указанный первый ключ К1 записи генерируется посредством выполнения процесса шифрования на основе указанного первого заглавного уникального ключа и первой информации, считанной с указанного носителя записи информации, и указанный второй ключ К2 записи генерируется посредством выполнения процесса шифрования на основе указанного второго заглавного уникального ключа и второй информации, считанной с указанного носителя записи информации.
14. Способ обработки информации, предназначенный для считывания зашифрованных данных с носителя записи информации и выдачи зашифрованных данных во внешнее устройство, при этом указанный способ обработки информации содержит этапы: выполнения процесса аутентификации с указанным внешним устройством для приема указанных зашифрованных данных, считанных с указанного носителя записи информации, с целью генерирования ключа Ks сеанса; генерирования первого блочного ключа Kb1 на основе первого начального числа, служащего в качестве информации для генерирования ключа, установленного для каждого из блоков обработки шифрования, составляющих указанные зашифрованные данные, хранящиеся на указанном носителе записи информации; получения второго начального числа посредством выполнения процесса расшифровки зашифрованного второго начального числа, хранящегося на указанном носителе записи информации, на основе указанного генерированного первого блочного ключа Kb1; генерирования выходной зашифрованной информации посредством выполнения процесса шифрования данных, включающих указанное второе начальное число, на основе указанного ключа Ks сеанса; и выдачи указанной выходной зашифрованной информации, полученной в результате указанного процесса шифрования данных, включающих указанное второе начальное число, на основе указанного ключа Ks сеанса, через интерфейс.
15. Способ обработки информации по п.14, в котором указанный способ обработки информации дополнительно содержит этапы: генерирования главного ключа на основе информации для генерирования главного ключа, удерживаемой в приводе для носителя записи информации; генерирования двух ключей К1 и К2 записи на основе указанного главного ключа и информации, считанной с указанного носителя записи информации; генерирования первого блочного ключа Kb1 посредством выполнения процесса шифрования на основе указанного генерированного первого ключа К1 записи и указанного первого начального числа; получения второго начального числа посредством выполнения процесса расшифровки зашифрованного второго начального числа, хранящегося на указанном носителе записи, на основе указанного генерированного первого блочного ключа Kb1; генерирования выходной зашифрованной информации посредством шифрования данных, включающих указанное второе начальное число и указанный второй ключ К2 записи, на основе указанного ключа Ks сеанса; и выдачи указанной выходной зашифрованной информации, включающей указанное второе начальное число и указанный второй ключ К2 записи, через интерфейс.
16. Способ обработки информации, предназначенный для выполнения процесса расшифровки зашифрованных данных, принятых с внешнего устройства через интерфейс ввода данных, при этом указанный способ обработки информации содержит этапы: выполнения процесса аутентификации с указанным внешним устройством, выдающим указанные зашифрованные данные, с целью генерирования ключа Ks сеанса; получения начального числа, используемого в качестве информации для генерирования ключа, и ключа записи посредством выполнения процесса на основе указанного ключа сеанса с целью расшифровки зашифрованной информации, принятой через указанный интерфейс ввода данных; генерирования блочного ключа для использования в качестве ключа расшифровки для расшифровки зашифрованных данных посредством выполнения процесса шифрования на основе указанного начального числа и указанного ключа записи; и выполнения процесса на основе указанного блочного ключа для расшифровки зашифрованных данных.
17. Способ обработки информации, предназначенный для считывания зашифрованных данных с носителя записи информации и выдачи зашифрованных данных во внешнее устройство, при этом указанный способ обработки информации содержит этапы: выполнения процесса аутентификации с указанным внешним устройством для приема указанных зашифрованных данных, считанных с указанного носителя записи информации, с целью генерирования ключа Ks сеанса; генерирования блочного ключа на основе начального числа, служащего в качестве информации для генерирования ключа, установленного для каждого из блоков обработки шифрования, составляющих указанные зашифрованные данные, хранящиеся на указанном носителе записи информации; получения расшифрованных данных посредством выполнения процесса расшифровки зашифрованных данных, хранящихся на указанном носителе записи информации, на основе указанного генерированного блочного ключа; генерирования выходной зашифрованной информации посредством выполнения процесса шифрования указанных расшифрованных данных на основе указанного генерированного ключа Ks сеанса; и выдачи указанной выходной зашифрованной информации, полученной в результате указанного процесса шифрования указанных расшифрованных данных на основе указанного ключа Ks сеанса, через интерфейс.
РИСУНКИ
|
|