|
|
(21), (22) Заявка: 2007129727/09, 18.04.2005
(24) Дата начала отсчета срока действия патента:
18.04.2005
(30) Конвенционный приоритет:
03.01.2005 KR 10-2005-0000228 12.01.2005 KR 10-2005-0002886
(46) Опубликовано: 27.05.2009
(56) Список документов, цитированных в отчете о поиске:
RU 2168872 С1, 10.06.2001. RU 32300 U1, 10.09.2003. JP 57-127729 А, 09.08.1982. JP 57-52725 А, 29.03.1982.
(85) Дата перевода заявки PCT на национальную фазу:
03.08.2007
(86) Заявка PCT:
KR 2005/001105 20050418
(87) Публикация PCT:
WO 2006/073222 20060713
Адрес для переписки:
129090, Москва, ул. Б.Спасская, 25, стр.3, ООО “Юридическая фирма Городисский и Партнеры”, пат.пов. Ю.Д.Кузнецову, рег. 595
|
(72) Автор(ы):
КИЛ Дзонг-Дзин (KR)
(73) Патентообладатель(и):
КИЛ Дзонг-Дзин (KR)
|
(54) РЕГУЛЯТОР ТЕМПЕРАТУРЫ, СПОСОБ РЕГУЛИРОВАНИЯ ТЕМПЕРАТУРЫ И ИСПОЛЬЗУЕМЫЙ НАГРЕВАТЕЛЬНЫЙ ПРОВОД
(57) Реферат:
Настоящее изобретение касается регулятора температуры, не излучающего электромагнитных волн, для нагревательного кабеля и используемого способа с возможностью выполнения нагрева и измерения температуры в режиме отсутствия электромагнитных волн без закорачивания одного конца нагревательного кабеля, используемого в подогревателях типа электрических полов, электрических матов и электрических устройств для лечения сухим или влажным теплом. Кроме того, настоящее изобретение касается нагревательного кабеля с измерением температуры, не излучающего электромагнитных волн, и регулятора температуры с возможностью уменьшения количества теплоты и регулирования температуры без использования отдельного температурного датчика при регулировании температуры нагревательного кабеля или перегреве произвольного участка нагревательного кабеля и возможностью предотвращения генерации магнитного поля в нагревательном кабеле, обеспечиваемого без закорачивания одного конца электрических нагревательных проводов, и прерывания генерации электрического поля рассеяния. Изобретение позволяет создать регулятор температуры и нагревательный кабель, обеспечивающий при нагреве в бытовых условиях надежность, минимальную толщину нагревателя и создающий комфортные условия при использовании. 4 н. и 30 з.п. ф-лы, 54 ил.
ОБЛАСТЬ ТЕХНИКИ, К КОТОРОЙ ОТНОСИТСЯ ИЗОБРЕТЕНИЕ
Настоящее изобретение относится к регулятору температуры, не излучающему электромагнитных волн, для нагревательного кабеля, и используемому способу с возможностью выполнения нагрева и измерения температуры в режиме отсутствия электромагнитных волн без закорачивания одного конца нагревательного кабеля, используемого в подогревателях типа электрических полов, электрических матов и электрических устройств для лечения сухим или влажным теплом. Кроме того, настоящее изобретение касается нагревательного кабеля с измерением температуры, не излучающего электромагнитных волн, и регулятора температуры с возможностью уменьшения количества теплоты и регулирования температуры без использования отдельного температурного датчика при регулировании температуры нагревательного кабеля или перегреве произвольного участка нагревательного кабеля и возможностью предотвращения генерации магнитного поля в нагревательном кабеле, обеспечиваемого без закорачивания одного конца электрических нагревательных проводов, и прерывания генерации электрического поля рассеяния.
Условия вокруг кровати, такие как температура и влажность, являются важными факторами для контроля сна людей. Для поддержания соответствующей температуры в кровати во многих домах широко используются постельные принадлежности с электрическим подогревом и подогреватели типа электрических полов, электрических матов или электрических устройств для лечения сухим или влажным теплом. Такие постельные принадлежности с электрическим подогревом и подогреватели содержат нагревательные кабели, которые при подаче питания вырабатывают тепло. Поэтому регулятор температуры, измеряющий температуру вокруг нагревательного кабеля и управляющий подачей питания на основе измеренной температуры, является жизненно необходимым.
В традиционном нагревательном кабеле для постельных принадлежностей измерение температуры осуществляется путем закорачивания одного из двух параллельно размещенных металлических электрических нагревательных проводов и использования отдельного температурного датчика. Недостаток такого способа, в котором температурный датчик и нагревательный провод отделены один от другого, заключается в невозможности измерения температуры всего нагревательного кабеля при его внутреннем коротком замыкании или локальном перегреве на произвольном участке. Следовательно, существуют проблемы, обусловленные вероятностью возникновения пожара и удара током при локальном перегреве нагревательного кабеля, его коротком замыкании или обрыве.
Другой традиционный способ заключается в закорачивании одного конца двух параллельно размещенных металлических электрических нагревательных проводов, установке отдельного датчика на окружной поверхности или на внутренней центральной поверхности этого конца и измерении температуры с использованием третьего электрического провода. Недостатками способа измерения температуры с использованием третьего электрического провода без отделения провода нагревательного кабеля являются необходимость наращивания слоя температурного датчика и третьего металлического слоя на этот нагревательный кабель и неизбежные при этом увеличение толщины электрического нагревательного провода, работающего при отсутствии магнитного поля, не позволяющее использовать его для постельных принадлежностей малой толщины, усложнение процесса изготовления нагревательного кабеля и увеличение производственных затрат. Кроме того, недостатками всех описанных выше способов, связанными с регулированием температуры нагревательного кабеля, являются невозможность их практического использования вследствие чрезмерной толщины нагревательного кабеля и отсутствие возможности перехвата вредных электромагнитных волн, обусловленных напряжением или током.
При этом в нагревательных кабелях каждый из традиционных нагревательных проводов, работающих при отсутствии магнитного поля и используемых в качестве нагревательных элементов для постельных принадлежностей с электрическим подогревом и подогревателей типа электрических полов, электрических матов или матов для лечения сухим или влажным теплом, включает в себя жилу сердечника, сформированную из полиэфирной нити или стекловаты, катушку нагревателя, намотанную по спирали вокруг жилы сердечника, внутренний изоляционный элемент, нанесенный на катушку нагревателя, намотанную вокруг окружной поверхности жилы сердечника, для изоляции катушки нагревателя, заземленный экран, установленный на окружной поверхности внутреннего изоляционного элемента в виде проводника или сетки, и внешний изоляционный элемент, нанесенный на этот экран. В описанной выше конструкции катушка нагревателя и экран электрически соединены на своих концах один с другим в последовательную цепь и передние концы этой цепи становятся клеммами подвода питания, которые соединены с клеммами (+) и (-) источника питания.
Недостатки традиционного нагревательного кабеля, работающего при отсутствии магнитного поля, заключаются в использовании внутреннего изоляционного элемента, которое приводит к чрезмерному увеличению толщины этого нагревательного кабеля и недостаточной его гибкости. Таким образом, в традиционном нагревательном кабеле для постельных принадлежностей, работающем при отсутствии магнитного поля, внутренний изоляционный элемент размягчается под действием высокой температуры, создаваемой катушкой нагревателя в процессе нагрева, и свойства внутреннего изоляционного элемента быстро ухудшаются, так что для предотвращения короткого замыкания катушки нагревателя и экрана внутренний изоляционный элемент должен иметь большую толщину. В соответствии с этим толщина традиционного нагревательного кабеля составляет, по меньшей мере, 6 мм, что приводит к возникновению проблем, связанных с выступанием традиционного нагревательного кабеля и давлении на тело человека при использовании этого нагревательного кабеля в электрическом мате, и почти полной невозможности применения традиционного нагревательного кабеля в постельных принадлежностях малой толщины типа электрических матов, электрических покрытий и электрических полов вследствие его чрезмерной толщины и недостаточной гибкости.
Для решения вышеописанных задач заявителем настоящего изобретения был предложен нагревательный кабель, раскрытый в публикации не прошедшей экспертизу заявке на патент Кореи 2004-87853. Преимущества усовершенствованного нагревательного кабеля заключаются в том, что уменьшение толщины внутреннего изоляционного элемента достигается за счет использования нагревательного провода, покрытого эмалью, а предотвращение ухудшения рабочих характеристик под действием многократных изгибающих усилий, прикладываемых к нагревательному кабелю, – за счет намотки токоподводящего провода вокруг окружной поверхности внутреннего изоляционного элемента. Такие решения позволяют полностью преодолеть проблемы чрезмерной толщины и недостаточной гибкости.
Однако усовершенствованный нагревательный кабель не позволяет выполнять функции обнаружения локального перегрева и, следовательно, регулирования проводимости. В случае возникновения локального перегрева или повышения фактической температуры до уровня, превышающего опорную температуру, на произвольном участке нагревательного кабеля длиной несколько десятков метров происходит отключение питания вследствие опасности пожара или ожога. Для выполнения этих функций требуется отдельное устройство измерения температуры. Таким образом, появляется недостаток, связанный с дополнительной установкой множества устройств измерения температуры на произвольных участках для измерения температуры длинного нагревательного кабеля. Эти устройства измерения температуры образуют выступы на постельных принадлежностях и, таким образом, причиняют неудобства пользователям. В частности, возникает задача, обусловленная трудностью крепления устройств измерения температуры на постельных принадлежностях малой толщины.
РАСКРЫТИЕ ИЗОБРЕТЕНИЯ
Техническая задача
Настоящее изобретение предполагает разрешение вышеописанных задач, и целью настоящего изобретения является создание регулятора температуры и способа регулирования температуры с возможностью выполнения нагрева и измерения температуры в режиме отсутствия электромагнитных волн без закорачивания одного конца нагревательного кабеля. Другая цель настоящего изобретения заключается в создании регулятора температуры и способа регулирования температуры с возможностью предотвращения излучения вредных электромагнитных волн нагревательным кабелем, используемым для постельных принадлежностей, и т.д.
Другая цель настоящего изобретения заключается в создании регулятора температуры и способа регулирования температуры с возможностью прерывания подачи сверхтока в результате принудительного размыкания плавкого предохранителя в случае невозможности регулирования температуры электрического нагревательного провода. Другая цель настоящего изобретения заключается в создании регулятора температуры и способа регулирования температуры с возможностью обнаружения локального перегрева на произвольном участке, а также измерения температуры всего электрического нагревательного провода. Кроме того, другая цель настоящего изобретения заключается в создании регулятора температуры и способа регулирования температуры с возможностью заземления поверхностного электрического поля нагревательного кабеля при нулевом электрическом потенциале.
Кроме того, еще одной целью настоящего изобретения является создание нагревательного кабеля с измерением температуры, не излучающего электромагнитных волн, снабженного терморезистором, включенным между первым электрическим нагревательным слоем и вторым электрическим нагревательным слоем, и обеспечивающего автоматическое уменьшение количества теплоты в результате снижения сопротивления терморезистора в случае, когда температура нагревательного кабеля достигает опорной температуры или происходит перегрев произвольного участка этого нагревательного кабеля.
Кроме того, еще одной целью настоящего изобретения является создание нагревательного кабеля, не излучающего электромагнитных волн, с возможностью обеспечения состояния без излучения электромагнитных волн в результате поддержания низких падений напряжения на обоих концах второго электрического нагревательного слоя, экранирования электрического поля с целью ослабления его рассеяния и управления этим рассеянием и полного перехвата любого электрического поля рассеяния в результате покрытия окружной поверхности второго электрического нагревательного слоя отдельным слоем проводящего покрытия, что таким образом одновременно предотвращает формирование как магнитного, так и электрического полей.
Кроме того, в настоящем изобретении предлагается нагревательный кабель, не излучающий электромагнитных волн, снабженный слоем проводящего покрытия, окружающим второй электрический нагревательный слой, что таким образом по существу предотвращает формирование электрического поля рассеяния.
Техническое решение
Для достижения вышеописанных целей в примере осуществления настоящего изобретения предлагается регулятор температуры, не излучающий электромагнитных волн, для нагревательного кабеля, используемого в постельных принадлежностях, включающий в свой состав блок регулирования температуры, соединенный с нагревательным кабелем, который включает в себя первый и второй электрические нагревательные провода, размещенные параллельно, и терморезистор с отрицательным температурным коэффициентом (NTC), и предназначенный для сравнения напряжения сигнала температуры, вырабатываемого первым электрическим нагревательным проводом, с опорным напряжением и вырабатывания сигнала регулирования температуры; и управляемый выпрямительный блок, обеспечивающий возврат тока нагрева с конца второго электрического нагревательного провода, соединенного с источником питания, через второй и первый концы первого электрического нагревательного провода в сторону источника питания при обеспечении проводимости под действием управляющего сигнала блока регулирования температуры, причем состояние отсутствия магнитного поля электрических нагревательных проводов реализуется путем компенсации противоположно направленных магнитных полей во время измерения температуры и нагрева.
Регулятор температуры, не излучающий электромагнитных волн, дополнительно содержит блок регулирования напряжения сигнала температуры для настройки напряжения измерения температуры, которое прикладывается к первому концу первого электрического нагревательного провода.
Блок регулирования температуры включает в свой состав блок генерации опорного напряжения для вырабатывания опорного напряжения; блок сравнения и измерения для сравнения напряжения сигнала температуры с опорным напряжением и вырабатывания сигнала возбуждения, осуществляемого в случае, когда напряжение сигнала температуры превышает опорное напряжение; блок задержки отпирающих сигналов, настроенный на запуск с помощью сигнала возбуждения блока сравнения и измерения и предназначенный для задержки отпирающего сигнала на заданное время; и блок вывода отпирающих сигналов для вырабатывания отпирающих сигналов по истечении времени, на которое блок задержки отпирающих сигналов задерживает отпирающий сигнал.
Управляемый выпрямительный блок включает в свой состав реверсивный выпрямитель тока нагрева, включенный между вторым концом первого электрического нагревательного провода и вторым электрическим нагревательным проводом. Кроме того, реверсивный выпрямитель тока нагрева размещен так, что его катод соединен со вторым концом первого электрического нагревательного провода, а анод – со вторым электрическим нагревательным проводом на той же самой стороне.
Управляемый выпрямительный блок размещен так, что его анод соединен с первым концом первого электрического нагревательного провода параллельно блоку регулирования напряжения сигнала температуры, а катод – с источником питания, и дополнительно содержит управляемый выпрямитель, отпираемый под действием управляющего сигнала блока регулирования температуры.
Управляемый выпрямительный блок размещен так, что его анод соединен с первым концом первого электрического нагревательного провода параллельно блоку регулирования напряжения сигнала температуры, а катод – с источником питания, и дополнительно содержит управляемый выпрямитель, отпираемый под действием управляющего сигнала блока регулирования температуры.
Управляемый выпрямительный блок включает в свой состав реверсивный выпрямитель, катод которого соединен со вторым концом первого электрического нагревательного провода, а анод – со вторым электрическим нагревательным проводом на той же самой стороне, и управляемый выпрямитель, анод которого соединен с первым концом первого электрического нагревательного провода параллельно блоку регулирования напряжения сигнала температуры, а катод – с источником питания и отпирание которого происходит под действием управляющего сигнала блока регулирования температуры.
Блок регулирования напряжения сигнала температуры включает в свой состав резистор, первый конец которого соединен c источником питания; и переменный резистор для настройки напряжения измерения температуры, включенный между вторым концом резистора и первым концом первого электрического нагревательного провода.
Блок регулирования напряжения сигнала температуры включает в свой состав первый и второй резисторы, включенные последовательно один с другим; и переменный резистор, включенный между первым резистором и вторым резистором; а также третий резистор, первый конец которого соединен с источником питания, а второй конец – с подвижным контактом переменного резистора; причем первый конец первого резистора соединен с первым электрическим нагревательным проводом, первый конец второго резистора соединен со вторым электрическим нагревательным проводом на той же самой стороне, а входной импеданс согласован путем подгонки сопротивления переменного резистора.
Блок регулирования напряжения сигнала температуры содержит резистор для фиксации напряжения, прикладываемого к первому концу первого электрического нагревательного провода; и блок генерации опорного напряжения, которое может изменяться.
Блок регулирования температуры включает в свой состав блок ввода для задания опорного напряжения и времени задержки; блок управления, обеспечивающий задержку отпирающего сигнала на заданное время задержки в случае, когда вырабатываемое напряжение сигнала температуры превышает опорное напряжение; блок вывода отпирающих сигналов для вырабатывания отпирающего сигнала под действием управляющего сигнала блока управления; и выходной блок для вырабатывания полученных опорного напряжения и времени задержки под действием управляющего сигнала блока управления.
Блок управления представляет собой микрокомпьютерную схему для ввода и вывода аналогового сигнала.
Блок регулирования температуры и управляющий электрод управляемого выпрямителя соединены один с другим при помощи оптронного кремниевого управляемого выпрямителя (SCR).
Блок регулирования температуры включает в свой состав разрядный резистор, включенный последовательно с управляющим электродом управляемого выпрямителя; выпрямительный диод, включенный последовательно с разрядным резистором; конденсатор, включенный параллельно между резистором в цепи смещения управляющего электрода и выпрямительным диодом; стабилитрон сравнения; резистор ограничения входного тока управляющего электрода; SCR, анод которого соединен с конденсатором, а управляющий электрод – с резистором ограничения входного тока управляющего электрода; резистор в цепи смещения управляющего электрода SCR, включенный параллельно резистору ограничения входного тока управляющего электрода и управляющему электроду SCR; и резистор ограничения зарядного тока, включенный параллельно между анодом SCR и конденсатором.
Управляющий электрод управляемого выпрямителя изолирован при помощи оптронного SCR; со стороны светоизлучающего элемента оптронный SCR включен последовательно с разрядным резистором, а со стороны фотоприемника оптронный SCR включен между управляющим электродом и анодом управляемого выпрямителя последовательно с отпирающим резистором.
Регулятор температуры, не излучающий электромагнитных волн, дополнительно содержит устройство защиты от обратного сверхтока, которое содержит первый диод, включенный параллельно первому электрическому нагревательному проводу в направлении, противоположном направлению тока нагрева; стабилитрон, включенный параллельно реверсивному выпрямителю тока нагрева; и второй диод, включенный параллельно второму электрическому нагревательному проводу в направлении, противоположном направлению тока нагрева; причем в случае генерации сверхтока в результате короткого замыкания управляемого выпрямителя устройство защиты от обратного сверхтока размыкает плавкий предохранитель.
Регулятор температуры, не излучающий электромагнитных волн, дополнительно содержит световой индикатор земли, соединенный с первым концом второго электрического нагревательного провода, который является заземленным; и точку визуального контроля, предназначенную для предотвращения генерации поверхностного электрического поля электрического нагревательного провода путем установки светового индикатора земли в выключенное положение.
В другом примере осуществления настоящего изобретения предлагается способ регулирования температуры без излучения электромагнитных волн для нагревательного кабеля, включающий в себя этап измерения температуры, заключающийся в измерении напряжения сигнала температуры, вырабатываемого со стороны второго конца первого электрического нагревательного провода, противоположного по отношению к первому концу нагревательного кабеля, соединенному с источником питания; этап регулирования температуры, заключающийся в вырабатывании управляющего сигнала, осуществляемом в случае, когда вырабатываемое напряжение сигнала температуры превышает опорное напряжение; и этап нагрева, заключающийся в обеспечении возможности протекания тока с первого конца второго электрического нагревательного провода, который соединен с источником питания, через первый и второй концы первого электрического нагревательного провода в сторону источника питания.
Способ регулирования температуры без излучения электромагнитных волн дополнительно включает в себя этап регулирования напряжения измерения температуры, прикладываемого к первому концу первого электрического нагревательного провода.
Этап регулирования температуры включает в себя этапы вырабатывания опорного напряжения; сравнения напряжения сигнала температуры с опорным напряжением и вырабатывания сигнала возбуждения, осуществляемого в случае, когда напряжение сигнала температуры превышает опорное напряжение; задержки отпирающего сигнала на определенное время задержки, осуществляемой под действием сигнала возбуждения; и вырабатывания отпирающего сигнала по истечении времени задержки.
Нагревательный кабель с измерением температуры, не излучающий электромагнитных волн, который используется в сочетании с регулятором температуры и способом регулирования температуры, включает в себя первый электрический нагревательный слой, соединенный с одним из концов источника питания; слой терморезистора, нанесенный вокруг первого электрического нагревательного слоя; второй электрический нагревательный слой, намотанный по окружности слоя терморезистора и соединенный со стороны своего первого конца со вторым концом источника питания; и изолирующий слой, предназначенный для изоляции слоя терморезистора и второго электрического нагревательного слоя и окружающий эти слои снаружи; причем токи нагрева или токи измерения температуры, протекающие через первые и вторые электрические нагревательные слои, имеют одну и ту же величину и протекают в противоположных направлениях, а второй электрический нагревательный провод выполняет функцию экранирования.
Нагревательный кабель с измерением температуры, не излучающий электромагнитных волн, который используется в сочетании с регулятором температуры и способом регулирования температуры, включает в себя первый электрический нагревательный слой, соединенный с одним из концов источника питания; слой терморезистора, нанесенный вокруг первого электрического нагревательного слоя; второй электрический нагревательный слой, намотанный по окружности слоя терморезистора и соединенный на своем первом конце со вторым концом источника питания; и слой проводящего покрытия, предназначенный для изоляции слоя терморезистора и второго электрического нагревательного слоя и окружающий эти слои снаружи.
Первый электрический нагревательный слой включает в себя жилу сердечника, проходящую через центральную часть первого электрического нагревательного слоя; и электрический нагревательный провод, намотанный по спирали вокруг окружной поверхности жилы сердечника и соединенный с одним из концов источника питания, причем проводимость обеспечивается через этот электрический нагревательный провод.
Нагревательный кабель с измерением температуры, не излучающий электромагнитных волн, дополнительно включает в себя слой проводящего покрытия, размещенный между вторым электрическим нагревательным слоем и изолирующим слоем в результате нанесения на окружную поверхность этого второго электрического нагревательного слоя и вокруг него.
Слой терморезистора представляет собой резистор с NTC, сопротивление которого уменьшается с ростом температуры.
Второй электрический нагревательный слой включает в себя токоподводящий провод; причем этот токоподводящий провод намотан по спирали и с зазором между витками вокруг окружной поверхности слоя терморезистора.
Второй электрический нагревательный слой включает в себя первый и второй токоподводящие провода; причем эти первый и второй токоподводящие провода намотаны с зазором между витками вокруг окружной поверхности слоя терморезистора в виде двойной спирали с многократным взаимным пересечением и выполняют функцию экранирования.
Второй электрический нагревательный слой включает в себя первый и второй токоподводящие провода, причем первый токоподводящий провод намотан по спирали вокруг окружной поверхности слоя терморезистора, а второй токоподводящий провод проложен в продольном направлении по окружной поверхности слоя терморезистора и многократно пересекает первый токоподводящий провод.
Второй электрический нагревательный слой включает в себя металлическую пленку; причем эта металлическая пленка намотана по спирали вокруг окружной поверхности слоя терморезистора.
Второй электрический нагревательный слой включает в себя металлический экранирующий элемент, причем этот металлический экранирующий элемент выполнен вокруг окружной поверхности слоя терморезистора.
Второй электрический нагревательный слой включает в себя алюминиевый лист, причем этот алюминиевый лист выполнен вокруг окружной поверхности слоя терморезистора, а токоподводящий провод намотан по спирали вокруг окружной поверхности алюминиевого листа.
Слой проводящего покрытия выполнен из проводящего синтетического материала и полностью окружает слой терморезистора и второй электрический нагревательный слой так, что этот слой терморезистора и этот второй электрический нагревательный слой не выходят на внешнюю поверхность, что позволяет таким образом реализовать функцию экранирования.
Второй конец электрического нагревательного провода (или электрического нагревательного проводника) второго электрического нагревательного слоя соединен со вторым однонаправленным выпрямителем, который при этом обеспечивает возможность вырабатывания напряжения со стороны второго конца электрического нагревательного провода, второй конец второго электрического нагревательного слоя соединен с первым концом второго однонаправленного выпрямителя, а второй конец электрического нагревательного провода (или электрического нагревательного проводника) первого электрического нагревательного слоя соединен со вторым концом второго однонаправленного выпрямителя, в результате чего ток нагрева, подаваемый от источника питания на первый конец второго электрического нагревательного слоя, проходит через второй однонаправленный выпрямитель, поступает на второй конец электрического нагревательного проводника первого электрического нагревательного слоя и возвращается в источник питания.
Первый конец второго электрического нагревательного слоя является заземленным.
ПРЕИМУЩЕСТВА ИЗОБРЕТЕНИЯ
Как описано выше, преимущество настоящего изобретения заключается в том, что оно позволяет выполнять нагрев и измерение температуры в режиме отсутствия электромагнитных волн без закорачивания одного конца нагревательного кабеля и перехватывать вредные электромагнитные волны, излучаемые электрическими нагревательными проводами. Кроме того, преимуществом настоящего изобретения является то, что оно позволяет осуществлять прерывание подачи сверхтока в результате принудительного размыкания плавкого предохранителя для больших токов в случае невозможности регулирования температуры электрических нагревательных проводов.
Кроме того, преимуществом настоящего изобретения является то, что оно позволяет обнаруживать локальный перегрев на произвольном участке и измерять температуру всего электрического нагревательного провода, а также заземлять поверхностное электрическое поле нагревательного кабеля при нулевом электрическом потенциале.
Кроме того, преимущество настоящего изобретения заключается в возможности измерения собственной температуры самим нагревательным кабелем без отдельного датчика температуры и работы кабеля в соответствующем режиме.
Кроме того, преимущество настоящего изобретения заключается в том, что оно обеспечивает измерение температуры или протекание токов нагрева в противоположных направлениях в случае их протекания через первый электрический нагревательный слой и второй электрический нагревательный слой и позволяет таким образом предотвратить генерацию индуцированных магнитных полей в нагревательном кабеле.
Кроме того, преимуществом настоящего изобретения является использование второго электрического нагревательного слоя или второго электрического нагревательного слоя и слоя проводящего покрытия, окружающего этот второй электрический нагревательный слой, и обеспечиваемое таким образом практическое предотвращение генерации электрического поля рассеяния.
Кроме того, преимуществом настоящего изобретения является возможность выбора вариантов выполнения второго электрического нагревательного слоя в соответствии с областями использования и характеристиками.
КРАТКОЕ ОПИСАНИЕ ЧЕРТЕЖЕЙ
Фиг.1 – принципиальная схема конструкции регулятора температуры, не излучающего электромагнитных волн, для нагревательного кабеля в соответствии с настоящим изобретением, иллюстрирующая пример его осуществления;
фиг.2 – принципиальная схема регулятора температуры, представленного на фиг.1, иллюстрирующая пример осуществления нагревательного кабеля;
фиг.3 – эквивалентная электрическая схема регулятора температуры, представленного на фиг.1, иллюстрирующая операцию измерения температуры и протекание тока;
фиг.4 – эквивалентная электрическая схема регулятора температуры, представленного на фиг.1, иллюстрирующая операцию нагрева и протекание тока;
фиг.5 – графики характеристик терморезистора, сопротивление которого изменяется с температурой, и характеристик нагревательного кабеля, используемого в регуляторе температуры в соответствии с настоящим изобретением;
фиг.6 – график, иллюстрирующий операции измерения температуры и нагрева в нагревательном кабеле и операцию формирования условий отсутствия магнитного поля с учетом подводимой мощности AC;
фиг.7 – принципиальная схема конструкции регулятора температуры с улучшенным согласованием входного импеданса нагревательного кабеля с блоком регулирования напряжения сигнала температуры, иллюстрирующая другой пример его осуществления;
фиг.8 – принципиальная схема конструкции регулятора температуры с подачей фиксированного напряжения сигнала температуры и изменением опорного значения, обеспечиваемым блоком регулирования температуры, для регулирования температуры, иллюстрирующая пример его осуществления.
фиг.9 – принципиальная схема конструкции регулятора температуры, иллюстрирующая другой пример его осуществления, в котором блок регулирования температуры реализован с использованием микрокомпьютера для ввода и вывода аналоговых сигналов;
фиг.10 – принципиальная электрическая схема регулятора температуры, в котором фактически реализована конструкция, представленная на фиг.1;
фиг.11 – принципиальная электрическая схема регулятора температуры, в котором фактически реализована конструкция, представленная на фиг.7;
фиг.12 – принципиальная электрическая схема регулятора температуры, в котором цепь отпирания управляющего электрода отделена от управляемого выпрямителя, представленного на фиг.10, и реализована с использованием оптронного кремниевого управляемого выпрямителя (SCR);
фиг.13 – принципиальная электрическая схема регулятора температуры, в котором цепь отпирания управляющего электрода отделена от управляемого выпрямителя, представленного на фиг.11, и реализована с использованием оптронного SCR;
фиг.14 – график, иллюстрирующий реальные формы рабочих сигналов в примерах осуществления с иллюстрациями на фиг.11-13;
фиг.15 – блок-схема, иллюстрирующая способ регулирования температуры нагревательного кабеля в режиме отсутствия магнитного поля в соответствии с настоящим изобретением;
фиг.16-19 – варианты схем, представленных на фиг.10-13;
фиг.20 – принципиальная схема конструкции регулятора температуры, иллюстрирующая один пример его осуществления, в котором использована конструкция нагревательного кабеля, представленная на фиг.1;
фиг.21 – принципиальная электрическая схема регулятора температуры, конструкция которого представлена на фиг.20;
фиг.22 – принципиальная электрическая схема регулятора температуры, в котором цепь отпирания управляющего электрода отделена от управляемого выпрямителя в принципиальной электрической схеме, представленной на фиг.21, и реализована с использованием оптронного SCR;
фиг.23 – принципиальная схема конструкции регулятора температуры, иллюстрирующая другой пример его осуществления, в котором использована конструкция, представленная на фиг.1;
фиг.24 – принципиальная электрическая схема регулятора температуры, конструкция которого представлена на фиг.23;
фиг.25 – принципиальная электрическая схема регулятора температуры, в котором цепь отпирания управляющего электрода отделена от управляемого выпрямителя в принципиальной электрической схеме, представленной на фиг.24, и реализована с использованием оптронного SCR;
фиг.26 – принципиальная схема конструкции регулятора температуры, иллюстрирующая пример его осуществления, в котором использована конструкция, представленная на фиг.7;
фиг.27 – принципиальная электрическая схема регулятора температуры, конструкция которого представлена на фиг.26;
фиг.28 – принципиальная электрическая схема регулятора температуры, в котором цепь отпирания управляющего электрода отделена от управляемого выпрямителя в принципиальной электрической схеме, представленной на фиг.27, и реализована с использованием оптронного SCR;
фиг.29 – принципиальная схема конструкции регулятора температуры, иллюстрирующая другой пример его осуществления, в котором использована конструкция, представленная на фиг.7;
фиг.30 – принципиальная электрическая схема регулятора температуры, конструкция которого представлена на фиг.31;
фиг.31 – принципиальная электрическая схема регулятора температуры, в котором цепь отпирания управляющего электрода отделена от управляемого выпрямителя в принципиальной электрической схеме, представленной на фиг.30, и реализована с использованием оптронного SCR;
фиг.32 – принципиальная схема конструкции регулятора температуры, иллюстрирующая пример его осуществления, в котором использована конструкция, представленная на фиг.8;
фиг.33 – принципиальная схема конструкции регулятора температуры, иллюстрирующая другой пример его осуществления, в котором использована конструкция, представленная на фиг.8;
фиг.34 – принципиальная схема конструкции регулятора температуры, иллюстрирующая пример его осуществления, в котором использована конструкция, представленная на фиг.9;
фиг.35 – принципиальная схема конструкции регулятора температуры, иллюстрирующая другой пример его осуществления, в котором использована конструкция, представленная на фиг.9;
фиг.36 и 37 – конструкции и сечения нагревательных кабелей в примерах осуществления 1-1 и 1-2 настоящего изобретения, в которых в качестве второго электрического нагревательного слоя используется токоподводящий провод;
фиг.38 и 39 – конструкции и сечения нагревательного кабеля в примере осуществления 1-3 настоящего изобретения, в котором в качестве второго электрического нагревательного слоя используется металлическая полоска;
фиг.40 и 41 – конструкции и сечения нагревательных кабелей в примерах осуществления 2-1 и 2-2 настоящего изобретения, отличающихся конструкцией первого электрического нагревательного слоя и использованием токоподводящих проводов в качестве второго электрического нагревательного слоя;
фиг.42 и 43 – конструкции и сечения нагревательного кабеля в примерах осуществления 2-3 настоящего изобретения, отличающихся конструкцией первого электрического нагревательного слоя и использованием металлической полоски в качестве второго электрического нагревательного слоя;
фиг.44, 45 и 46 – конструкции и сечения нагревательных кабелей в примерах осуществления 3-1, 3-2 и 3-3 настоящего изобретения, в которых снаружи второго электрического нагревательного слоя дополнительно имеется слой проводящего покрытия;
фиг.47, 48 и 49 – конструкции и сечения нагревательных кабелей в примерах осуществления 4-1, 4-2 и 4-3 настоящего изобретения, отличающихся конструкцией первого электрического нагревательного слоя и тем, что дополнительно снабжены слоем проводящего покрытия, выполненным снаружи второго электрического нагревательного слоя;
фиг.50 и 51 – конструкции и сечения нагревательных кабелей в примерах осуществления настоящего изобретения, отличающихся конструкцией второго электрического нагревательного слоя;
фиг.52 и 53 – принципиальные электрические схемы включения нагревательного кабеля согласно настоящему изобретению; и
фиг.54 – схематичная иллюстрация принципа рассеяния электрического поля из нагревательного кабеля и принципа перехвата электрического поля в нагревательном кабеле с помощью слоя проводящего покрытия.
ЛУЧШИЙ ВАРИАНТ ОСУЩЕСТВЛЕНИЯ ИЗОБРЕТЕНИЯ
Цели и признаки настоящего изобретения очевидны из следующего ниже подробного описания, ведущегося со ссылками на прилагаемые чертежи. В настоящем изобретении предлагается регулятор температуры с возможностью выполнения нагрева и измерения температуры в режиме отсутствия электромагнитных волн без закорачивания одного конца нагревательного кабеля в предпочтительном примере осуществления.
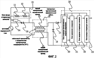
На фиг.1 представлена принципиальная схема конструкции регулятора температуры, не излучающего электромагнитных волн, для нагревательного кабеля в соответствии с настоящим изобретением, иллюстрирующая пример его осуществления, а на фиг.2 – принципиальная схема регулятора температуры, представленного на фиг.1, иллюстрирующая пример осуществления нагревательного кабеля. Как показано на фиг.1 и 2, регулятор температуры согласно настоящему изобретению включает в свой состав нагревательный кабель 16, выпрямитель 17 в цепи измерения напряжения сигнала температуры, блок 30 регулирования температуры и управляемые выпрямительные блоки 18 и 19.
Нагревательный кабель 16, используемый в постельных принадлежностях, подогревателе, электрообогревателе и ковре с электрообогревом, включает в себя первый электрический нагревательный провод 13, намотанной вокруг окружной поверхности изоляционного сердечника, терморезистор 14 с отрицательным температурным коэффициентом (NTC), выполненный вокруг первого электрического нагревательного провода 13 и имеющий сопротивление, уменьшающееся с ростом температуры, второй электрический нагревательный провод 15, намотанный вокруг окружной поверхности терморезистора 14 с NTC, и изолирующее покрытие, выполненное вокруг второго электрического нагревательного провода 15. Первый электрический нагревательный провод 13 и второй электрический нагревательный провод 15 размещены рядом или параллельно один другому.
Кроме того, в состав регулятора температуры согласно настоящему изобретению может дополнительно входить блок 31 регулирования напряжения сигнала температуры для настройки напряжения измерения температуры, прикладываемого к одному концу первого электрического нагревательного провода 13. В рассматриваемом примере осуществления изобретения блок 31 регулирования напряжения сигнала температуры включает в свой состав резистор 11, соединенный одним своим концом с источником питания, и переменный резистор 12 для настройки напряжения измерения температуры, включенный последовательно между другим концом резистора 11 и одним концом первого электрического нагревательного провода 13. Переменный резистор 12 позволяет регулировать температуру путем изменения напряжения, подводимого к терморезистору 14 с NTC.
Выпрямитель 17 в цепи измерения напряжения сигнала температуры соединен последовательно с другим концом первого электрического нагревательного провода 13 и пропускает через себя напряжение сигнала температуры, вырабатываемое со стороны другого конца первого электрического нагревательного провода 13. В преимущественном варианте рассматриваемого примера осуществления изобретения выпрямитель 17 в цепи измерения напряжения сигнала температуры представляет собой диод. При подаче подводимой мощности переменного тока (AC) в передний полупериод цикла AC вырабатывается сигнал, отражающий температурное изменение сопротивления терморезистора 14 с NTC, размещенного между первым электрическим нагревательным проводом 13 и вторым электрическим нагревательным проводом 15, который поступает в выпрямитель 17 в цепи измерения напряжения сигнала температуры. Ток сигнала измерения температуры проходит через первый электрический нагревательный провод 13, изменяет свое направление в терморезисторе 14 с NTC на противоположное и выходит через второй электрический нагревательный провод 15. При этом ток сигнала измерения температуры, протекающий через первый электрический нагревательный провод 13, и ток сигнала измерения температуры, протекающий через второй электрический нагревательный провод 15, имеют противоположные направления, так что магнитные поля компенсируют одно другое, и поэтому токи сигнала измерения температуры протекают в состоянии отсутствия магнитного поля.
Выпрямитель 17 в цепи измерения напряжения сигнала температуры служит для демонстрации раздельного выполнения операции измерения температуры и операции нагрева одной от другой в теоретической эквивалентной схеме и используется в операции измерения температуры. При этом в структуре реальной схемы для блока 30 регулирования температуры, воспринимающего напряжение сигнала температуры, достаточной является малая мощность сигнала, составляющая менее нескольких мВт, чтобы выходное значение напряжения сигнала температуры блока 31 регулирования напряжения сигнала температуры составляло менее нескольких мВт. Кроме того, в соответствии с заданием собственной точки усиления входного сигнала блока 30 регулирования температуры (в частности, в случае использования SCR 90 в составе блока 30 регулирования температуры, в частности в блоке 21 сравнения и измерения, разрешена операция выбора (+) или (-)) выбирается волновой сигнал (+) и (-) или сигнал (+) или (-) и обеспечивается возможность выполнения произвольной операции.
Следовательно, в условиях структуры реальной схемы, при которых для малого сигнала выпрямление не требуется или выбирается и используется сигнал (+), выпрямитель 17 в цепи измерения напряжения сигнала температуры используется в режиме перекрытия с логической точки зрения, так что выпрямитель 17 в цепи измерения напряжения сигнала температуры может быть исключен из состава схемы. Т.е. в случае, когда потребляемая мощность терморезистора 14 с NTC при преобразовании напряжения сигнала температуры составляет в результате преобразования и измерения менее нескольких мВт, в качестве напряжения измерительного сигнала терморезистора с NTC может быть выбрано напряжение AC или напряжение DC (постоянного тока), и использование выпрямителя 17 в цепи измерения напряжения сигнала температуры может быть выбрано в соответствии с условием, при котором блок 30 регулирования температуры задает рабочую точку, в которой работает измерительный входной сигнал терморезистора.
В случае, когда напряжение сигнала температуры, вырабатываемое первым электрическим нагревательным проводом, превышает опорное напряжение, блок 30 регулирования температуры вырабатывает управляющий сигнал. В рассматриваемом примере осуществления изобретения блок 30 регулирования температуры включает в свой состав блок 20 генерации фиксированного опорного напряжения для вырабатывания опорного напряжения, блок 21 сравнения и измерения для сравнения напряжения сигнала температуры с опорным напряжением и вырабатывания сигнала возбуждения, осуществляемого в случае, когда напряжение сигнала температуры превышает опорное напряжение, блок 22 задержки отпирающих сигналов, настроенный на запуск с помощью сигнала возбуждения, вырабатываемого блоком 21 сравнения и измерения, и предназначенный для задержки отпирающего сигнала на заданный период времени, и блок 23 вывода отпирающих сигналов для вырабатывания отпирающих сигналов по истечении периода времени, на которое блок задержки отпирающих сигналов задерживает отпирающие сигналы.
Управляемые выпрямители 18 и 19 обеспечивают протекание тока нагрева с конца второго электрического нагревательного провода 15, который соединен с источником питания, через концы первого электрического нагревательного провода 13 в сторону источника питания и изменяют его направление на противоположное при обеспечении проводимости под действием отпирающего сигнала. В рассматриваемом примере осуществления управляемый выпрямитель включает в себя реверсивный выпрямитель 18 тока нагрева и управляемый выпрямитель 19.
Реверсивный выпрямитель 18 тока нагрева имеет катод, соединенный с другим концом первого электрического нагревательного провода 13, и анод, соединенный со вторым электрическим нагревательным проводом 15 на той же самой стороне, причем в рассматриваемом примере осуществления изобретения в качестве реверсивного выпрямителя 18 используется диод.
Управляемый выпрямитель 19 имеет анод, соединенный с одним концом первого электрического нагревательного провода 13 параллельно блоку 31 регулирования напряжения сигнала температуры, и катод, соединенный с источником питания, причем включение выпрямителя осуществляется отпирающим сигналом блока 24 ввода отпирающих сигналов. В наиболее предпочтительном варианте в качестве управляемого выпрямителя используется кремниевый управляемый выпрямитель (SCR) регулирования мощности, который используется как управляемый выпрямитель 19.
Работа блока 22 задержки отпирающих сигналов начинается с периодом измерения температуры цикла AC и продолжается до включения управляемого выпрямителя 19 в период нагрева. В это время управляемый выпрямитель 19 характеризуется включением в нулевой точке и регулированием мощности.
Работа при отсутствии магнитного поля осуществляется таким образом, что, когда управляемый выпрямитель 19 включается при помощи выходного отпирающего сигнала блока 30 регулирования температуры, ток нагрева протекает через второй электрический нагревательный провод 15, реверсивный выпрямитель тока нагрева 18, первый электрический нагревательный провод 13 и управляемый выпрямитель 19, которые соединены последовательно с источником питания, и обеспечивает, таким образом, нагрев электрических нагревательных проводов.
На фиг.3 представлена эквивалентная электрическая схема регулятора температуры, представленного на фиг.1, иллюстрирующая операцию измерения температуры и протекание тока, а на фиг.4 – эквивалентная электрическая схема регулятора температуры, представленного на фиг.1, иллюстрирующая операцию нагрева и протекание тока в конструкции, представленной на фиг.1. На фиг.5 представлен график, иллюстрирующий характеристики терморезистора, в котором сопротивление изменяется с температурой, и характеристики нагревательного кабеля, используемого в регуляторе температуры согласно настоящему изобретению, а фиг.6 – график, иллюстрирующий операции измерения температуры и нагрева нагревательного кабеля и операцию формирования условий отсутствия магнитного поля с учетом подводимой мощности AC.
Несмотря на отсутствие соответствующей иллюстрации в примере осуществления настоящего изобретения, включение реверсивного выпрямителя 18 тока нагрева или как реверсивного выпрямителя 18 тока нагрева, так и управляемого выпрямителя 19 может осуществляться с помощью отпирающего сигнала. При этом в предпочтительном варианте как реверсивный выпрямитель 18 тока нагрева, так и управляемый выпрямитель 19 являются SCR.
В другом примере осуществления настоящего изобретения обеспечивается возможность достижения улучшенного согласования входного импеданса нагревательного кабеля c блоком регулирования напряжения сигнала температуры, как в конструкции регулятора температуры, представленной на фиг.7. В случае регулятора температуры, представленного на фиг.1, трудно обнаружить нулевое напряжение и переменное сопротивление во время измерения температуры должно достигать больших значений. В случае конструкции, как на фиг.7, легко обнаружить нулевое напряжение, так, чтобы было легко отрегулировать величину напряжения.
В еще одном другом примере осуществления переменный резистор 12 измерения температуры на фиг.1 может быть реализован в виде блока 20a генерации переменного опорного напряжения, как показано на фиг.8. Резистор 11 может фиксировать напряжение, прикладываемое к первому электрическому нагревательному проводу 13, а блок 20a генерации переменного опорного напряжения может задавать опорную температуру в режиме регулирования. Следовательно, температуру можно настраивать с помощью блока 20a генерации переменного опорного напряжения.
На фиг.9 представлена принципиальная схема конструкции регулятора температуры, иллюстрирующая другой пример его осуществления, в котором блок регулирования температуры реализован с использованием микрокомпьютера для ввода и вывода аналоговых сигналов. Как показано на фиг.9, блок 30 регулирования температуры включает в свой состав блок 41 питания, входной блок 42 для задания опорного напряжения и времени задержки, блок управления, обеспечивающий задержку отпирающего сигнала на заданное время задержки в случае, когда напряжение сигнала температуры, вырабатываемое выпрямителем 17 в цепи измерения напряжения сигнала температуры, превышает опорное напряжение, блок 44 вывода отпирающих сигналов для вырабатывания отпирающего сигнала под действием управляющего сигнала блока 43 управления и выходной блок 45 для вырабатывания опорного напряжения и времени задержки под действием управляющего сигнала блока 43 управления.
На фиг.10 представлена принципиальная электрическая схема регулятора температуры, в котором фактически реализована конструкция, представленная на фиг.1, а на фиг 11 – принципиальная электрическая схема регулятора температуры, в котором фактически реализована конструкция, представленная на фиг.7. Как показано на фиг.10 и 11, регулятору температуры могут быть дополнительно приданы функции предотвращения перегрева нагревательного кабеля вследствие короткого замыкания и блокирования поверхностного электрического поля. Для информации, СИД 70 и резистор 71 образуют лампу-индикатор мощности, а СИД 72 и резистор 73 – лампу-индикатор нагрева.
В рассматриваемом примере осуществления блок 30 регулирования температуры, представленный на фиг.1, включает в свой состав разрядный резистор 93, соединенный последовательно с управляющим электродом управляемого выпрямителя 94, выпрямительный диод 95, соединенный последовательно с разрядным резистором 93, конденсатор 92, включенный параллельно между резистором 93 в цепи смещения управляющего электрод и выпрямительным диодом 95, стабилитрон 87 сравнения и резистор 88 ограничения входного тока управляющего электрода, SCR 90, у которого анод соединен с конденсатором 92, а управляющий электрод – с резистором 88 ограничения входного тока управляющего электрода, резистор 89 в цепи смещения управляющего электрода SCR, включенный параллельно между резистором 88 ограничения входного тока управляющего электрода и управляющим электродом SCR 90, и резистор 91 ограничения зарядного тока, включенный между анодом SCR 90 и конденсатором 92.
Устройство защиты от обратного сверхтока включает в свой состав первый диод 101, стабилитрон 102 и второй диод 103. Первый диод 101 включен параллельно первому электрическому нагревательному проводу 85 в направлении, обратном направлению тока нагрева. Т.е. его анод соединен с анодом управляемого выпрямителя 94, а катод – с катодом реверсивного выпрямителя 97 тока нагрева. Стабилитрон 102 включен параллельно реверсивному выпрямителю 97 тока нагрева. Второй же диод 103 включен параллельно второму электрическому нагревательному проводу 98 в направлении, обратном направлению тока нагрева. Т.е. его анод соединен с анодом стабилитрона 102, а катод соединен с другим концом второго электрического нагревательного провода 98.
При коротком замыкании управляемого выпрямителя 94 через диод 95, стабилитрон 104 защиты управляющего электрода, диод 101, стабилитрон 102 защиты управляющего электрода и диод 103 протекает обратный сверхток. Защита этой схемы от перегрева может обеспечиваться размыканием плавкого предохранителя под действием сверхтока.
При этом в случае нагревательного кабеля, в котором вместо общего токоподводящего провода в качестве второго электрического нагревательного провода 98, имеющего сопротивление, используется имеющая форму ленты медная пленка заданной ширины, намотанная по спирали вокруг проводящего провода, необходимость контролировать обратный сверхток с использованием отдельного защитного устройства отсутствует. Объясняется это невозможностью возникновения обратного сверхтока на двух концах токоподводящего провода вследствие малого сопротивления медной пленки.
Следовательно, как показано на фиг.16-19, даже при отсутствии второго диода 103 для измерения обратного сверхтока защита схемы может быть обеспечена в результате размыкания плавкого предохранителя под действием обратного сверхтока. При этом второй электрический нагревательный провод 98 имеет малое сопротивление, поэтому главным образом выполняет функцию экранирования, а не функцию нагрева. Следовательно, стабилитрон 102 защиты управляющего электрод представляет собой основной функциональный элемент, который выполняет две функции, в том числе функцию обеспечения протекания обратного сверхтока, а также функцию ориентации направления протекания тока при отсутствии магнитного поля.
При этом блок предотвращения генерации поверхностного электрического поля включает в свой состав световые индикаторы 60 и 61 земли, соединенные с одним концом заземленного второго электрического нагревательного провода и точкой визуального контроля TP для предотвращения генерации поверхностного электрического поля путем установки световых индикаторов земли в выключенное положение.
Каждый из световых индикаторов 60 и 61 земли включает в себя резистор 60 и пластинчатный электрод 61 неоновой лампы, соединенные последовательно один с другим.
В случае, когда точка визуального контроля TP установлена в положение, при котором световые индикаторы земли, каждый из которых включает в себя резистор 60 и пластинчатный электрод 61 неоновой лампы, выключаются, второй электрический нагревательный провод 98, намотанный вокруг внешней поверхности нагревательного провода, заземляется, и поэтому поверхностное электрическое поле нагревательного кабеля находится под нулевым потенциалом. Таким образом, генерация поверхностного электрического поля нагревательного кабеля предотвращается.
На фиг.12 представлена принципиальная электрическая схема регулятора температуры, в котором цепь отпирания управляющего электрода отделена от управляемого выпрямителя, представленного на фиг.10, и реализована с использованием оптронного SCR 200, а на фиг.13 – принципиальная электрическая схема регулятора температуры, в котором цепь отпирания управляющего электрода отделена от управляемого выпрямителя, представленного на фиг.11, и реализована с использованием оптронного SCR 200. Для развязывания отпирающего сигнала на входе управляемого выпрямителя 94 с внешним сигналом управляемый выпрямитель реализован с использованием оптронного SCR 200.
На фиг.14 представлен график, иллюстрирующий реальные формы рабочих сигналов в примерах осуществления, иллюстрируемых на фиг.11-13, а на фиг.15 – блок-схема, иллюстрирующая способ регулирования температуры нагревательного кабеля в режиме отсутствия магнитного поля в соответствии с настоящим изобретением.
Предлагаемый в настоящем изобретении способ регулирования температуры включает в себя этап S310 измерения температуры, заключающийся в измерении напряжения сигнала температуры, вырабатываемого первым электрическим нагревательным проводом, противоположным по отношению к нагревательному проводу, один конец которого соединен с источником питания, этап S320 регулирования температуры, заключающийся в вырабатывании управляющего сигнала, осуществляемом в случае, когда вырабатываемое напряжение сигнала температуры превышает опорное напряжение, и этап S330 нагрева, на котором ток протекает с противоположного конца второго электрического нагревательного провода, соединенного с источником питания, через оба конца первого электрического нагревательного провода в сторону источника питания при обеспечении проводимости под действием управляющего сигнала. Кроме того, настоящее изобретение дополнительно включает в себя этап S300, заключающийся в регулировании напряжения измерения температуры, прикладываемого к одному концу первого электрического нагревательного провода.
Несмотря на отсутствие соответствующей иллюстрации, этап S320 регулирования температуры включает в себя этап вырабатывания опорного напряжения, этап сравнения напряжения сигнала температуры с опорным напряжением и вырабатывания напряжения возбуждения, осуществляемого в случае, когда напряжение сигнала температуры превышает опорное напряжение, этап запуска под действием сигнала возбуждения и задержки отпирающего сигнала на определенный период времени и этап вырабатывания отпирающего сигнала по истечении времени задержки.
Ниже со ссылками на фиг.1-6 приводится подробное описание этапов выполнения нагрева и измерения температуры в регуляторе температуры описанной выше конструкции согласно настоящему изобретению в режиме отсутствия магнитного поля.
Вначале описывается случай подачи положительной (+) фазы мощности и работы в состоянии измерения температуры, иллюстрируемый на фиг.6.
При подаче положительной (+) фазы мощности к терморезистору 14 с NTC, размещенному между первым электрическим нагревательным проводом 13 и вторым электрическим нагревательным проводом 15, прикладывается напряжение, регулируемое резистором 11 и переменным резистором 12 для настройки напряжения измерения температуры. Электрический потенциал на обеих сторонах терморезистора 14 с NTC (со стороны первого электрического нагревательного провода и со стороны второго электрического нагревательного провода) вырабатывается между выпрямителем 17 в цепи измерения напряжения сигнала температуры и вторым электрическим нагревательным проводом 15 в форме напряжения сигнала температуры.
Напряжение сигнала температуры вырабатывается в обратной пропорции по отношению к температуре, и во время измерения температуры протекает низкий рабочий ток, составляющий несколько мА. В этом случае выпрямление может выполняться с помощью блока 21 сравнения и измерения в составе блока 30 регулирования температуры даже без выпрямителя 17 в цепи измерения напряжения сигнала температуры. Фиг.5 иллюстрирует изменение импеданса нагревательного провода и терморезистора с NTC (из нейлона 12).
Следовательно, первый электрический нагревательный провод 13 и второй электрический нагревательный провод 15 используются в качестве электродов терморезистора 14 с NTC, и одновременно вырабатываются сигналы, соответствующие температуре на всей длине электрического нагревательного провода и локальному нагреву на произвольном участке электрического нагревательного провода.
Блок 21 сравнения и измерения осуществляет сравнение напряжения сигнала температуры, вырабатываемого на обоих концах терморезистора с NTC, и опорное напряжение, вырабатываемое блоком 20 генерации фиксированного опорного напряжения, и в случае, когда напряжение сигнала температуры превышает опорное напряжение, запускает блок 22 задержки отпирающего сигнала. Блок 22 задержки отпирающего сигнала обеспечивает задержку отпирающего сигнала блоком 23 отпирающих сигналов на заданное время, а блок 23 отпирающих сигналов вырабатывает отпирающий сигнал по истечении времени, на которое блок 22 задержки отпирающего сигнала задержал отпирающий сигнал.
При сохранении мощности AC в положительном (+) состоянии операции измерения температуры и регулирования температуры завершаются. Далее следует описание процесса нагрева провода нагревательного кабеля в режиме отсутствия магнитного поля (без индуцирования магнитного поля, без излучения электромагнитных волн).
При подаче отрицательной (-) мощности AC и переключении блока 24 ввода отпирающих сигналов на управляемый выпрямитель 19 ток источника питания поступает во второй электрический нагревательный провод 15 и выходит со стороны первого электрического нагревательного провода 13 через реверсивный выпрямитель 18 тока нагрева, как показано на фиг.4. Затем при протекании тока через анод управляемого выпрямителя 19 нагревательный кабель нагревается, и сила этого тока определяется внутренними сопротивлениями первого электрического нагревательного провода 13 и второго электрического нагревательного провода 15.
Так как при нагреве электрических нагревательных проводов импеданс терморезистора 14 с NTC уменьшается, то напряжение сигнала температуры в следующий полупериод, в который мощность переменного тока имеет положительную (+) фазу, снижается. Следовательно, в случае, когда напряжение сигнала температуры снижается до уровня ниже опорного напряжения, отпирающей сигнал не вырабатывается и поэтому управляемый выпрямитель 19 не срабатывает, так что нагрев прекращается.
Так как этап выполнения измерения температуры и нагрева повторяется в нагревательном кабеле в каждый полупериод подводимой мощности, как показано на фиг.6, то выполнение нагрева возможно после проверки нагревательного кабеля на возникновение короткого замыкания или нарушения режима работы.
При протекании тока через нагревательный кабель 16 фаза магнитного поля, создаваемого первым электрическим нагревательным проводом 13, становится противоположной по отношению к фазе магнитного поля, создаваемого вторым электрическим нагревательным проводом 15. Следовательно, так как электромагнитные поля, сформированные в нагревательном кабеле, компенсируют одно другое, то первый и второй электрические нагревательные провода не имеют никаких магнитных полей. В соответствии с этим генерации электромагнитных волн, вредных для человеческого тела, во время периодического повторения измерения температуры и нагрева не происходит.
В качестве примера рассматривается случай реализации другого примера осуществления настоящего изобретения, иллюстрируемого на фиг.10 или фиг.11. На фиг.10 представлена принципиальная схема электрическая схема регулятора температуры, в котором на практике применена конструкция, представленная на фиг.1, а на фиг.11 – принципиальная электрическая схема регулятора температуры, в котором на практике применена конструкция, представленная на фиг.7.
SCR 90 может быть заменен транзистором. При использовании транзистора существует вероятность его разрушения при низком уровне сигнала. В случае же высокого уровня сигнала для предотвращения разрушения предпочтительнее использовать отдельный выпрямитель 17 в цепи измерения напряжения сигнала температуры. При этом в случае использования SCR отдельный выпрямитель 17 не требуется.
Как описывается со ссылками на фиг.1, при подаче положительной (+) фазы мощности AC срабатывает схема измерения температуры. Как показано на фиг.10, при подаче мощности на первый электрический нагревательный провод 85 и второй электрический нагревательный провод 98 нагревательного кабеля через резистор 80 и переменный резистор 81 для настройки напряжения измерения температуры, включенные последовательно один с другим, терморезистор 84 с NTC вырабатывает напряжение измерения температуры через выпрямитель 86. Как указано выше, в случае низкого уровня тока измерения температуры выпрямитель 86 может не потребоваться.
Блок 21 сравнения и измерения сравнивает напряжение сигнала температуры с опорным напряжением (фиг.14b) стабилитрона 87 и включает SCR 90 через резистор 88 ограничения входного тока управляющего электрода (фиг.14c), если напряжение сигнала температуры превышает опорное напряжение. При включенном SCR 90 ток заряжает конденсатор 92 блока 22 задержки отпирающего сигнала через выпрямительный диод 95 (фиг.14d), и величина потенциала зарядки конденсатора 92 определяется сопротивлением резистора 91 ограничения зарядного тока.
По завершении измерения температуры в положительный (+) полупериод в следующий отрицательный (-) полупериод мощности выполняется нагрев. Нагрев начинается со стеканием зарядов, накопленных в конденсаторе 92 блока 22 задержки отпирающих сигналов (фиг.14e).
При отпирании управляющего электрода управляемого выпрямителя 94, осуществляемого под действием накопленных в конденсаторе 92 зарядов, стекающих через разрядный резистор 93 блока 23 отпирающих сигналов, и, следовательно, при включении управляемого выпрямителя 94 ток поступает во второй электрический нагревательный провод 98. Далее этот ток выходит со стороны первого электрического нагревательного провода 85 через диод 97 и возвращается в источник питания через диод 96, так что нагрев нагревательного кабеля осуществляется в режиме отсутствия магнитного поля.
В результате вышеописанного процесса нагрев нагревательного кабеля осуществляется в режиме отсутствия магнитного поля и мощность нагрева определяется сопротивлением электрических нагревательных проводов.
Конструкции регуляторов температуры в этих примерах осуществления, представленные на фиг.10 и 11, позволяют предотвращать перегрев электрических нагревательных проводов вследствие короткого замыкания управляемого выпрямителя 94 и перегрев электрических нагревательных проводов вследствие короткого замыкания первого электрического нагревательного провода 85 и второго электрического нагревательного провода 98.
При коротком замыкании управляемого выпрямителя 94 через выпрямительный диод 95, стабилитрон 104 защиты управляющего электрод 104, диод 101, стабилитрон 102 защиты управляющего электрода и диод 103 протекает обратный сверхток. В этом случае защита схемы от перегрева может обеспечиваться размыканием плавкого предохранителя под действием сверхтока.
При этом в случае короткого замыкания первого электрического нагревательного провода 85 и второго электрического нагревательного провода 98 одного на другой напряжение измерения сигнала температуры достигает нулевого потенциала. Следовательно, блок 21 сравнения и измерения не вырабатывает отпирающего сигнала, так что операция нагрева не выполняется и таким образом предотвращается перегрев схемы.
При этом точка визуального контроля TP, соединенная со вторым электрическим нагревательным проводом 98, представляет собой схему, которая заземляет второй электрический нагревательный провод 98, намотанный на внешнюю поверхность нагревательного кабеля. Точка визуального контроля TP установлена в положение, при котором световой индикатор земли, включающий в себя резистор 60 и пластинчатный электрод 61 неоновой лампы, не зажигается. В этом случае второй электрический нагревательный провод 98 заземляется и поэтому поверхностное электрическое поле нагревательного кабеля приобретает нулевой потенциал, так что генерация поверхностного электрического поля нагревательного кабеля предотвращается.
В дополнительных примерах осуществления настоящего изобретения регулятор температуры может быть реализован в таком виде, как показано на фиг.12 и 13. В этих примерах осуществления цепь отпирания управляющего электрода отделена от управляемого выпрямителя 94 и реализована с использованием оптронного SCR 200.
Со стороны светоизлучающего элемента оптронный SCR 200 включен последовательно с разрядным резистором 93, а со стороны фотоприемника оптронный SCR 200 включен последовательно с отпирающим резистором 201 между управляющим электродом и анодом управляемого выпрямителя 94.
Отпирание управляющего электрода управляемого выпрямителя 94 осуществляется под действием тока, подаваемого через резистор 201 и оптронный SCR 200, а направление рабочего тока, операция измерения температуры и меры безопасности являются теми же самыми, что и в случаях, иллюстрируемых на фиг.10 и 11.
Далее на фиг.20 представлена принципиальная схема конструкции регулятора температуры, иллюстрирующая один пример его осуществления, в котором использована конструкция нагревательного кабеля, представленная на фиг.1, на фиг.21 – принципиальная электрическая схема регулятора температуры, конструкция которого представлена на фиг.20, а на фиг.22 – принципиальная электрическая схема регулятора температуры, в котором цепь отпирания управляющего электрода отделена от управляемого выпрямителя в принципиальной электрической схеме, представленной на фиг.21, и реализована с использованием оптронного SCR. На фиг.23 представлена принципиальная схема конструкции регулятора температуры, иллюстрирующая другой пример его осуществления, в котором использована конструкция, представленная на фиг.1, на фиг.24 – принципиальная электрическая схема регулятора температуры, конструкция которого представлена на фиг.23, а на фиг.25 – принципиальная электрическая схема регулятора температуры, в котором цепь отпирания управляющего электрода отделена от управляемого выпрямителя в принципиальной электрической схеме, представленной на фиг.24, и реализована с использованием оптронного SCR. Вышеописанная конструкция относится к такому примеру осуществления, в котором блок 30 регулирования температуры, представленный на фиг.1, сформирован на конце нагревательного кабеля со стороны источника питания. Другие конструкции и комбинации являются теми же самыми, что и представленные на фиг.1, 10 и 12. Конструкции, иллюстрируемые на фиг.20 и 23, представляют собой примеры осуществления, демонстрирующие возможность различного определения положения блока 31 стабилизации напряжения сигнала температуры по выбору.
На фиг.26 представлена принципиальная схема конструкции регулятора температуры, иллюстрирующая пример его осуществления, в котором использована конструкция, представленная на фиг.7, на фиг.27 – принципиальная электрическая схема регулятора температуры, конструкция которого представлена на фиг.26, а на фиг.28 – принципиальная электрическая схема регулятора температуры, в котором цепь отпирания управляющего электрода отделена от управляемого выпрямителя в принципиальной электрической схеме, представленной на фиг.27, и реализована с использованием оптронного SCR. На фиг.29 представлена принципиальная схема конструкции регулятора температуры, иллюстрирующая другой пример его осуществления, в котором использована конструкция, представленная на фиг.7, на фиг.30 – принципиальная электрическая схема регулятора температуры, конструкция которого представлена на фиг.31, а на фиг.31 – принципиальная электрическая схема регулятора температуры, в котором цепь отпирания управляющего электрода отделена от управляемого выпрямителя в принципиальной электрической схеме, представленной на фиг.30, и реализована с использованием оптронного SCR. Вышеописанная конструкция относится к такому примеру осуществления, в котором блок 30 регулирования температуры, представленный на фиг.7, сформирован на конце нагревательного кабеля со стороны источника питания. Другие конструкции и комбинации являются теми же самыми, что и представленные на фиг.7, 11 и 13. Конструкции, иллюстрируемые на фиг.26 и 29, представляют собой примеры осуществления, демонстрирующие возможность определения положения переменного резистора различными способами по желанию.
На фиг.32 представлена принципиальная схема конструкции регулятора температуры, иллюстрирующая пример его осуществления, в котором использована конструкция, представленная на фиг.8, а на фиг.33 – принципиальная схема конструкции регулятора температуры, иллюстрирующая другой пример его осуществления, в котором использована конструкция, представленная на фиг.8. На фиг.34 представлена принципиальная схема конструкции регулятора температуры, иллюстрирующая пример его осуществления, в котором использована конструкция, представленная на фиг.9, а на фиг.35 – принципиальная схема конструкции регулятора температуры, иллюстрирующая другой пример его осуществления, в котором использована конструкция, представленная на фиг.9. Как указано выше, вышеописанные конструкции относятся к таким примерам осуществления, в которых блоки 30 регулирования температуры сформированы на концах нагревательных кабелей со стороны источника питания и которые демонстрируют различные модификации и примеры осуществления в зависимости от положений блока 31 стабилизации напряжения сигнала температуры и резистора 11.
Настоящее изобретение не ограничено вышеописанными примерами осуществления, и специалистами в данной области техники в него могут быть внесены изменения и дополнения в пределах целей и объемов, определенных в прилагаемой формуле изобретения.
ВАРИАНТ ИЗОБРЕТЕНИЯ
Конструкция нагревательного кабеля, используемого в регуляторах температуры, и способы регулирования температуры могут быть реализованы различными путями, и ниже приводится подробное описание конструкции нагревательного кабеля согласно настоящему изобретению со ссылками на различные примеры осуществления, иллюстрированные на прилагаемые чертежах.
Пример осуществления 1
На фиг.36 и 37 представлены конструкции и сечения нагревательных кабелей в примерах осуществления 1-1 и 1-2 настоящего изобретения, в которых в качестве второго электрического нагревательного слоя используется токоподводящий провод. Как показано на фиг.36, нагревательный кабель включает в себя жилу 311 сердечника, выполненную из полиэфира, электрический нагревательный провод 312, намотанный по спирали вокруг нанесенной внешней окружной поверхности жилы 311 сердечника в одном направлении по ее длине, терморезистор 313, нанесенный вокруг внешних окружных поверхностей электрического нагревательного провода 312 и жилы 311 сердечника, первый и второй токоподводящие провода 314a и 314b, намотанные с взаимным чередованием вокруг внешней окружной поверхности терморезистора 313 в виде двойной спирали, и изолирующее покрытие из синтетического полимера, нанесенное вокруг терморезистора 313 и первого и второго токоподводящих проводов 314a и 314b.
Для защиты электрического нагревательного провода 312 от короткого замыкания он не соединяется напрямую с первым и вторым токоподводящими проводами 314a и 314b, а первые концы первого и второго токоподводящих проводов 314a и 314b соединены с источником питания и заземлены. Для обеспечения заземления первый и второй токоподводящие провода 314a и 314b имеют низкие сопротивления и поэтому могут эффективно защищать от электрических полей. Электрический нагревательный провод 312 может предотвращать индуцирование магнитного поля и обнаруживать локальный нагрев электрического нагревательного провода 312 без закорачивания одного своего конца. С этой целью процесс управления в блоке питания для подачи питания или в регуляторе температуры должен осуществляться так, чтобы одна полуволна переменного тока использовалась для измерения температуры, а оставшаяся полуволна – для нагрева.
Для обеспечения отсутствия магнитных полей схема блока питания должна быть разработана так, что во время измерения температуры ток, входящий через электрический нагревательный провод 312, выходил через токоподводящие провода 314a и 314b, а во время нагрева ток, входящий через токоподводящие провода 314a и 314b, выходил через электрический нагревательный провод 312. При этом сопротивление терморезистора 313, размещенного между электрическим нагревательным проводом 312 и токоподводящими проводами 314a и 314b, изменяется с температурой в соответствии с изменением количества выделяемой теплоты.
В качестве терморезистора 313 используется терморезистор, имеющий отрицательный температурный коэффициент (NTC), т.е. терморезистор, сопротивление которого уменьшается с ростом температуры. В предпочтительном варианте используется нейлоновый терморезистор. Во время работы схемы измерения температуры терморезистор 313 быстро реагирует на температуру и его сопротивление изменяется. Следовательно, терморезистор 313 срабатывает даже при возникновении перегрева на произвольном участке, и нагревательный кабель сам автоматически регулирует количество выделяемой теплоты. В соответствии с этим пользователь задает опорную температуру, и в случае, когда температура превышает опорную температуру, генерации тепла не происходит, а в случае, когда температура ниже опорной температуры, тепло генерируется, в результате чего обеспечивается регулирование температуры. Следовательно, настоящее изобретение позволяет выполнять функцию регулирования температуры, а также функцию защитного устройства, обеспечивающего предотвращение перегрева.
Как показано на фиг.37, конструкция нагревательного кабеля в этом примере осуществления отличается от конструкции в примере осуществления 1-1 своим вторым электрическом нагревательным слоем, т.е. конструкцией первого и второго токоподводящих проводов. Отличие состоит в том, что первый токоподводящий провод 314c намотан по спирали и с одинаковыми промежутками, а второй токоподводящий провод 314d проложен по окружной поверхности терморезистора 313 в его продольном направлении.
Указанное изменение конструкции приводит к тому, что нагревательный кабель становится чувствительным к изгибающим нагрузкам или термическим напряжениям, однако этот нагревательный кабель имеет преимущества, заключающиеся в возможности уменьшения общей длины токоподводящих проводов 314c и 314d и упрощения операции намотки, обеспечивающих его достоинства с точки зрения стоимости производства и производительности. Следовательно, для постельных принадлежностей, подвергающихся низким изгибающим нагрузкам, типа мата, имеющего большую толщину, предпочтительнее использовать токоподводящий провод 314d, проложенный в виде линии в продольном направлении, как описывается выше.
На фиг.38 и 39 представлены конструкции и сечения нагревательного кабеля в примере осуществления 2-1 настоящего изобретения, в котором в качестве второго электрического нагревательного слоя используется металлическая полоска. Как показано на фиг.38 и 39, в качестве второго электрического нагревательного слоя использована имеющая форму ленты металлическая полоска 314e, намотанная в виде спирали. Намотка металлической полоски 314e может быть осуществлена с зазором между витками, без зазора или с частичным перекрытием витков. Таким образом, металлическая лента 314e может быть намотана без зазоров между витками с обеспечением взаимного контакта ее боковых сторон, как показано на фиг.39a, или без зазоров между витками с некоторым взаимным перекрытием ее сторон, чтобы минимизировать выход базовой поверхности наружу, как показано на фиг.39b. На фиг.39a и фиг.39b представлены поперечные сечения намотанной металлической полоски 314e. При этом ширина металлической полоски 314e может быть увеличена или две или более металлических полоски 314e могут быть намотаны встык в форме ленты.
В случае короткой полной длины нагревательного кабеля необходимость использования двух токоподводящих проводов отсутствует, но удобно наматывать металлическую полоску 314, имеющую форму ленты. Например, так как нагревательный кабель, используемый в устройстве для лечения сухим или влажным теплом, для локального нагрева тела человека имеет короткую длину, то можно наматывать и использовать металлическую полоску 314e. Использование металлической полоски 314e позволяет полностью предотвратить рассеяние электромагнитных волн и уменьшить требуемую полную длину экрана, в результате чего электрическое сопротивление становится очень малым. Кроме того, металлическая полоска 314e при намотке обладает стойкостью к изгибу и сохраняет гибкость. Кроме того, большой шаг намотки металлической полоски 314e позволяет уменьшить число витков этой полоски и уменьшить ее длину. В результате обеспечивается снижение электрического сопротивления и одновременно сокращается время, требуемое для намотки, что таким образом способствует повышению производительности.
Пример осуществления 2
На фиг.40 и 41 представлены конструкции и сечения нагревательных кабелей в примерах осуществления 2-1 и 2-2 настоящего изобретения, отличающихся конструкцией первого электрического нагревательного слоя и использованием токоподводящих проводов в качестве второго электрического нагревательного слоя. На фиг.42 и 43 представлены конструкция и сечение нагревательного кабеля в примере осуществления 2-3 настоящего изобретения, отличающегося конструкцией первого электрического нагревательного слоя и использованием металлической полоски в качестве второго электрического нагревательного слоя.
Как показано на фиг.40, конструкция нагревательного кабеля в примере осуществления 2-1 подобно конструкции нагревательного кабеля в примере осуществления 1-1, но отличается от конструкции нагревательного кабеля в примере осуществления 1-1 использованием металлического электрического нагревательного проводника 321 в качестве первого электрического нагревательного слоя вместо синтетической жилы сердечника и электрических нагревательных проводов, намотанных вокруг этой жилы. Принцип работы нагревательного кабеля в примере осуществления 1-1 подобен принципу работы нагревательного кабеля в примере осуществления 2-1, но отличается от принципа работы нагревательного кабеля в примере осуществления 2-1 по изгибным и разрывным характеристикам, так как в нагревательном кабеле в примере осуществления 1-1 используется тонкий электрический нагревательный провод, намотанный вокруг синтетической жилы сердечника, тогда как в нагревательном кабеле в примере осуществления 2-1 используется относительно толстый металлический электрический нагревательный проводник. Ссылочной позицией 324a обозначен первый токоподводящий провод, ссылочной позицией 324b – второй токоподводящий провод, ссылочной позицией 323 – нейлоновый терморезистор с NTC, а ссылочной позицией 325 – изолирующее покрытие.
Как показано на фиг.41, конструкция нагревательного кабеля в примере осуществления 2-2 подобна конструкции нагревательного кабеля в примере осуществления 1-2, но отличается от конструкции нагревательного кабеля в примере осуществления 1-2 использованием металлического электрического нагревательного проводника 321 вместо синтетической жилы сердечника и электрических нагревательных проводов, намотанных вокруг этой жилы. Ссылочной позицией 324c обозначен первый токоподводящий провод, намотанный по спирали, а ссылочной позицией 324d – второй токоподводящий провод, проложенный в виде линии в продольном направлении.
Как показано на фиг.42 и 43, конструкция нагревательного кабеля в примере осуществления 2-3 подобна конструкции нагревательного кабеля в примере осуществления 1-3, но отличается от конструкции нагревательного кабеля в примере осуществления 1-2 использованием металлического электрического нагревательного проводника 321 вместо синтетической жилы сердечника и электрических нагревательных проводов, намотанных вокруг этой жилы. Ссылочной позицией 324e обозначена имеющая форму ленты металлическая полоска, которая использована в предпочтительном варианте и намотана по спирали вокруг окружной поверхности терморезистора 323. Намотка металлической полоски 314e может быть осуществлена с зазором между витками, без зазора или с частичным перекрытием витков. Таким образом, металлическая лента 314e может быть намотана без зазоров между витками с обеспечением взаимного контакта ее боковых сторон, как показано на фиг.43a, или без зазоров между витками с некоторым взаимным перекрытием ее сторон, чтобы минимизировать выход базовой поверхности наружу, как показано на фиг.43b. На фиг.39a и фиг.39b представлены поперечные сечения намотанной металлической полоски 314e. При этом ширина металлической полоски 314e может быть увеличена или две или более металлических полоски 314e могут быть намотаны встык в форме ленты.
Пример осуществления 3
На фиг.44, 45 и 46 представлены конструкции и сечения нагревательных кабелей в примерах осуществления 3-1, 3-2 и 3-3 настоящего изобретения, в которых снаружи второго электрического нагревательного слоя дополнительно имеется слой проводящего покрытия. Как показано на фиг.44, конструкция нагревательного кабеля в примере осуществления 3-1 подобно конструкции нагревательного кабеля в примере осуществления 1-1, но отличается от конструкции нагревательного кабеля в примере осуществления 1-1 тем, что дополнительно содержит слой 336 проводящего покрытия, окружающий слой 333 терморезистора и вторые электрические нагревательные слои 334a и 334b, выполненные вокруг слоя 333 терморезистора. Принцип работы нагревательного кабеля в примере осуществления 3-1 подобен принципу работы нагревательного кабеля в примере осуществления 1-1, но имеет дополнительный эффект перехвата электрического поля, выходящего на поверхность между вторыми электрическими нагревательными слоями 334a и 334b, обусловливаемый наличием проводящего покрытия, окружающего нагревательный кабель в примере осуществления 1-1. Ссылочной позицией 334a обозначен первый токоподводящий провод, ссылочной позицией 334b – второй токоподводящий провод, ссылочной позицией 333 – нейлоновый терморезистор с NTC, а ссылочной позицией 335 – изолирующее покрытие.
Как показано на фиг.45, конструкция нагревательного кабеля в примере осуществления 3-2 подобно конструкции нагревательного кабеля в примере осуществления 1-2 и дополнительно включает в себя слой 336 проводящего покрытия и поэтому имеет эффект перехвата электрического поля рассеяния. Ссылочной позицией 334c обозначен первый токоподводящий провод, который намотан по спирали, а ссылочной позицией 334d обозначен второй токоподводящий провод, проложенный в виде линии в продольном направлении.
Как показано на фиг.46, конструкция нагревательного кабеля в примере осуществления 3-3 подобна конструкции нагревательного кабеля в примере осуществления 1-3, но дополнительно включает в себя слой 336 проводящего покрытия и поэтому имеет эффект перехвата электрического поля рассеяния. Ссылочной позицией 334e обозначена имеющая форму ленты металлическая полоска, намотанная по спирали вокруг окружной поверхности терморезистора 333 с одинаковыми промежутками. Следовательно, в нагревательном кабеле существует электрическое поле рассеяния, и слой 336 проводящего покрытия может перехватывать это электрическое поле рассеяния. В случае необходимости слой 336 проводящего покрытия может быть выведен на внешнюю поверхность нагревательного кабеля без изолирующего покрытия 335, как показано на правой стороне чертежа. Металлическая полоска, имеющая большую ширину, выполняет функцию экранирования на большой площади, что обеспечивает снижение интенсивности рассеяния электрического поля в направлении внешней поверхности, а слой 336 проводящего покрытия перехватывает это электрическое поле рассеяния. Так как размер электрического поля рассеяния, перехватываемого слоем 336 проводящего покрытия, является малым, то это электрическое поле рассеяния не оказывает вредного влияния на тело пользователя даже в случае отсутствия проводящего покрытия 335. Таким образом, в случае использования металлической полоски эффективное обеспечение функции изоляции может достигаться с помощью только слоя 336 проводящего покрытия без отдельного изолирующего покрытия 335.
Пример осуществления 4
На фиг.47, 48 и 49 представлены конструкции и сечения нагревательных кабелей в примерах осуществления 4-1, 4-2 и 4-3 настоящего изобретения, отличающихся конструкцией первого электрического нагревательного слоя и тем, что дополнительно снабжены слоем проводящего покрытия, выполненным снаружи второго электрического нагревательного слоя. Как показано на фиг.47, конструкция нагревательного кабеля в примере осуществления 4-1 подобна конструкции нагревательного кабеля в примере осуществления 2-1, но отличается от конструкции нагревательного кабеля в примере осуществления 2-1 тем, что дополнительно содержит слой 346 проводящего покрытия, окружающий слой 343 терморезистора и вторые электрические нагревательные слои 344a, 344b вокруг слоя 343 терморезистора. Принцип работы нагревательного кабеля в примере осуществления 2-1 подобен принципу работы нагревательного кабеля в примере осуществления 4-1. Однако в примере осуществления 2-1 нагревательный кабель окружает проводящее покрытие, так что в примере осуществления 2-1 нагревательный кабель дополнительно имеет эффект перехвата электрического поле, которое рассеивается между вторыми электрическими нагревательными слоями 344a и 344b. Ссылочной позицией 344a обозначен первый токоподводящий провод, ссылочной позицией 344b – второй токоподводящий провод, ссылочной позицией 343 – нейлоновый терморезистор с NTC, а ссылочной позицией 345 – изолирующее покрытие.
Как показано на фиг.48, конструкция нагревательного кабеля в примере осуществления 4-2 подобна конструкции нагревательного кабеля в примере осуществления 2-2, но дополнительно включает в себя слой 346 проводящего покрытия, так что этот нагревательный кабель дополнительно имеет эффект перехвата электрического поля рассеяния. Ссылочной позицией 344c обозначен первый токоподводящий провод, намотанный по спирали, а ссылочной позицией 344d – второй токоподводящий провод, проложенный в виде линии в продольном направлении.
Как показано на фиг.49, конструкция нагревательного кабеля в примере осуществления 4-3 подобна конструкции нагревательного кабеля в примере осуществления 2-3, но кроме того включает в себя слой 346 проводящего покрытия, так что этот нагревательный кабель имеет эффект перехвата электрического поля рассеяния. Ссылочной позицией 344e обозначена имеющая форму ленты металлическая полоска, намотанная по спирали вокруг окружной поверхности терморезистора 343 с одинаковыми промежутками. Следовательно, в нагревательном кабеле существует электрическое поле, которое рассеивается между участками намотки металлической полоски, и слой 336 проводящего покрытия может перехватывать это электрическое поле рассеяния. Как описывается выше, слой 346 проводящего покрытия может быть выведен на внешнюю поверхность нагревательного кабеля без изолирующего покрытия 345, как показано на правой стороне чертежа. Металлическая полоска, имеющая большую ширину, выполняет функцию экранирования на большой площади, что обеспечивает снижение интенсивности рассеяния электрического поля в направлении внешней поверхности, а слой 346 проводящего покрытия перехватывает это электрическое поле рассеяния. Так как размер электрического поля рассеяния, перехватываемого слоем 346 проводящего покрытия, является малым, то это электрическое поле рассеяния не оказывает вредного влияния на тело пользователя даже в случае отсутствия проводящего покрытия 345. Т.е. в случае использования металлической полоски эффективное обеспечение функции изоляции может достигаться с помощью только слоя 346 проводящего покрытия без отдельного изолирующего покрытия 345.
На фиг.50 и 51 представлены конструкции и сечения нагревательных кабелей в примерах осуществления настоящего изобретения, отличающихся конструкцией второго электрического нагревательного слоя. Как показано на фиг.50, в качестве второго электрического нагревательного слоя использован металлический экранирующий элемент. Этот металлический экранирующий элемент в общем относится к элементам, которые формируются путем подготовки множества металлических нитей или металлических компонентов и придания этим металлическим нитям или компонентам формы ленты или оплетки. Как показано на фиг.50, элемент 354a металлической оплетки, образованный металлическим плетением, окружает терморезистор 353 и со стороны обоих концов этого элемента выполнены выводы 354b.
Принцип работы нагревательного кабеля в рассматриваемом примере осуществления подобен принципу работы нагревательного кабеля в предыдущем примере осуществления. Рассматриваемый пример осуществления отличается от предыдущего примера осуществления конструкцией второго электрического нагревательного слоя. Элемент 354a металлической оплетки изготовлен путем переплетения множества металлических прядей и подгонки ширины переплетенных металлических нитей к емкости, и элемент 354a металлической оплетки снабжен выводами, используемыми для пропускания тока. Форма элементам 354a металлической оплетки может быть любой. Элементу металлической оплетки может быть придана форма ленты, вытянутой в продольном направлении и намотанной по спирали. Элемент металлической оплетки может быть сформирован путем связывания множества металлических прядей в виде ленты и намотки по спирали. Элемент 354a металлической оплетки выполняет функцию перехвата электрического поля, окружающего терморезистор 353.
Как показано на фиг.51, алюминиевый лист 354c окружает терморезистор 353, а токоподводящий провод 354d намотан по спирали вокруг окружной поверхности алюминиевого листа 354c. Алюминиевый лист 354c сформирован вокруг терморезистора 353 и выполняет функцию экранирования для перехвата электрического поля. Токоподводящий провод 354d, намотанный вокруг окружной поверхности алюминиевого листа 354c, обеспечивает сток зарядов, накапливаемых на алюминиевом листе 354c и, следовательно, уменьшает электрическое сопротивление, снижая, таким образом, потенциал земли и электрический потенциал. Алюминий обладает гибкостью, легок в обработке и имеет более низкую стоимость по сравнению с медью. Однако формирование электрической схемы путем соединения алюминия с другим металлом с использованием пайки является затруднительным. Поэтому используется токоподводящий провод 354d, выполненный также из алюминия, что уменьшает электрическое сопротивление алюминиевого листа 354c.
На фиг.52 и 53 представлена принципиальная электрическая схема включения нагревательного кабеля согласно настоящему изобретению. Как показано на фиг.52 и 53, электрический нагревательный провод 312 электрического нагревательного слоя соединен с одним полюсом источника питания, а токоподводящие провода 314a и 314b второго электрического нагревательного слоя соединены с землей со стороны другого полюса источника питания.
При включении источника переменного тока в передний полупериод цикла AC вырабатывается сигнал, отражающий температурное изменение сопротивления терморезистора 313, размещенного между электрическим нагревательным проводом 312 первого электрического нагревательного слоя и токоподводящими проводами 314a и 314b второго электрического нагревательного слоя, который поступает в однонаправленный диод 317. Ток сигнала измерения температуры проходит через электрический нагревательный провод 312 первого электрического нагревательного слоя, изменяет свое направление на противоположное в терморезисторе 313 и возвращается через второй электрический нагревательный слой. При этом токи сигнала измерения температуры, протекающие через электрический нагревательный провод 312 и токоподводящие провода 314a и 314b, имеют противоположные направления, так что магнитные поля компенсируют одно другое, и поэтому токи сигнала измерения температуры протекают в состоянии отсутствия магнитного поля. Однонаправленный диод 317 служит для демонстрации раздельного выполнения операции измерения температуры и операции нагрева одной от другой в теоретической эквивалентной схеме и используется в операции измерения температуры. При этом в структуре реальной схемы для блока регулирования температуры (не показанного), воспринимающего напряжение сигнала температуры, достаточной является малая мощность сигнала, составляющая менее нескольких мВт, чтобы выходное значение напряжения сигнала температуры блока регулирования напряжения сигнала температуры (не показанного) составляло менее нескольких мВт. Кроме того, в соответствии с установкой собственной точки усиления входного сигнала блока 30 регулирования температуры выбирается волновой сигнал (+) и (-) или сигнал (+) или (-) и обеспечивается возможность выполнения произвольной операции. Следовательно, в условиях структуры реальной схемы, при которых для малого сигнала выпрямление не требуется или выбирается и используется сигнал (+), выпрямитель 17 в цепи измерения напряжения сигнала температуры используется в режиме перекрытия с логической точки зрения, так что однонаправленный диод 317 в цепи измерения напряжения сигнала температуры может быть исключен из состава схемы. Т.е. в случае, когда потребляемая мощность терморезистора 14 с NTC при преобразовании напряжения сигнала температуры составляет в результате преобразования и измерения менее нескольких мВт, в качестве напряжения измерительного сигнала терморезистора с NTC может быть выбрано напряжение AC или напряжение DC (постоянного тока), и использование однонаправленного диода в цепи измерения напряжения сигнала температуры может быть выбрано в соответствии с условием, при котором блок регулирования температуры задает рабочую точку, в которой работает измерительный входной сигнал терморезистора.
По завершении измерения температуры в переднем полупериоде начинается нагрев в заднем полупериоде. Ток нагрева проходит через токоподводящие провода 314a и 314b второго электрического нагревательного слоя, изменяет свое направление на противоположное в однонаправленном диоде 318 и возвращается через электрический нагревательный провод 312 первого электрического нагревательного слоя. В это время токи нагрева, протекающие через электрический нагревательный провод 312 и токоподводящие провода 314a и 314b, имеют противоположные направления, так что фазы магнитных полей являются противоположными, и поэтому эти магнитные поля компенсируются. Следовательно, ток нагрева протекает в состоянии без излучения магнитных волн.
В случае использования слоя 316 проводящего покрытия, как показано на фиг.53, происходят те же процессы, что и описанные выше. Слой 316 проводящего покрытия выполняет функцию перехвата электрического поля, рассеивающегося между токоподводящими проводами 314a и 314b второго электрического нагревательного слоя.
На фиг.54 представлена схематичная иллюстрация принципа рассеяния электрического поля из нагревательного кабеля и принципа перехвата электрического поля в нагревательном кабеле с помощью слоя проводящего покрытия. Как показано на фиг.54, фиг.54a иллюстрирует состояние, в котором при отсутствии какого-либо слоя проводящего покрытия формируется электрическое поле рассеяния, а фиг.54b – состояние, в котором слой 316 проводящего покрытия предотвращает формирование электрического поля рассеяния. Фиг.54c иллюстрирует пример осуществления, в котором в качестве второго электрического нагревательного слоя используется изделие некоторой ширины типа медной пленки. С помощью этой широкой медной пленки обеспечивается перехват большей части электрического поля рассеяния, а с помощью слоя 316 проводящего покрытия – дополнительный перехват остаточного электрического поля рассеяния, что позволяет осуществлять перехват всего электрического поля без внешнего изолирующего покрытия 315.
В случае намотки токоподводящих проводов 314a и 314b второго электрического нагревательного слоя или металлической медной пленки с зазором между витками некоторые участки терморезистора 313 выходят на внешнюю поверхность. Рассеяние происходит через эти открытые участки.
В случае нанесения слоя 316 проводящего покрытия вокруг слоя 313 терморезистора и токоподводящих проводов 314a и 314b второго электрического нагревательного слоя слой 316 проводящего покрытия закрывает все участки токоподводящего провода второго электрического нагревательного слоя, закрытые неполностью, для того чтобы предотвратить генерацию электрического поля рассеяния. В предпочтительном варианте слой 316 проводящего покрытия 316 выполняют из проводящей синтетической смолы.
Формула изобретения
1. Регулятор температуры, не излучающий электромагнитных волн, для нагревательного кабеля, содержащий: блок регулирования температуры, соединенный с нагревательным кабелем, который включает в себя первый и второй электрические нагревательные провода, размещенные параллельно, и терморезистор с отрицательным температурным коэффициентом (NTC), и предназначенный для сравнения напряжения сигнала температуры, вырабатываемого первым электрическим нагревательным проводом, с опорным напряжением и вырабатывания сигнала регулирования температуры; и управляемый выпрямительный блок, предназначенный для возврата тока нагрева с конца второго электрического нагревательного провода, соединенного с источником питания, через второй и первый концы первого электрического нагревательного провода в сторону источника питания, осуществляемого при обеспечении проводимости под действием управляющего сигнала блока регулирования температуры, причем состояние отсутствия магнитного поля электрических нагревательных проводов реализуется путем компенсации противоположно направленных магнитных полей во время измерения температуры и нагрева.
2. Регулятор температуры, не излучающий электромагнитных волн, по п.1, дополнительно содержащий блок регулирования напряжения сигнала температуры для настройки напряжения измерения температуры, которое прикладывается к первому концу первого электрического нагревательного провода.
3. Регулятор температуры, не излучающий электромагнитных волн, по п.2, в котором блок регулирования температуры содержит: блок генерации опорного напряжения для вырабатывания опорного напряжения; блок сравнения и измерения для сравнения напряжения сигнала температуры с опорным напряжением и вырабатывания сигнала возбуждения, осуществляемого в случае, когда напряжение сигнала температуры превышает опорное напряжение; блок задержки отпирающих сигналов, настроенный на запуск с помощью сигнала возбуждения блока сравнения и предназначенный для задержки отпирающего сигнала на заданное время; и блок вывода отпирающих сигналов для вырабатывания отпирающих сигналов по истечении времени, на которое блок задержки отпирающего сигнала задерживает отпирающий сигнал.
4. Регулятор температуры, не излучающий электромагнитных волн, по п.2, в котором управляемый выпрямительный блок содержит реверсивный выпрямитель тока нагрева, включенный между вторым концом первого электрического нагревательного провода и вторым электрическим нагревательным проводом.
5. Регулятор температуры, не излучающий электромагнитных волн, по п.4, в котором управляемый выпрямительный блок размещен так, что его анод соединен с первым концом первого электрического нагревательного провода параллельно блоку регулирования напряжения сигнала температуры, а катод – с источником питания, и дополнительно содержит управляемый выпрямитель, отпираемый под действием управляющего сигнала блока регулирования температуры.
6. Регулятор температуры, не излучающий электромагнитных волн, по п.2, в котором блок регулирования напряжения сигнала температуры содержит резистор, первый конец которого соединен с источником питания; и переменный резистор для настройки напряжения измерения температуры, включенный между вторым концом резистора и первым концом первого электрического нагревательного провода.
7. Регулятор температуры, не излучающий электромагнитных волн, по п.2, в котором блок регулирования напряжения сигнала температуры содержит: первый и вторые резисторы, включенные последовательно один с другим; и переменный резистор, включенный между первым резистором и вторым резистором; а также третий резистор, у которого первый конец соединен с источником питания, а второй конец – с подвижным контактом переменного резистора; причем первый конец первого резистора соединен с первым электрическим нагревательным проводом, первый конец второго резистора соединен со вторым электрическим нагревательным проводом на той же самой стороне, а входной импеданс согласован путем подгонки сопротивления переменного резистора.
8. Регулятор температуры, не излучающий электромагнитных волн, по любому из пп.2-4, в котором блок регулирования температуры и управляющий электрод управляемого выпрямителя соединены один с другим при помощи оптронного кремниевого управляемого выпрямителя (SCR).
9. Регулятор температуры, не излучающий электромагнитных волн, по п.2, в котором блок регулирования температуры содержит: разрядный резистор, включенный последовательно с управляющим электродом управляемого выпрямителя; выпрямительный диод, включенный последовательно с разрядным резистором; конденсатор, включенный параллельно между резистором в цепи смещения управляющего электрода и выпрямительным диодом; стабилитрон сравнения; резистор ограничения входного тока управляющего электрода; SCR, у которого анод соединен с конденсатором, а управляющий электрод – с резистором ограничения входного тока управляющего электрода; резистор в цепи смещения управляющего электрода SCR, включенный параллельно резистору ограничения входного тока управляющего электрода и управляющему электроду SCR; и резистор ограничения зарядного тока, включенный параллельно между анодом SCR и конденсатором.
10. Регулятор температуры, не излучающий электромагнитных волн, по п.9, в котором управляющий электрод управляемого выпрямителя изолирован при помощи оптронного SCR; со стороны светоизлучающего элемента оптронный SCR включен последовательно с разрядным резистором, а со стороны фотоприемника оптронный SCR включен между управляющим электродом и анодом управляемого выпрямителя последовательно с отпирающим резистором.
11. Регулятор температуры, не излучающий электромагнитных волн, по п.1 или 2, дополнительно содержащий устройство защиты от обратного сверхтока, которое содержит: первый диод, включенный параллельно первому электрическому нагревательному проводу в направлении, противоположном направлению тока нагрева; стабилитрон, включенный параллельно реверсивному выпрямителю тока нагрева; и второй диод, включенный параллельно второму электрическому нагревательному проводу в направлении, противоположном направлению тока нагрева; причем в случае генерации сверхтока в результате короткого замыкания управляемого выпрямителя устройство защиты от обратного сверхтока размыкает плавкий предохранитель.
12. Регулятор температуры, не излучающий электромагнитных волн, по п.1 или 2, дополнительно содержащий: световой индикатор земли, соединенный с первым концом второго электрического нагревательного провода, который является заземленным; и точку визуального контроля, предназначенную для предотвращения генерации поверхностного электрического поля электрического нагревательного провода путем установки светового индикатора земли, в выключенное положение.
13. Способ регулирования температуры без излучения электромагнитных волн для нагревательного кабеля, содержащий: этап измерения температуры, заключающийся в измерении напряжения сигнала температуры, вырабатываемого со стороны второго конца первого электрического нагревательного провода, противоположного по отношению к первому концу нагревательного кабеля, соединенному с источником питания; этап регулирования температуры, заключающийся в вырабатывании управляющего сигнала, осуществляемом в случае, когда вырабатываемое напряжение сигнала температуры превышает опорное напряжение; и этап нагрева, заключающийся в обеспечении возможности протекания тока с первого конца второго электрического нагревательного провода, который соединен с источником питания, через первый и второй концы первого электрического нагревательного провода в сторону источника питания.
14. Способ регулирования температуры без излучения электромагнитных волн по п.13, дополнительно содержащий этап регулирования напряжения измерения температуры, прикладываемого к первому концу первого электрического нагревательного провода.
15. Способ регулирования температуры без излучения электромагнитных волн по п.13, в котором этап регулирования температуры содержит этапы: вырабатывания опорного напряжения; сравнения напряжения сигнала температуры с опорным напряжением и вырабатывания сигнала возбуждения, осуществляемого в случае, когда напряжение сигнала температуры превышает опорное напряжение; задержки отпирающего сигнала на определенное время задержки, осуществляемой под действием сигнала возбуждения; и вырабатывания отпирающего сигнала по истечении времени задержки.
16. Нагревательный кабель с измерением температуры, не излучающий электромагнитных волн, содержащий: первый электрический нагревательный слой, соединенный с одним из концов источника питания; слой терморезистора, нанесенный вокруг первого электрического нагревательного слоя; второй электрический нагревательный слой, намотанный по окружности слоя терморезистора и соединенный со стороны своего первого конца со вторым концом источника питания; и изолирующий слой, предназначенный для изоляции слоя терморезистора и второго электрического нагревательного слоя и окружающий эти слои снаружи.
17. Нагревательный кабель с измерением температуры, не излучающий электромагнитных волн, по п.16, в котором первый электрический нагревательный слой содержит: жилу сердечника, проходящую через центральную часть первого электрического нагревательного слоя; и электрический нагревательный провод, намотанный по спирали вокруг окружной поверхности жилы сердечника и соединенный с одним из концов источника питания, причем проводимость обеспечивается через этот электрический нагревательный провод.
18. Нагревательный кабель с измерением температуры, не излучающий электромагнитных волн, по п.17, дополнительно содержащий слой проводящего покрытия, размещенный между вторым электрическим нагревательным слоем и изолирующим слоем в результате нанесения на окружную поверхность этого второго электрического нагревательного слоя и вокруг него.
19. Нагревательный кабель с измерением температуры, не излучающий электромагнитных волн, по п.17 или 18, в котором второй электрический нагревательный слой содержит металлическую пленку; причем эта металлическая пленка намотана по спирали вокруг окружной поверхности слоя терморезистора.
20. Нагревательный кабель с измерением температуры, не излучающий электромагнитных волн, по п.17 или 18, в котором второй электрический нагревательный слой содержит металлический экранирующий элемент; причем этот металлический экранирующий элемент выполнен вокруг окружной поверхности слоя терморезистора.
21. Нагревательный кабель с измерением температуры, не излучающий электромагнитных волн, по п.16, в котором первый электрический нагревательный слой содержит электрический нагревательный проводник, первый конец которого соединен с одним из концов источника питания.
22. Нагревательный кабель с измерением температуры, не излучающий электромагнитных волн, по п.21, дополнительно содержащий слой проводящего покрытия, размещенный между вторым электрическим нагревательным слоем и изолирующим слоем в результате нанесения на окружную поверхность этого второго электрического нагревательного слоя и вокруг него.
23. Нагревательный кабель с измерением температуры, не излучающий электромагнитных волн, по п.21 или 22, в котором второй электрический нагревательный слой содержит металлическую пленку; причем эта металлическая пленка намотана по спирали вокруг окружной поверхности слоя терморезистора.
24. Нагревательный кабель с измерением температуры, не излучающий электромагнитных волн, по п.21 или 22, в котором второй электрический нагревательный слой содержит металлический экранирующий элемент; причем этот металлический экранирующий элемент выполнен вокруг окружной поверхности слоя терморезистора.
25. Нагревательный кабель с измерением температуры, не излучающий электромагнитных волн, содержащий: первый электрический нагревательный слой, соединенный с одним из концов источника питания; слой терморезистора, нанесенный вокруг первого электрического нагревательного слоя; второй электрический нагревательный слой, намотанный по окружности слоя терморезистора и соединенный со стороны своего первого конца со вторым концом источника питания; и слой проводящего покрытия, предназначенный для изоляции слоя терморезистора и второго электрического нагревательного слоя и окружающий эти слои снаружи.
26. Нагревательный кабель с измерением температуры, не излучающий электромагнитных волн, по п.25, в котором слой проводящего покрытия выполнен из проводящего синтетического материала и полностью окружает слой терморезистора и второй электрический нагревательный слой так, что слой терморезистора и второй электрический нагревательный слой не выходят на внешнюю поверхность.
27. Нагревательный кабель с измерением температуры, не излучающий электромагнитных волн, по п.25, в котором первый электрический нагревательный слой содержит: жилу сердечника, проходящую через центральную часть первого электрического нагревательного слоя; и электрический нагревательный провод, намотанный по спирали вокруг окружной поверхности жилы сердечника и соединенный с одним из концов источника питания, причем проводимость обеспечивается через этот электрический нагревательный провод.
28. Нагревательный кабель с измерением температуры, не излучающий электромагнитных волн, по п.25, в котором первый электрический нагревательный слой содержит электрический нагревательный проводник, первый конец которого соединен с одним из концов источника питания.
29. Нагревательный кабель с измерением температуры, не излучающий электромагнитных волн, по п.27 или 28, в котором второй электрический нагревательный слой содержит металлическую пленку; причем эта металлическая пленка намотана по спирали вокруг окружной поверхности слоя терморезистора.
30. Нагревательный кабель с измерением температуры, не излучающий электромагнитных волн, по п.27 или 28, в котором второй электрический нагревательный слой содержит металлический экранирующий элемент; причем этот металлический экранирующий элемент выполнен вокруг окружной поверхности слоя терморезистора.
31. Нагревательный кабель с измерением температуры, не излучающий электромагнитных волн, по п.17, дополнительно содержащий первый однонаправленный выпрямитель, причем второй конец электрического нагревательного провода первого электрического нагревательного слоя соединен с этим первым однонаправленным выпрямителем и таким образом обеспечивает вырабатывание напряжения со стороны второго конца электрического нагревательного провода.
32. Нагревательный кабель с измерением температуры, не излучающий электромагнитных волн, по п.21, дополнительно содержащий первый однонаправленный выпрямитель, причем второй конец электрического нагревательного проводника первого электрического нагревательного слоя соединен с этим первым однонаправленным выпрямителем и таким образом обеспечивает вырабатывание напряжения со стороны второго конца электрического нагревательного проводника.
33. Нагревательный кабель с измерением температуры, не излучающий электромагнитных волн, по п.27, дополнительно содержащий первый однонаправленный выпрямитель, причем второй конец электрического нагревательного провода первого электрического нагревательного слоя соединен с этим первым однонаправленным выпрямителем и таким образом обеспечивает вырабатывание напряжения со стороны второго конца электрического нагревательного провода.
34. Нагревательный кабель с измерением температуры, не излучающий электромагнитных волн, по п.28, дополнительно содержащий первый однонаправленный выпрямитель, причем второй конец электрического нагревательного проводника первого электрического нагревательного слоя соединен с этим первым однонаправленным выпрямителем и таким образом обеспечивает вырабатывание напряжения со стороны второго конца электрического нагревательного проводника.
РИСУНКИ
|
|