|
|
(21), (22) Заявка: 2008125533/09, 23.06.2008
(24) Дата начала отсчета срока действия патента:
23.06.2008
(46) Опубликовано: 27.05.2009
(56) Список документов, цитированных в отчете о поиске:
RU 2115208 C1, 10.07.1998. RU 2066085 С1, 27.08.1996. SU 1676020 A1, 09.11.1989. SU 1617553 A1, 30.12.1990. RU 52532 U1, 27.03.2006. US 5942863 A, 24.08.1999. EP 0162780 B1, 01.06.1988. DE 2311954 A1, 12.09.1974.
Адрес для переписки:
600000, г.Владимир, ул. Горького, 87, Владимирский государственный университет, патентный отдел
|
(72) Автор(ы):
Малафеев Сергей Иванович (RU), Салов Семен Александрович (RU)
(73) Патентообладатель(и):
Малафеев Сергей Иванович (RU), Салов Семен Александрович (RU)
|
(54) ДАТЧИК ПОЛОЖЕНИЯ РОТОРА ЭЛЕКТРИЧЕСКОГО ДВИГАТЕЛЯ
(57) Реферат:
Изобретение относится к области электротехники, предназначено для использования в мехатронных системах с вентильными и вентильно-индукторными двигателями. Согласно изобретению датчик положения ротора электрического двигателя содержит неподвижный статор (1), жестко соединенный со статором электрического двигателя, магниточувствительные элементы (2), (3), (4), в качестве которых используются, например, датчики Холла или магниторезисторы, ротор (5), выполненный из магнитоизолирующего материала и кинематически соединенный с ротором электрического двигателя, ферромагнитный диск (6) с прорезями и кольцевые постоянные магниты (7) и (8), намагниченные аксиально. В данной конструкции датчика используются два общих для всех чувствительных элементов постоянных магнита, жестко закрепленных на валу ротора вместе с магнитопроводящим диском. Поле постоянных магнитов распространяется до чувствительных элементов Холла через магнитопроводящий диск и воздушный зазор, в результате чего снижается чувствительность датчика к смещениям чувствительных элементов относительно магнитов, а также к неоднородности постоянных магнитов. Технический результат, достигаемый при использовании данного изобретения, состоит в упрощении конструкции и повышении точности датчика положения ротора электрического двигателя. 2 ил.
Предлагаемое изобретение относится к электротехнике и предназначено для использования в мехатронных исполнительных системах с вентильными, вентильно-индукторными и другими двигателями.
Известны датчики положения ротора электрического двигателя, содержащие неподвижный статор в виде диска, на котором размещены чувствительные элементы по линии окружности, и подвижный ротор, на валу которого закреплен диск с прорезями, выполненными по линии окружности на равном расстоянии друг от друга и расположенными напротив чувствительных элементов (DiRenzo M.T., Switched reluctance motor control-basic operation and example using the TMS320F240, Application report, 2000, p.13. Fig. 8; Патент РФ 2066085, МКИ Н02К 29/14; Н02К 24/00, 1996 г.). В качестве чувствительных элементов используются оптические или магнитные датчики.
Недостатками известных датчиков положения ротора являются сложность конструкции и недостаточная точность, обусловленная высокой чувствительностью датчика к смещениям чувствительных элементов друг относительно друга и относительно задающего диска, которые имеют место при биениях ротора электрического двигателя. При использовании в качестве чувствительных элементов датчиков Холла со встроенными постоянными магнитами возникает погрешность измерения положения из-за разнородности постоянных магнитов, а также из-за вибрации задающего диска вследствие притяжения его к магнитам.
Из известных технических решений наиболее близким по достигаемому результату к предполагаемому изобретению является датчик положения ротора электрического двигателя, содержащий неподвижный статор в виде диска, на котором размещены магниточувствительные элементы по линии окружности, подвижный ротор, на валу которого закреплены магнитопроводящий диск и намагниченные в аксиальном направлении постоянные магниты, которые размещены в пазу магнитопроводящего диска в виде кольца напротив магниточувствительных элементов, количество пар полюсов кольца из постоянных магнитов совпадает с количеством пар полюсов постоянных магнитов ротора электрического двигателя (Патент РФ 2115208, МПК Н02К 29/08. – Опубл. 10.07.98).
Недостатками известного датчика положения ротора являются сложность конструкции и недостаточная точность, обусловленная высокой чувствительностью датчика к смещениям чувствительных элементов друг относительно друга и относительно задающего диска, которые возникают при биениях ротора электрического двигателя. При использовании в качестве чувствительных элементов датчиков Холла со встроенными постоянными магнитами возникает погрешность измерения положения из-за разнородности постоянных магнитов, а также из-за вибрации задающего диска вследствие притяжения его к магнитам.
Цель предлагаемого изобретения – упрощение конструкции и повышение точности датчика положения ротора электрического двигателя.
Поставленная цель достигается тем, что в известном датчике положения ротора электрического двигателя, содержащем неподвижный статор в виде диска, на котором размещены магниточувствительные элементы по линии окружности, подвижный ротор, на валу которого закреплены магнитопроводящий диск и намагниченные в аксиальном направлении постоянные магниты, два постоянных магнита выполнены в виде колец и закреплены на валу ротора с разных сторон магнитопроводящего диска, который имеет четыре прорези, выполненные по линии окружности на расстоянии друг от друга, соответствующем углу /2, и шириной, соответствующей углу /4, магниточувствительные элементы расположены вдоль этой окружности на равном расстоянии, соответствующем углу /3, а кольцевые магниты размещены таким образом, что они плотно прилегают к поверхностям магнитопроводящего диска разноименными полюсами.
По сравнению с наиболее близким аналогичным техническим решением предлагаемое устройство имеет следующие новые признаки:
– два постоянных магнита выполнены в виде колец и закреплены на валу ротора с разных сторон магнитопроводящего диска;
– магнитопроводящий диск имеет четыре прорези, выполненные по линии окружности на расстоянии друг от друга, соответствующем углу /2, и шириной, соответствующей углу /4;
– магниточувствительные элементы расположены вдоль этой окружности на равном расстоянии, соответствующем углу /3;
– кольцевые магниты размещены таким образом, что они плотно прилегают к поверхностям магнитопроводящего диска разноименными полюсами.
Следовательно, заявляемое техническое решение соответствует требованию «новизна».
При реализации предлагаемого изобретения упрощается конструкция датчика положения ротора электрического двигателя и повышается его точность. Этот эффект обусловлен тем, что в устройстве используются два общих для всех чувствительных элементов постоянных магнита, жестко закрепленных на валу ротора вместе с магнитопроводящим диском. Поле постоянных магнитов распространяется до чувствительных элементов Холла через магнитопроводящий диск и воздушный зазор, в результате чего снижается чувствительность датчика к смещениям чувствительных элементов относительно магнитов, а также к неоднородности постоянных магнитов.
Следовательно, заявляемое техническое решение соответствует требованию «положительный эффект».
По каждому отличительному признаку проведен поиск известных технических решений в области электротехники, автоматики и электропривода.
Датчиков положения ротора электрического двигателя, содержащих неподвижный статор в виде диска, на котором размещены магниточувствительные элементы по линии окружности, подвижный ротор, на валу которого закреплены магнитопроводящий диск и намагниченные в аксиальном направлении постоянные магниты, в которых два постоянных магнита выполнены в виде колец и закреплены на валу ротора с разных сторон магнитопроводящего диска, который имеет четыре прорези, выполненные по линии окружности на расстоянии друг от друга, соответствующем углу /2, и шириной, соответствующей углу /4, магниточувствительные элементы расположены вдоль этой окружности на равном расстоянии, соответствующем углу /3, а кольцевые магниты размещены таким образом, что они плотно прилегают к поверхностям магнитопроводящего диска разноименными полюсами, в известных технических решениях аналогичного назначения не обнаружены.
Таким образом, указанные признаки обеспечивают заявляемому техническому решению соответствие требованию «существенные отличия».
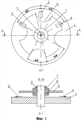
Сущность предлагаемого изобретения поясняется чертежами. На фиг.1,а показана конструкция датчика положения ротора электрического двигателя, на фиг.1,б показано поперечное сечение датчика положения ротора электрического двигателя, на фиг.2 показана временная диаграмма работы датчика.
Датчик положения ротора электрического двигателя содержит неподвижный статор 1, который жестко соединяется со статором электрического двигателя, магниточувствительные элементы 2, 3 и 4, в качестве которых используются, например, датчики Холла или магниторезисторы; ротор 5, выполненный из магнитоизолирующего материала и кинематически соединенный с ротором электрического двигателя; ферромагнитный диск 6 с прорезями и кольцевые постоянные магниты 7 и 8, намагниченные аксиально.
В датчике положения ротора электрического двигателя на неподвижном статоре 1, выполненном в виде диска, размещены магниточувствительные элементы 2, 3 и 4 по линии окружности, на валу подвижного ротора 5 закреплены магнитопроводящий диск и намагниченные в аксиальном направлении постоянные магниты 7 и 8, выполненные в виде колец и закрепленные на валу ротора 5 с разных сторон магнитопроводящего диска 6, который имеет четыре прорези, выполненные по линии окружности на расстоянии друг от друга, соответствующем углу /2, и шириной, соответствующей углу /4, магниточувствительные элементы расположены вдоль этой окружности на равном расстоянии, соответствующем углу /3, а кольцевые магниты 7 и 8 размещены таким образом, что они плотно прилегают к поверхностям магнитопроводящего диска 6 разноименными полюсами.
Датчик положения ротора электрического двигателя работает следующим образом. Магнитное поле постоянных магнитов 7 и 8 распространяется в магнитопроводящем диске 6. При вращении ротора 5 происходит срабатывание магниточувствительных элементов при попадании их в зоны действия магнитного поля (при прохождении магнитопроводящего участка диска над магниточувствительным элементом) и их выключение при прохождении над датчиком прорези. В результате на выходах трех датчиков формируются три импульсные последовательности, показанные на фиг.2, которые образуют трехразрядный цифровой код, отображающий положение ротора электрического двигателя На фиг.2 символами UА, UB, UC обозначены выходные сигналы трех магниточувствительных элементов 2, 3 и 4.
Предлагаемая конструкция датчика положения ротора электрического двигателя отличается простотой технической реализации и обеспечивает повышение точности датчика. Этот эффект обусловлен тем, что в устройстве используются два общих для всех чувствительных элементов постоянных магнита, жестко закрепленных на валу ротора вместе с магнитопроводящим диском. Поле постоянных магнитов распространяется до чувствительных элементов Холла через магнитопроводящий диск и воздушный зазор, в результате чего снижается чувствительность датчика к смещениям чувствительных элементов относительно магнитов, а также к неоднородности постоянных магнитов.
С целью подтверждения положительного эффекта, достигаемого при использовании предлагаемого технического решения, были проведены экспериментальные исследования датчика положения ротора, реализованного по схеме, изображенной на фиг.1, в составе мехатронной системы с вентильно-индукторным двигателем. Испытания проводились в условиях лаборатории ОАО «НИПТИЭМ», г.Владимир. В результате испытаний установлено, что при упрощенной (по сравнению с известными устройствами) конструкции обеспечивается повышение надежности и точности датчика положения ротора.
Таким образом, использование в датчике положения ротора электрического двигателя, содержащем неподвижный статор в виде диска, на котором размещены магниточувствительные элементы по линии окружности, подвижный ротор, на валу которого закреплены магнитопроводящий диск и намагниченные в аксиальном направлении постоянные магниты, двух постоянных магнитов, выполненных в виде колец и закрепленных на валу ротора с разных сторон магнитопроводящего диска, который имеет четыре прорези, выполненные по линии окружности на расстоянии друг от друга, соответствующем углу /2, и шириной, соответствующей углу /4, магниточувствительные элементы расположены вдоль этой окружности на равном расстоянии, соответствующем углу /3, а кольцевые магниты размещены таким образом, что они плотно прилегают к поверхностям магнитопроводящего диска разноименными полюсами, позволяет упростить конструкцию и повысить точность датчика.
Использование предлагаемого устройства в различных промышленных мехатронных системах позволит улучшить технические характеристики оборудования, оснащенного электроприводами с вентильными и вентильно-индукторными двигателями.
Формула изобретения
Датчик положения ротора электрического двигателя, содержащий неподвижный статор в виде диска, на котором размещены магниточувствительные элементы по линии окружности, подвижный ротор, на валу которого закреплены магнитопроводящий диск и намагниченные в аксиальном направлении постоянные магниты, отличающийся тем, что два постоянных магнита выполнены в виде колец и закреплены на валу ротора с разных сторон магнитопроводящего диска, который имеет четыре прорези, выполненные по линии окружности на расстоянии друг от друга, соответствующем углу /2, и шириной, соответствующей углу /4, магниточувствительные элементы расположены вдоль этой окружности на равном расстоянии, соответствующем углу /3, а кольцевые магниты размещены таким образом, что они плотно прилегают к поверхностям магнитопроводящего диска разноименными полюсами.
РИСУНКИ
|
|