|
(21), (22) Заявка: 2007137544/09, 09.10.2007
(24) Дата начала отсчета срока действия патента:
09.10.2007
(46) Опубликовано: 27.05.2009
(56) Список документов, цитированных в отчете о поиске:
SU 324947 А1, 05.04.1978. SU 306787 А1, 05.10.1977. SU 1171883 А1, 07.08.1985. SU 1589341 А1, 30.08.1990. WO 0249147 А2, 20.06.2002. RU 2003118424 А, 10.02.2005. RU 2016444 С1, 15.07.1994. SU 1426377 А1, 10.12.1995. JP 9074312, 18.03.1997. JP 4020103, 23.01.1992.
Адрес для переписки:
454080, г.Челябинск, ул. Энтузиастов, 13А, кв.48, Н.И. Войтовичу
|
(72) Автор(ы):
Войтович Николай Иванович (RU), Бухарин Виктор Алексеевич (RU), Ершов Алексей Валентинович (RU), Репин Николай Николаевич (RU)
(73) Патентообладатель(и):
Войтович Николай Иванович (RU)
|
(54) ПЛОСКАЯ РЕЗОНАТОРНАЯ АНТЕННА (ВАРИАНТЫ)
(57) Реферат:
Плоская резонаторная антенна, включающая в себя первый низкий объемный резонатор с частично прозрачной стенкой и второй резонатор с отверстиями связи, отличающаяся тем, что второй резонатор установлен внутри первого резонатора. Первый резонатор содержит первую пластину, первую и вторую объемные ячейки, вторую пластину, с выполненными на ней излучающими отверстиями. Второй резонатор выполнен в виде коаксиального резонатора с открытыми торцами; на внешнем проводнике коаксиального резонатора выполнены щели, внешний и внутренний проводники коаксиального резонатора соединены между собой короткозамыкателем. Второй резонатор соединен с фидером. Технический результат – малые размеры антенны, хорошее согласование антенны с фидером, малый уровень бокового и заднего излучения, малый уровень кроссполяризационного излучения, высокий к.п.д. антенны, малые потери электромагнитной энергии в фидере, малая шумовая температура антенны, высокий уровень электромагнитной совместимости, эстетичный вид. 2 н. и 9 з.п. ф-лы, 9 ил.
Изобретение относится к радиотехнике, а именно к антенно-фидерным устройствам, в частности к резонаторным антеннам. Эта новая плоская резонаторная антенна обеспечивает полосу частот согласования с фидером 3% от средней частоты на уровне КСВ менее 1,15. Предложенная полая резонаторная антенна обладает простотой конструкции, обусловленной тем, что в ней нет привычного, как правило, громоздкого, разветвленного фидерного тракта, состоящего из делителей мощности, линий передачи электромагнитной энергии, переходов и других устройств СВЧ. В полой резонаторной антенне роль делителя мощности выполняет непосредственно резонатор, а роль излучающей апертуры – внешняя поверхность одной из его стенок, выполненная в виде частично прозрачной пластины. В предложенной антенне в качестве возбудителя электромагнитных колебаний использован также полый резонатор на основе коаксиальной линии передачи, на внешнем проводнике которого выполнены отверстия связи. Антенна выгодно отличается низким уровнем бокового излучения в плоскости вектора , высоким коэффициентом использования апертуры, низкой собственной шумовой температурой, симметричной диаграммой направленности, низким уровнем кроссполяризационного излучения, малым весом, высокой механической прочностью. Предложенную антенну можно использовать как в качестве самостоятельной приемопередающей антенны, так и в качестве излучающего элемента пространственной антенной решетки для спутниковой, самолетной и наземной связи, для радиотехнических систем различного назначения.
Уровень техники
Во многих системах связи, в радиотехнических системах необходима антенна с высоким коэффициентом усиления. Такому требованию отвечают, например, зеркальные антенны, рупорные антенны, антенные решетки. Однако зеркальные и рупорные антенны громоздки, их характеристики существенно ухудшаются при воздействии дождя, снега и ветра. Зеркальные и рупорные антенны испытывают большие ветровые нагрузки. Поэтому мачта и элементы крепления антенн к мачте должны быть достаточно жесткими, и, как следствие, достаточно громоздкими и тяжелыми. Внешний вид зеркальных и рупорных антенн не гармонирует с внешним видом жилых и общественных зданий. Известные антенные решетки имеют громоздкую разветвленную систему питания с большим количеством делителей мощности, трансформаторов сопротивления и различного рода переходов, что приводит к потерям мощности в системе питания.
Стремление создать антенну эстетичной формы, с характеристиками, не подверженными заметному влиянию метеорологических факторов, без потерь энергии в фидерном тракте обусловили интерес к плоским антеннам на основе низких полых резонаторов, называемых далее объемными резонаторами. Плоские антенны имеют меньший вес, меньшую парусность, менее подвержены влиянию снега, дождя и ветра. Эстетическая согласованность плоских антенн с внешним видом жилых и общественных зданий позволяет устанавливать их на стенах зданий, внутри квартир и офисных помещений.
Известна первая плоская резонаторная антенна, называемая антенной фон Трентини (G.von Trentini. Partially Reflecting Sheet Arrays. IRE Transactions on Antennas and Propagation. – 1956, October. – AP-4. pp.666-671). Антенна фон Трентини конструктивно выполнена в виде открытого конца волновода с фланцем и сетки из проводов, параллельных узкой стенке волновода и расположенных на расстоянии от фланца, равном примерно половине длины волны. Фланец и сетка совместно с элементами крепления сетки к фланцу образуют пространственную ячейку, причем боковые стенки ячейки, параллельные проводам, открыты. По существу, антенна фон Трентини представляет собой открытый резонатор, возбуждаемый открытым концом волновода или (в другом примере) узкой щелью на торце волновода. Введение в состав антенны в виде открытого конца волновода с фланцем дополнительно частично отражающей структуры из параллельных проводов позволило повысить коэффициент усиления антенны в направлении максимума ее диаграммы направленности.
Однако известная первая антенна обладает рядом недостатков:
– узкая полоса согласования антенны с фидером;
– большой уровень бокового излучения;
– сравнительно малый коэффициент использования поверхности апертуры;
– велики размеры антенны в направлении оси волновода;
– мала ее механическая прочность.
Известна вторая плоская резонаторная антенна, отличающаяся тем, что в известную первую антенну дополнительно введены боковые стенки (G.von Trentini. Partially Reflecting Sheet Arrays. IRE Transactions on Antennas and Propagation. – 1956, October. – AP-4. pp.666-671)). В результате антенна имеет вид призматического металлического короба, причем одна стенка короба не металлизирована. На стенке короба, противолежащей не металлизированной стенке, выполнена щель. К стенке с щелью подсоединен прямоугольный волновод, при этом щель расположена в центре торца волновода. Не металлизированная стенка короба закрыта частично отражающей пластиной из высокочастотного диэлектрика или из искусственного диэлектрика. Пластина из искусственного диэлектрика при этом представляет собой сетку из параллельных друг другу и вектору напряженности электрического поля металлических проволок или металлических лент либо диэлектрическую (например, полистироловую) пластину с приклеенными к ней медными дисками. В другом варианте антенны в качестве искусственного диэлектрика использована металлическая пластина с выполненными на ней круглыми отверстиями (S.Jacobsen, E.Andersen, M.Gronlund. An Antenna Illuminated by a Cavity Resonator. Proceedings of the IEEE. – November 1963, 11, рр.1431-1435). Металлическая пластина припаивается или приваривается к коробу антенны, что делает антенну не разъемной.
Введение в состав антенны боковых стенок позволило повысить коэффициент использования поверхности апертуры и за счет этого повысить коэффициент направленного действия антенны в направлении максимума ее диаграммы направленности, однако появилась необходимость в дополнительных технологических операциях при ее изготовлении.
Кроме того, известная вторая антенна обладает следующими недостатками:
– узкая полоса согласования антенны с фидером;
– большой уровень бокового излучения;
– велики размеры антенны в направлении оси волновода;
– антенна представляет собой не разъемную конструкцию, что усложняет ее изготовление.
Известная вторая антенна, по существу, представляет собой закрытый объемный резонатор с частично прозрачной стенкой.
Известна третья плоская резонаторная антенна (A.Kumar, H.D.Hristov. Microwave Cavity Antennas. 1989. Artech House. ISBN 0-89006-334-6, p.79), состоящая из двух установленных последовательно друг за другом объемных (полых призматических или цилиндрических) резонаторов с общей стенкой, в которой выполнены отверстия связи, и фидера в виде прямоугольного волновода. Применение двух резонаторов, электромагнитно связанных между собой через отверстия в общей стенке, позволило расширить полосу согласования антенны с фидером. Однако при этом увеличивается размер антенны в направлении оси волновода примерно на половину длины волны в свободном пространстве.
Известна четвертая плоская резонаторная антенна (A.Kumar, H.D.Hristov. Microwave Cavity Antennas. 1989. Artech House. ISBN 0-89006-334-6. p.82), состоящая из трех установленных последовательно друг за другом объемных резонаторов и фидера в виде прямоугольного волновода. Применение трех резонаторов, электромагнитно связанных между собой через отверстия в общих стенках, позволило дополнительно расширить полосу согласования антенны с фидером. Однако при этом увеличивается размер антенны в направлении оси волновода по сравнению с известной третьей антенной примерно на половину длины волны в волноводе. Антенна обладает недостатками, присущими второй антенне.
Третья известная плоская резонаторная антенна является наиболее близкой к настоящему изобретению по совокупности существенных признаков. Антенна, состоящая из двух установленных последовательно друг за другом объемных резонаторов прямоугольной или цилиндрической формы с общей стенкой, на которой выполнены отверстия связи, и фидера в виде прямоугольного волновода, выделена авторами в качестве прототипа.
Раскрытие изобретения
Целью настоящего изобретения является уменьшение размеров резонаторной антенны в направлении, перпендикулярном плоскости раскрыва антенны. Другой целью изобретения является обеспечение широкой полосы рабочих частот антенны. Следующей целью изобретения является повышение технологичности изготовления антенны. Другой целью изобретения является обеспечение высокой механической прочности антенны.
Поставленные цели достигаются тем, что в плоской резонаторной антенне, содержащей первый и второй объемные резонаторы, второй резонатор установлен внутри первого низкого резонатора, при этом первый резонатор выполнен в виде слоистой структуры, содержащей первую пластину, первую и вторую объемные ячейки, вторую пластину с выполненными на ней отверстиями, а второй резонатор выполнен в виде коаксиального резонатора с разомкнутыми концами; на внешнем проводнике коаксиального резонатора выполнены щели, внешний и внутренний проводники коаксиального резонатора соединены между собой короткозамыкателем; внешний проводник коаксиального резонатора соединен с внешним проводником коаксиальной линии передачи, центральный проводник коаксиального резонатора соединен с центральным проводником коаксиальной линии передачи.
Установка второго объемного резонатора внутри первого резонатора и конструктивное выполнение первого и второго резонатора, как указано выше, позволило решить следующие задачи:
– создать плоскую резонаторную антенну с частично прозрачной поверхностью, диаметр раскрыва которой составляет несколько длин волн, а высота антенны равна примерно половине длины волны. В этой новой антенне раскрывом является вторая пластина с выполненными на ней отверстиями, роль делителя мощности выполняет непосредственно первый резонатор, возбудителем электромагнитных колебаний в первом резонаторе является второй резонатор с отверстиями связи в виде щелей на внешнем проводнике;
– создать антенну, имеющую широкую полосу согласования с фидером;
– создать антенну с низким уровнем бокового и заднего излучения;
– создать антенну, обеспечивающую за счет возбуждения в первом объемном резонаторе симметричного колебания симметричную диаграмму направленности в
плоскости вектора и в плоскости вектора , без раздвоения диаграммы и без отклонения максимума диаграммы направленности от плоскости, перпендикулярной к раскрыву антенны;
– создать антенну, обеспечивающую компенсацию реактивной составляющей входного импеданса антенны в широком диапазоне частот;
– создать антенну, сопротивление излучения которой в широком диапазоне частот изменяется в небольших пределах;
– создать антенну, обеспечивающую низкий КСВ в линии питания за счет согласования входного импеданса антенны с волновым сопротивлением фидера в широкой полосе частот;
– снизить за счет согласования антенны с фидером уровень мощности, возвращающийся к передатчику при работе антенны на передачу;
-повысить устойчивость антенны к высокочастотному пробою за счет снижения напряженности поля в соединителе радиочастотном вследствие снижения КСВ в линии питания при работе антенны в режиме передачи;
– обеспечить антенну устройствами согласования, во-первых, за счет изменения высоты первого резонатора, во-вторых, за счет изменения положения короткозамыкателя относительно центра щелей; в-третьих, за счет изменения диаметра короткозамыкателя;
– обеспечить простой метод компенсации реактивной составляющей входного импеданса антенны в диапазоне частот за счет электромагнитной связи двух резонаторов;
– обеспечить максимальную передачу мощности за счет согласования с волновым сопротивлением фидера;
– минимизировать потери в фидере и в результате снизить нагрев фидера при передаче по нему мощности;
– снизить уровень искажений спектра передаваемого (принимаемого) антенной сигнала за счет равномерной амплитудно-фазовой характеристики антенны в диапазоне частот;
– создать антенну, удобную для ее монтажа на трубе или на поясе решетчатой башни;
– создать антенну разборной конструкции,
– создать антенну с высокой механической прочностью;
– создать антенну эстетичной формы, которую можно было бы размещать как вне зданий, так и внутри офисных и жилых помещений.
Решение перечисленных выше задач свидетельствует о том, что создана новая и полезная резонаторная антенна, обеспечивающая рабочие характеристики в широком диапазоне частот.
Решение этих и других задач поясняется далее текстом и чертежами на фигурах.
Краткое описание чертежей
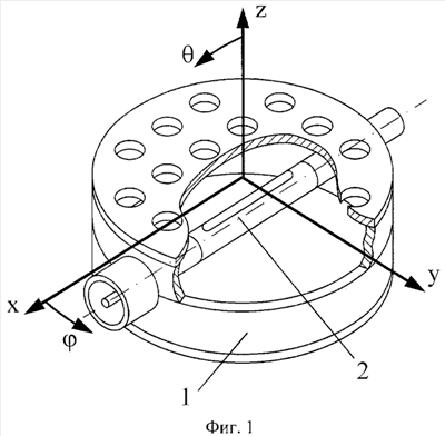
На фиг.1 представлена в изометрии плоская резонаторная антенна в соответствии с настоящим изобретением в собранном виде, приведены прямоугольная и сферическая системы координат.
На фиг.2 представлена в изометрии плоская резонаторная антенна в соответствии с настоящим изобретением в разобранном виде.
На фиг.3 показана сборка, включающая в себя коаксиальный резонатор с открытыми торцами, фидер, соединитель радиочастотный и кронштейн.
На фиг.4 представлена расчетная пространственная диаграмма направленности антенны.
На фиг.5 представлены расчетные диаграммы направленности антенны в плоскости вектора и в плоскости вектора .
На фиг.6 приведены графики расчетной зависимости от частоты модуля коэффициента отражения по напряжению на входе отрезка коаксиальной линии передачи.
На фиг.7 показана сборка по второму варианту выполнения антенны по настоящему изобретению, включающая в себя два коаксиальных резонатора с открытыми торцами, тройник, соединитель радиочастотный и два кронштейна.
На фиг.8 показана сборка по третьему варианту выполнения антенны по настоящему изобретению, включающая в себя коаксиальный резонатор с закороченными концами, соединитель радиочастотный и два кронштейна.
На фиг.9 приведены экспериментальные диаграммы направленности образца резонаторной антенны по настоящему изобретению в плоскости вектора и в плоскости вектора на частоте 2,4 ГГц.
Осуществление изобретения
Первый вариант выполнения антенны
Теперь обратимся к фиг.1, на которой плоская резонаторная антенна в соответствии с настоящим изобретением представлена в изометрии в собранном виде, и к фиг.2, на которой упомянутая антенна представлена в разобранном виде. Антенна состоит из первого объемного резонатора 1, второго объемного резонатора 2, коаксиальной линии передачи 3, соединителя радиочастотного 4, кронштейна 5, диэлектрических шайб (на фиг.1 и фиг.2 не показаны), радиопрозрачного обтекателя (на фиг.1 и фиг.2 не показан). Второй объемный резонатор представляет собой коаксиальный резонатор. Коаксиальный резонатор 2, коаксиальная линия передачи 3, соединитель радиочастотный 4 и кронштейн 5 образуют сборку 6.
Первый объемный резонатор состоит из первой пластины 7, первой объемной ячейки 8 с пазами 9 и 10, второй объемной ячейки 11 с пазами 12 и 13, пластины 14 с выполненными на ней отверстиями 15. Первая пластина 7, первая 8 и вторая 11 объемные ячейки и вторая пластина 14 выполнены из хорошо проводящего материала, например из медного или алюминиевого сплава. В другом варианте первая пластина 7, первая 8 и вторая 11 объемные ячейки и вторая пластина 14 выполнены из пластмассы, покрытой слоем металла.
Начало декартовой и сферической систем координат на фиг.1 привязано к центру внешней стороны пластины 14.
Второй объемный резонатор 2 (фиг.3) состоит из центрального проводника 16 и внешнего проводника 17 и представляет собой полуволновый коаксиальный резонатор с открытыми концами (в сечениях ВВ и СС на фиг.3). Коаксиальная линия передачи 3 состоит из центрального проводника 18 и внешнего проводника 19. Кронштейн 5 представляет собой отрезок металлической или диэлектрической трубки или диэлектрический стержень. Центральные проводники 16, 18 и внешние проводники 17, 19 выполнены из хорошо проводящего материала. На внешнем проводнике 17 цилиндрического резонатора 2 выполнены две щели: 20 и 21. Предпочтительно щели должны иметь длину, равную половине длины волны на средней частоте рабочего диапазона. Ширина щели составляет величину, примерно равную длины волны. Центральный 16 и внешний проводники 17 коаксиального резонатора соединены между собой короткозамыкателем 22. Короткозамыкатель расположен на расстоянии, равном примерно от центра щели. Короткозамыкатель выполнен из хорошо проводящего материала. Центральный 18 и внешний 19 проводники коаксиальной линии передачи 3 с одной стороны гальванически соединены с центральным 16 и внешним 17 проводниками коаксиального резонатора 2, соответственно, а с другой стороны соединены с соединителем радиочастотным 4. В качестве соединителя 4 может быть использован стандартный соединитель радиочастотный.
Указанные выше устройства и детали соединены между собой следующим образом. Первая пластина 7 соединена с первой объемной ячейкой 8. Предпочтительно иметь гальваническую связь пластины 7 с ячейкой 8. Гальваническая связь обеспечивается пайкой, спеканием, сваркой или приклейкой токопроводящим клеем. Гальваническая связь между пластиной и ячейкой может быть выполнена, например, путем изготовления их в виде единой конструкции методом глубокой вытяжки из металлической пластины.
Вторая пластина 14 соединена со второй объемной ячейкой 11. Предпочтительно иметь гальваническую связь пластины 14 с ячейкой 11. Пластина 14 и ячейка 11 могут быть изготовлены, например, методом глубокой вытяжки из металлической пластины с последующей штамповкой отверстий 15. Первая 8 и вторая 11 объемные ячейки соединены между собой с помощью защелок или винтов (на фиг.1 не показано) так, что паз 9 расположен напротив паза 12 с образованием первого отверстия на сборке из двух ячеек, паз 10 расположен напротив паза 13 с образованием второго отверстия на сборке из двух ячеек. При этом между первой объемной ячейкой и второй объемной ячейкой образуется гальванический контакт по всему периметру соединения. В другом варианте соединения первая и вторая ячейки не образуют гальванический контакт ни в одной точке вдоль всего периметра соединения. Естественно, возможен такой вариант соединения, при котором имеется гальванический контакт между первой и второй ячейками в отдельных точках вдоль периметра их соединения, например в тех точках, где кронштейн или коаксиальная линии передачи опираются на боковую поверхность пазов.
Сборка 6 установлена внутри первого резонатора, при этом кронштейн 5 опирается на боковую поверхность второго отверстия в сборке из ячеек, коаксиальная линия передачи 3 опирается на боковую поверхность первого отверстия в сборке из ячеек. При этом сборка 6 ориентирована так, что поверхности отверстий 20 и 21 на внешнем проводнике коаксиального резонатора параллельны поверхности второй пластины 14 (и, соответственно, поверхности первой пластины 7).
В другом варианте соединения пластина 14 соединена с объемной ячейкой 11 без образования гальванического контакта. В следующем варианте соединения пластина 7 соединена с ячейкой 8 без образования гальванического контакта. В следующем варианте соединения пластина 14 соединена с объемной ячейкой 11 без образования гальванического контакта, пластина 7 соединена с ячейкой 8 без образования гальванического контакта.
Антенна работает следующим образом. В режиме передачи электромагнитная волна типа ТЕМ поступает от источника колебаний через соединитель радиочастотный 4 на вход коаксиальной линии передачи 3 и далее на вход коаксиального резонатора, образуемого центральным проводником 16 и внешним проводником 17. Длина каждого из проводников 16 и 17 равна половине длины волны в коаксиальной линии передачи. Вследствие короткого замыкания внешнего и внутреннего проводников резонатора короткозамыкателем 22 в резонаторе возбуждаются колебания как электрического типа (Е-типа), так и магнитного типа (Н типа), а именно возбуждаются такие колебания, при которых удовлетворяются граничные условия для векторов напряженности электрического и магнитного полей как на поверхности внешнего и внутреннего проводников, так и на поверхности короткозамыкателя. Короткозамыкатель 22, по существу, выполняет роль трансформатора типов колебаний в коаксиальном резонаторе. Колебания магнитного Н типа в резонаторе сопровождаются поверхностным током на внутренней поверхности внешнего проводника с азимутальной составляющей. Вследствие прерывания щелями азимутальной составляющей тока между краями щелей образуется электрическое поле. Возникшее в щели электрическое поле играет роль внешнего источника (магнитных диполей) по отношению к первому объемному резонатору. При этом в закрытом полом круговом цилиндрическом резонаторе возбуждается колебание Н111. Именно это колебание определяет на рабочих частотах требуемое амплитудно-фазовое распределение магнитных токов в излучающих отверстиях 15. Через отверстия 15 электромагнитная энергия проникает в окружающее антенну пространство и вдали от антенны приобретает характер распространяющихся на бесконечность электромагнитных волн. Таким образом, вторая пластина 14 с выполненными на ней излучающими отверстиями 15 играет роль частично прозрачной стенки первого объемного резонатора. Первая пластина 7, первая и вторая объемные ячейки являются экранами. Первая пластина 7, первая и вторая объемные ячейки, вторая пластина 14 с выполненными на ней излучающими отверстиями 15 совместно образуют первый объемный резонатор с частично прозрачной поверхностью. Точную структуру электромагнитного поля в линии передачи, втором объемном резонаторе, в щелях, в первом объемном резонаторе, в излучающих отверстиях и окружающем антенну пространстве авторы находили из решения волновых уравнений при заданных (идеальных) граничных условиях на поверхности антенны.
Колебание Н111 имеет особенность, заключающуюся в том, что продольный ток (ток, текущий по стенкам первого объемного резонатора в направлении, параллельном оси цилиндра) в центральном сечении (в сечении, проходящем через центр резонатора параллельно его основаниям) равен нулю. Поэтому на цилиндрической стенке резонатора, в его центральном сечении, может быть выполнена узкая кольцевая щель, которая практически не повлияет на колебание H111. Такая щель делит резонатор на две части, при этом не наблюдается излучение из зазора, образовавшегося между половинками резонатора. Эта особенность в поведении тока на стенках резонатора в данном изобретении использована для построения антенны разъемной конструкции. Разъемная конструкция антенны позволяет упростить технологию изготовления антенны.
Были вычислены диаграммы направленности антенны и коэффициент отражения волны по напряжению в фидере. При этом предполагалось, что проводники антенны имеют бесконечно большую проводимость, а диэлектрики имеют вещественную диэлектрическую проницаемость. Строгий расчет полей электродинамической структуры проводился традиционным частотным и новым временным методами. Краевая задача, сформулированная для уравнений Максвелла с начальными и граничными уравнениями, сводилась к интегральным уравнениям в пространственно-частотном и в пространственно-временном представлении. Интегральные уравнения решались численно. На фиг.4 приведена расчетная пространственная диаграмма направленности предложенной антенны на одной из частот рабочего диапазона. На фиг.5 приведены графики диаграмм направленности в плоскости вектора (пунктирная линия) и в плоскости вектора (сплошная линия).
Как показали численные эксперименты, вследствие возбуждения в первом объемном резонаторе симметричного колебания антенна формирует симметричную диаграмму направленности в плоскости вектора и в плоскости вектора , без раздвоения диаграммы и без отклонения максимума диаграммы направленности от плоскости, перпендикулярной к раскрыву антенны, в широком диапазоне частот.
Как видно из рассмотрения графиков на фиг.4 и фиг.5, указанная выше конструкция обеспечивает низкий уровень бокового излучения антенны. В плоскости вектора уровень первого бокового лепестка менее минус 22 дБ, в плоскости вектора уровень бокового излучения менее минус 38 дБ.
На фиг.6 приведен график зависимости модуля коэффициента отражения по напряжению |S11| на входе коаксиальной линии передачи. Как видно из рассмотрения графика на фиг.4, указанная выше конструкция обеспечивает согласование антенны с фидером в широком диапазоне частот. По уровню модуля коэффициента отражения, равном , полоса частот составляет 3% от средней частоты диапазона.
Антенна имеет низкий уровень кроссполяризационного излучения.
Как следует из чертежа на фиг.1, фидер от передатчика присоединяется к предложенной антенне через соединитель радиочастотный, расположенный на цилиндрической части поверхности антенны. Антенна же при ее применении в качестве наружной приемопередающей антенны смонтирована таким образом, что нормаль к раскрыву антенны, т.е. к пластине 14, лежит либо в горизонтальной плоскости, либо составляет некоторый небольшой угол с горизонтальной плоскостью. Следовательно, предложенная антенна удобна для ее монтажа на трубе или на поясе башни.
Второй вариант выполнения антенны
Плоская резонаторная антенна в соответствии со вторым вариантом по настоящему изобретению состоит из первого объемного резонатора 1 (фиг.1), второго объемного резонатора 2, третьего объемного резонатора 23 (фиг.7), тройникового делителя мощности 24, соединителя радиочастотного 4, кронштейна 5, дополнительного кронштейна 25, диэлектрических шайб (на фиг 7. не показаны), радиопрозрачного обтекателя (на фиг.1 не показан). Второй объемный резонатор 2, третий объемный резонатор 23, тройниковый делитель мощности 24, соединитель радиочастотный 4, кронштейн 5 и дополнительный кронштейн 25 образуют сборку 26.
Первый объемный резонатор (фиг.2) состоит из первой пластины 7, первой объемной ячейки 8 с пазами 9 и 10, второй объемной ячейки 11 с пазами 12 и 13, второй пластины 14 с выполненными на ней излучающими отверстиями 15. Отверстия 15 имеют круглую или квадратную или прямоугольную форму. В первой пластине 7 выполнено отверстие для ввода через него и первый резонатор фидера к тройнику 24. Второй 2 и третий 23 объемные резонаторы в этом варианте аналогичны коаксиальному резонатору первого варианта выполнения антенны.
На внешнем проводнике коаксиального резонатора 23 выполнены две щели: 28 и 29. Центральный и внешний проводники коаксиального резонатора 23 соединены между собой короткозамыкателем (на фиг. не показано). Центральный и внешний проводники первого и второго коаксиальных резонаторов соединены соответственно с центральными и внешними проводниками с первым и вторым плечами тройника 24, соответственно. Третье плечо тройника соединено с фидером.
Указанные выше устройства и детали соединены между собой следующим образом. Первая пластина 7 соединена с первой объемной ячейкой 8. Вторая пластина 14 соединена со второй объемной ячейкой 11. Первая 8 и вторая 11 объемные ячейки соединены между собой с помощью защелок или винтов (на фиг. не показано) так, что паз 9 расположен напротив паза 12 с образованием при соединении первого отверстия на сборке из двух ячеек, паз 10 расположен напротив паза 13 с образованием при соединении второго отверстия на сборке из двух ячеек. При этом между первой объемной ячейкой и второй объемной ячейкой образуется гальванический контакт по всему периметру соединения. В другом варианте соединения первая и вторая объемные ячейки не образуют гальванический контакт ни в одной точке вдоль всего периметра соединения. В другом варианте соединения имеется гальванический контакт между первой и второй ячейками в отдельных точках вдоль периметра их соединения, например в тех точках, на которые опирается кронштейн или коаксиальная линия передачи.
Сборка 26 с одной стороны опирается кронштейном 5 на боковую поверхность второго отверстия в сборке из ячеек, с другой стороны сборка опирается кронштейном 25 на боковую поверхность первого отверстия в сборке из ячеек. При этом поверхности щелей 20, 21, 28 и 29 ориентированы параллельно поверхности второй пластины 14 (и, следовательно, поверхности первой пластины 7).
Возможны варианты соединения пластины 14 с первой объемной ячейкой и пластины 7 со второй ячейкой 8, аналогичные соединениям в первом варианте выполнения антенны. Работа антенны по второму варианту аналогична работе антенны в первом варианте исполнения антенны по настоящему изобретению.
Включение в состав антенны второго объемного резонатора позволило повысить коэффициент использования поверхности апертуры и, соответственно, коэффициент направленного действия антенны.
Третий вариант выполнения антенны
Плоская резонаторная антенна в соответствии с третьим вариантом по настоящему изобретению состоит из первого объемного резонатора 1 (фиг.1), второго объемного резонатора 2 (фиг.8) в виде коаксиального резонатора, оба конца которого замкнуты проводящими короткозамыкающими пластинами 30, 31, тройникового делителя мощности 24, соединителя радиочастотного 4, кронштейна 5, дополнительного кронштейна 25, диэлектрических шайб (на фиг.1 не показаны), радиопрозрачного обтекателя (на фиг.1 не показан).). Коаксиальный резонатор 2 с короткозамыкающими пластинами 30 и 31, тройниковый делитель мощности 24, соединитель радиочастотный 4, кронштейны 5 и 25 образуют сборку 32.
На внешнем проводнике коаксиального резонатора 2 выполнены две пары щелей: 20, 21 и 28, 29. Центральный и внешний проводники коаксиального резонатора 2 соединены между собой двумя короткозамыкателями (на фиг.8 не показано). Фидер подсоединен ко второму резонатору в его среднем сечении с образованием тройникового соединения 24.
Указанные выше устройства и детали соединены между собой аналогично соединению во втором варианте выполнения антенны.
Применение в качестве второго резонатора коаксиального резонатора с закрытыми концами увеличило коэффициент использования поверхности апертуры и, соответственно, коэффициент направленного действия антенны, расширило полосу рабочих частот антенны.
В других вариантах второго резонатора один конец коаксиального резонатора открыт, а второй конец резонатора закорочен металлической пластиной.
Отметим следующее. В указанных выше вариантах выполнения антенны первая и вторая объемные ячейки представлены в форме полых круговых цилиндров. В действительности, ячейки могут иметь другую форму, например форму эллиптических цилиндров или иную симметричную форму, обусловленную особенностью геометрии того пространства, которое выделено для размещения антенны. Если резонаторная антенна используется в качестве излучающего элемента антенной решетки, то предпочтительна форма цилиндра с поперечным сечением в виде некоторого многоугольника: квадрата, прямоугольника или шестиугольника. Если резонаторная антенна используется в качестве самостоятельной антенны, то предпочтительна форма в виде кругового цилиндра. Эта форма оказывается наиболее технологичной при изготовлении антенны.
Авторы полагают, что упоминание цилиндрической формы ячейки не ограничивает применение других ее форм. Ячейки могут иметь, например, форму усеченного конуса. Такая форма выгодна с технологической точки зрения. Наконец, возможна бочкообразная форма первого объемного резонатора, собираемого из двух ячеек.
Размеры раскрыва антенны, а следовательно, и поперечного сечения ячейки при любой форме ячеек выбираются из условия обеспечения заданного коэффициента направленного действия антенны. Высота антенны выбирается близкой к половине длины волны, исходя из условия обеспечения резонанса в антенне на средней частоте диапазона. Толщины экрана, стенок ячейки и частично прозрачной стенки выбираются, исходя из условия обеспечения механической прочности антенны.
С целью защиты металлических деталей от коррозии их поверхность может быть покрыта слоем диэлектрика толщиной 5-20 мкм.
Примеры экспериментальных образцов антенны
Был изготовлен образец широкополосной резонаторной антенны в соответствии с настоящим изобретением.
Образец антенны (фиг.1, фиг.2) состоит из первого объемного резонатора 1, второго объемного резонатора 2, коаксиальной линии передачи 3, соединителя радиочастотного 4, цилиндрического кронштейна 5, диэлектрических шайб (на фиг. не показано). Второй объемный резонатор 2, коаксиальная линия передачи 3, соединитель радиочастотный 4 и кронштейн 5 совместно образуют сборку 6.
В образце антенны первая пластина 7 и первая объемная ячейка 8 в виде кругового цилиндра выполнены в виде единой детали из алюминиевого сплава АМг6м. Внутренний диаметр ячейки равен 227 мм. Высота цилиндра равна 30,7 мм.
Вторая пластина 14 и вторая объемная ячейка 11 выполнены также в виде единой детали из алюминиевого сплава АМг6м. Внутренний диаметр ячейки равен 227 мм. На пластине 14 просверлены девятнадцать отверстий 15 диаметром 35 мм. Центры отверстий 15 расположены в вершинах равносторонних треугольников со стороной 47,92 мм. На объемных ячейках 8, 11 выбраны пазы 9, 10, 12, 13 в виде полуцилиндров радиусом 5 мм.
Второй объемный резонатор 2 состоит из центрального проводника 16 и внешнего проводника 17 и представляет собой коаксиальный резонатор с открытыми концами (фиг.3). Центральный проводник 16 выполнен в виде отрезка кругового цилиндра диаметром 7 мм из латуни, длина отрезка равна 57,2 мм. Вдоль оси цилиндра выполнено резьбовое отверстие глубиной 6 мм. Внешний проводник 17 коаксиального резонатора, внешний проводник 19 коаксиальной линии передачи и кронштейн 5 выполнены в виде единой конструкции из латунной трубки с внешним диаметром 10 мм и внутренним диаметром 8 мм. Толщина стенки трубки равна 1 мм. Центральный проводник 18 коаксиальной линии передачи 3 выполнен из латунного стержня диаметром 3,5 мм. На конце стержня нарезана резьба, обеспечивающая резьбовое соединение центральных стержней коаксиальной линии передачи и коаксиального резонатора.
На внешнем проводнике 17 цилиндрического резонатора 2 профрезерованы две щели: 20 и 21, каждая длиной 57,2 мм и шириной 3 мм. Щели расположены симметрично по отношению к центру центрального проводника резонатора. Центральный 16 и внешний проводники 17 коаксиального резонатора соединены между собой короткозамыкателем 22. Короткозамыкатель выполнен в виде латунного цилиндра диаметром 3 мм. Короткозамыкатель расположен на расстоянии 16,9 мм от центра щели симметрично относительно продольных краев щелей.
Коаксиальная линия передачи соединена с соединителем радиочастотным типа “Экспертиза”.
В первом эксперименте первая 8 и вторая 11 объемные ячейки были соединены между собой с помощью винтов (на фиг. не показано) так, что паз 9 расположен напротив паза 12 с образованием первого паза-отверстия диаметром 10 мм на сборке из двух ячеек, при этом паз 10 расположен напротив паза 13 с образованием второго паза-отверстия диаметром 10 мм на сборке из двух ячеек. При этом между первой объемной ячейкой и второй объемной ячейкой в первом эксперименте образован гальванический контакт по всему периметру соединения.
Во втором эксперименте варианте соединения между первой и второй ячейками была положена пленка из лавсана толщиной 50 микрон. В результате во втором эксперименте варианте первая и вторая ячейки не имели гальванический контакт ни в одной точке вдоль всего периметра соединения.
Сборка 6 введена в первое отверстие на сборке из ячеек, так что кронштейн 5 опирается на боковую поверхность второго отверстия, коаксиальная линия передачи 3 опирается на боковую поверхность первого отверстия в сборке из ячеек. При этом поверхности щелей 20 и 21 параллельны поверхности второй пластины 14 (и, следовательно, поверхности первой пластины 7).
Были измерены диаграммы направленности образца антенны и уровень кроссполяризационного излучения в плоскости вектора (в плоскости =90° на фиг.1) и в плоскости вектора (в плоскости =0°). Измеренные на образце диаграммы направленности на частоте 2,4 ГГц представлены графиками на фиг.9. Как видно из рассмотрения графиков на фиг.9, диаграммы направленности в плоскости вектора в плоскости вектора имеют симметричный вид.
По результатам измерений уровень бокового излучения в плоскости вектора не превышает минус 23 дБ. Величина бокового излучения в плоскости вектора не превышает величину минус 36 дБ.
Уровень кроссполяризационного излучения в плоскости вектора и в плоскости вектора не превышает минус 35 дБ.
КСВ имеет значение, равное 1,05 на средней частоте диапазона, и увеличивается до 1,4 на границе рабочего диапазона частот.
Как показал эксперимент, в котором лавсановая пленка была уложена между первой и второй объемными ячейками, зазор в 50 микрон между ячейками практически не оказывает влияние на диаграмму направленности антенны и на ее согласование с фидером.
Применение изобретения
Изобретение может быть с успехом использовано в качестве самостоятельной антенны для приема и передачи данных в системах связи, в частности, для реализации энерго-ресурсосберегающих технологий, а также в качестве приемопередающей антенны в системах спутниковой, самолетной связи, в системах навигации и посадки самолетов, в других аэродромных радиотехнических системах. Предложенная антенна может быть использована в качестве излучающего элемента линейной, плоской или пространственной антенной решетки.
Предложенная плоская резонаторная антенна полезна во всех тех случаях, когда требуются:
– малые размеры антенны;
-хорошее согласование антенны с фидером в полосе рабочих частот, составляющей несколько процентов от средней частоты;
– малый уровень бокового и заднего излучения;
– высокий к.п.д. антенны;
– малые потери электромагнитной энергии в фидере;
– малый уровень кроссполяризационного излучения;
– малая шумовая температура антенны;
– высокий уровень электромагнитной совместимости;
– высокая механическая прочность антенны;
– эстетичный вид.
Формула изобретения
1. Резонаторная антенна, содержащая первый объемный резонатор с частично прозрачной стенкой, второй объемный резонатор и фидер, при этом фидер соединен со вторым резонатором, отличающаяся тем, что второй объемный резонатор установлен внутри первого объемного резонатора.
2. Антенна по п.1, отличающаяся тем, что первый объемный резонатор представляет собой многослойную структуру, образованную первой пластиной, первой объемной ячейкой, второй объемной ячейкой и второй пластиной, причем на второй пластине выполнены отверстия, при этом первая и вторая пластины, первая и вторая объемные ячейки выполнены из электропроводящего материала, первая объемная ячейка имеет гальванический контакт с первой пластиной, вторая объемная ячейка имеет гальванический контакт со второй пластиной, первая и вторая объемные ячейки соединены между собой с образованием гальванического контакта.
3. Антенна по п.2, отличающаяся тем, что первая и вторая объемные ячейки соединены между собой без образования гальванического контакта.
4. Антенна по п.1, отличающаяся тем, что второй объемный резонатор выполнен в виде коаксиального резонатора с разомкнутыми концами, двумя щелями на внешнем проводнике и короткозамыкателем, при этом щели на внешнем проводнике коаксиального резонатора противолежат друг другу; короткозамыкатель гальванически соединяет между собой центральный проводник и внешний проводник коаксиального резонатора.
5. Антенна по п.3, отличающаяся тем, что содержит коаксиальный резонатор, оба конца которого замкнуты проводящими пластинами, а также два короткозамыкателя, при этом на внешнем проводнике резонатора выполнены две пары противолежащих друг другу щелей, причем коаксиальный резонатор соединен с фидером в среднем сечении резонатора, короткозамыкатели расположены по разные стороны от среднего сечения резонатора и соединяют центральный проводник с внешним проводником резонатора.
6. Антенна по п.1, отличающаяся тем, что дополнительно содержит третий объемный резонатор и тройник, при этом первый выход тройника соединен с вторым резонатором, второй выход тройника соединен с третьим резонатором, а вход тройника соединен с фидером.
7. Антенна по п.2, отличающаяся тем, что упомянутая первая объемная ячейка соединена с первой пластиной без образования гальванического контакта.
8. Антенна по п.2, отличающаяся тем, что упомянутая вторая ячейка соединена со второй пластиной без образования гальванического контакта.
9. Антенна по п.2, отличающаяся тем, что упомянутая слоистая структура соединена без образования гальванического контакта первой объемной ячейки с первой пластиной, без образования гальванического контакта второй объемной ячейки со второй пластиной.
10. Антенна по п.2, отличающаяся тем, что первая пластина, первая объемная ячейка, вторая объемная ячейка и вторая пластина выполнены из металлизированного диэлектрика.
11. Резонаторная антенна, содержащая первый объемный резонатор с частично прозрачной стенкой, второй объемный резонатор и фидер, при этом фидер соединен со вторым резонатором, отличающаяся тем, что первый объемный резонатор образован первой пластиной, первой объемной ячейкой в виде полого кругового цилиндра, второй объемной ячейкой в виде полого кругового цилиндра и второй пластиной, причем на второй пластине выполнены круглые отверстия, при этом первая и вторая пластины, первая и вторая объемные ячейки выполнены из электропроводящего материала, первая объемная ячейка имеет гальванический контакт с первой пластиной, вторая объемная ячейка имеет гальванический контакт со второй пластиной, первая и вторая объемные ячейки соединены между собой без образования гальванического контакта; второй объемный резонатор выполнен в виде коаксиального резонатора с разомкнутыми концами, двумя щелями на внешнем проводнике и короткозамыкателем, при этом щели на внешнем проводнике коаксиального резонатора противолежат друг другу; короткозамыкатель гальванически соединяет между собой центральный проводник и внешний проводник коаксиального резонатора; коаксиальный резонатор смонтирован в среднем сечении цилиндра, образованного первой и второй объемными ячейками.
РИСУНКИ
|