|
|
(21), (22) Заявка: 2007114025/09, 08.09.2005
(24) Дата начала отсчета срока действия патента:
08.09.2005
(30) Конвенционный приоритет:
09.09.2004 US 10/939,185
(43) Дата публикации заявки: 27.10.2008
(46) Опубликовано: 27.05.2009
(56) Список документов, цитированных в отчете о поиске:
WO 9917390 А1, 08.04.1999. RU 2129323 С1, 20.04.1999. US 4374184, 15.02.1983. US 4808491, 28.02.1989.
(85) Дата перевода заявки PCT на национальную фазу:
09.04.2007
(86) Заявка PCT:
US 2005/032299 20050908
(87) Публикация PCT:
WO 2006/029372 20060316
Адрес для переписки:
197046, Санкт-Петербург, Каменноостровский пр-кт, 1/3, оф.30, ООО “Юридическая фирма Городисский и Партнеры”, пат.пов. Н.В.Потаниной
|
(72) Автор(ы):
ФИННЕРТИ Кэйн (US)
(73) Патентообладатель(и):
НаноДинамикс Энерджи, Инк. (US)
|
(54) УСТАНОВКА С ТВЕРДООКСИДНЫМ ТОПЛИВНЫМ ЭЛЕМЕНТОМ
(57) Реферат:
Изобретение относится к установкам с твердооксидным топливным элементом. Согласно изобретению установка с твердооксидным топливным элементом содержит главный опорный патрубок, содержащий один или более преобразующих катализаторов, пластину топливного элемента, устройство токосъема, содержащее пластину токосъема и, по меньшей мере, один топливный элемент, в которой, по меньшей мере, один топливный элемент и пластина токосъема выполнены с обеспечением возможности перемещения в направлении, параллельном продольной оси, по меньшей мере, одного топливного элемента. Техническим результатом является уменьшение или устранение температурных нагрузок, которые могут привести к преждевременному выходу из строя твердооксидных топливных элементов. 24 з.п. ф-лы, 22 ил.
Область техники, к которой относится изобретение
Настоящее изобретение относится к новым установкам с топливными элементами. В частности, изобретение относится к установкам с твердооксидным топливным элементом.
Предшествующий уровень техники
Топливный элемент является электрическим устройством, которое преобразует энергетический потенциал топлива в электричество с помощью электрохимической реакции. В целом, топливный элемент состоит из двух электродов, разделенных электролитом. Электролит допускает пропускание только определенных типов ионов. Селективное пропускание ионов через электролит приводит к возникновению потенциала, генерирующегося между двумя электродами. Этот потенциал может быть использован для выполнения полезной работы, такой как питание мотора транспортного средства или бытовых электроприборов. Этот процесс прямого химического преобразования увеличивает эффективность генерации электроэнергии за счет отсутствия в нем этапов механической работы, используемых в общепринятых устройствах, вырабатывающих электроэнергию, таких как турбинные установки. Кроме того, результатом комбинации высокой эффективности и электрохимических процессов является экологически чистый продукт.
Твердооксидный топливный элемент (ТОТЭ) – это устройство, в котором эффективность процесса преобразования энергетического потенциала топлива в электроэнергию путем электрохимической реакции составляет приблизительно 40%. ТОТЭ состоит из трех основных элементов: анода, испускающего электроны, катода, который поглощает электроны, и электролита, который пропускает ионы, но предотвращает пропускание электронов. В отличие от большинства топливных элементов ТОТЭ может работать используя разные типы топлива (например, водород, пропан и дизельное топливо) без отдельного химического преобразователя. Поэтому установка с ТОТЭ вырабатывает большее количество энергии на фунт топлива, чем конкурирующие установки с топливными элементами, такие как установки, включающие в себя топливные элементы с протонно-обменными мембранами.
Существует два главных структурных типа ТОТЭ – с трубчатыми элементами и плоскими элементами – относящиеся к форме соответствующих топливных элементов, которые могут иметь форму цилиндров или пластин. Твердооксидные топливные элементы работают при относительно высоких температурах, около 850-1000 градусов Цельсия. В результате этого при этих высоких рабочих температурах в плоских топливных элементах возникают проблемы с герметизацией вокруг керамических частей элементов. То есть существует необходимость в создании усовершенствованной установки с топливным элементом, которая создает низкие внутренние температурные нагрузки и соответственно имеет менее строгие требования к уплотнению.
Краткое описание изобретения
Настоящее изобретение представляет собой установку с твердооксидным топливным элементом, которая включает в себя главное опорное средство, средство для фиксации, средство токосъема и, по крайней мере, одно средство топливного элемента. При этом в установке средство топливного элемента и средство токосъема выполнены с обеспечением возможности их перемещения в направлении, параллельном оси средства топливного элемента.
В соответствии с одним аспектом изобретения средство топливного элемента, например патрубки топливного элемента, жестко закрепляется на средстве токосъема, как, например, через проводящий материал (например, проводящую пасту), и образует узел, который является съемным как единое целое. В соответствии с одним вариантом осуществления средство топливного элемента устанавливается на деталях, выступающих над поверхностью средства фиксации, например на инжекторных патрубках (7), таким образом, чтобы зазор между средством топливного элемента и деталями, выступающими над поверхностью средства фиксации, был достаточно небольшим для того, чтобы была возможность эксплуатации без использования уплотнения между средством топливного элемента и средством фиксации. В соответствии с другим вариантом осуществления средство топливного элемента вставлено в углубление средства для фиксации. Длина катода и электролита является изменяющейся по окружности с целью создания не изолированной области на аноде для обеспечения токосъема. Главное опорное средство установки с топливным элементом может также функционировать в качестве топливного преобразователя.
Установка с топливным элементом может дополнительно включать в себя коллектор, как, например, коллектор, имеющий полусферическую куполообразную форму, средство теплообмена или камеру дожигания. Средство теплообмена может быть установлено или соединено при помощи какого-либо механического средства к главному опорному средству. Средство теплообмена и главное опорное средство могут быть изготовлены или смонтированы как единое целое.
Настоящее изобретение также предусматривает установку с твердооксидным топливным элементом, включающим в себя главный опорный патрубок, пластину топливного элемента, пластину токосъема, коллектор и, по меньшей мере, один патрубок топливного элемента, в котором, по меньшей мере, один патрубок топливного элемента и пластины токосъема выполнены с обеспечением возможности свободно перемещаться в направлении, параллельном оси патрубков топливных элементов.
Настоящее изобретение также предусматривает способ преобразования топлива в электрическую энергию, который включает в себя этап подачи топлива и других веществ (например, воздуха) в установку с твердооксидным топливным элементом, в котором установка с твердооксидным топливным элементом включает в себя главное опорное средство, средство для фиксации, средство токосъема и, по меньшей мере, одно средство топливного элемента, в котором, по меньшей мере, одно средство топливного элемента и средство токосъема выполнены с обеспечением возможности свободно перемещаться в направлении, параллельном оси средства топливного элемента.
Дополнительные аспекты настоящего изобретения будут очевидны, принимая во внимание последующее описание.
Краткое описание чертежей
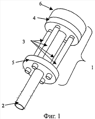
На Фиг.1 изображен образец установки с топливным элементом. Главный опорный патрубок (2) вставлен в блок (1) топливных элементов, включающий в себя множество топливных элементов (3), пластину (4) топливного элемента, пластину (5) токосъема, и коллектор (6). Пластина (4) топливного элемента закреплена на главном опорном патрубке (2) с помощью физического, механического и/или химического средства, как, например, сила трения.
На Фиг.2 изображена пластина топливного элемента с инжекторными патрубками. Топливные элементы установлены на инжекторных патрубках (7), которые являются деталями пластины (4) топливного элемента.
Фиг.3 иллюстрирует установку с топливным элементом, содержащую топливные элементы и пластину токосъема в разобранном виде. Узел, содержащий пластину (5) токосъема и топливные элементы (3), может сниматься соскальзыванием с главного опорного патрубка (2).
На Фиг.4 изображена установка с топливным элементом со снятым главным опорным патрубком.
На Фиг.5 изображена альтернативная конструкция пластины топливного элемента. Пластина (4) топливного элемента выполнена из изоляционного материала, а топливные элементы (3) вставлены в углубления (8) в пластине (4) топливного элемента.
Фиг.6 иллюстрирует установку с топливным элементом, содержащим пластину из изоляционного материала, расположенную рядом с пластиной топливного элемента. Изоляционная пластина (10), выполненная из изоляционного материала и расположенная рядом с пластиной топливного элемента, как показано на Фиг.6, изготовлена с отверстиями, равными или немного меньшими, чем диаметр топливных элементов (3), для уменьшения утечки газа из топливных элементов (3) в местах соединения с пластиной (4) топливного элемента.
На Фиг.7 изображен боковой вид одного варианта осуществления топливного элемента. В этом варианте осуществления топливный элемент (3) включает в себя анод (11), катод (12) и электролит. Область (26) анода (11), выполненная в виде полукольца, частично не изолирована.
На Фиг.8 представлен вид сзади топливного элемента (3), изображенного на Фиг.7.
Фиг.9 изображает пластину токосъема с элементом (13) токосъема, выполненным в виде паза.
На Фиг.10 изображен узел, содержащий пластину токосъема и четыре патрубка топливного элемента. Паз (13) токосъема может быть заполнен проводящей пастой (14) после установки топливных элементов (3).
На Фиг.11 изображен топливный элемент с теплообменником на конце главного опорного патрубка. Теплообменник (9) предназначен для предварительного нагрева воздушно-топливной смеси перед поступлением в главный опорный патрубок (2), используя тепло, выделяющееся из отработанного газа в блоке (1).
На Фиг.12 представлена установка с топливным элементом с теплообменником и главным опорным патрубком в разобранном виде. Теплообменник (9) может быть присоединен или закреплен каким-либо способом к главному опорному патрубку (2) или изготовлен в качестве составной части главного опорного патрубка (2). Как изображено на Фиг.12, теплообменник (9) и главный опорный патрубок (2) могут быть сняты в качестве единого узла с блока (1) для облегчения текущего ремонта или перестановки.
Фиг.13 иллюстрирует установку с топливным элементом, снабженным коллектором куполообразной формы. Коллектор, расположенный на концевой части блока, подвергается температурным нагрузкам во время работы топливного элемента. Куполообразная форма коллектора (15) уменьшает его температурные нагрузки.
На Фиг.14 представлены конструкции коллекторов, имеющих цилиндрическую и куполообразную форму. Цилиндрический коллектор (6), изображенный на Фиг.14, имеющий плоскую поверхность крышки (16), подвергается термическому расширению во время работы топливного элемента, которое вызывает нагрузки в месте соприкосновения поверхности крышки (16) и окружающей цилиндрической стенки (17). Обод (18) в месте соприкосновения поверхности крышки (16) и цилиндрической стенки (17) уменьшает термические индуцированные нагрузки.
Фиг.15 иллюстрирует сечение установки с топливным элементом, в которой используется изоляция блока в качестве коллектора газа. Узел, содержащий топливный элемент, вставлен в изоляционный компонент (19) таким образом, что между пластиной (4) топливного элемента и изоляционным компонентом (19) образуется свободное пространство (21). Свободная полость (21) служит в качестве коллектора газа для предоставления пути прохождения газа от главного опорного патрубка (2) к топливным элементам (3).
На Фиг.16 изображен вид сечения установки с топливным элементом. Главный опорный патрубок (2) вставлен в блок (1) установки топливного элемента, включающий в себя множество топливных элементов (3), пластину (4) топливного элемента, пластину (5) токосъема и коллектор (6). Камера дожигания (20) закреплена на главном опорном патрубке (2) и сжигает неизрасходованное топливо, проходящее через блок (1).
Фиг.17 иллюстрирует сечение установки с топливным элементом, содержащей изоляционный компонент. Установка вставлена в изоляционный компонент (19) для предотвращения потери тепла из установки, что связанно с работой топливных элементов.
На Фиг.18 показано сечение установки с топливным элементом, в которой используется изоляция блока в качестве коллектора газа. Узел топливного элемента вставлен в изоляционный компонент (19) таким образом, что между пластиной топливного элемента (4) и изоляционным компонентом (19) образуется свободное пространство (21). Свободное пространство (21) служит для предоставления пути прохождения газу от главного опорного патрубка (2) к топливным элементам (3).
На Фиг.19 изображен топливный элемент (3) с устройством токосъема (22) с катода, которое состоит из неизолированного провода, плотно намотанного вокруг катода (12) топливного элемента. Анод (11) топливного элемента, расположенный в концевой части элемента, не изолирован для того, чтобы обеспечить токосъем после установки топливного элемента в пластину токосъема.
Фиг.20 иллюстрирует установку топливного элемента, которая имеет устройство токосъема, снабженное обмоткой кабеля. Устройство токосъема (22) с катода выполнено в виде кабеля, плотно обмотанного вокруг топливных элементов (3) и пропущенного через отверстие в пластине токосъема (5). Кабели также обматываются вокруг не изолированного материала анода, расположенного в концевой части соседних топливных элементов (3), для осуществления токосъема (23) с анода. При соединении анода и катодов соседних топливных элементов (3) топливные элементы (3) связываются в последовательные электрические цепи. Электрическая энергия, генерируемая топливным элементом, выводится из установки кабелями питания (24) и (25), соединенными соответственно с анодом и катодом установки.
На Фиг.21 представлена схема токосъема, в которой применяются проводящие клипсы (27) для соединения между собой топливных элементов (3), когда топливные элементы (3) и проводящие клипсы вставлены в пластину токосъема (5). Для осуществления контакта одного конца проводящей клипсы с анодом (11) и контакта противоположного конца проводящей клипсы (27) с катодом (12) в соседних топливных элементах (3) паз (29) для клипсы анода и паз (28) для клипсы катода располагаются рядом с отверстиями в пластине токосъема (5), на которой установлены топливные элементы (3). Часть анода (11) не закрыта электролитом и катодом (12) для облегчения контакта с проводящей клипсой (27).
На Фиг.22 представлено соединение катода одного топливного элемента (3) с анодом соседнего топливного элемента (3), которые вставлены в пластину токосъема (5) и проводящую клипсу (27).
На Фиг.23 изображен весь узел устройства токосъема с установленными четырьмя топливными элементами (3) в пластину токосъема (5) и с проводящими клипсами (27). Клипса (30) для отвода тока с анода и клипса (31) для отвода тока с катода установлены в соответствующие паз для клипсы анода и паз для клипсы катода. Керамический уплотнитель (32) установлен в пазу для клипсы катода для предотвращения подвижности проводящей клипсы (27) и клипсы (31) отвода тока с анода, которая может привести к появлению разрыва цепи или короткому замыканию.
Раскрытие изобретения
Далее описание настоящего изобретения, включая формулу изобретения, содержит различные термины конструкции устройства установки, выраженные в единственном числе, однако их следует соотносить с множеством таких элементов, которые означают эти термины, если не указано иначе. Так, например, упоминание «катализатор горения» подразумевает возможное наличие множества таких катализаторов, а упоминание «патрубок топливного элемента» подразумевает возможное наличие одного или более патрубков топливных элементов и эквивалентов, известных специалистам в данной области техники, и так далее. Все публикации, патентные заявки, патенты и другие ссылки, упомянутые в настоящем описании, ссылаются на полные их описания.
Настоящее изобретение представляет собой установку с топливным элементом, которая содержит главный опорный патрубок, пластину топливного элемента, пластину токосъема, множество патрубков топливных элементов, а также коллектор, средство изоляции, теплообменник или камеру дожигания. В соответствии с одним вариантом осуществления изобретения конструкция установки с топливным элементом допускает возможность не лимитированного расширения и сужения трубок топливного элемента во время температурных циклов, связанных с началом работы и остановкой работы устройства, что в свою очередь уменьшает или исключает температурные нагрузки, которые могут привести к преждевременному выходу из строя твердооксидных топливных элементов. Кроме того, устройство с топливным элементом сконструировано таким образом, что патрубки топливного элемента, также как и преобразователь топлива и теплообменник, могут быть легко отсоединены для текущего ремонта или перестановки.
Главный опорный патрубок (2), пластина (4) топливного элемента и пластина (5) токосъема могут быть изготовлены из любых материалов, пригодных для установки с ТОТЭ, например из керамических материалов. Главный опорный патрубок (2) может быть соединен с пластиной (4) топливного элемента с помощью ряда механизмов, использующих, например, силу трения или механические взаимодействия. На Фиг.1 изображена конструкция твердооксидного топливного элемента, в которой главный опорный патрубок (2) закреплен на пластине (4) топливного элемента только с помощью силы трения. Соединение между главным опорным патрубком (2) и пластиной (4) топливного элемента может представлять собой плотную подвижную посадку, так что сила трения удерживает на месте пластину (4) топливного элемента в главном патрубке преобразователя.
Главный опорный патрубок (2) может также функционировать в качестве внутреннего преобразователя для превращения топлива (например, пропана) в окись углерода и водород в результате реакции, осуществляемой в твердооксидных топливных элементах. В соответствии с предпочтительным вариантом осуществления преобразователь является преобразователем неполного окисления. Например, когда в качестве топлива используется пропан, преобразователь неполного окисления преобразует его в СО и Н2:
С3Н8 + 1.5 O2 3 СО + 4 Н2
В соответствии с одним вариантом осуществления изобретения топливные элементы (3) установлены на элементах пластины (4) топливного элемента, называемых инжекторными патрубками (7), как показано на Фиг.2. Инжекторные патрубки (7) могут быть выполнены в качестве внутренних элементов пластины (4) топливного элемента или изготавливаться отдельно и устанавливаться на пластину (4) топливного элемента. Диаметр патрубков топливного элемента (3) может быть слегка больше, чем диаметр инжекторных патрубков (7), так что существует узкий зазор, когда патрубок топливного элемента (3) установлен на инжекторный патрубок (7). Не требуется специальных уплотнителей для предотвращения потери нефтепродуктов (газообразного топлива) вследствие того, что перепад давления, возникающий благодаря узкому зазору между инжекторным патрубком (7) и внутренней частью топливного элемента (3), гораздо больше, чем перепад давления в камере топливного элемента, и таким образом остается достаточно большое встречное давление, которое минимизирует утечку нефтепродуктов (газообразного топлива) из внутренней части патрубка топливного элемента (3) без использования отдельного уплотнителя. Например, топливный элемент (3) с диаметром 2.8 мм может быть установлен на инжекторный патрубок (7) с диаметром 2.5-2.7 мм, и образующийся таким образом зазор не мешает работе устройства с топливным элементом. В другом варианте осуществления топливные элементы (3) укреплены на пластине топливного элемента путем установки в углубления (8) в пластине (4) топливного элемента, как представлено на Фиг.5. Диаметр углублений (8) может быть равным или немного меньше, чем таковой патрубков топливного элемента (3).
Для дальнейшего увеличения перепада давления в узком зазоре изолирующее средство, такое как пластина (10), изготовленная из изоляционного материала, может быть установлено рядом с пластиной (4) топливного элемента, как изображено на Фиг.6. Термин «рядом», использующийся здесь, означает ссылку на состояние, в котором нет зазора между соседними компонентами или даже если есть зазор между двумя соседними компонентами, то этот зазор настолько мал, что отсутствует влияние на функции деталей, что в данном случае означает создание обратного давления для уменьшения утечки газа. Изоляционная пластина (10) может содержать катализатор горения, который в случаях утечки топлива преобразует утерянное топливо в CO2 и поэтому помогает поддержанию нормального состояния окружающей среды снаружи каналов патрубков топливных элементов (3).
Подобным образом узкий зазор между главным опорным патрубком (2) и пластиной (4) топливного элемента, включая изоляционную пластину (10), предотвращает утечку нефтепродуктов через зазор между этими двумя элементами без использования отдельной прокладки.
Топливные элементы (3) присоединены к пластине (5) токосъема, как изображено на Фиг.1. В одном варианте осуществления изобретения каждый топливный элемент электрически соединен с пластиной (5) токосъема с помощью устройства токосъема, которое взаимно соединяет топливные элементы (3) подходящим образом с их параллельными и последовательными соединениями для получения желаемого выходного напряжения. Ряд механизмов может быть использован для облегчения токосъема. В одном варианте осуществления патрубок топливного элемента (3) изготовлен так, что катод и анод не изолированы, как изображено на Фиг.7-10 и 21-23, таким образом, что, когда топливный элемент (3) вставлен в пластину (5) токосъема в правильной ориентации, а конструкция в целом установлена в подходящем положении, существует возможность применения проводящей пасты или клипсы для соединения анодов и катодов соседних топливных элементов (3), если это необходимо. Например, система углублений может быть сделана в пластине (4) топливного элемента, как это изображено на Фиг.9, для облегчения применения проводящей пасты для соединения топливных элементов (3), как продемонстрировано на Фиг.10. Топливные элементы (3) могут иметь локальные плоскости, выступы или пазы, которые соединяются с соответствующими элементами пластины (5) токосъема для обеспечения правильной ориентации катода и анода топливного элемента по отношению к пластине (5) токосъема. Альтернативно топливный элемент (3) может быть изготовлен таким образом, что анод (11) частично не изолирован в полукольцевом элементе (26), как изображено на Фиг.7-8. Проводящие клипсы (27) используются для взаимного соединения топливных элементов (3), когда топливные элементы (3) и проводящие клипсы (27) вставлены в пластину (5) токосъема, как изображено на Фиг.21-23. Для удовлетворения условию контакта одного конца проводящей клипсы (27) с анодом (11) и контакта противоположного конца проводящей клипсы (27) с катодом (12) в соседних топливных элементах (3) паз (29) для клипсы анода и паз (28) для клипсы катода установлены рядом с отверстиями в пластине (5) токосъема, в которой укреплены топливные элементы (3). Керамический уплотнитель (32) установлен в пазу клипсы катода для предотвращения подвижности проводящей клипсы (27) и клипсы (31) отвода тока с анода, что может привести к появлению разрыва цепи или короткому замыканию (Фиг.23). Токосъем с патрубков топливного элемента (3) может быть выполнен с использованием кабеля (например, серебряного кабеля) или другого подходящего средства для взаимного соединения анодов и катодов отдельных топливных элементов (3). На Фиг.19-20 представлена другая схема токосъема, в которой токосъем (22) с катода осуществляется благодаря кабелю, плотно обмотанному вокруг топливных элементов (3) и пропущенному через отверстие в пластине (5) токосъема. Анод (11) топливного элемента в концевой части топливного элемента не изолирован для обеспечения токосъема после того, как топливный элемент (3) установлен на пластине токосъема. Кабели также обмотаны вокруг не изоляционного материала анода, расположенного в концевой части соседних топливных элементов (3), для осуществления токосъема (23) с анода. При соединении анода и катодов соседних топливных элементов (3) топливные элементы (3) связываются в электрическую цепь. Электрическая энергия, генерируемая топливным элементом (3), выводится из установки кабелями (24) и (25) питания, соединенными соответственно с анодом и катодом установки.
В одном варианте осуществления изобретения пластина (5) токосъема представляет собой элемент скользящей посадки, установленный на главном опорном патрубке (2), подвижный в направлении, параллельном оси патрубков топливных элементов (3). Термин «подвижный», использованный здесь, имеет отношение к изменению относительного положения между двумя объектами, такими как пластина (5) токосъема и главный опорный патрубок (2). Он также имеет отношение к изменению относительного положения между частями одного объекта (например, удлинение или укорочение части патрубка топливного элемента (3), такой как концевая часть топливного элемента (3) в области анода (11)) с другими объектами (например, главным опорным патрубком (2)). Узел, объединяющий пластину (5) токосъема и топливные элементы (3), может скользить вдоль главного опорного патрубка (2). Во время работы установки с топливным элементом узел, содержащий пластину токосъема и топливные элементы, может увеличиваться в длину благодаря наличию зазора между главным опорным патрубком и пластиной (5) токосъема. Способность к подвижности минимизирует компрессионные силы продольного направления, действующие на топливные элементы (3).
В соответствии с одним вариантом осуществления изобретения, устройство токосъема и узел топливного элемента могут легко сниматься с блока для текущего ремонта и перестановки, поскольку они легко соскальзывают с главного опорного патрубка (2), как изображено на Фиг.3. В соответствии с другим вариантом осуществления главный опорный патрубок (2) может быть снят с блока благодаря наличию скользящей посадки (посадке на силе трения) к пластине (4) топливного элемента, как изображено на Фиг.4.
Альтернативная модель пластины (4) топливного элемента изображена на Фиг.5, в которой пластина, которая обычно изготавливается из оксида алюминия или сходного керамического материала, создана с использованием изоляционного материала, например волокон оксида алюминия, толщиной 2-8 микрон. В этой конструкции зазор между главным опорным патрубком (2) и пластиной (4) топливного элемента может быть больше, поскольку заглубление главного опорного патрубка (2) в пластину (4) топливного элемента больше, что приводит к большему перепаду давления между внутренней частью патрубка топливного элемента (3) и областью, окружающей патрубок топливного элемента (3), что, тем самым, минимизирует утечку топлива.
В соответствии с одним вариантом осуществления изобретения изоляционная пластина (10) расположена рядом с пластиной (4) топливного элемента, как изображено на Фиг.6. Отверстия, через которые проходят патрубки топливного элемента (3) в изоляционной пластине, могут быть изготовлены с диаметром, равным или немного меньшим, чем отдельные патрубки топливных элементов (3), образуя плотную посадку между топливными элементами (3) и изоляционной пластиной. Изоляционная пластина (10) может быть соединена с пластиной (4) топливного элемента с помощью физического или химического средства, такого как агент, связывающий оксид алюминия или сила трения. В результате узел, содержащий пластину топливного элемента и изоляционную пластину, имеет повышенную устойчивость к утечке топлива вследствие большого перепада давления между внутренней частью патрубка топливного элемента (3) и областью, окружающей патрубок топливного элемента (3).
Главный опорный патрубок, который может содержать химический преобразователь в некоторых способах применения, может также быть прикреплен или содержать в себе теплообменник или камеру дожигания, как изображено на Фиг.10 и 16-18. Теплообменник поглощает тепло отработанного газа блока топливного элемента, который затем используется для предварительного нагревания входящей топливно-воздушной смеси. Тот же эффект получается в камере дожигания с помощью преобразования неизрасходованного топлива для выделения тепла с использованием катализатора горения, такого как частицы Pt/Al2О3,
гранулы PtRh/CeO2/AlO3 и вспененный монолит Pt/ -Al2O3. Узел, содержащий теплообменник, камеру дожигания и главный опорный патрубок (2), может сниматься с блока для текущего ремонта или перестановки, как изображено на Фиг.11.
Нагревание коллектора во время работы топливных элементов (3) создает термически индуцированные нагрузки. Установка коллектора (15), имеющего полусферическую куполообразную форму, как изображено на Фиг.13, уменьшает уровень нагрузок внутри коллектора. Как изображено на Фиг.14, коллектор (6), имеющий плоскую поверхность (16) крышки, испытывает нагрузки в месте соприкосновения поверхности (16) крышки с окружающими цилиндрическими стенками (17). Обод (18), располагающийся в месте соприкосновения, уменьшает термически индуцированные нагрузки. Полусферическая форма коллектора (15) способствует дополнительному уменьшению уровня нагрузок, уменьшая при этом и вес коллектора. В соответствии с одним вариантом осуществления изобретения функция коллектора может быть изменена, как изображено на Фиг.18, путем соединения пластины (5) токосъема с изоляционным компонентом, который непроницаем для газа. Это позволяет исключить коллектор как отдельную часть установки и может уменьшить общую стоимость установки.
Пример
Следующий пример, иллюстрирующий настоящее изобретение, излагается для того, чтобы помочь в понимании сути изобретения и не должен быть истолкован как ограничение тем или иным способом области применения изобретения, которое определено в формуле изобретения, следующей далее.
Следующий пример описывает конструкцию установки с топливным элементом, содержащую 36 топливных элементов. Пластина токосъема, пластина топливного элемента и крышка коллектора были изготовлены из оксида алюминия или макора (механически обрабатываемой стеклокерамики) и произведены формованием геля, который применяется в данной области техники. Главный опорный патрубок был изготовлен из экструдированного оксида алюминия, который был протестирован нагреванием до 1550°. Плотный фибровый картон Saffil был использован для создания изоляционной пластины, в то время как войлок Saffil был использован для изготовления уплотнителей.
Пластина топливного элемента, пластина токосъема, купол коллектора и изоляционная пластина были предварительно нагреты до 950° для того, чтобы убедиться в том, что эти детали годятся для применения при высоких температурах. Дополнительные элементы, такие как отверстия или пазы для термопар, устройство для токосъема или продува воздуха, были добавлены к этим деталям. Инжекторные патрубки были сделаны путем нарезания экструдированной трубки из оксида алюминия (внешний диаметр 2.6 мм; внутренний диаметр 1.4 мм). Длина инжекторных патрубков составляла 5-15 мм в зависимости от длины топливного элемента. Инжекторные патрубки были далее вставлены и зафиксированы на пластине топливного элемента с использованием агента, склеивающего оксид алюминия, Resbond 989 Hi-Purity Alumina Ceramic, и затем выдерживались 2 часа при 600°С, чтобы убедиться в том, что произошло соответствующее склеивание.
36 топливных элементов изготавливались в соответствии со способом, представленным в патентной заявке США 60/526,398, озаглавленной «Твердооксидный топливный элемент с укрепленным анодом, использующий металлокерамический электролит». Затем топливные элементы были установлены на пластину токосъема. Электрические соединения были сделаны с учетом требований к величине напряжения на выходе. Например, для получения на выходе 36 В требуется соединить последовательно 36 топливных элементов, в то время как для получения 18 В потребуется, чтобы 36 топливных элементов были бы соединены последовательно как 18 пар. Электрические соединения между элементами были сделаны с использованием узла, содержащего пластину из проводящего материала и пенообразующую и/или проводящую пасту, такую как серебро и Ni/YSZ металлокерамику. Этот узел затем был высушен при 70° в течение 2 часов. Слой агента, склеивающего оксид алюминия, был нанесен затем на верхнюю часть пластины токосъема для того, чтобы склеить соединение между пластиной токосъема и топливными элементами.
Преобразующий катализатор преобразования был добавлен в главный опорный патрубок. Четыре компонента катализатора были добавлены последовательно, чтобы убедиться в том, что катализаторы РОХ были добавлены в первую очередь так, чтобы реакция преобразования/горения переходила от экзотермической к эндотермической (от компонента 1 до 4). Компоненты катализатора закреплялись на позиции с помощью агента, склеивающего оксид алюминия (Resbond 989 Hi-Purity Alumina Ceramic). Главный опорный патрубок затем был прогрет при 70° в течение 4-6 часов.
Подготовленный главный опорный патрубок и пластина топливного элемента были склеены вместе с использованием Resbond 989 Hi-Purity Alumina Ceramic. Узел затем прогревался в течение 2 часов при 70°. Два уплотнителя из войлока Saffil помещались поверх инжекторных патрубков. Узел, содержащий топливные элементы и пластину токосъема, и узел, содержащий главный опорный патрубок и пластину топливного элемента, были объединены вместе, как изображено на Фиг.3.
Коллектор был прикреплен к пластине топливного элемента, изоляционная пластина была укреплена на пластине токосъема. Катализатор горения был помещен вокруг главного опорного патрубка на расстоянии 10 мм выше изоляционной пластины. Войлок Saffil затем обматывался вокруг катализатора горения до тех пор, пока внешний диаметр катализатора горения с войлоком Saffil не был равен внешнему диаметру пластины токосъема. Устройство или «блок», включающий в себя термопары и изолирующие трубки для кабелей, было затем прогрето в течение 4 часов при 70°С.
Затем блок вдвигали в теплообменник, имеющий форму трубки, который имел внутренний диаметр немного больше, чем внешний диаметр пластины топливного элемента и пластины токосъема. Теплообменник располагался таким образом, что отверстия во внутренней стенке теплообменника располагались на одной линии с началом активного электрода топливного элемента. Этот узел затем был помещен в подходящую изолирующую оболочку, которая была сконструирована с учетом того, что температура внешней поверхности установки с топливным элементом поддерживается на уровне ниже 80°С во время работы установки.
Установка с топливным элементом была протестирована при следующих условиях. Установка начала работу с использованием топлива кислород/пропан (2.4:1 соответственно) при скорости протекания 1-2.5 л/мин. Поджиг был произведен при использовании электронного зажигателя, расположенного в задней части камеры дожигания. Температура в установке достигла 700°С менее чем за 10 минут. В этот момент отношение кислород/пропан изменялось до значения, находящегося между 1.8 и 2.2 в зависимости от желаемой загрузки установки (полная загрузка = 1.8; низкая загрузка = 2.2). Отношения варьировали, чтобы максимизировать выход водорода при необходимости высокого уровня загрузки и сбалансировать рабочую температуру блока, которая возросла до 850°С при полной загрузке. Установка давала 57 Вт при 850°С при работе с соотношением кислород/пропан, равным 1.9. Затем установка была выключена на уменьшенной скорости протекания топлива (1/4 полной загрузки), в то время как отношение кислород/пропан поддерживалось на уровне 2.2.
Поскольку вышеупомянутое изобретение было описано с некоторыми деталями для достижения ясности и понимания, специалисты в данной области техники при прочтении описания изобретения смогут понять, что могут быть сделаны различные изменения в форме и деталях без выхода за пределы действительной области применения изобретения в прилагаемой формуле изобретения.
Формула изобретения
1. Установка с твердооксидным топливным элементом, содержащая главный опорный патрубок, содержащий один или более преобразующих катализаторов, пластину топливного элемента, устройство токосъема, содержащее пластину токосъема, и, по меньшей мере, один топливный элемент, в которой, по меньшей мере, один топливный элемент и пластина токосъема выполнены с обеспечением возможности перемещения в направлении, параллельном продольной оси, по меньшей мере, одного топливного элемента.
2. Установка с твердооксидным топливным элементом по п.1, в которой, по меньшей мере, один топливный элемент и устройство токосъема образуют единый съемный узел.
3. Установка с твердооксидным топливным элементом по п.1, в которой пластина топливного элемента закреплена к главному опорному патрубку.
4. Установка с твердооксидным топливным элементом по п.1, в которой, по меньшей мере, один топливный элемент прикреплен к пластине топливного элемента.
5. Установка с твердооксидным топливным элементом по п.1, в которой пластина топливного элемента содержит, по меньшей мере, один инжекторный патрубок и, по меньшей мере, один топливный элемент установлен, по меньшей мере, на один инжекторный патрубок.
6. Установка с твердооксидным топливным элементом по п.5, в которой, по меньшей мере, один топливный элемент, установлен, по меньшей мере, на один инжекторный патрубок без уплотнения.
7. Установка с твердооксидным топливным элементом по п.5, в которой, по меньшей мере, один инжекторный патрубок прикреплен к пластине топливного элемента.
8. Установка с твердооксидным топливным элементом по п.5, в которой, по меньшей мере, один инжекторный патрубок является неразъемной составляющей пластины топливного элемента.
9. Установка с твердооксидным топливным элементом по п.1, в которой, по меньшей мере, один топливный элемент вставлен в углубление пластины топливного элемента.
10. Установка с твердооксидным топливным элементом по п.1, в которой средство фиксации содержит изоляционный материал.
11. Установка с твердооксидным топливным элементом по п.1, дополнительно содержащая теплообменник и/или камеру дожигания.
12. Установка с твердооксидным топливным элементом по п.11, в которой теплообменник и/или камера дожигания образуют единый съемный узел с главным опорным патрубком.
13. Установка с твердооксидным топливным элементом по п.11, в которой камера дожигания содержит катализатор горения.
14. Установка с твердооксидным топливным элементом по п.1, дополнительно содержащая изолятор между пластиной топливного элемента и устройством токосъема.
15. Установка с твердооксидным топливным элементом по п.14, в которой изолятор содержит катализатор горения.
16. Установка с твердооксидным топливным элементом по п.1, дополнительно содержащая коллектор.
17. Установка с твердооксидным топливным элементом по п.16, в которой коллектор имеет куполообразную форму.
18. Установка с твердооксидным топливным элементом по п.1, в которой главный опорный патрубок, устройство токосъема, пластина топливного элемента и, по меньшей мере, один топливный элемент содержат узел топливного элемента, и узел топливного элемента вставлен в изоляционный элемент.
19. Установка с твердооксидным топливным элементом по п.18, содержащая свободную полость между пластиной топливного элемента и изоляционным элементом.
20. Установка с твердооксидным топливным элементом по п.19, в которой свободное пространство использовано для функционирования в качестве коллектора.
21. Установка с твердооксидным топливным элементом по п.1, в которой топливный элемент является трубчатым.
22. Установка с твердооксидным топливным элементом по п.1, в которой, по меньшей мере, один топливный элемент содержит электролит, катод и анод, при этом катод и электролит имеют вариабельную длину по окружности, чтобы анод был не изолированным для облегчения токосъема.
23. Установка с твердооксидным топливным элементом по п.1, в которой пластина токосъема соединена, по меньшей мере, с одним топливным элементом с помощью проводящего элемента.
24. Установка с твердооксидным топливным элементом по п.23, в которой проводящим элементом является проводящая паста или проводящая клипса.
25. Установка с твердооксидным топливным элементом по п.1, содержащая 36 топливных элементов.
РИСУНКИ
|
|