|
|
(21), (22) Заявка: 2007138415/09, 16.10.2007
(24) Дата начала отсчета срока действия патента:
16.10.2007
(30) Конвенционный приоритет:
17.10.2006 KR 10-2006-0101064
(46) Опубликовано: 27.05.2009
(56) Список документов, цитированных в отчете о поиске:
RU 2126566, 20.02.1999. RU 904034 A1, 07.02.1982. US 5025236 A, 18.06.1991. DE 20021867, 17.12.1981.
Адрес для переписки:
129090, Москва, ул.Б.Спасская, 25, стр.3, ООО “Юридическая фирма Городисский и Партнеры”, пат.пов. А.В.Мицу, рег. 364
|
(72) Автор(ы):
ЯНГ Хонг-Ик (KR), ЛИ Санг-Чул (KR), КИМ Ки-Хван (KR), АХН Кил-Йоунг (KR)
(73) Патентообладатель(и):
ЭлЭс ИНДАСТРИАЛ СИСТЕМЗ КО., ЛТД. (KR)
|
(54) ВОЗДУШНЫЙ АВТОМАТИЧЕСКИЙ ВЫКЛЮЧАТЕЛЬ И ЗВЕНО ДЛЯ ТАКОГО ВЫКЛЮЧАТЕЛЯ
(57) Реферат:
Настоящая группа изобретений относится к воздушному автоматическому выключателю. Выключатель содержит кулачок, соединенный с вращающимся валом и выполненный с возможностью вращения; приводной рычаг, соединенный с кулачком, выполненным с возможностью вращения; закрывающую пружину, соединенную с приводным рычагом, выполненную с возможностью сжатия при повороте приводного рычага; и множество звеньев, выполненных с возможностью передачи усилия растяжения, возникающего при натяжении закрывающей пружины к переключающему валу, соединенному с подвижным контактом, при этом, по меньшей мере, одно из множества звеньев имеет конструкцию, в которой множество элементов соединены друг с другом. Техническим результатом является повышение эксплуатационной надежности воздушного автоматического выключателя и увеличение срока его службы за счет предотвращения абразивного износа или повреждения звеньев во время работы воздушного автоматического выключателя. 3 н. и 6 з.п. ф-лы, 9 ил.
Область техники, к которой относится изобретение
Настоящее изобретение относится к воздушному автоматическому выключателю и, в частности, к воздушному автоматическому выключателю, способному повысить свою надежность за счет применения звена повышенной устойчивости и звена, которое используется в воздушном автоматическом выключателе.
Уровень техники
В общем, воздушный автоматический выключатель представляет собой устройство, предназначенное для размыкания цепи при возникновении состояния «включено-выключено» нагрузки, перегрузки, короткого замыкания, утечки энергии, электрошока и тому подобного.
Как показано на фиг.1-3, применяемый в этой области техники воздушный автоматический выключатель может содержать механизм 102 переключения, выполненный с возможностью включения или отключения цепи путем перемещения подвижного контакта 138 в направлении вывода 139. Механизм 102 переключения может содержать: кулачок 122, соединенный с вращающимся валом 121, выполненный с возможностью вращения автоматически или вручную; приводной рычаг 124, установленный с возможностью поворота на опоре 109, которая поддерживает обе стороны механизма 102 переключения, и имеющий ролик 123 для поворота, когда ролик 123 рычага движется по криволинейной поверхности кулачка 122 за счет поворота кулачка 122; закрывающую пружину 125, один конец которой соединен с участком нижнего конца приводного рычага 124, а другой конец опирается на опору 109, накапливая упругую энергию, которая генерируется при сжатии, когда приводной рычаг 124 поворачивается за счет поворота кулачка 122; первый фиксатор 127, проходящий продольно с возможностью упругого размещения на опоре 109 и имеющий специальное углубление в своей нижней боковой поверхности для удержания, когда штифт 126, расположенный на кулачке 122, блокируется углублением; замыкающий переключатель 128, расположенный на верхней стороне первого фиксатора 127 и предназначенный для высвобождения со стороны первого фиксатора 127; первое звено 129, установленное с возможностью вращения на вращающемся валу 121 для прохождения в продольном направлении, имеющее нижний концевой участок, соединенный с верхним концевым участком приводного рычага 124 с возможностью вращения при повороте приводного рычага 124, и имеющее специальное углубление 149 на своей верхней стороне; второй фиксатор 131, расположенный на верхней стороне первого звена 129, имеющий ролик 130 фиксатора, контактирующий с верхней поверхностью первого звена 129 и поворачивающийся при повороте первого звена 129, который удерживается, когда ролик 130 фиксатора блокируется углублением 149 первого звена 129; размыкатель 132, расположенный на верхней стороне второго фиксатора 131 для высвобождения со стороны второго фиксатора 131; второе звено 134, имеющее нижний концевой участок, соединенный с приводным рычагом 124 вместе с первым звеном 129 и расположенный с возможностью вхождения в контакт со штифтом 133, выполненным на приводном рычаге 124; третье звено 135, соединенное с верхним концом второго звена 134 соединительным штифтом 141 с возможностью вращения согласно смещению второго звена 134; переключающий вал 103, расположенный с возможностью вращения на опоре 109 и соединенный с третьим звеном 135 с возможностью вращения при перемещении третьего звена 135; соединительный вал 136, обеспечивающий соединение третьего звена 135 с переключающим валом 103; открывающую пружину 137, один конец которой прикреплен к соединительному валу 136, а другой конец опирается на опору 109; и плечо 140, прикрепленное к переключающему валу 103 с возможностью обеспечения перемещения подвижного контакта 138 в направлении вывода 139 при повороте переключающего вала 103.
В данном случае первое звено 129, как показано на фиг.4, содержит: первый участок 151, входящий в контакт с роликом 130 фиксатора второго фиксатора 131 и имеющий углубление 149, в котором удерживается ролик 130 фиксатора; второй участок 152, проходящий от первого участка по кривой и имеющий установочное отверстие 161, в которое вставляют вращающийся вал 121 таким образом, чтобы опираться на вращающийся вал 121; и третий участок 153, проходящий вниз от второго участка 152 и имеющий соединительное отверстие 162, которое должно быть соединено с приводным рычагом 124.
С другой стороны, ниже третьего участка 153 первого звена 129 расположен ограничитель 142, предотвращающий поворот первого звена 129 при определенном смещении, когда воздушный автоматический выключатель, выполняющий размыкание, опирается на опору 109.
Применяемый в этой области техники воздушный автоматический выключатель, имеющий такую конфигурацию, может выполнять зарядку, связанную с накоплением упругой энергии в закрывающей пружине 125, замыкание в виде соединения подвижного контакта 138 с выводом 139 посредством упругой восстанавливающей силы закрывающей пружины 125 и размыкание в виде расцепления подвижного контакта 138 и вывода 139.
Во-первых, при зарядке воздушного автоматического выключателя, как показано на фиг.2, когда подвижный контакт 138, который находится в состоянии отделения (расцепления) от вывода 139, поворачивается автоматически или вручную, кулачок 122 поворачивается и, соответственно, поворачивается приводной рычаг 124, сжимая таким образом закрывающую пружину 125.
При замыкании воздушного автоматического выключателя, как показано на фиг.3, сила упругости закрывающей пружины 125 передается на каждый элемент звена механизма 102 переключения, так что соединенный с третьим звеном 135 переключающий вал 103 поворачивается. Соответственно, подвижный контакт 138 соединяется с выводом 139 таким образом, чтобы стать электропроводным. Во время этой операции открывающая пружина натягивается путем перемещения соединительного вала 136.
Кроме того, при размыкании воздушного автоматического выключателя подвижный контакт 138 отделяется от вывода 139 посредством упругой восстанавливающей силы открывающей пружины 137, так что он возвращается в исходное положение, показанное на фиг.1.
Среди операций применяемого в данной области техники воздушного автоматического выключателя, выполненных так, как описано выше, во время зарядки первое звено 129 поворачивается вокруг вращающегося вала 121 при повороте приводного рычага 124, второй фиксатор 131 фиксируется, когда ролик 130 фиксатора второго фиксатора 131 удерживается углублением 149 в первом звене 129. Здесь контактное усилие ролика 130 фиксатора и нагрузка второго фиксатора 131 прикладываются к первому участку 151 первого звена 129.
Во время замыкания воздушного автоматического выключателя соединительный штифт 141 для соединения второго звена 134 с третьим звеном 135, сталкивается со вторым участком 152 первого звена 129. Соответственно, часть усилия растяжения возникает, когда резко натягивается закрывающая пружина 125, и нагрузки второго и третьего звеньев 134 и 135 прикладываются ко второму участку 152 первого звена 129.
Во время размыкания воздушного автоматического выключателя столкновение первого звена 129 с ограничителем 142 предотвращает поворот первого звена 129 на определенную величину смещения. В данном случае усилие, которое возникает при столкновении первого звена 129 с ограничителем 142, прикладывается к третьему участку 153 первого звена 129.
По существу, во время зарядки, замыкания и размыкания воздушного автоматического выключателя к каждому участку первого звена 129 прикладываются большие нагрузки и ударные воздействия, что может вызвать абразивный износ и повреждение первого звена 129, приводящие к значительным отклонениям в работе воздушного автоматического выключателя. Кроме того, при открывании и закрывании воздушного автоматического выключателя усиливается небаланс устойчивости нагрузки, вызывающий повреждение стороны нагрузки. Более того, срок службы воздушного автоматического выключателя значительно сокращается.
Кроме того, возможно применение способа увеличения толщины первого звена 129 для того, чтобы выдерживать нагрузки и ударные воздействия, приложенные к первому звену 129. Однако в случае увеличения толщины первого звена 129 трудно обеспечить изготовление первого звена 129 способом прессования с высокой устойчивостью. С другой стороны, применение резания с использованием лазера и тому подобного без прессования приводит к увеличению издержек производства.
Сущность изобретения
Поэтому для того чтобы устранить недостатки и проблемы известного уровня техники, целью настоящего изобретения является создание воздушного автоматического выключателя, в котором звено, к которому во время зарядки, замыкания и размыкания воздушного автоматического выключателя прикладываются большие нагрузки, выполнено так, что обеспечивается соединение множества элементов (пластин) друг с другом с тем, чтобы предотвратить абразивный износ и повреждение звена, что может улучшить надежность работы воздушного автоматического выключателя, продлить срок его службы и облегчить его изготовление при снижении издержек.
Для достижения указанной цели согласно назначению настоящего изобретения, как воплощено и в общих чертах описано здесь, предлагается воздушный автоматический выключатель, который содержит: кулачок, соединенный с вращающимся валом и выполненный с возможностью вращения; приводной рычаг, соединенный с кулачком, выполненным с возможностью вращения; закрывающую пружину, соединенную с приводным рычагом и выполненную с возможностью сжатия при повороте приводного рычага; и множество звеньев для передачи усилия растяжения, возникающего при натяжении закрывающей пружины к переключающему валу, соединенному с подвижным контактом, при этом, по меньшей мере, одно из звеньев имеет конструкцию, в которой множество элементов соединены друг с другом.
Цель может быть достигнута с помощью звена воздушного автоматического выключателя, которое выполнено из множества элементов, накладываемых друг на друга, и имеет первый участок, второй участок, проходящий от первого участка по кривой и имеющий установочное отверстие, и третий участок, проходящий вниз от второго участка и имеющий соединительное отверстие.
Предпочтительно, любая из точек соединения, в которых множество элементов, образующих звено, соединяются друг с другом, расположена на первом участке для повышения устойчивости звена при выполнении зарядки воздушного автоматического выключателя.
Предпочтительно, любая из точек соединения, в которых множество элементов, образующих звено, соединяются друг с другом, расположена на втором участке для повышения устойчивости звена при выполнении замыкания воздушного автоматического выключателя.
Предпочтительно, любая из точек соединения, в которых множество элементов, образующих звено, соединяются друг с другом, расположена на третьем участке для повышения устойчивости звена при выполнении размыкания воздушного автоматического выключателя.
Указанные и другие цели, признаки, аспекты и преимущества настоящего изобретения станут более очевидными из последующего подробного описания настоящего изобретения, приведенного в сочетании с прилагаемыми чертежами.
Краткое описание чертежей
Прилагаемые чертежи, которые включены для обеспечения дальнейшего понимания изобретения и являются частью данного описания изобретения, показывают варианты осуществления изобретения и вместе с описанием служат для пояснения принципов изобретения.
На чертежах:
фиг.1 представляет собой вид в разрезе, показывающий известный воздушный автоматический выключатель;
фиг.2 представляет собой вид в разрезе, показывающий положение, в котором закрывающая пружина известного воздушного автоматического выключателя сжата;
фиг.3 представляет собой вид в разрезе находящегося в положении соединения известного воздушного автоматического выключателя;
фиг.4 представляет собой вид спереди звена известного воздушного автоматического выключателя;
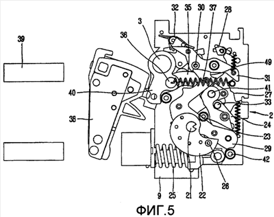
фиг.5 представляет собой вид в разрезе воздушного автоматического выключателя согласно настоящему изобретению;
фиг.6 представляет собой вид в разрезе, показывающий положение, в котором закрывающая пружина воздушного автоматического выключателя согласно настоящему изобретению сжата;
фиг.7 представляет собой вид в разрезе находящегося в положении соединения воздушного автоматического выключателя согласно настоящему изобретению;
фиг.8 представляет собой вид в перспективе звена воздушного автоматического выключателя согласно настоящему изобретению;
фиг.9 представляет собой вид сбоку звена воздушного автоматического выключателя согласно настоящему изобретению.
Подробное описание изобретения
Далее будет приведено подробное описание воздушного автоматического выключателя согласно настоящему изобретению со ссылкой на прилагаемые чертежи.
Как показано на фиг.5-7, воздушный автоматический выключатель согласно настоящему изобретению может содержать механизм 2 переключения для размыкания или замыкания цепи путем перемещения подвижного контакта 38 к выводу 39. Механизм 2 переключения может содержать: кулачок 22, соединенный с вращающимся валом 21, выполненный с возможностью вращения автоматически или вручную; приводной рычаг 24, установленный с возможностью вращения на опоре 9, которая поддерживает обе стороны механизма 2 переключения и имеющий ролик 23 рычага, для поворота при движении ролика 23 рычага по криволинейной поверхности кулачка 22 за счет поворота кулачка 22; закрывающую пружину 25, один конец которой соединен с нижним концевым участком приводного рычага 24, а другой конец опирается на опору 9, накапливая упругую энергию, которая генерируется при сжатии, когда приводной рычаг 24 поворачивается за счет поворота кулачка 22; первый фиксатор 27, проходящий продольно для упругого размещения на опоре 9 и имеющий специальное углубление в своей нижней боковой поверхности так, чтобы зафиксироваться, когда штифт 26, расположенный на кулачке 22, запирается в углублении; замыкающий переключатель 28, расположенный на верхней стороне первого фиксатора 27 и для высвобождения со стороны первого фиксатора 27; первое звено 29, установленное с возможностью вращения на вращающемся валу 21 для прохождения в продольном направлении, имеющее нижний концевой участок первого звена 29, соединенный с верхним концевым участком приводного рычага 24 для поворота при повороте приводного рычага 24, и имеющее специальное углубление 49 на своей верхней стороне; второй фиксатор 31, расположенный на верхней стороне первого звена 29, имеющий ролик 30 фиксатора, контактирующий с верхней поверхностью первого звена 29 и поворачивающийся при повороте первого звена 29, причем второй фиксатор 31 фиксируется, когда ролик фиксатора 30 удерживается углублением 49 первого звена 29; размыкатель 32, расположенный на верхней стороне второго фиксатора 31 для высвобождения со стороны второго фиксатора 31; ограничитель 42, расположенный на нижней стороне опоры 9 для предотвращения вращения первого звена 29 при определенном смещении, когда воздушный автоматический выключатель выполняет размыкание; второе звено 34, имеющее нижний концевой участок, соединенный с приводным рычагом 24 вместе с первым звеном 29 и размещенный таким образом, чтобы входить в контакт со штифтом 33, выполненным на приводном рычаге 24; третье звено 35, соединенное с верхним концом второго звена 34 соединительным штифтом 41 для поворота согласно смещению второго звена 34; переключающий вал 3, установленный с возможностью вращения на опоре 9 и соединенный с третьим звеном 35 для поворота при перемещении третьего звена 35; соединительный вал 36 для обеспечения соединения третьего звена 35 с переключающим валом 3; открывающую пружину 37, один конец которой прикреплен к соединительному валу 36, а другой конец опирается на опору 9; и плечо 40, прикрепленное к переключающему валу 3 для перемещения подвижного контакта 38 к выводу 39 при повороте переключающего вала 3.
При этом во время замыкания воздушного автоматического выключателя ко множеству звеньев для передачи усилия растяжения, возникающего при натяжении закрывающей пружины 25, могут быть приложены нагрузки или ударные воздействия. Множество звеньев имеют конструкцию, в которой множество элементов соединены друг с другом для повышения устойчивости к нагрузкам и ударным воздействиям.
Далее звенья, обладающие повышенной устойчивостью, будут описаны со ссылкой на первое звено 29.
Как показано на фиг.8, первое звено 29 имеет конструкцию, в которой множество элементов, например, наложены друг на друга. Первое звено 29 может включать в себя первый участок 51, входящий в контакт с роликом 30 фиксатора второго фиксатора 31 и имеющий углубление 49, в котором удерживается ролик 30 фиксатора; второй участок 52, проходящий от первого участка 51 по кривой и имеющий установочное отверстие 61, в которое вставляют вращающийся вал 21; и третий участок 53, проходящий вниз от второго участка 52 и имеющий соединительное отверстие 62, так что третье звено 53 соединяется с приводным рычагом 24.
Как показано на фиг.9, первое звено 29 выполнено таким образом, что множество элементов соединяется друг с другом во множестве точек соединения 71, 72 и 73 посредством соединительных элементов 81, 82 и 83, таких как заклепки или винты. Однако первое звено 29 согласно настоящему изобретению не ограничивается такой конфигурацией. Множество элементов могут быть скреплены между собой с помощью точечной сварки.
В то же время, во время зарядки воздушного автоматического выключателя, когда второй фиксатор 31 удерживается, в то время как ролик 30 фиксатора второго фиксатора 31 заблокирован углублением 49 первого звена 29, контактное усилие ролика фиксатора 30 и нагрузка второго фиксатора 31 прикладываются к первому участку 51 первого звена 29. Соответственно, для улучшения устойчивости первого звена 29 одна (например, 71) из точек соединения 71, 72 и 73, в которой множество элементов, образующих первое звено 29, соединены друг с другом, предпочтительно расположена на первом участке 51.
Кроме того, во время замыкания воздушного автоматического выключателя, когда соединительный штифт 41 для соединения второго звена 34 с третьим звеном 35 сталкивается со вторым участком 52 первого звена 29, часть усилия растяжения возникает, когда резко натягивается закрывающая пружина 25 и нагрузки второго и третьего звеньев 34 и 35 прикладываются ко второму участку 52 первого звена 29. Соответственно, для того чтобы улучшить устойчивость первого звена 29, одна (например, 72) из точек соединения 71, 72 и 73, в которой множество элементов, образующих первое звено 29, соединены друг с другом, предпочтительно расположена на втором участке 52.
Во время размыкания воздушного автоматического выключателя, когда первое звено 29 сталкивается с ограничителем 42, возникает усилие растяжения, которое затем прикладывается к третьему участку 53 первого звена 29. Соответственно, для того чтобы улучшить устойчивость первого звена 29, одна (например, 73) из точек соединения 71, 72 и 73, в которой множество элементов, образующих первое звено 29, соединены друг с другом, предпочтительно расположена на третьем участке 53.
Воздушный автоматический выключатель согласно настоящему изобретению, имеющий такую конфигурацию, может выполнять зарядку в виде накопления энергии упругой деформации в закрывающей пружине 29, замыкание путем соединения подвижного контакта 38 с выводом 39 посредством упругой восстанавливающей силы закрывающей пружины 25 и размыкание путем отсоединения подвижного контакта 38 от вывода 39.
Во-первых, при зарядке воздушного автоматического выключателя, как показано на фиг.6, и повороте вращающегося вала 21 автоматически или вручную в положении, в котором подвижный контакт 38 отсоединен от вывода 39, поворачивается кулачок 22. Соответственно, поворачивается приводной рычаг 24 с тем, чтобы сжать закрывающую пружину 25.
Во время замыкания воздушного автоматического выключателя, как показано на фиг.7, энергия упругой деформации закрывающей пружины 25 передается на каждое звено механизма 2 переключения для обеспечения вращения переключающего вала 3, соединенного с третьим звеном 35. Соответственно, подвижный контакт 38 соединяется с выводом 39 для обеспечения электропроводности. В данной операции открывающая пружина 37 натягивается перемещением соединительного вала 36.
Во время размыкания воздушного автоматического выключателя упругая восстанавливающая сила натянутой открывающей пружины 37, при размыкании цепи, отделяет (отсоединяет) подвижный контакт 38 от вывода 39. Соответственно, подвижный контакт 38 возвращается в первоначальное положение, показанное на фиг.5.
В воздушном автоматическом выключателе согласно настоящему изобретению первое звено 29 выполнено так, что обеспечивается соединение множества элементов друг с другом, и поэтому устойчивость первого звена 29 можно улучшить, не увеличивая толщины первого звена 29. Таким образом, возможно предотвратить абразивный износ или повреждения первого звена 29, вызванные нагрузками или ударными воздействиями, приложенными к каждому участку первого звена 29 во время зарядки, замыкания и размыкания воздушного автоматического выключателя. Соответственно, обеспечивается повышение эксплуатационной надежности воздушного автоматического выключателя и увеличивается его срок службы.
Кроме того, в воздушном автоматическом выключателе согласно настоящему изобретению точки соединения 71, 72 и 73, в которых множество элементов, образующих первое звено, расположены на участках, к которым во время зарядки, замыкания и размыкания воздушного автоматического выключателя прикладываются нагрузки. Соответственно, обеспечивается эффективность восприятия нагрузок и ударных воздействий, приложенных к каждому участку первого звена 29.
Приведенные выше варианты осуществления и преимущества приведены просто в качестве примера и не должны рассматриваться как ограничивающие настоящее изобретение. Настоящие предложения могут быть легко применены к устройствам других видов. Это описание является поясняющим, а не ограничивающим объем притязаний. Для специалистов в данной области техники очевидно, что возможно множество альтернатив, изменений и вариантов. Признаки, конструкции, способы и другие характеристики описанных здесь в качестве примера вариантов осуществления можно различным образом комбинировать для того, чтобы получить дополнительные и/или альтернативные приведенные в качестве примера варианты осуществления.
Поскольку настоящие признаки могут быть реализованы в разных формах без отклонения от их особенностей, следует также понимать, что описанные выше варианты осуществления не ограничиваются любыми из деталей приведенного выше описания, если только иное не оговорено специально, но скорее должны рассматриваться в широком смысле в пределах объема, определяемого прилагаемой формулой изобретения, и поэтому все изменения и модификации, которые входят в пределы и границы формулы изобретения, или эквиваленты таким пределам и границам должны охватываться прилагаемой формулой изобретения.
Формула изобретения
1. Звено воздушного автоматического выключателя, расположенное в воздушном автоматическом выключателе, который содержит механизм переключения для преобразования вращательного движения вращающегося вала в сжатие закрывающей пружины, так что обеспечивается перемещение подвижного контакта под воздействием упругой восстанавливающей силы закрывающей пружины для размыкания и замыкания цепи, при этом звено воздушного автоматического выключателя выполнено так, что обеспечивается соединение множества элементов друг с другом.
2. Звено по п.1, которое выполнено так, что обеспечивается наложение множества элементов друг на друга.
3. Звено по п.1, в котором множество элементов, образующих звено, соединены друг с другом, по меньшей мере, одним соединительным элементом.
4. Звено по п.3, в котором соединительный элемент расположен на участке, к которому прикладывается нагрузка.
5. Звено воздушного автоматического выключателя, выполненное для множества элементов, накладываемых друг на друга, содержащее первый участок; второй участок, проходящий от первого участка по кривой и имеющий установочное отверстие, и третий участок, проходящий вниз от второго участка и имеющий соединительное отверстие.
6. Звено по п.5, в котором любая из точек соединения, в которых множество элементов, образующих звено, соединены друг с другом, расположена на первом участке для повышения устойчивости звена при выполнении зарядки воздушного автоматического выключателя.
7. Звено по п.5, в котором любая из точек соединения, в которых множество элементов, образующих звено, соединены друг с другом, расположена на втором участке для повышения устойчивости звена при выполнении замыкания воздушного автоматического выключателя.
8. Звено по п.5, в котором любая из точек соединения, в которых множество элементов, образующих звено, соединены друг с другом, расположена на третьем участке для повышения устойчивости звена при выполнении размыкания воздушного автоматического выключателя.
9. Воздушный автоматический выключатель, содержащий кулачок, соединенный с вращающимся валом и выполненный с возможностью вращения; приводной рычаг, соединенный с кулачком, выполненным с возможностью вращения; закрывающую пружину, соединенную с приводным рычагом, выполненную с возможностью сжатия при повороте приводного рычага; и множество звеньев для передачи усилия растяжения, возникающего при натяжении закрывающей пружины к переключающему валу, соединенному с подвижным контактом, при этом, по меньшей мере, одно из множества звеньев имеет конструкцию, в которой множество элементов соединены друг с другом.
РИСУНКИ
|
|