|
|
(21), (22) Заявка: 2008127079/09, 03.07.2008
(24) Дата начала отсчета срока действия патента:
03.07.2008
(46) Опубликовано: 27.05.2009
(56) Список документов, цитированных в отчете о поиске:
GB 1277341 А, 14.06.1972. SU 924769 A1, 30.04.1982. US 44505000 A, 22.05.1984. GB 1291217 A, 04.10.1972.
Адрес для переписки:
191036, Санкт-Петербург, С-36, ул. 6-я Советская, 25/20, кв.5, В.С. Григорчуку
|
(72) Автор(ы):
Григорчук Владимир Степанович (RU)
(73) Патентообладатель(и):
Григорчук Владимир Степанович (RU)
|
(54) КОНДЕНСАТОР ПЕРЕМЕННОЙ ЕМКОСТИ
(57) Реферат:
Изобретение относится к области радиотехники и в частности к разработке переменных конденсаторов (К). Техническим результатом изобретения является компактность, простота и более высокая точность регулировки емкости К. Согласно изобретению К содержит корпус, блок положительных и отрицательных пластин, механизм изменения емкости, при этом, блок пластин выполнен в форме куба, изготовленного из стекла в котором выполнены вертикальные прямоугольные каналы одинаковые по площади, повернутые своими наибольшими боковыми сторонами друг к другу, расположенные параллельно друг другу на некотором расстоянии между собой. В нижней части блок пластин выполнен заодно с двумя цилиндрическими резервуарами (ЦР), установленными перпендикулярно наибольшим боковым сторонам вертикальных прямоугольных каналов и параллельно друг другу. Внутренняя полость одного ЦР соединена с внутренними полостями четных вертикальных прямоугольных каналов, а внутренняя полость второго ЦР соединена с внутренними полостями нечетных вертикальных прямоугольных каналов. Внутрь каждого ЦР вставлено по одному электроду, которые проводниками соединены с клеммами на крышке корпуса. На наружной поверхности каждого ЦР закреплен нагреватель-охладитель, представляющий собой две полукруглые пластины, вставленные одна в другую и соединенные вместе. Одна пластина из металла, а другая из полупроводника. Оба нагревателя-охладителя соединены между собой последовательно и подключены к боковым клеммам корпуса. Из внутренних полостей вертикальных прямоугольных каналов и ЦР откачан воздух, а внутренние полости ЦР заполнены ртутью. Система изменения емкости К включает в себя: источник постоянного тока, выключатель, переменный резистор, переключатель режима “нагрев-охлаждение” и подключена и боковым клеммам корпуса. 12 ил.
Настоящее изобретение относится к области радиотехники и может быть использовано в качестве конденсатора переменной емкости при разработке радиоаппаратуры.
Известен конденсатор переменной емкости, содержащий корпус, на котором закреплен статор, набранный из полукруглых пластин, расположенных на некотором расстоянии друг от друга, ротор, закрепленный в подшипнике, на оси которого установлены на некотором расстоянии друг от друга пластины, пластины, токосъемник, соединенный с ротором /Малогабаритная радио-аппаратура, Справочник радиолюбителя, изд. 2, “Наукова думка”, Киев, 1972, с. 53, рис. 11.9 и 11.10/.
Недостатками известного конденсатора переменной емкости являются небольшая емкость, небольшой диапазон изменения емкости, невозможность точной настройки, сложность механизма настройки.
Указанные недостатки обусловлены конструкцией конденсатора переменной емкости.
Известен также сдвоенный блок плоских конденсаторов переменной емкости, содержащий корпус в форме П-образной подставки, расположенной горизонтально, две пластины статора, установленные одна над другой, на некотором расстоянии друг от друга, подвижную плоскую пластину, установленную между пластинами статора, механизм изменения емкости, содержащий ходовой винт, установленный в подшипниках, гайку, насаженную на винт и соединенную в подвижной плоской пластиной, ручку, надетую на ходовой винт /там же, с. 55-56, рис. 11.12 и 11.13/.
Известный сдвоенный блок плоских конденсаторов переменной емкости, как наиболее близкий по технической сущности и достигаемому полезному результату, принят за прототип.
Недостатки известного блока плоских конденсаторов переменной емкости, принятого за прототип, те же.
Указанные недостатки обусловлены конструкцией блока плоских конденсаторов переменной емкости.
Целью настоящего изобретения является повышение технических и эксплуатационных характеристик конденсатора переменной емкости.
Указанная цель согласно изобретению обеспечивается тем, что плоские неподвижные пластины статора, плоская подвижная пластина, механизм изменения емкости заменены блоком положительных и отрицательных пластин, выполненным в форме куба, изготовленного из стекла и имеющего вертикальные прямоугольные каналы, одинаковые по площади, повернутые своими наибольшими боковыми сторонами друг к другу, расположенные параллельно друг другу на некотором расстоянии между собой, причем в нижней части блок положительных и отрицательных пластин выполнен заодно с двумя цилиндрическими резервуарами, установленными перпендикулярно наибольшим боковым сторонам вертикальных прямоугольных каналов, причем параллельно друг другу, причем внутренняя полость одного цилиндрического резервуара соединена с внутренними полостями четных вертикальных прямоугольных каналов, а внутренняя полость второго цилиндрического резервуара соединена с внутренними полостями нечетных вертикальных прямоугольных каналов, причем внутрь каждого цилиндрического резервуара вставлено по одному электроду, которые проводниками соединены с клеммами на крышке корпуса, двумя нагревателями-охладителями, каждый из которых установлен на наружной поверхности соответствующего цилиндрического резервуара и представляет собой две полукруглые пластины, вставленные одна в другую и соединенные вместе, одна из которых выполнена из металла, а другая из полупроводника, причем пластина из полупроводника первого нагревателя-охладителя соединена проводником с пластиной из металла второго нагревателя-охладителя, вывод от металлической пластины первого нагревателя-охладителя и вывод от полупроводниковой пластины второго нагревателя-охладителя подключены к соответствующим боковым клеммам корпуса конденсатора переменной емкости, причем из внутренних полостей вертикальных прямоугольных каналов и цилиндрических резервуаров откачан воздух, а два последних заполнены ртутью, системой изменения емкости конденсатора, включающей в себя источник тока, включатель, переменный резистор, переключатель режима “нагрев-охлаждение”, подключенной к боковым клеммам.
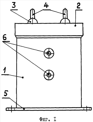
Сущность изобретения поясняется чертежами, где на фиг.1 изображен общий вид конденсатора переменной емкости, на фиг.2 – вид на конденсатор переменной емкости сбоку, на фиг.3 – вид на конденсатор переменной емкости сверху, на фиг.4 – вид на конденсатор переменной емкости в разрезе, на фиг.5 – общий вид блока положительных и отрицательных пластин с частичным разрезом, на фиг.6 – разрез по А-А фиг.5, на фиг.7 – разрез по Б-Б фиг.5, на фиг.8 – разрез по В-В фиг.5, на фиг.9 – устройство нагревателя-охладителя, на фиг.10 – электрическая схема изменения емкости конденсатора, на фиг.11 – положение ртути в блоке положительных и отрицательных пластин, соответствующее минимальной емкости, на фиг.12 – положение ртути в блоке положительных и отрицательных пластин, соответствующее максимальной емкости.
Конденсатор переменной емкости содержит корпус 1, выполненный в форме металлической вертикальной коробки с дном, закрытый сверху крышкой 2, на которой на изоляторах 3 закреплены клеммы 4. Снизу к корпусу приварена пластина 5 с отверстиями для крепления. Сбоку на корпусе на изоляторах установлены боковые клеммы 6 электрической системы изменения емкости конденсатора. Внутри корпуса установлена бумажная изоляционная коробка 7 и размещен блок 8 положительных и отрицательных пластин, выполненный в форме куба, изготовленного из стекла и имеющего вертикальные прямоугольные каналы 9, одинаковые по площади, повернутые своими наибольшими боковыми сторонами друг к другу, расположенные параллельно друг другу на некотором расстоянии между собой. В нижней части блок положительных и отрицательных пластин выполнен заодно с двумя цилиндрическими резервами 10, установленными перпендикулярно наибольшим боковым сторонам вертикальных прямоугольных каналов и параллельно друг другу. Внутренняя полость одного цилиндрического резервуара соединены с внутренними полостями четных вертикальных прямоугольных каналов. Внутренняя полость второго цилиндрического резервуара соединена с внутренними полостями нечетных вертикальных прямоугольных каналов. Внутрь каждого цилиндрического резервуара вставлено по одному электроду 11, которые проводниками соединены с клеммами на крышке корпуса. На наружной поверхности обоих цилиндрических резервуаров закреплены нагреватели-охладители 12. Каждый из них представляет собой две полукруглые пластины, вставленные одна в другую и соединенные вместе, одна из которых выполнена из металла 13, а другая из полупроводника 14. Пластина из полупроводника первого нагревателя-охладителя соединена проводником с пластиной из металла второго нагревателя-охладителя, вывод от металлической пластины первого нагревателя-охладителя и вывод от полупроводниковой пластины второго нагревателя-охладителя подключены к боковым клеммам корпуса. Из внутренних полостей вертикальных прямоугольных каналов и цилиндрических резервуаров откачан воздух и последние заполнены ртутью 15.
Система изменения емкости конденсатора содержит источник постоянного тока 16, включатель 17, переменный резистор 18, переключатель режима нагрев-охлаждение 19 и подключена к боковым клеммам корпуса.
Работа конденсатора переменной емкости.
Для работы конденсатора переменной емкости необходимо включателем 17 подключить систему изменения емкости, подать напряжение на клеммы 4 и посредством переменного резистора 18 установить необходимую температуру нагревателей-охладителей 12. Если необходима максимальная емкость, то переключатель режима 19 необходимо установить в положение нагрев . Постоянный электрический ток будет протекать от полупроводниковых пластин 14 к металлическим пластинам 13 нагревателей-охладителей 12 и нагревать цилиндрические резервуары 10 с ртутью 15. При нагревании ртуть 15 будет расширяться и подниматься вверх по вертикальным прямоугольным каналам 9, которые станут заполняться ртутью, выполняя роль пластин конденсатора. В зависимости от степени нагрева ртуть 15 станет подниматься на соответствующую площадь пластин. Максимальной емкости конденсатора будет соответствовать максимальный подъем ртути в вертикальных прямоугольных каналах 9 и максимальной площади пластин (фиг.12). Для уменьшения емкости конденсатора необходимо уменьшить переменным резистором 18 степень нагрева нагревателей-охладителей 12 или поставить переключатель режима 19 в положение охлаждения . Постоянный ток в нагревателях-охладителях станет двигаться от металлических пластин 13 к полупроводниковым пластинам 14, в результате ртуть 15 в вертикальных прямоугольных каналах 9 станет охлаждаться и опускаться вниз в цилиндрические резервуары 10. Площадь вертикальных прямоугольных каналов 9, заполненных ртутью, уменьшится, а с ней уменьшится и емкость конденсатора. Минимальная емкость конденсатора будет соответствовать минимальному уровню ртути в вертикальных прямоугольных каналах (фиг.11). Таким образом, изменяя степень нагрева или охлаждения ртути и ее площадь в вертикальных прямоугольных каналах, можно изменять емкость конденсатора. Нагрев или охлаждение ртути происходит на основании эффекта Пельтье /см. Физический энциклопедический словарь, гл. ред. А.М.Прохоров, М., Советская энциклопедия, 1983, с. 523/.
Предлагаемый конденсатор переменной емкости может быть использован в той радиоаппаратуре, где регулирование емкости конденсатора невозможно ручным способом.
Положительный эффект: надежность и долговечность конструкции, отпадает необходимость в сложных верньерных устройствах для регулирования емкости, расширение области применения, например, может быть использован в качестве датчика температуры.
Формула изобретения
Конденсатор переменной емкости, содержащий корпус, блок положительных и отрицательных пластин, механизм изменения емкости, отличающийся тем, что блок положительных и отрицательных пластин выполнен в форме куба, изготовленного из стекла и имеющего вертикальные прямоугольные каналы, одинаковые по площади, повернутые своими наибольшими боковыми сторонами друг к другу, расположенные параллельно друг другу на некотором расстоянии между собой, причем в нижней части блок положительных и отрицательных пластин выполнен заодно с двумя цилиндрическими резервуарами, установленными перпендикулярно наибольшим боковым сторонам вертикальных прямоугольных каналов и параллельно друг другу, причем внутренняя полость одного цилиндрического резервуара соединена с внутренними полостями четных вертикальных прямоугольных каналов, а внутренняя полость второго цилиндрического резервуара соединена с внутренними полостями нечетных вертикальных прямоугольных каналов, причем внутрь каждого цилиндрического резервуара вставлено по одному электроду, которые проводниками соединены с клеммами на крышке корпуса, кроме того, на наружной поверхности каждого цилиндрического резервуара закреплен нагреватель-охладитель, представляющий собой две полукруглые пластины, вставленные одна в другую и соединенные вместе, одна из которых выполнена из металла, а другая – из полупроводника, причем пластина из полупроводника первого нагревателя-охладителя соединена проводником с пластиной из металла второго нагревателя-охладителя, вывод от металлической пластины первого нагревателя-охладителя и вывод от полупроводниковой пластины второго нагревателя-охладителя подключены к соответствующим боковым клеммам корпуса конденсатора переменной емкости, причем из внутренних полостей вертикальных прямоугольных каналов и цилиндрических резервуаров откачан воздух, а два последних заполнены ртутью, кроме того, система изменения емкости конденсатора включает в себя источник постоянного тока, выключатель, переменный резистор, переключатель режима “нагрев-охлаждение” и подключена к боковым клеммам.
РИСУНКИ
|
|