|
|
(21), (22) Заявка: 2005120379/06, 28.11.2003
(24) Дата начала отсчета срока действия патента:
28.11.2003
(30) Конвенционный приоритет:
29.11.2002 SE 0203528-5
(43) Дата публикации заявки: 20.01.2006
(46) Опубликовано: 27.05.2009
(56) Список документов, цитированных в отчете о поиске:
WO 9621392 A1, 18.07.1996. RU 2109355 C1, 20.04.1998. RU 2154316 C2, 10.08.2000. RU 21691 U1, 27.01.2002. WO 0178084 A1, 18.10.2001. WO 003320 A1, 06.08.2000.
(85) Дата перевода заявки PCT на национальную фазу:
29.06.2005
(86) Заявка PCT:
SE 03/01837 20031128
(87) Публикация PCT:
WO 2004/051671 20040617
Адрес для переписки:
129090, Москва, ул. Б.Спасская, 25, стр.3, ООО “Юридическая фирма Городисский и Партнеры”, пат.пов. Ю.Д.Кузнецову, рег. 595
|
(72) Автор(ы):
ГЕОРГИИ Ханс (GB)
(73) Патентообладатель(и):
ОЙСТЕР ИНТЕРНЭШНЛ Н.В. (NL)
|
(54) КОНТЕЙНЕРНОЕ УСТРОЙСТВО ДЛЯ ХРАНЕНИЯ ОПАСНОГО МАТЕРИАЛА, В ЧАСТНОСТИ, ДЛЯ ОКОНЧАТЕЛЬНОГО УДАЛЕНИЯ ЯДЕРНОГО ТОПЛИВА, И СПОСОБ И УСТРОЙСТВО ДЛЯ ЕГО ИЗГОТОВЛЕНИЯ
(57) Реферат:
Заявленное изобретение относится к области хранения отработанного ядерного топлива и, в частности, к контейнерным устройствам для длительного хранения опасного материала. Предложенное устройство содержит, по меньшей мере, одну удлиненную цилиндрическую первую емкость, имеющую стенки, ограничивающие первую полость для помещения в нее, по меньшей мере, одного предмета из опасного материала, образованного опасным материалом либо содержащего или поддерживающего опасный материал. Первая полость содержит опорные средства для поддержки предмета из опасного материала в центре первой полости и на расстоянии от ее стенок. Кроме того, контейнерное устройство содержит удлиненную цилиндрическую вторую емкость, имеющую стенки, ограничивающие цилиндрическую вторую полость. Вторая полость содержит опорные средства для поддержки первой емкости в центре второй емкости и на расстоянии от ее стенок. В, по меньшей мере, одной торцевой стенке каждой из первой и второй емкостей выполнены отверстия для введения влажной бетонной смеси соответственно в первую полость и вторую полость. При использовании изобретения возможно создание контейнерного устройства для захоронения ядерного топлива, которое обеспечит долговременное, надежное и безопасное хранение. 5 н. и 9 з.п. ф-лы, 10 ил.
Это изобретение относится к контейнерному устройству для длительного хранения опасных материалов. В частности, предполагаемым видом опасного материала является ядерное топливо или другие радиоактивные материалы, которые сохраняют высокий уровень активности в течение длительных периодов времени и которые следует хранить безопасным образом, по меньшей мере, до тех пор, пока активность не понизится до уровня, который не является опасным. По этой причине изобретение будет описано с особой ссылкой на его применение для окончательного удаления отработанного ядерного топлива. Однако применимость изобретения не ограничивается никаким конкретным видом опасного материала. Другими видами опасного материала, которые могут предполагаться, являются ядерное оружие или части такого оружия, боевые отравляющие вещества, крайне опасные биологические материалы и т.д.
Контейнерные устройства для окончательного удаления ядерного топлива должны удовлетворять требованиям, которые во многих отношениях являются намного более строгими, чем требования, которые предъявляются к транспортировочным контейнерам или другим контейнерам для кратковременного хранения ядерного топлива. В то время как контейнерные устройства последней упомянутой категории должны допускать безопасное хранение в течение периодов времени, которые могут быть несколькими десятилетиями, контейнерные устройства для окончательного хранения должны быть безопасными в течение значительно более длительных периодов времени, как, например, нескольких столетий или даже тысяч лет. Например, в современном научно-исследовательском и опытно-конструкторском проекте, направленном на создание хранилища для окончательного хранения в штате Невада в Соединенных Штатах, необходимым условием является то, что хранение радиоактивного материала должно быть безопасным в течение десятков тысяч лет.
Среди требований, подлежащих удовлетворению, имеется требование о том, чтобы контейнерные устройства выдерживали чрезвычайные механические нагрузки: как кратковременные, так и долговременные статические и динамические нагрузки и ударные нагрузки, как, например, нагрузки, которые могут возникать в результате землетрясений или других сейсмических перемещений или в связи с ядерными взрывами или другими военными или террористическими действиями. Другими требованиями, подлежащими удовлетворению, являются те, которые предусматривают очень долгосрочную стабильность, как, например, стойкость к коррозии или другим явлениям разложения или старения, даже под влиянием нагрева, вызываемого содержащимся ядерным топливом, которые происходят в материалах контейнерных устройств или, по меньшей мере, в материале частей, чье разрушение подвергает риску безопасность.
Целью изобретения является создание контейнерного устройства, которое пригодно для окончательного удаления ядерного топлива и, как полагают, может предоставить вполне надежное удержание хранимого ядерного топлива на всем протяжении периода времени, в течение которого материал должен рассматриваться как опасный материал.
С этой целью согласно изобретению предлагается контейнерное устройство, которое излагается в независимом пункте формулы изобретения. Предпочтительные и полезные варианты выполнения устройства изложены в зависимых пунктах формулы изобретения.
Как будет очевидно из последующего описания изобретения, контейнерное устройство согласно изобретению содержит определенные элементы, которые известны из предшествующего уровня техники в отношении хранения ядерного топлива или других очень опасных материалов, как, например, из прототипа, описанного в WO 91/04351 и WO 96/21392. Однако, как станет ясно, контейнерное устройство тем не менее является неочевидным по сравнению с предшествующим уровнем техники.
Кроме того, изобретение относится к способу и установке для изготовления контейнерных устройств согласно изобретению.
Отличительная особенность контейнерного устройства согласно изобретению, которая является существенной для достижения указанной цели, заключается в том, что готовое герметичное контейнерное устройство имеет конструкцию типа “коробка в коробке”, в которой ряд бетонных преград чередуется с металлическими преградами между ядерным топливом и наружной стороной контейнерного устройства. Количество таких преград по существу является неограниченным и выбирается в соответствии с желаемой степенью безопасности. Если преграда станет поврежденной под действием силы или коррозии либо разрушится по какой-либо другой причине, то останутся другие преграды, предотвращающие выход ядерного топлива из контейнера.
Ниже со ссылкой на сопровождающие чертежи будут описаны вариант выполнения контейнерного устройства согласно изобретению, а также способ и установка для его изготовления.
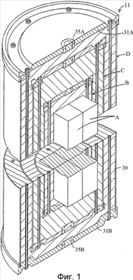
Фиг.1 – перспективный вид в вертикальном разрезе готового контейнерного устройства согласно изобретению;
фиг.2 показывает контейнерное устройство в вертикальном осевом разрезе на большей части, но с частичным видом спереди, а именно справа в верхней части, при этом на левой части фигуры контейнерное устройство показано при отсутствии бетона;
фиг.3 – вид контейнерного устройства в поперечном разрезе по линии III-III на фиг.2;
фиг.4 – вид в осевом разрезе одной из четырех одинаковых внутренних или первых емкостей, при этом каждая такая емкость содержит топливную сборку и образует центральную или внутреннюю часть контейнерного устройства;
фиг.5 – вид емкости в поперечном разрезе по линии V-V на фиг.4;
фиг.6 – вид в осевом разрезе второй емкости, охватывающей первую емкость;
фиг.7 – вид емкости в поперечном разрезе по линии VII-VII на фиг.6;
фиг.8 – вид в осевом разрезе второй емкости;
фиг.9 – вид емкости в поперечном разрезе по линии IX-IX на фиг.8; и
фиг.10 – схематический перспективный вид установки для изготовления контейнерного устройства, показанного на фиг.1-3.
Нижеследующее описание, включая и фигуры с чертежами, контейнерного устройства согласно изобретению, а также способа и установки для его изготовления ограничено лишь тем, что является существенным для понимания изобретения. Как легко понять, для осуществления изобретения требуется много такого, что не показано или не описано, но специалист в данной области, руководствуясь нижеследующим описанием, может добавить отсутствующее, лишь проявляя свою квалификацию.
Контейнерное устройство 11, показанное на чертежах, выполнено с возможностью содержать четыре одинаковых предмета из опасного материала, например ядерных топливных элемента, образованных топливными сборками. На фиг.4 и 5 схематически показаны эскизы такой топливной сборки F. Топливные сборки F – это сборочные единицы ядерного топлива, каждая из которых содержит пучок топливных стержней (не показаны), в которых заключено само ядерное топливо. Конечно, количество топливных сборок может отличаться от того, которое показано в примерном варианте осуществления изобретения.
Каждая топливная сборка F заключена в первый субконтейнер или первую емкость А, которая имеет форму удлиненного цилиндрического тела с квадратным поперечным сечением (конечно, поперечное сечение, с другой стороны, может иметь круглую или другую неквадратную форму) и содержит боковую стенку 12 из листового металла и торцевые стенки 13А и 13В, образованные соответственно верхней металлической плитой и нижней металлической плитой. В полости 14, образованной боковой стенкой 12 и торцевыми стенками 13А, 13В, в каждой торцевой стенке закреплены стержни 15 для поддержки опорных элементов 16 на расстоянии от торцевых стенок. Эти стержни и опорные элементы служат в качестве опорных средств для поддержки предмета из опасного материала в заданном положении в центре полости 14, далее упоминаемой как первая полость, удерживают между собой топливную сборку F таким образом, что имеется открытое пространство между топливной сборкой и внутренней стороной наружной стенки 12 и между топливной сборкой и торцевыми стенками 13А, 13В.
Каждая из двух торцевых стенок 13А, 13В имеет центральное отверстие, образованное втулкой 17А, 17В. Эти втулки являются схематическими изображениями средств, которые не показаны подробно и которые используют для введения заливочного состава (этим заливочным составом может быть стекло или бетон, и в данном случае предполагается последний вид заливочного состава) в открытое пространство в полости 14 после установки топливной сборки F в этой полости. Бетон можно нагнетать через отверстия на концах топливной сборки и/или по ее сторонам, и он заполняет открытые промежутки в топливной сборке, так что топливные стержни также будут окружены бетоном. Такими средствами могут быть клапан, через который вводят бетон, и клапан, через который излишний бетон выдавливается из емкости А. Этот клапан выполнен с возможностью открывания только после создания определенного давления в емкости, так что бетон нужно будет подавать под определенным давлением.
В готовом контейнерном устройстве первая емкость А окружена вторым субконтейнером или второй емкостью В. Эта емкость имеет форму удлиненного цилиндрического тела с круглым поперечным сечением и содержит боковую стенку 18 из листового металла и торцевые стенки 19А и 19В, образованные соответственно нижней торцевой плитой и верхней торцевой плитой. Немного внутрь от боковой стенки в торцевых стенках 19А, 19В закреплен ряд перфорированных трубок 20, которые служат в качестве предварительно напряженных усиливающих элементов 20. На фиг.7 показаны четыре такие трубки 20, но может быть другое количество трубок, например восемь трубок.
К каждой из торцевых стенок 19А, 19В прикреплено восемь опорных элементов 21 (см., в частности, фиг.6 и 7) для удержания четырех первых емкостей А в полости 22, ограниченной боковой стенкой 18 и торцевыми стенками 19А, 19В, так чтобы эти емкости были совместно закреплены в положении, центрированном в осевом и радиальном направлениях относительно второй емкости В и с зазором относительно как боковой стенки 18, так и торцевых стенок 19А, 19В, как это лучше всего видно на фиг.3. Пространство, ограниченное боковой стенкой 18 и торцевыми стенками 19А, 19В и, таким образом, существующее между первой емкостью А и второй емкостью В, значительно больше, чем соответствующее пространство в первых емкостях, и подобно последнему пространству оно полностью заполнено бетоном в готовом контейнерном устройстве 11. Таким образом, стенки полого цилиндрического бетонного тела, которое охватывает первые емкости А в готовом контейнерном устройстве, значительно толще, чем стенки бетонного тела, которое охватывает топливные сборки в первых емкостях А.
Как и торцевые стенки 13А, 13В первой емкости А, торцевые стенки 19А, 19В соответствующим образом и с аналогичной целью снабжены каждая центральным отверстием, образованным втулкой 23А, 23В.
Вторая емкость В охвачена третьей емкостью С, которая изготовлена по существу таким же образом, как и емкость В. Таким образом, емкость С содержит круглую цилиндрическую боковую стенку 24 и верхнюю и нижнюю торцевые стенки 25А, 25В. Эти стенки ограничивают полость 26, в которой по направлению оси помещены перфорированные трубки 27, закрепленные в торцевых стенках и служащие в качестве предварительно напряженных усиливающих элементов. В данном случае количество трубок 27 равно восьми. К каждой из торцевых стенок 25А, 25В прикреплено восемь опорных элементов 28 для удержания второй емкости В в полости 26 в положении, центрированном в радиальном и осевом направлениях. В готовом контейнерном устройстве 11 пространство, которое имеется в полости 26 между второй емкостью В и третьей емкостью С, заполнено бетоном. Чтобы можно было заполнять бетоном, торцевые стенки 25А, 25В снабжены центральными отверстиями, образованными втулками 29А, 29В, сходными со втулками 23А, 23В.
В показанном варианте осуществления изобретения, кроме того, имеется четвертая емкость D, в которую заключена третья емкость С в положении, центрированном в радиальном и осевом направлениях, и которая по существу одинакова с емкостью С за исключением размеров. Таким образом, емкость D содержит круглую цилиндрическую боковую стенку 30 и верхнюю и нижнюю торцевые стенки 31А, 31В. Эти стенки ограничивают полость 32, в которой по направлению оси помещены перфорированные трубки 33, закрепленные в торцевых стенках и служащие в качестве предварительно напряженных усиливающих элементов. В данном случае количество трубок 33 также равно восьми. К каждой из торцевых стенок 31А, 31В прикреплено восемь опорных элементов 34 (показаны только на фиг.3) для удержания третьей емкости С в полости 32 в положении, центрированном в радиальном и осевом направлениях. В готовом контейнерном устройстве пространство в полости, которая образована между третьей емкостью С и четвертой емкостью D, заполнено бетоном. Чтобы можно было заполнять бетоном, торцевые стенки 31А, 31В имеют центральные отверстия, образованные втулками 35А, 35В, сходными со втулками 23А, 23В и 29А, 29В.
Как понятно, на чертежах контейнерное устройство согласно изобретению показано в упрощенном виде и при отсутствии многих подробностей, которые не образуют никакую часть изобретения и не должны быть показаны и описаны для того, чтобы специалист в данной области мог осуществить изобретение. Например, на практике субконтейнеры или емкости A-D должны быть снабжены вспомогательными элементами, дающими возможность поднимать их и осуществлять другие манипуляции с ними, возможно, также и измерительными или контрольными устройствами.
На фиг.10 показан общий вид установки и способа для изготовления контейнерного устройства согласно изобретению. С целью упрощения иллюстрации установка показана только в такой степени, в какой она необходима для изготовления контейнерного устройства, содержащего емкости А и В на фиг.1-3. Однако показанная установка может быть легко расширена так, чтобы она была пригодна для изготовления контейнерных устройств, которые, кроме того, содержат емкость С или емкости С и D.
Как схематически показано на фиг.10, эта установка имеет сходство с установкой, описанной в WO 01/78084 А1, например, в том, что процесс изготовления осуществляют под водой в бассейновой системе с рядом бетонных секций, но она имеет также важные отличия по сравнению с той установкой в отношении средств и способа изготовления.
Главная часть установки представляет собой бассейн 40 с рядом с секций бассейна 41, 42, 43, 44, 45. Соседние секции бассейна могут быть соединены друг с другом или отсоединены друг от друга посредством гидротехнических затворов, так чтобы составные части контейнерных устройств и сами контейнерные устройства можно было переместить в погруженном состоянии из одной секции бассейна в следующую секцию.
Топливные сборные части, которые в показанном примере являются топливными сборками F и которые должны содержаться в контейнерных устройствах согласно изобретению и храниться, например, в центральном временном хранилище К для отработанного ядерного топлива, перемещают к бассейну 40 в транспортировочном контейнере Т. Из транспортировочного контейнера Т их перемещают к первой секции 41 бассейна, в которой они находятся в погруженном положении. Основные составные части первого субконтейнера или емкости А (фиг.4, 5) также перемещают к первой секции бассейна. Этими составными частями являются, во-первых, сборная часть, образованная боковой стенкой 12, нижней торцевой стенкой 13В, которая соединена с боковой стенкой и имеет нижние стержни 15, и прикрепленным к ней нижним опорным элементом 16, и, во-вторых, верхняя торцевая стенка 13А, верхние стержни 15 и верхний опорный элемент 16. На фиг.10 элементы, упомянутые первыми, обозначены как боковая стенка 12, а элементы, упомянутые последними, обозначены как верхняя торцевая стенка 13А.
Вышеупомянутую сборную часть помещают под воду в секции бассейна, по выбору располагая в держателе, который способствует прочному удержанию сборной части в вертикальном положении. В каждую сборную часть помещают топливную сборку F, после чего прикрепляют верхний опорный элемент 16, стержни 15 и верхнюю торцевую стенку 13А.
Затем созданную таким образом составную часть, которая еще не представляет собой готовую емкость А, перемещают в по-прежнему погруженном состоянии во вторую секцию 42 бассейна, где ее заполняют бетоном для образования тела, которое является монолитным в том смысле, что оно по существу свободно от пустот.
Во второй секции 42 бассейна емкость А помещают на заливочную платформу 46, которая установлена на дне секции бассейна и соединена с линией подачи бетона 47. На верхнем конце емкости устанавливают заливочную головку 48. Бетон (заливочный состав) подают под высоким давлением, предпочтительно в несколько декабар, от бетонного узла 49 к заливочной платформе 46 и по направлению оси через емкость А, так чтобы полностью заполнять емкость бетоном под высоким давлением. Избыточный бетон удаляется по выпускной линии 50.
Когда емкость будет заполнена бетоном, топливные стержни в топливной сборке также будут заделаны в бетон. Таким образом, топливные стержни будут хорошо защищены от растрескивания или других повреждений во время обращения с топливными сборками или контейнерным устройством, а в практических целях – также и от попыток получения доступа к ядерному топливу для незаконного или другого нежелательного использования хранимого ядерного топлива. Кроме того, улучшается защита от утечки из топливных стержней.
После окончания заливки бетона отверстия втулок 18А, 18В в торцевых стенках 13А, 13В, через которые нагнетали бетон в емкость и удаляли избыточный бетон, также будут заполнены бетоном, так что готовая емкость будет полностью закупорена.
После окончания заливки бетона устанавливают вспомогательное устройство 51 на верхнем конце готовой емкости А для облегчения манипулирования с ней. В секции 43 бассейна предоставляют соответствующее время для схватывания бетона в емкости до того, как ее переместят в следующую секцию 44 бассейна, где будет изготовлена емкость В.
Вообще говоря, емкость В изготавливают так, как это описано со ссылкой на емкость А. Емкости А перемещают в секцию 44 бассейна, где их объединяют с отдельно изготовленными основными составными частями емкости В, то есть со сборной частью, которая по существу образована из боковой стенки 18, нижней торцевой стенки 19В, трубок 20 и нижней группы опорных элементов 21, и с верхней торцевой стенкой 19А и верхней группой опорных элементов 21. На фиг.10 элементы, упомянутые первыми, обозначены как боковая стенка 18, а элементы, упомянутые последними, обозначены как верхняя торцевая стенка 19А.
В секции 44 бассейна четыре емкости А вставляют в вышеупомянутую сборную часть, обозначенную как боковая стенка 18, после чего прикрепляют верхнюю торцевую стенку 19А и натягивают усиливающие трубки 20. Пространство вокруг четырех емкостей А внутри емкости В заполняют бетоном под давлением, например, 10-50 бар посредством заливочной платформы 52, установленной на дне секции бассейна, и заливочной головки 53 по существу таким же образом, как и при заполнении бетоном емкостей А. Бетон закачивают по линии подачи бетона 54 от бетонного узла 55, а избыточный бетон удаляют по выпускной линии 56. Как это было в случае заполнения емкости А, отверстия втулок 23А, 23В в торцевых стенках, через которые подается бетон и удаляется избыточный бетон, будут заполнены бетоном, когда будет закончена эта операция (см. фиг.1). Высокое давление бетона способствует предварительному натяжению трубок 20.
После окончания заливки бетона прилепляют вспомогательное устройство 57 к верхнему концу готовой емкости В для облегчения манипулирования с ней. В секции 44 бассейна или в следующей секции 45 бассейна предоставляют соответствующее время для схватывания бетона в емкости В до того, как ее удалят, например, на окончательное хранение. На конечной стадии заливки бетон может быть подвергнут вакуумной обработке с помощью трубок 20, которые затем могут быть заполнены бетоном.
Если контейнерное устройство, кроме того, должно содержать емкость С, то повторяют вышеописанную операцию либо в секции 44 бассейна, либо в отдельной секции бассейна. Та же самая операция применима в том случае, если контейнерное устройство, кроме того, должно содержать емкость D.
Для заливки предпочтительно используют высококачественный бетон. Для самой внутренней емкости А может оказаться подходящим использование рудного бетона, который полезен в отношении операции заливки и также в отношении теплопроводности и тем самым рассеивания тепла от ядерного топлива.
При вышеописанном способе изготовления контейнерного устройства согласно изобретению бетон заливают в емкости снизу вверх, но также возможна подача бетона и выпуск избыточного бетона на одном и том же конце емкости, предпочтительно на верхнем конце. Эти и другие модификации вышеописанного контейнерного устройства, а также способа и установки для его изготовления находятся в пределах изобретения, определенных формулой изобретения.
Формула изобретения
1. Контейнерное устройство для длительного хранения опасного материала, в частности, для окончательного удаления ядерного топлива, содержащее: удлиненную цилиндрическую первую емкость (А), имеющую боковую стенку (12) и торцевые стенки (13А, 13В), при этом боковая стенка и торцевые стенки ограничивают первую полость (14) для помещения в нее, по меньшей мере, одного предмета из опасного материала (F), образованного опасным материалом либо содержащего или поддерживающего опасный материал, в частности предмета из опасного материала, представляющего собой пучок стержнеобразных ядерных топливных элементов, а первая полость (14) содержит опорные средства (15, 16) для поддержки предмета из опасного материала в центре первой полости и на расстоянии от боковой стенки и торцевых стенок, отверстия, выполненные в, по меньшей мере, одной из торцевых стенок (13А, 13В) емкости (А) для введения влажной бетонной смеси в первую полость (14) для заполнения пространства между предметом из опасного материала (F) и стенками, ограничивающими первую полость (14).
2. Контейнерное устройство для длительного хранения опасного материала, в частности, для окончательного удаления ядерного топлива, содержащее: по меньшей мере, одну удлиненную цилиндрическую первую емкость (А), имеющую боковую стенку (12) и торцевые стенки (13А, 13В), при этом боковая стенка и торцевые стенки ограничивают первую полость (14) для помещения в нее, по меньшей, мере, одного предмета из опасного материала (F), образованного опасным материалом либо содержащего или поддерживающего опасный материал, а первая полость (14) содержит опорные средства для поддержки предмета из опасного материала в центре первой полости и на расстоянии от боковой стенки и торцевых стенок, удлиненную цилиндрическую вторую емкость (В), имеющую боковую стенку (18) и торцевые стенки (19А, 19В), при этом боковая стенка и торцевые стенки ограничивают цилиндрическую вторую полость (22), содержащую опорные средства (21) для поддержки первой емкости (А) в центре второй емкости и на расстоянии от боковой стенки и торцевых стенок второй емкости, и отверстия, выполненные в, по меньшей мере, одной из торцевых стенок каждой из первой и второй емкостей (А, В) для введения влажной бетонной смеси в первую и вторую полости (14, 22) для заполнения в первой емкости (А) пространства между предметом из опасного материала (F) и стенками, ограничивающими первую полость (14), а во второй емкости (В) – пространства между первой емкостью (А) и стенками, ограничивающими вторую полость (22).
3. Контейнерное устройство по п.2, содержащее: удлиненную цилиндрическую третью емкость (С), имеющую боковую стенку (24) и торцевые стенки (25А, 25В), при этом боковая стенка и торцевые стенки ограничивают цилиндрическую третью полость (27), содержащую опорные средства (28) для поддержки второй емкости (В) в центре третьей емкости (С) и на расстоянии от боковой стенки и торцевых стенок третьей емкости, и отверстия, выполненные в, по меньшей мере, одной из торцевых стенок (25А, 25В) третьей емкости (С) для введения влажной бетонной смеси в третью полость (27) для заполнения пространства между второй емкостью (В) и стенками, ограничивающими третью полость (27).
4. Контейнерное устройство по п.3, содержащее: удлиненную цилиндрическую четвертую емкость (D), имеющую боковую стенку (30) и торцевые стенки (31А, 31В), при этом боковая стенка и торцевые стенки ограничивают цилиндрическую четвертую полость (32), содержащую опорные средства (34) для поддержки третьей емкости (С) в центре четвертой емкости (D) и на расстоянии от боковой стенки и торцевых стенок четвертой емкости, и отверстия, выполненные в, по меньшей мере, одной из торцевых стенок четвертой емкости (D) для введения влажной бетонной смеси в четвертую емкость (D) для заполнения пространства между третьей емкостью (С) и стенками, ограничивающими четвертую полость (32).
5. Способ изготовления контейнерного устройства для окончательного удаления ядерных топливных элементов, расположенных в, по меньшей мере, одном пучке, например, в одной или большем числе топливных сборок (F), при котором ядерные топливные элементы вводят и закрепляют в определенном положении в по существу цилиндрическом контейнере (А), с расстоянием между ядерными топливными элементами и боковой и торцевыми стенками (12, 13А, 13В) контейнера и заделывают по всей их длине и у их концов заливочным составом, как например бетоном, который заставляют полностью заполнять пространство между пучком и боковой и торцевыми стенками (12, 13А, 13В) контейнера и промежутки между отдельными ядерными топливными элементами в пучке.
6. Способ по п.5, при котором заливочный состав, например бетон, нагнетают в контейнер под давлением в пределах 10-50 бар через одну из торцевых стенок (13А, 13В), и при котором избыточный заливочный состав выпускают через противоположную торцевую стенку или ту же самую торцевую стенку.
7. Способ по п.5 или 6, при котором контейнер (А) находится в подводном положении во время введения пучка или пучков в контейнер и во время заделки пучка или пучков в бетон.
8. Способ изготовления контейнерного устройства для длительного хранения опасного материала, в частности ядерного топлива, заключенного в удлиненный предмет из опасного материала, при котором предмет из опасного материала (F) помещают в удлиненную цилиндрическую первую емкость (А), имеющую боковую стенку (12) и торцевые стенки (13А, 13В), и закрепляют в определенном центральном положении в емкости и на расстоянии от боковой стенки и торцевых стенок емкости, и предмет из опасного материала (F) в емкости (А) заделывают по всей его длине и у его концов в бетон, который вводят через одну из торцевых стенок и заставляют полностью заполнять пространство между предметом из опасного материала и внутренней стороной емкости (А).
9. Способ по п.8, при котором первую емкость (А) с заделанным в нее предметом из опасного материала (F) помещают в удлиненную цилиндрическую вторую емкость (В), имеющую боковую стенку (18) и торцевые стенки (19А, 19В), и закрепляют в определенном центральном положении в первой емкости (А) и на расстоянии от боковой стенки и торцевых стенок первой емкости, и первую емкость (А) заделывают по всей ее длине и у ее концов в бетон, который вводят через одну из торцевых стенок (19А, 19В) второй емкости и заставляют полностью заполнять пространство между первой емкостью (А) и внутренней стороной второй емкости (В).
10. Способ по п.9, при котором вторую емкость (В) с заделанной в нее первой емкостью (А) помещают в удлиненную цилиндрическую третью емкость (С), имеющую боковую стенку (24) и торцевые стенки (25А, 25В), и закрепляют в определенном центральном положении в третьей емкости и на расстоянии от боковой стенки и торцевых стенок этой емкости, и вторую емкость (В) заделывают по всей ее длине и у ее концов в бетон, который вводят через одну из торцевых стенок (25А, 25В) третьей емкости (С) и заставляют полностью заполнять пространство между второй емкостью (В) и внутренней стороной третьей емкости (С).
11. Способ по любому из пп.8-10, при котором заделку выполняют под водой. 12 Способ по п.9, при котором заделку первой емкости (А) выполняют введением бетона во вторую емкость (В) через одну из ее торцевых стенок и под давлением бетона в пределах 10-50 бар.
13. Способ по п.10, при котором заделку второй емкости выполняют введением бетона в третью емкость (С) через одну из ее торцевых стенок и под давлением бетона в пределах 10-50 бар.
14. Установка для изготовления контейнерных устройств для опасного материала, в частности ядерных топливных элементов, содержащая: бассейн с водой (40), оборудование для подводного манипулирования с предметами из опасного материала (F), удерживающее опасный материал и составные части контейнерного устройства, включая оборудование для введения предметов из опасного материала в емкости (А), служащие в качестве опалубки для заливки, и оборудование для подводного введения заливочного состава в емкости под высоким давлением, предпочтительно, по меньшей мере, 10 бар.
РИСУНКИ
|
|