|
|
(21), (22) Заявка: 2007100221/09, 15.06.2005
(24) Дата начала отсчета срока действия патента:
15.06.2005
(30) Конвенционный приоритет:
15.06.2004 SG 200403732-1
(43) Дата публикации заявки: 20.07.2008
(46) Опубликовано: 27.05.2009
(56) Список документов, цитированных в отчете о поиске:
WO 03/003141 А2, 09.01.2003. RU 2180470 С2, 10.03.2002. JP 2003-101512 А, 04.04.2003. KR 20040039114 А, 10.05.2004. US 5051705 А, 24.09.1991. ЕР 1191446 А2, 27.03.2002. US 2003/0097520 А1, 22.05.2003. US 6317192 B1, 13.11.2001. US 6539101 B1, 25.03.2003. US 6498454 B1, 24.12.2002.
(85) Дата перевода заявки PCT на национальную фазу:
15.01.2007
(86) Заявка PCT:
SG 2005/000192 20050615
(87) Публикация PCT:
WO 2005/122711 20051229
Адрес для переписки:
191002, Санкт-Петербург, а/я 5, ООО “Ляпунов и партнеры”, пат. пов. А.С.Пантелееву, рег. 1071
|
(72) Автор(ы):
ТАНЬ Генри (SG), ПУ Тэн Пинь (SG)
(73) Патентообладатель(и):
ТРЕК 2000 ИНТЕРНЕЙШНЛ ЛТД. (SG)
|
(54) ТВЕРДОТЕЛЬНОЕ ЗАПОМИНАЮЩЕЕ УСТРОЙСТВО ДЛЯ ХРАНЕНИЯ ДАННЫХ, БЕСПРОВОДНЫМ ОБРАЗОМ ПЕРЕДАВАЕМЫХ С ХОСТА, И ДЛЯ БЕСПРОВОДНОЙ ПЕРЕДАЧИ ДАННЫХ НА ХОСТ
(57) Реферат:
Изобретение относится к беспроводной передаче, хранению и воспроизведению данных между твердотельным запоминающим устройством и другими электронными устройствами. Техническим результатом является расширение функциональных возможностей. Твердотельное запоминающее устройство содержит радиочастотный модуль (РЧ-модуль), демодулирующий сверхширокополосный сигнал записи, беспроводным образом полученный с хоста, и выдает сигнал записи беспроводного протокола. Контроллер беспроводного протокола содержит уровень преобразования беспроводного протокола в сигнал записи USB-протокола. Микроконтроллер содержит уровень извлечения функции для извлечения команды записи из сигнала записи USB-протокола и, в ответ на эту команду, управляет записью данных на твердотельную память, а также считывает данные, хранящиеся в твердотельной памяти, в ответ на команду чтения, полученную с хоста, и выдает сигнал чтения USB-протокола на контроллер беспроводного протокола. Уровень преобразования протокола переводит сигнал чтения USB-протокола в сигнал чтения беспроводного протокола. РЧ-модуль также модулирует сигнал чтения беспроводного протокола и выдает сверхширокополосный сигнал для беспроводной передачи на хост. 13 з.п. ф-лы, 2 ил.
Уровень техники
1. Область техники
Настоящее изобретение в целом относится к передаче и хранению данных и, в частности, к беспроводной передаче, хранению и воспроизведению данных между твердотельным внешним устройством хранения данных и другими электронными устройствами.
2. Описание известного уровня техники
В настоящее время в процессе создания находится стандарт беспроводной универсальной последовательной шины (WUSB), который будет обладать функциональностью традиционной «проводной» универсальной последовательной шины (USB), но без необходимости в соединительных проводах (см. официальный документ “Wireless USB: The First High-speed Personal Wireless Interconnect” («Беспроводная USB-шина: Первое высокоскоростное беспроводное персональное соединение»), “White Paper”, Intel, 2004, который включен в настоящее описание во всей полноте посредством ссылки). Стандарт WUSB предоставляет высокоскоростной хост для подсоединения устройств, который делает возможным естественный переход к нему от прототипов, использующих проводной стандарт USB. Топология стандарта WUSB использует хост (например, персональный компьютер), который инициирует любой обмен данными между подключенными к нему устройствами, выделяя временные интервалы и полосу пропускания каждому подключенному устройству. Указанные соединения относятся к типу «точка-точка» и осуществляются между WUSB-хостом и WUSB-устройствами. Хост и подсоединенные устройства называются кластером. В отличие от проводного стандарта USB, в этой топологии подсоединения отсутствуют концентраторы.
Стандарт WUSB реализован при помощи радио с использованием сверхширокополосной радиосвязи (UWB). Стандарт UWB описан в официальном документе “Ultra-Wideband (UWB) Technology: Enabling High-speed Wireless Personal Area Networks” («Технология сверхширокополосной радиосвязи: запуск высокоскоростных беспроводных персональных сетей»), “White Paper”, Intel, 2004, который включен в настоящее описание во всей полноте посредством ссылки). Частотный диапазон для стандарта UWB находится в пределах от 3,1 до 10,6 гигагерц, ширина полосы пропускания – 7,5 гигагерц. Этот диапазон шириной 7,5 гигагерц разделен на несколько полос пропускания по 528 мегагерц. Использование стандарта UWB позволяет беспроводной USB-шине обеспечить скорость передачи данных до 480 Мб/с в радиусе 10 метров.
Официальный документ по беспроводной USB-шине на странице 4 описывает использование стандарта WUSB для передачи данных с применением устройств массовой памяти (например, жесткого диска, DVD-RW, CD-RW и т.п.). Однако в этом документе не предусматривается возможность использования стандарта WUSB для передачи данных при помощи портативных запоминающих устройств, основанных на твердотельной памяти. Эти виды устройств становятся все более важными и включают такое устройство, как ThumbDrive®, созданное правопреемниками настоящей заявки, или компактная флэш-карта, мультимедийная карта, карта памяти, карта памяти Smart Media и другие. Дополнительная портативность, предложенная стандартом WUSB, делает его очень желательным для использования с подобными устройствами. Также официальный документ по беспроводной USB-шине не предоставляет какого-либо способа использования стандарта WUSB с твердотельным запоминающим устройством.
Международная заявка WO 03/003141, опубликованная 9 января 2003 года и также принадлежащая правопреемникам настоящего изобретения, описывает беспроводную передачу данных между запоминающим устройством, основанным на твердотельной памяти, и компьютером, использующим такие коммуникационные протоколы, как IEEE802.11, Bluetooth, irDA и другие, но не описывает использование сверхширокополосных сигналов и, в частности, WUSB-протокола, который предоставляет более высокую скорость передачи данных.
Было бы желательно иметь твердотельное запоминающее устройство для хранения данных, беспроводным образом полученных с хоста с использованием сверхширокополосного сигнала, и для беспроводной передачи данных на хост с использованием сверхширокополосного сигнала.
Сущность изобретения
Настоящее изобретение предлагает твердотельное запоминающее устройство для хранения данных, беспроводным образом переданных с хоста с использованием сверхширокополосной радиосвязи, и для беспроводной передачи данных на хост с использованием сверхширокополосной радиосвязи.
Более конкретно, твердотельное запоминающее устройство и способ использования этого устройства включает сохранение данных, беспроводным образом переданных с хоста, и беспроводную передачу данных на хост. Указанное запоминающее устройство имеет радиочастотный модуль (РЧ-модуль), который демодулирует сверхширокополосный сигнал записи, беспроводным образом полученный с хоста, и выдает сигнал записи беспроводного протокола. Контроллер беспроводного протокола имеет уровень преобразования протокола, который преобразовывает сигнал записи беспроводного протокола в сигнал записи USB-протокола. Микроконтроллер имеет уровень извлечения функции для извлечения команды записи из сигнала записи USB-протокола и, в ответ на эту команду записи, управляет записью данных, извлеченных из сигнала записи USB-протокола, на твердотельную память, для сохранения этих данных на твердотельную память. В ответ на команду чтения, полученную с хоста, микроконтроллер также считывает данные, хранящиеся в твердотельной памяти, и выдает сигнал чтения USB-протокола на контроллер беспроводного протокола. Уровень преобразования протокола также переводит сигнал чтения USB-протокола в сигнал чтения беспроводного протокола. РЧ-модуль также модулирует сигнал чтения беспроводного протокола и выдает сверхширокополосный сигнал для беспроводной передачи на хост.
Краткое описание чертежей
Настоящее изобретение будет легко понято через последующее детальное описание в сочетании с сопроводительными чертежами. Для облегчения этого описания одинаковые номера позиций обозначают одинаковые структурные элементы.
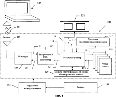
Фиг.1 показывает схематический вид твердотельного запоминающего устройства.
Фиг.2 – это схема уровней протокола, предоставляющих функционирование заявленного устройства на Фиг.1.
Подробное описание предпочтительных вариантов осуществления изобретения
Настоящее изобретение описано со ссылкой на Фиг.1, на которой показан схематический вид твердотельного запоминающего устройства 101, являющегося предметом настоящего изобретения. Кроме того, настоящее изобретение описывается со ссылкой на Фиг.2, которая является схемой уровней протокола, обеспечивающих функционирование настоящего изобретения. Предпочтительно, размер твердотельного запоминающего устройства 101 должен позволять легко разместить его в кулаке и в кармане пользователя для удобства портативности.
Хост 103 может передавать данные записи для сохранения запоминающим устройством 101. Хост 103 может быть любым устройством обработки, которое может извлечь пользу от использования внешнего хранения данных, таким как персональный компьютер, фотоаппарат, видеокамера, органайзер, МР3-плеер или персональный цифровой секретарь (PDA). Хост 103 включает WUSB-контроллер, РЧ-модуль и антенну для выдачи и отправки модулированного сверхширокополосного радиочастотного сигнала 107 WUSB-протокола, содержащего данные записи (WUSB-сигнал данных записи).
Соединение между хостом 103 и запоминающим устройством 101 является соединением типа «точка-точка». В добавление к запоминающему устройству 101, другие устройства хранения или другие виды устройств могут быть одновременно подключены к тому же хосту 103, образуя кластер. Хост 103 инициирует весь обмен данными среди подключенных к нему устройств, выделяя временные интервалы и полосу пропускания данных каждому подключенному устройству.
Антенна 105, составляющая одно целое с запоминающим устройством 101, беспроводным образом получает данные записи, которые должны быть сохранены запоминающим устройством 101. От антенны 105 сигнал 107 проходит к РЧ-модулю 109, имеющему уровень 201 физического протокола, который демодулирует радиочастотный WUSB-сигнал 107 данных записи для генерирования демодулированного сигнала 111 записи WUSB-протокола. В альтернативных вариантах осуществления антенна 105 отделена от запоминающего устройства 101 и подключается к запоминающему устройству 101.
РЧ-модуль 109 также имеет уровень 203 управления доступом к среде (МАС-уровень). МАС-уровень 203 управляет потоком пакетов WUSB-данных между хостом 103 и запоминающим устройством 101. МАС-уровень 203 также гарантирует, что пакеты, посланные с разных хостов по одному и тому же каналу, не будут конфликтовать.
Сигнал 111 записи WUSB-протокола проходит WUSB-контроллер 113, имеющий уровень 205 USB-преобразования, который извлекает сигнал 115 USB-протокола с данными записи из сигнала 111 записи WUSB-протокола. Сигнал 115 USB-протокола с данными записи затем посылается на микроконтроллер 117.
Как WUSB-контроллер хоста 103, так и WUSB-контроллер 113 запоминающего устройства 101 предназначены для преобразования между WUSB-сигналами и сигналами стандарта USB.
Стандарт WUSB все еще находится в состоянии доработки, однако для целей настоящего изобретения стандарт WUSB может быть описан как сверхширокополосная беспроводная система. В частности, ширина частотного спектра должна быть, по меньшей мере, 7 гигагерц. Например, согласно установленной в настоящее время спецификации сверхширокополосной радиосвязи (UWB) частотный диапазон должен находиться в пределах от 3,1 до 10,6 гигагерц. Беспроводные сверхширокополосные соединения относятся к типу «точка-точка» и направлены между беспроводным USB-хостом и беспроводными USB-устройствами. В одном варианте осуществления настоящего изобретения беспроводной USB-хост может логически подключаться максимально к 127 беспроводным USB-устройствам.
В настоящем изобретении вместо WUSB-сигналов могут использоваться сверхширокополосные (с пропускной способностью 7 гигагерц) сигналы, имеющие другие протоколы. В таких альтернативных вариантах осуществления WUSB-контроллер 113 может в более широком смысле указываться как контроллер беспроводного протокола для извлечения одного из других протоколов из беспроводного протокола и для перевода одного из других протоколов обратно в беспроводной протокол.
Микроконтроллер 117 имеет уровень 207 извлечения функции, который извлекает специфическую функцию из сигнала 115 USB-протокола (например, такую функцию, как запись данных в сигнале 115 на твердотельную память 119, чтение данных с твердотельной памяти 119 или же получение функции хранения). Когда функцией является команда записи данных, после получения команды записи данных микроконтроллер 117 заставляет данные 121 записи сигнала 115 USB-протокола записаться на твердотельную память.
Микроконтроллер 117 осуществляет управление памятью, декодируя логическую память из хоста 103 в физическую память твердотельной памяти 119. Твердотельная память 119 предпочтительно является энергонезависимой памятью и может быть, например, флэш-памятью с архитектурой И-НЕ или ИЛИ-НЕ, стираемым программируемым постоянным запоминающим устройством (СППЗУ, EPROM), электрически стираемым программируемым постоянным запоминающим устройством (ЭСППЗУ, EEPROM), магнитным ОЗУ (MRAM) или ферромагнитным ОЗУ (FRAM).
Твердотельная память 119 имеет размер, по меньшей мере, 8 мегабайт и предпочтительно более чем 1 гигабайт энергонезависимой памяти. Для увеличения количества данных, которые могут быть сохранены запоминающим устройством 101, в одном варианте осуществления данные хранятся в твердотельной памяти 119 в сжатом формате. Микроконтроллер 117 доставляет сигнал 115 USB-протокола с данными записи на механизм 127 кодирования/декодирования, встроенный в запоминающее устройство 101, который затем кодирует сигнал 115 в сжатые данные. Микроконтроллер 117 затем посылает сжатые данные для хранения на твердотельную память 119 как данные 121 записи.
В альтернативном варианте осуществления механизм 127 кодирования/декодирования расположен между WUSB-контроллером 113 и микроконтроллером 117 и таким образом кодирует сигнал 115 в сжатые данные до достижения ими микроконтроллера.
Данные могут быть сжаты с использованием любого подходящего известного алгоритма. Механизм 127 кодирования/декодирования может дополнительно иметь вход для переключения между различными алгоритмами сжатия с целью получения разных форматов сжатия. В таком варианте осуществления твердотельная память 119 может быть разделена с целью раздельного хранения данных, имеющих разные форматы сжатия.
Большая емкость и сжатие данных позволяют запоминающему устройству 101 хранить большие мультимедийные файлы, программы, операционные системы и т.д.
Эти данные могут храниться в запоминающем устройстве 101 неограниченное время, прежде чем быть считанными обратно на компьютер. Более того, когда твердотельная память 119 является энергонезависимой, память может хранить информацию неограниченное время, даже когда отсутствует электропитание запоминающего устройства 101.
Когда хосту 103 необходимо считать данные 123, хранящиеся в твердотельной памяти 119, он посылает запрос чтения данных на микроконтроллер 117 таким же образом, как он посылает WUSB-сигнал 107 данных записи. Когда уровень 207 извлечения микроконтроллера 117 получает запрос чтения данных, он считывает данные 123, хранящиеся в твердотельной памяти 119, и преобразует их в сигнал 124 USB-протокола с данными чтения, который проходит на WUSB-контроллер 113.
В вариантах осуществления, в которых данные хранятся в сжатом формате, микроконтроллер 117 посылает сжатый сигнал 123 USB-протокола с данными чтения на механизм 127 кодирования/декодирования для декомпрессии в сигнал 124 USB-протокола с данными чтения. В качестве альтернативы, когда механизм 127 кодирования/декодирования расположен между WUSB-контроллером 113 и микроконтроллером 117, сигнал 124 USB-протокола с данными чтения декомпрессируется после выхода из микроконтроллера 117.
Уровень 205 USB-преобразования WUSB-контроллера 113 переводит сигнал 124 USB-протокола с данными чтения в сигнал 125 WUSB-протокола с данными чтения, который посылается на РЧ-модуль 109. Вновь МАС-уровень 203 РЧ-модуля 109 управляет движением пакетов WUSB-данных между хостом 103 и запоминающим устройством 101. Уровень 201 физического протокола РЧ-модуля 109 модулирует WUSB-сигнал 125 данных чтения и направляет сигнал 125 на антенну 105 для беспроводной передачи сигнала 107 на хост 103.
Запоминающее устройство 101 может также включать модуль 129 идентификации на основе биометрических данных, составляющий одно целое с запоминающим устройством 101, как показано на Фиг.1. Модуль 129 идентификации на основе биометрических данных является спаренным с микроконтроллером 117 и управляется им. Доступ к твердотельной памяти 119 для чтения и записи данных предоставляется хосту 103 при условии, что модуль 129 идентификации на основе биометрических данных идентифицирует личность пользователя хоста 103. В противном случае пользователю будет отказано в доступе к твердотельной памяти 119. Модуль 129 идентификации может использоваться для защиты конфиденциальных данных, хранящихся на запоминающем устройстве 101. Он может также использоваться, чтобы запретить пользователю записывать на запоминающее устройство 101 материал, охраняемый авторским правом, без произведения оплаты. В одном варианте осуществления модуль 129 идентификации на основе биометрических данных включает датчик отпечатка большого пальца для получения данных отпечатка большого пальца пользователя. В качестве альтернативы могут использоваться другие биометрические данные. Биометрические данные могут храниться в модуле 129 идентификации на основе биометрических данных для сравнения их с полученными данными.
Источник 133 электропитания и система 135 управления электропитанием показаны на Фиг.1. Предпочтительно, источник 133 электропитания является портативным и может быть, например, щелочной батареей, аккумуляторной батареей, кнопочным элементом или топливным элементом.
В предпочтительном варианте осуществления запоминающее устройство 101 является портативным, и для того чтобы максимально увеличить его портативность, необходимо принимать во внимание сохранение электроэнергии. Система 135 управления электропитанием следит за передачей информации между хостом и твердотельным запоминающим устройством 119. Система 135 управления электропитанием предоставляет минимум энергии с портативного источника 133 электропитания, когда она не обнаруживает передачи информации между хостом 103 и твердотельным запоминающим устройством 101, и предоставляет максимум энергии с портативного источника 133 электропитания, когда она обнаруживает передачу информации между хостом 103 и твердотельным запоминающим устройством 119. Когда источник 133 электропитания является аккумуляторным, система управления электропитанием также управляет подзарядкой источника электропитания. Предпочтительно, чтобы в целях улучшения портативности система 135 управления электропитанием и источник 133 электропитания составляли одно целое с запоминающим устройством 101.
В одном варианте осуществления твердотельное запоминающее устройство 101 также включает встроенный USB-соединитель 131 обхватываемого типа, который может предоставить проводную связь для передачи сигнала 115 USB-протокола с данными записи с хоста 103 на микроконтроллер 117 и для передачи сигнала 124 USB-протокола с данными чтения на хост 103. Это полезно, когда необходимо использовать запоминающее устройство 101 с другим электронным устройством, которое оснащено USB-соединителем обхватывающего типа, а не WUSB-соединителем.
В вышеприведенном описании вместо стандарта WUSB могут быть использованы другие беспроводные стандарты, при условии, что они являются сверхширокополосными и, в частности, если они используют стандарт сверхширокополосной связи UWB, охватывающей частотный диапазон от 3,1 до 10,6 гигагерц. В настоящем изобретении сверхширокополосный сигнал обычно определяется как сигнал, имеющий сверхширокополосный диапазон, по меньшей мере, шириной 7,0 гигагерц.
Формула изобретения
1. Твердотельное запоминающее устройство для хранения данных, переданных с хоста, и для передачи данных на хост, включающее: энергонезависимую твердотельную память для хранения данных; радиочастотный модуль (РЧ-модуль), выполненный с возможностью демодулирования сверхширокополосного сигнала записи, беспроводным образом полученного с хоста, и с возможностью выдачи сигнала записи беспроводного протокола; контроллер беспроводного протокола, имеющий уровень преобразования протокола, который выполнен с возможностью преобразования сигнала записи беспроводного протокола в первый сигнал записи USB-протокола; встроенный USB-соединитель обхватываемого типа, выполненный с возможностью получения небеспроводным образом второго сигнала записи USB-протокола от хоста; микроконтроллер, имеющий уровень извлечения функции для извлечения команды записи из указанных первого или второго сигнала записи USB-протокола и в ответ на эту команду записи управляющий записью данных, извлеченных из первого или второго сигнала записи USB-протокола, на энергонезависимую твердотельную память для сохранения этих данных на энергонезависимую твердотельную память; причем микроконтроллер также выполнен с возможностью считывания данных, хранящихся в энергонезависимой твердотельной памяти, в ответ на команду чтения, полученную с хоста, и вывода либо первого сигнала чтения USB-протокола на контроллер беспроводного протокола, либо второго сигнала чтения USB-протокола на встроенный USB-соединитель обхватываемого типа; и если контроллер беспроводного протокола получает первый сигнал чтения USB-протокола, уровень преобразования протокола также переводит первый сигнал чтения USB-протокола в сигнал чтения беспроводного протокола; и РЧ-модуль также модулирует сигнал чтения беспроводного протокола и выдает сверхширокополосный сигнал чтения для беспроводной передачи на хост.
2. Твердотельное запоминающее устройство по п.1, в котором сверхширокополосный сигнал имеет ширину частотного спектра, по меньшей мере, 7 ГГц.
3. Твердотельное запоминающее устройство по п.1 или 2, в котором сигнал записи беспроводного протокола является сигналом записи WUSB-протокола, контроллер беспроводного протокола является WUSB-контроллером, имеющим уровень USB-преобразования, который извлекает сигнал записи USB-протокола из сигнала записи WUSB-протокола, и сигнал чтения беспроводного протокола является сигналом чтения WUSB-протокола.
4. Твердотельное запоминающее устройство по п.1 или 2, дополнительно включающее антенну, составляющую одно целое с твердотельным запоминающим устройством, которая беспроводным образом получает сверхширокополосный сигнал записи с хоста и беспроводным образом передает сверхширокополосный сигнал чтения на хост.
5. Твердотельное запоминающее устройство по п.1 или 2, в котором микроконтроллер выполнен с возможностью осуществлять управление памятью.
6. Твердотельное запоминающее устройство по п.5, в котором микроконтроллер выполнен с возможностью декодирования логической памяти с хоста на физическую память энергонезависимой твердотельной памяти.
7. Твердотельное запоминающее устройство по п.1 или 2, в котором энергонезависимая твердотельная память имеет архитектуру И-НЕ.
8. Твердотельное запоминающее устройство по п.1 или 2, в котором энергонезависимая твердотельная память имеет размер, по меньшей мере, 8 мегабайт для хранения данных в сжатом формате, при этом твердотельное запоминающее устройство дополнительно включает встроенный механизм кодирования/декодирования для сжатия и декомпрессии данных.
9. Твердотельное запоминающее устройство по п.1 или 2, дополнительно включающее модуль идентификации на основе биометрических данных, спаренный с микроконтроллером и управляемый им, при этом доступ к энергонезависимой твердотельной памяти предоставляется хосту при условии, что модуль идентификации на основе биометрических данных идентифицирует личность пользователя хоста, и в противном случае в доступе к энергонезависимой твердотельной памяти будет отказано.
10. Твердотельное запоминающее устройство по п.9, в котором модуль идентификации на основе биометрических данных включает датчик отпечатка большого пальца для получения данных с отпечатка большого пальца пользователя.
11. Твердотельное запоминающее устройство по п.1 или 2, в котором хост является персональным компьютером.
12. Твердотельное запоминающее устройство по п.1 или 2, дополнительно включающее портативный источник электропитания; и систему управления электропитанием, выполненную с возможностью слежения за передачей информации между хостом и твердотельным запоминающим устройством, при этом система управления электропитанием используется для предоставления минимума энергии с портативного источника электропитания, когда она не обнаруживает передачи информации между хостом и твердотельным запоминающим устройством, и для предоставления максимума энергии с портативного источника электропитания, когда она обнаруживает передачу информации между хостом и твердотельным запоминающим устройством.
13. Твердотельное запоминающее устройство по п.12, в котором система управления электропитанием также управляет подзарядкой портативного источника электропитания.
14. Твердотельное запоминающее устройство по п.12, в котором портативный источник электропитания выбирается из группы, состоящей из щелочной батареи, аккумуляторной батареи, кнопочного элемента или топливного элемента.
РИСУНКИ
|
|