|
|
(21), (22) Заявка: 2004139196/09, 30.12.2004
(24) Дата начала отсчета срока действия патента:
30.12.2004
(30) Конвенционный приоритет:
07.01.2004 US 60/534,795 23.03.2004 US 10/807,095
(43) Дата публикации заявки: 10.06.2006
(46) Опубликовано: 27.05.2009
(56) Список документов, цитированных в отчете о поиске:
WO 03/092222 A1, 06.11.2003. US 2003/0154287 A1, 14.08.2003. US 2002/0007407 A1, 17.01.2002. US 2002/0009199 A1, 24.01.2002. RU 2214623 C2, 20.10.2003.
Адрес для переписки:
129090, Москва, ул. Б.Спасская, 25, стр.3, ООО “Юридическая фирма Городисский и Партнеры”, пат.пов. Ю.Д.Кузнецову, рег. 595
|
(72) Автор(ы):
НИК Бенджамин (US), АБРАХАМ Дален (US), МАНЧЕСТЕР Скотт (US), ФРИМЭН Тревор В. (US)
(73) Патентообладатель(и):
МАЙКРОСОФТ КОРПОРЕЙШН (US)
|
(54) КОНФИГУРИРОВАНИЕ ПАРАМЕТРОВ СЕТЕВОЙ НАСТРОЙКИ УСТРОЙСТВ ТОНКИХ КЛИЕНТОВ, ИСПОЛЬЗУЯ ПЕРЕНОСНЫЕ НОСИТЕЛИ ДАННЫХ
(57) Реферат:
Изобретение относится к компьютерным сетям. Техническим результатом является упрощение задачи конфигурирования устройства – тонкого клиента для обеспечения сетевого подключения и других функций. Средство конфигурации на персональном компьютере помогает пользователю в создании конфигурационных данных, включая параметры сетевой настройки, для устройства – тонкого клиента, генерирует XML файл, содержащий конфигурационные данные, и записывает XML файл на переносное устройство носителя информации. Переносное устройство носителя информации после этого присоединяется к устройству – тонкому клиенту. Устройство – тонкий клиент обнаруживает переносное устройство носителя информации и автоматически загружает конфигурационные данные из XML файла. 3 н. и 24 з.п. ф-лы, 18 ил.
ОБЛАСТЬ ТЕХНИКИ
Это изобретение относится, в общем случае, к области компьютерных сетей и, более конкретно, к механизму для упрощения процесса конфигурирования узлов в компьютерных сетях.
УРОВЕНЬ ТЕХНИКИ
Использование сетей передачи данных продолжает расти. В маленьких, так же, как больших корпоративных установках, проводные локальные сети (LAN) и глобальные сети (WAN) стали общепринятой особенностью ведения бизнеса, и беспроводные сети используются все больше и больше. Использование сетевых технологий дома как проводных, так и беспроводных, является явлением последнего времени, хотя и замедлилось в развитии. В дополнение к облегчению обеспечения связи с Интернет, домашние сети позволяют персональным компьютерным устройствам и различным бытовым электронным устройствам и приборам в доме связываться друг с другом. Беспроводная технология, типа стандарта IEEE 802.11 беспроводных сетей и сети устройств с поддержкой стандарта Bluetooth, являются привлекательными как в домашнем использовании, так и в корпоративных средах по причинам удобства, мобильности и гибкости.
Основным препятствием к более широкому применению беспроводной сетевой технологии в домашних условиях и других некорпоративных средах были трудности, испытываемые пользователями, не специалистами в конфигурировании сетевых устройств. Конфигурирование сетевых устройств часто требует детального знания аппаратных средств, программного обеспечения и протоколов сети, и может быть слишком сложным для среднего пользователя. Кроме того, много сетевых устройств в настоящее время являются устройствами «тонкий клиент» (сетевой клиент, в основном маломощный, используемый для работы с серверами, имеющий ограниченную функциональность), которые обычно исполняют упрошенную версию операционной системы и не имеют поддержки компонентов интерфейса пользователя (например, монитора, клавиатуры, и/или мыши) и функций обычных персональных компьютеров. Недостаток удобных и интуитивных возможностей ввода-вывода часто делает трудным конфигурирование устройства тонкого клиента для домашней сети. Например, может быть мучительно для многих пользователей конфигурировать беспроводную точку доступа (WAP), которая обычно является устройством – тонким клиентом. Может быть особенно утомительно и трудно изменять сетевые параметры настройки устройства – тонкого клиента для конфигурации его для беспроводной сети, когда устройство – тонкий клиент не имеет готового подключения к обыкновенному компьютеру. С развитием беспроводных сетевых технологий различные типы устройств – тонких клиентов, таких как приемники цифровой звукозаписи, беспроводные принтеры, компьютерные приставки к телевизору и т.д., добавляются к домашним сетям, и существует потребность в простом и легком способе конфигурировать такие устройства – тонкие клиенты для обеспечения сетевого взаимодействия.
СУЩНОСТЬ ИЗОБРЕТЕНИЯ
В соответствии с изобретением задача конфигурирования устройства – тонкого клиента для сетевой функциональности и обеспечения связи сделана особенно простой и легкой при использовании переносного, читаемого компьютером носителя информации, типа устройства флэш-памяти на USB (универсальная последовательная шина) или карты памяти SD (Secure Digital, стандарт таких карт), без переноса и автоматической загрузки настроек сетевых параметров в устройство – тонкий клиент. Приложение конфигурации на персональном компьютере помогает пользователю в создании конфигурационных данных, которые включают в себя правильные настройки сетевых параметров для глобальной сети (WAN), локальной сети (LAN), или беспроводной сети, в зависимости от предназначенных целей и сетевых функций устройства – тонкого клиента. Конфигурационные данные могут также включать информацию о конфигурации устройства, информацию о безопасности и информацию о совместном использовании файлов. Приложение конфигурации затем генерирует файл на расширяемом языке разметки (XML), заключающий в себе конфигурационные данные, и записывает этот XML файл в переносное устройство – носителя информации. Пользователь может затем установить переносное устройство – носитель информации в компьютерные устройства – тонкие клиенты для передачи конфигурационных данных устройству. Устройство – тонкий клиент обнаруживает подключение портального устройства носителя и автоматически загружает конфигурационные данные, и предоставляет сигналы, указывающие на завершение операции конфигурации. В результате устройство тонкого клиента может быть обеспечено параметрами сетевой настройки и другими конфигурационными данными быстро и удобно, без необходимости в достаточно развитом интерфейсе пользователя для взаимодействия с пользователем.
Дополнительные признаки и преимущества изобретения будут очевидны из следующего подробного описания иллюстративных вариантов воплощения, которое дается со ссылкой на сопроводительные чертежи.
КРАТКОЕ ОПИСАНИЕ ЧЕРТЕЖЕЙ
В то время как прилагаемая формула изобретения формулирует признаки данного изобретения подробно, изобретение и его преимущества могут быть лучше всего поняты из следующего подробного описания совместно с сопроводительными чертежами, на которых:
Фиг.1 является схематической диаграммой, иллюстрирующей примерную архитектуру компьютерного устройства, которое может использоваться для выполнения процесса конфигурирования компьютерного устройства – тонкого клиента в соответствии с вариантом воплощения изобретения;
Фиг.2 является схематической диаграммой, иллюстрирующей примерную домашнюю сеть, которая имеет обеспечение сетевой связи для глобальной, локальной и беспроводной сети, и включает в себя множество устройств – тонких клиентов, которые могут быть сконфигурированы в соответствии с вариантом воплощения изобретения;
Фиг.3 является схематической диаграммой, иллюстрирующей использование переносного устройства носителя информация для передачи конфигурационных данных, включающих настройки сетевых параметров, компьютерному устройству – тонкому клиенту;
Фиг.4A-F являются схематическими диаграммами, иллюстрирующими снимки экрана пользовательского интерфейса приложения конфигурации для генерации конфигурационных данных для вычислительного устройства – тонкого клиента и сохранения конфигурационных данных на переносном устройстве – носителе информации для передачи на устройство – тонкий клиент;
Фиг.5 является схематической диаграммой, иллюстрирующей архитектуру программного обеспечения для генерации данных конфигурации сети для конфигурации сетевых устройств в соответствии с вариантом воплощения изобретения;
Фиг.6 является блок-схемой, иллюстрирующей способ для конфигурирования компьютерного устройства – тонкого клиента, используя переносное устройство – носитель информации в соответствии с вариантом воплощения изобретения;
Фиг.7 является диаграммой процесса, иллюстрирующего способ для конфигурирования устройства – тонкого клиента для соединения со специальной беспроводной сетью в соответствии с вариантом воплощения изобретения;
Фиг.8 является диаграммой процесса, иллюстрирующего способ для конфигурирования точки беспроводного доступа в соответствии с вариантом воплощения изобретения;
Фиг.9 является диаграммой структуры данных, иллюстрирующей поля XML схемы для представления параметров настройки конфигурации беспроводной сети в соответствии с вариантом воплощения изобретения;
Фиг.10A-C являются диаграммами структур данных, иллюстрирующих поля XML схемы для представления параметров настройки конфигурации WAN в соответствии с вариантом воплощения изобретения; и
Фиг.11 является диаграммой структуры данных, иллюстрирующей поля XML схемы для представления параметров настройки конфигурации LAN в соответствии с вариантом воплощения изобретения.
ПОДРОБНОЕ ОПИСАНИЕ ИЗОБРЕТЕНИЯ
Способы и системы для конфигурирования сетевых устройств с переносным устройством – носителем информации ниже описаны относительно некоторых вариантов воплощения. Специалист в данной области техники оценит, что способы и системы, описанные здесь, являются просто примерными, и что могут быть сделаны изменения, не отступая от формы и объема изобретения.
Данное изобретение будет более полно понятно из следующего подробного описания, которое должно изучаться вместе с приложенными чертежами. В этом описании аналогичные позиции являются ссылками на соответствующие элементы в различных вариантах воплощения данного изобретения. Изобретение иллюстрируется как осуществляемое в подходящей компьютерной среде. Хотя это и не требуется, изобретение будет описано в общем контексте компьютерно-исполняемых команд, таких как процедуры, исполняемые персональным компьютером. Вообще, процедуры включают в себя программные модули, подпрограммы, функции, программы, объекты, компоненты, структуры данных, и т.д., которые выполняют специфические задачи или реализуют специфические абстрактные типы данных. Кроме того, специалисты в данной области техники оценят, что изобретение может быть осуществлено с другими конфигурациями компьютерной системы, включая переносные устройства, многопроцессорные системы, и устройства на основе микропроцессора или программируемые устройства бытовой электроники. Изобретение можно также осуществить в распределенных компьютерных средах, где задачи выполняются удаленными устройствами обработки, которые связаны через коммуникационную сеть. В распределенной компьютерной среде программные модули могут быть расположены и на локальных, и на удаленных запоминающих устройствах памяти. Термин «компьютерная система» может использоваться для ссылки на систему компьютеров, таких, которые могут быть найдены в распределенной компьютерной среде.
Фиг.1 иллюстрирует пример подходящей компьютерной системной среды 100, в которой изобретение может быть осуществлено. Компьютерная системная среда 100 является только одним примером подходящей компьютерной среды и не предназначена для каких-либо ограничений объема использования или функциональных возможностей изобретения. Никто не должен интерпретировать компьютерную среду 100 как имеющую какую-либо зависимость или требования, касающиеся любого или комбинации компонентов, проиллюстрированных в примерной среде 100. Хотя, по меньшей мере, один вариант воплощения изобретения действительно включает каждый компонент, проиллюстрированный в примерной среде 100, другой, более типичный, вариант воплощения изобретения исключает некоторые или все несущественные компоненты, например, другие устройства ввода – вывода, кроме требуемых для сетевых коммуникаций.
Ссылаясь на фиг.1, примерная система для осуществления изобретения включает в себя универсальное компьютерное устройство в форме компьютера 110. Компоненты компьютера 110 могут включать в себя, но не ограничиваясь этим, процессорный модуль 120, системную память 130, и системную шину 121, которая соединяет различные системные компоненты, включая системную память, с процессором 120. Системная шина 121 может быть любым из нескольких типов шинных структур, включая шину памяти или контроллер памяти, периферийную шину, и локальную шину, использующую любой тип из разнообразия шинных архитектур.
Компьютер 110 обычно включает разнообразные читаемые компьютером носители. Читаемые компьютером носители могут быть любыми доступными носителями, к которым может обратиться компьютер 110, и включает в себя энергозависимые и энергонезависимые носители, и сменные и несменные носители. В качестве примера, а не ограничения, читаемые компьютером носители могут включать компьютерные носители данных и коммуникационные носители. Компьютерные носители данных включают энергозависимые и энергонезависимые, сменные и несменные носители, осуществленные любым методом или по любой технологии для хранения информации, такой как читаемые компьютером команды, структуры данных, программные модули или другие данные. Компьютерные носители данных включают в себя, но не ограничиваются этим, оперативную память (RAM), постоянное запоминающее устройство (ROM), электронно-перепрограммируемую постоянную память (EEPROM), флэш-память или память другой технологии, память на оптическом диске, магнитные кассеты, магнитную ленту, память на магнитном диске или другие магнитные запоминающие устройства, или любой другой носитель информации, который может использоваться для хранения желательной информации и к которому можно обратиться с помощью компьютера 110. Коммуникационные носители обычно заключают в себе читаемые компьютером команды, структуры данных, программные модули или другие данные в модулируемом сигнале данных, таком как сигнал несущей или другой транспортный механизм, и включают в себя любые носители, доставляющие информацию. Термин «модулированный сигнал данных» означает сигнал, который имеет одну или более своих характеристик, установленной или измененной таким способом, чтобы кодировать информацию в сигнале. Для примера, а не ограничения, коммуникационные носители включают в себя беспроводные носители типа беспроводной сети или беспроводное прямое подключение, и беспроводные носители информации, такие как акустические, радиочастотные, инфракрасные и другие беспроводные носители. Комбинации любых упомянутых выше элементов включены в объем читаемых компьютером носителей.
Системная память 130 включает в себя компьютерные носители данных в форме энергозависимой и/или энергонезависимой памяти типа постоянного запоминающего устройства 131 (ROM) и оперативной памяти (RAM) 132. В качестве примера, а не ограничения, фиг.1 иллюстрирует операционную систему 134, прикладные программы 135, другие программные модули 136 и программные данные 137.
Компьютер 110 может также включать в себя другие сменные и несменные, энергозависимые и энергонезависимые компьютерные носители данных. Только в качестве примера, фиг.1 иллюстрирует привод 141 жесткого диска, который читает или пишет на несменный, энергонезависимый магнитный носитель, дисковод 151 магнитных дисков, который читает или пишет на сменный энергонезависимый магнитный диск 152, и дисковод 155 оптических дисков, который читает или пишет на сменный энергонезависимый оптический диск 156 типа CD-ROM. Другие компьютерные носители данных, которые могут использоваться в примерной среде, включают, но не ограничиваются ими, кассеты магнитной ленты, платы флэш-памяти, цифровые видеодиски (DVD), цифровые видеоленты, твердотельные RAM, твердотельные ROM, и т.п. Привод 141 жесткого диска обычно подключается к системной шине 121 через интерфейс несменной памяти типа интерфейса 140, и дисковода 151 магнитных дисков и дисковод 155 оптических дисков обычно подключается к системной шине 121 интерфейсом сменной памяти, например, интерфейсом 150.
Компьютерная система может включать в себя интерфейсы для дополнительных типов сменных энергонезависимых запоминающих устройств. Например, компьютер может иметь USB порт 153, через который можно подключить перепрограммируемое устройство 154 USB (UFD), или гнездо 157 подключения карт SD, через который можно подключить Security Digital (SD) карту 158 памяти. Перепрограммируемое устройство USB является устройством с флэш-памятью, которое оснащено USB разъемом, которое может быть вставлено в USB порт на различных компьютерных устройствах. Карта памяти SD является устройством флэш-памяти размером с марку. И перепрограммируемое устройство USB, и карта SD предлагают высокую вместимость памяти в маленьком модуле и высокие скорости передачи данных. Другие типы съемного носителя могут также использоваться для осуществления изобретения.
Диски и связанные с ними компьютерные носители данных, обсужденные выше и проиллюстрированные на фиг.1, обеспечивают хранение читаемых компьютером команд, структур данных, программных модулей и других данных для компьютера 110. На фиг.1, например, жесткий диск 141 проиллюстрирован как хранилище операционной системы 144, прикладных программ 145, других программных модулей 146 и программных данных 147. Необходимо отметить, что эти компоненты могут или быть теми же самыми или отличаться от операционной системы 134, прикладных программ 135, других программных модулей 136 и программных данных 137. Операционной системе 144, прикладным программам 145, другим программным модулям 146 и программным данным 147 здесь даны другие номера для иллюстрации того, что они, как минимум, являются различными копиями. Пользователь может вводить команды и информацию в компьютер 110 через устройства ввода данных, такое как планшет, или электронного устройства 164 ввода графической информации, микрофон 163, клавиатура 162 и устройство 161 позиционирования, обычно называемое мышью, трекболом или сенсорной клавиатурой. Эти и другие устройства ввода данных часто подключаются к процессорному модулю 120 через интерфейс 160 пользовательского ввода, который соединен с системной шиной, но может быть связан с другим интерфейсом и шинными структурами, такими как параллельный порт, игровой порт или универсальная последовательная шина (USB). Монитор 191 или другой тип устройства отображения также связан с системной шиной 121 посредством интерфейса, таким как видеоинтерфейс 190. Монитор 191 может также быть интегрирован с сенсорной экранной панелью или подобным устройством. Необходимо отметить, что монитор и/или сенсорная экранная панель могут быть физически соединены с корпусом, который включает в себя компьютерное устройство 110, такое как персональный компьютер планшетного типа. Кроме того, компьютеры типа компьютерного устройства 110 могут также включать в себя другие периферийные устройства вывода, такие, как динамики 197 и принтер 196, которые могут быть связаны через внешнее устройство вывода, подключенное с помощью интерфейса 194 или подобного ему.
Компьютер 110 предпочтительно оперирует или приспособлен для работы в сетевой среде, используя логические подключения к одному или более удаленным компьютерам, типа удаленного компьютера 180. Удаленный компьютер 180 может быть персональным компьютером, сервером, маршрутизатором, равноправным устройством или другим сетевым узлом, и обычно включает в себя некоторые или все элементы, описанные выше относительно компьютера 110, хотя только запоминающее устройство 181 памяти было иллюстрировано на фиг.1. Логические подключения, изображенные на фиг.1, включают в себя LAN 171 и WAN 173, но могут также включать другие сети. Например, в данном изобретении компьютер 110 может включать в себя машину-источник, от которой данные перемещаются, и удаленный компьютер 180, который может включать машину-адресат. Однако необходимо отметить, что машины источника и адресата не должны быть первоначально связаны сетью или иначе, но вместо этого данные могут быть перенесены с помощью любых носителей, имеющих способность быть записанной платформой источника и читаемой платформой или платформами адресата. Например, одним неограничивающим экземпляром такого носителя является переносной носитель на флэш-памяти.
При использовании в среде LAN компьютер 110 соединяется с LAN 171 через сетевой интерфейс или адаптер 170. Компьютер 110 может также включать в себя модем 172 или другие средства для установления связи с WAN 173. Модем 172, который может быть внутренним или внешним, может быть связан с системной шиной 121 посредством интерфейса 160 пользовательского ввода или другого соответствующего механизма. В сетевой среде программные модули, изображенные по отношению к компьютеру 110 или его частям, могут быть сохранены на удаленном запоминающем устройстве памяти. В качестве примера, а не ограничения, фиг.1 иллюстрирует удаленные прикладные программы 185 как постоянно находящиеся на устройстве памяти 181. Необходимо оценить, что показанные сетевые подключения являются примерными, и могут использоваться другие средства установления связи между компьютерами.
Обратимся к фиг.2, где данное изобретение направлено на простой и удобный способ для пользователя установить компьютерное устройство тонкого клиента в домашней сети или подобное этому. Термин «тонкий клиент» обычно относится к компьютерному устройству, которое снабжается микропроцессором, но выполняет упрощенную или сокращенную операционную систему (например, Microsoft Corporation Windows CE или «внедренные» версии операционной системы) и не имеет или не поддерживает обычные устройства ввода – вывода интерфейса пользователя типа монитора и клавиатуры. В результате устройства тонких клиентов обычно имеют очень ограниченные средства ввода, такие как кнопки с предопределенными функциями, которые пользователь может использовать для ввода команд. Некоторые из них могут даже не иметь никаких пользовательских средств ввода. Они также обычно имеют очень ограниченные средства передачи сигналов, такие как светодиоды как индикаторные огни, или жидкокристаллический дисплей (LCD) для отображения простых сигналов и сообщений. Из-за ограниченных возможностей пользовательского интерфейса ввода – вывода может быть очень сложной и трудоемкой задача конфигурировать устройство тонкого клиента. Традиционно задача конфигурирования устройства тонкого клиента делается проще при подключении устройства тонкого клиента к персональному компьютеру и выполнения конкретной программы конфигурации на персональном компьютере, который взаимодействует с устройством тонкого клиента для изменений настроек на устройстве. Этот подход становится непрактичным для многих новых устройств тонких клиентов для использования в сетевой среде, которые полагаются на беспроводную передачу для сетевых коммуникаций. Данное изобретение позволяет таким устройствам тонких клиентов быть легко сконфигурированным с желательными параметрами сетевой настройки и другими операционными параметрами с минимальным вмешательством пользователя.
В качестве примера на фиг.2 показана примерная сетевая среда, которая имеет различные устройства тонкого клиента. Персональный компьютер 200 пользователя (ПК, PC) связан с локальной сетью 202 на основе Ethernet (ЛС, LAN). Другие устройства, соединенные с Ethernet, включают, например, другой PC 210, принтер 212, сетевое телевидение 214, сетевую телефонию 216. LAN может включать в себя точку 218 беспроводного доступа для формирования беспроводной сети. LAN может дополнительно включать в себя межсетевое устройство 222 уровня дома (домашнего пользования), которое связано с внешней глобальной сетью (WAN) через, например, широкополосный модем 220, для доступа к сети 212 Интернет. Межсетевое устройство 222 уровня дома может также иметь возможности беспроводной передачи, позволяющие ей функционировать как точка беспроводного доступа для связи с беспроводными компьютерными устройствами.
Сетевая среда может также включать в себя беспроводные сети. В беспроводной сети 203 инфраструктуры компьютерные устройства связываются друг с другом через точку 218 беспроводного доступа. Специальная беспроводная сеть 234 может также быть сформирована из компьютерных устройств, которые соединяются между собой беспроводным одноранговым способом, минуя точку доступа. Беспроводные устройства могут включать в себя портативные компьютеры 230, планшетное компьютерное устройство 232, и другие различные типы беспроводных устройств, такие как беспроводное телевидение 238, сотовый телефон 240, беспроводной принтер 250, расширитель 260 медиа-центра, карманный PC 262, беспроводное устройство 268 для показа изображения, беспроводные динамики 270, беспроводный универсальный проигрыватель 272, и т.д. Другие типы существующих и новых беспроводных устройств также могут быть добавлены к беспроводным сетям. Беспроводные устройства могут обмениваться с использованием любого подходящего беспроводного протокола связи. Примеры подходящих беспроводных протоколов связи включают беспроводные протоколы связи в соответствии с рядом стандартов Института Инженеров по Электротехнике и Электронике (IEEE) 802.1x, группы стандартов Bluetooth® и стандартов сверхширокополосной группы (UWB). Как можно заметить, многие из устройств в проводных и беспроводных сетях являются устройствами – тонкими клиентами, и может быть трудно или обременительно конфигурировать их для работы с сетями и для других функций обычным способом.
В соответствии с характерной особенностью изобретения процесс конфигурирования устройства – тонкого клиента сделан очень простым и легким при использовании переносного носителя информации для передачи конфигурационных данных и инициирования автоматической конфигурации устройства. Обратимся к фиг.3, на которой программа 322 конфигурации на компьютере 312 помогает пользователю в генерации конфигурационных данных для устройства 314 тонкого клиента. Как только данные конфигурации сгенерированы, они сохраняются на переносном носителе 326 информации (ПНИ, PM), связанном с компьютером 312. Переносной носитель 326 информации может быть, например, перепрограммируемым устройством 328 USB (с флэш-памятью), который может быть вставлен в USB порт 330, или картой памяти 334 SD, которая может быть вставлена в гнездо 336 SD. Можно отметить, что изобретение не ограничено этими двумя переносными носителями информации, другие типы переносных носителей также могут использоваться для осуществления изобретения.
Конфигурационные данные, сгенерированные программой 322 конфигурации, могут включать параметры сетевой настройки для устройства – тонкого клиента для связи с другими компьютерными устройствами в сети. В зависимости от своего местоположения в сети и функций устройство 314 тонкого клиента может потребовать параметры сетевой настройки для беспроводной сети (инфраструктурной или специальной), LAN или WAN, а иногда и все из них. Например, межсетевой интерфейс 222 уровня дома (домашнего использования) на фиг.2 может потребовать параметров настройки беспроводной сети, когда он функционирует как точка доступа, параметры настройки LAN для связи по Ethernet, и параметры настройки WAN для соединения с глобальной сетью 206 через широкополосный модем, который может потребовать своих собственных специальных параметров настройки. В дополнение к параметрам сетевой настройки данные конфигурации могут включить другие параметры, имеющие отношение к операциям устройства, такие как конфигурационная информация, зависящая от устройства, информация о безопасности и информация о совместном использовании файлов.
После того как конфигурационные данные сохранены на переносном носителе 326 информации, переносной носитель информации отсоединяется от первого компьютера 312 и используется для переноса конфигурационных данных на одно или более устройств – тонких клиентов. В предпочтительном варианте воплощения для настройки устройства – тонкого клиента все, что пользователь должен сделать – это подключить переносной носитель 326 информации к этому устройству. Устройство 314 тонкого клиента определяет подключение переносного носителя информации и может запустить программу 344 конфигурации для загрузки конфигурационных параметров из переносного носителя 326 информации и автоматически сконфигурировать устройство – тонкий клиент, используя полученные конфигурационные данные.
Для дополнительного упрощения задачи настройки устройства – тонкого клиента программа конфигурации на компьютере 312 предоставляет интерфейс пользователя, помогающий пользователю проходить через этапы процесса определения параметров сетевой настройки и других конфигурационных данных для устройства – тонкого клиента. Для простоты иллюстрации следующее описание описывает пример, в котором переносной носитель информации является перепрограммируемым устройством USB, и задача состоит в конфигурации устройства – тонкого клиента для соединения со специальной беспроводной сетью.
Примерные изображения экрана с интерфейсом пользователя (UI, ИП) показаны на фиг.4A-4F. Для иллюстрации, переносной носитель, используемый в примере, проиллюстрированном этими ИП изображениями экрана, являются перепрограммируемым устройством USB (с флэш-памятью). На изображении 460 экрана интерфейса пользователя, проиллюстрированном на фиг.4A, пользователь информируется, что программа конфигурации поможет пользователю создать параметры настройки для беспроводной сети, а затем параметры настройки будут сохранены на перепрограммируемом устройстве USB, и будут использоваться для конфигурирования других компьютеров или устройств – тонких клиентов, которые должны соединяться с беспроводной сетью. На втором изображении 462 экрана ИП, показанном на фиг.4B, пользователю даются варианты установки беспроводной сети инфраструктуры и установки специальной беспроводной сети, и пользователь выбирает для установки специальную сеть.
На изображении 464 экрана ИП, показанном на фиг.4C, пользователю предоставляют поле 476 для выбора имени для беспроводной специальной сети, и поле 478 для выбора сетевого ключа. В одном варианте реализации для минимизации работы, которую пользователь должен сделать, программа конфигурации может сгенерировать сетевое имя и ключ защиты для пользователя, и пользователь может отклонить их и ввести свои собственные сетевое имя и ключ, если она так желает. С этой целью поля имени и ключа первоначально заполняют программой конфигурации беспроводной сети значениями, содержащими или произвольные данные или данные, которые выбраны, используя идентификаторы, сохраненные на компьютере. Например, если компьютерная операционная система была зарегистрирована на «Джона Смита», тогда программа беспроводной конфигурации может сгенерировать «СетьДжонаСмита» как заданное по умолчанию сетевое имя. Программа конфигурации беспроводной сети может вызвать функцию операционной системы для генерации ключа защиты для беспроводной сети. Пользователь может принять сетевое имя и ключ, предложенные программой конфигурации, щелкая «Next», или может отредактировать поля вручную. Дополнительно, щелкая кнопкой 480 «Advanced» («Дополнительно»), пользователю позволяется отредактировать другие различные конфигурационные параметры сетевой настройки, которые, в противном случае, автоматически сгенерированы программой конфигурации беспроводной сети. Преимущество предоставления ключа, сгенерированного компьютером, состоит в том, что ключ может быть полноразмерным ключом, содержащим случайные символы, например алфавитно-цифровые символы. Такой ключ может обеспечить улучшенную защиту по сравнению с введенным пользователем ключом, который имеет тенденцию быть коротким и содержать образцы, которые являются простыми для запоминания пользователю. Поскольку параметры сетевой настройки, включающие ключ защиты, будут переданы другим компьютерам с помощью переносного носителя информации, пользователю не требуется пытаться создать ключ, который он может запомнить, и более вероятным является использование ключа, сгенерированного компьютером.
На изображении 466 экрана ИП, показанном на фиг.4D, программа сетевой конфигурации просит пользователя вставить и идентифицировать перепрограммируемое устройство USB. Когда пользователь нажимает «Next» на этом экране для индикации того, что перепрограммируемое устройство USB было вставлено, программа сетевой конфигурации сохраняет сгенерированные сетевые настройки для беспроводной специальной сети на перепрограммируемом устройстве USB.
Когда параметры сетевой настройки были полностью сохранены на перепрограммируемом устройстве USB, пользователю выдают другой экран 468 ИП, показанный на фиг.4E, предлагая пользователю извлечь переносной носитель информации и подключить его ко всем дополнительным компьютерным устройствам, которые должны соединяться со специальной сетью. Экран 468 ИП также представляет пользователю кнопку 482 «Print» («Печать»), позволяющую пользователю напечатать бумажную копию параметров сетевой настройки, которая позволяет пользователю вручную сконфигурировать те сетевые устройства, которые не принимают переносной носитель информации, или оно не может быть автоматически сконфигурировано для сети.
Когда пользователь использует перепрограммируемое устройство USB для настройки другого компьютерного устройства для беспроводной сети, параметры настройки, установленные на этом устройстве, записываются обратно на перепрограммируемое устройство USB. После того как пользователь использовал перепрограммируемое устройство USB для установки других компьютерных устройств для специальной беспроводной сети, он возвращается к первому компьютеру 212 и вставляет перепрограммируемое устройство USB в USB порт компьютера. Программа конфигурации считывает данные установки, записанные другими устройствами, и представляет экран 470 ИП, как показано на фиг.4F. Экран 470 ИП идентифицирует устройства, которые были успешно установлены в беспроводной сети. Кроме того, программа конфигурации представляет опцию удаления параметров настройки с перепрограммируемого устройства USB. На экране 470 ИП фиг.4F эта опция представлена как флаговая кнопка 472. Это предотвращает параметры сетевой настройки от неосторожного показа другим, когда перепрограммируемое устройство USB позже используется для передачи данных другим компьютерам. Так как некоторые пользователи могут иметь тенденцию использовать то же самое сетевое имя или ключ, эта опция удаления сетевых параметров настройки используется для предоставления расширенной (улучшенной) защиты. Дополнительные расширенные меры защиты могут быть включены в процессы конфигурации, такие как процессы, соответствующие фиг.4A-4F. Например, используя обычные криптографические методы, некоторые или все параметры настройки, сохраненные на переносном носителе информации, могут быть зашифрованы, а затем потребовать подходящую информацию для аутентификации прежде, чем будут расшифрованы, и/или позволять расшифровку определенное количество раз или в определенном диапазоне дат. Примеры подходящей информации для аутентификации включают личный идентифицирующий номер (PIN), пароль, ключевую фразу и подходящую биометрическую информацию типа отпечатка пальца.
Обратимся теперь к фиг.5, описывающей программную архитектуру, используемую в одном варианте воплощения изобретения для генерации параметров сетевой настройки и других конфигурационных данных. Программа 502 конфигурации выполняется на компьютере и связывается с компьютером через прикладной программный интерфейс (API) 504 конфигурации беспроводной сети для генерации параметров настройки сетевой конфигурации. В среде операционной системы Microsoft Corporation Windows библиотека WZCDLG.DLL может использоваться, например, для генерации параметров настройки беспроводной сети.
В соответствии с особенностью варианта воплощения параметры сетевой настройки и другие конфигурационные данные для специальной беспроводной сети сохраняются в формате файла расширяемого языка разметки (XML). Использование XML файла представляет стандартный формат, который может быть распознан многими различными устройствами. Программа 502 конфигурации выводит XML файлы на компьютер через предоставленный API 506. Программа 502 конфигурации далее выводит XML файлы для записи на приложенный переносной носитель, такой как перепрограммируемое устройство 508 USB. С этой целью драйвер 510 устройства конфигурации на флэш-памяти считывает и записывает файл конфигурации устройства на перепрограммируемое устройство USB, когда оно предоставлено.
Программа 502 конфигурации сохраняет несколько файлов на перепрограммируемом устройстве 508 USB для использования в процессе конфигурации сети. В варианте воплощения, проиллюстрированном на фиг.5, файлы включают в себя XML файлы, представляющие сгенерированные параметры настройки сетевой конфигурации. В одной реализации XML файлу, содержащему параметры настройки беспроводной сети, дают специальное имя расширения типа «wfc», как показано на фиг.5, указывающее, что файл содержит параметры настройки конфигурации беспроводной сети. Таким образом, когда перепрограммируемое устройство USB подключено к другому компьютерному устройству, операционная система этого устройства распознает файлы 512 как содержащие информацию о настройке беспроводной сети и вызовет программу конфигурации беспроводной сети на этом устройстве для обработки файлов. Перепрограммируемое устройство 508 USB может хранить несколько XML файлов, представляющих собой сгенерированные параметры настройки сетевой конфигурации. Файл 512 WSETTING.XML содержит параметры настройки для беспроводной сети. Файл 522 LSETTING.XML содержит параметры настройки для LAN. Файл 528 NSETTING.XML содержит параметры настройки для WAN. Эти XML файлы описаны более детально ниже. Сохраняя сетевые параметры настройки конфигурации для LAN, WAN и беспроводных сетей, единственное перепрограммируемое устройство 508 USB может использоваться для конфигурации разнообразных устройств (типа персональных компьютеров, маршрутизаторов, принтеров, карманных компьютеров и беспроводных устройств), для обмена информацией с разнообразными типами сетей. Перепрограммируемое устройство USB может также использоваться для хранения специфичных для устройств конфигурационных данных, которые предпочтительно находятся в XML файле. На фиг.5, XML файлом, содержащим специфичные для устройств конфигурационные данные, является файл 528 DEVICE SETTING.WFC.
Кроме того, приложение 514 сетевой установки (называемое «Downlevel Flash Config Wizard» на фиг.5) может быть сохранено на перепрограммируемом устройстве 508 USB для того, чтобы облегчить конфигурирование параметров сетевой настройки для других устройств. Когда перепрограммируемое устройство 508 USB присоединено к другому устройству, то устройство может выполнить приложение сетевой установки для того, чтобы загрузить уместные параметры сетевой настройки с перепрограммируемого устройства 508 USB на это устройство.
Как также показано на фиг.5, перепрограммируемое устройство 508 USB может использоваться для хранения журналов 516 конфигурации устройства, которые записаны в перепрограммируемое устройство устройствами, которые обеспечиваются для беспроводной сети, используя перепрограммируемое устройство. В одном варианте реализации каждый файл-журнал конфигурации устройства идентифицируется по имени файла, которое содержит последние 8 байтов MAC адреса (физический адрес сетевого устройства, длиной 48 байт) предоставленного устройства в формате ASCII-HEX. Это имя файла позволяет компьютеру, на котором параметры сетевой настройки созданы, идентифицировать это предоставленное устройство.
В одном воплощении изобретения перепрограммируемое устройство 508 USB дополнительно сохраняет файл автоматического запуска, такой как wireless.cfg 518. Когда перепрограммируемое устройство 508 USB подсоединено к совместимому устройству, которое распознает файл автоматического запуска, обнаружение wireless.cfg 518 автоматически запустит устройство для выполнения программы 510 сетевой установки. При этом способе никакое пользовательское вмешательство не требуется для передачи параметров сетевой настройки устройству после того, как перепрограммируемое устройство 508 USB будет подсоединено.
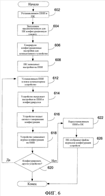
Способ использования переносного носителя информации для конфигурации устройства – тонкого клиента в соответствии с вариантом воплощения изобретения описан со ссылкой на фиг.6. Этот метод используется, например, тонким клиентом или «автономными» устройствами типа беспроводных принтеров, цифровых звуковых приемников и интеллектуальных дисплеев. Описанный способ упрощает процесс конфигурации для таких устройств по сравнению с предыдущими способами. Способ начинает с этапа 602 с подсоединения переносного носителя (ПНИ) информации, типа перепрограммируемого устройства USB, к персональному компьютеру, который используется для создания параметров настройки для устройства – тонкого клиента. Пользователь затем запускает предназначенный для PC инструментальное средство конфигурации на персональном компьютере на этапе 604. С помощью интерактивного процесса при помощи экранов интерфейса пользователя инструментальное средство конфигурации помогает пользователю создавать параметры настройки конфигурации для намеченного устройства – тонкого клиента на этапе 606. Параметры настройки конфигурации записываются на переносной носитель информации в виде одного или более XML файлов на этапе 608. Переносной носитель информации после этого извлекается из персонального компьютера и устанавливается в новое компьютерное устройство, которое будет конфигурироваться, на этапе 612. Компьютерное устройство загружает подходящие параметры настройки сетевой конфигурации из ПНИ и обеспечивается на этапе 614. Если компьютерное устройство поддерживает автоматический протокол обнаружения, типа UPnP, компьютер в сети немедленно распознает новое устройство и уведомляется относительно его наличия. В одном варианте воплощения загрузка выполняется автоматически без какого-либо вмешательства пользователя. Компьютерное устройство ищет XML файлы, сохраненные на переносном носителе информации, для специфических требуемых полей данных, и загружает соответствующие данные из переносного носителя информации. При этом способе устройство только читает данные, требующиеся для его работы. Устройство затем выполняет программу конфигурации для автоматической конфигурации самого себя, используя принятые данные настройки конфигурации.
Как только конфигурационные настройки реализованы на устройстве, устройству желательно сообщить пользователю, что оно было успешно сконфигурировано. Как устройство сообщает о завершении конфигурации, зависит от средств передачи сигналов, которые имеет устройство. Большинство устройств – тонких клиентов имеет один или более светоизлучающих диодов (светодиодов), который может использоваться для этой цели. Например, устройство – тонкий клиент может зажечь светодиод три раза с односекундным циклом включения/выключения. Альтернативно, если устройство – тонкий клиент имеет LCD экран, может быть отображено простое сообщение, указывающее пользователю, что конфигурация закончена. Как другой пример, беспроводной блок 268 отображения (фиг. 2) является устройством, которое получает данные для цифрового изображения беспроводным способом из источника (например, PC) и имеет область дисплея для отображения цифрового изображения. Когда оно сконфигурировано, используя переносной носитель информации, оно может использовать область дисплея для отображения сообщения о завершении конфигурации.
В одном воплощении устройство – тонкий клиент, которое было сконфигурировано, записывает журнал конфигурации обратно на переносной носитель информации на этапе 618. Этот журнал конфигурации позволяет пользователю устанавливать, что устройство имеет надлежащие параметры настройки конфигурации и может использоваться для диагностических целей. Способ продолжается на этапе 620, на котором пользователь определяет, должно ли дополнительное компьютерное устройство быть сконфигурировано, используя данные на переносном носителе информации. Если это так, то переносной носитель информации присоединяется к новому компьютерному устройству на этапе 612. Любое число новых компьютерных устройств можно добавить к сети этим способом. Если нет никакого дополнительного компьютерного устройства, которое надо конфигурировать, пользователь возвращается к персональному компьютеру и устанавливает переносной носитель информации в компьютер. Компьютер затем отображает (см. фиг.4F) данные конфигурации из журналов конфигурации компьютерных устройств, которые были сконфигурированы, используя переносной носитель информации.
В одном варианте воплощения переносной носитель информации включает в себя поле предписанного времени жизни (TTL), и устройства, сконфигурированные с использованием переносного носителя информации, будут лишены доступа к сети после того, как назначенное время TTL прошло. Этим способом устройству предоставляют только временный доступ к сети. В другом варианте воплощения поле TTL используется вместе с схемой аутентификации типа отпечатка пальца. Этим способом аутентифицированным устройствам предоставляют постоянный доступ к сети, в то время как гостевым устройствам предоставляют только временный доступ, как определено полем TTL.
Фиг.7 представляет примерную последовательность действий, иллюстрирующих генерацию и передачу параметров настройки сетевой конфигурации посредством переносного носителя информации для создания специальной беспроводной сети. Как проиллюстрировано на фиг.7, пользователь 700 взаимодействует с инициализирующим компьютером 710 для создания параметров сетевой настройки. Параметры сетевой настройки предпочтительно включают в себя строку Name, используемую для идентификации сети, такой как строка SSID, используемая во время процессов выдачи маяка в стандарте 802.11, и строка Pre-Shared (заранее установленного совместно используемого) ключа, используемая для сетевой идентификации. Типы аутентификации могут включать в себя, например, WEP, WPA PSK, или 802.11i PSK кодирование. Ключевым форматом может быть бинарное или шестнадцатеричное число, алфавитно-цифровая строка, или ключевое слово. Параметры настройки сохраняются на переносном носителе 720 информации как файлы в формате XML. Переносной носитель 720 информации затем используется для конфигурации другого однорангового устройства 730 из беспроводной специальной сети.
В одном варианте воплощения предварительно загруженные параметры настройки конфигурации сохраняются как множество профилей. Используя профили, пользователи могут легко возвратиться к предыдущим параметрам сетевой настройки и переключиться на другие сети без необходимости снова получать параметры настройки сетевой конфигурации.
Фиг.8 представляет примерную последовательность действий, иллюстрирующих генерацию и передачу параметров настройки сетевой конфигурации с помощью переносного носителя для конфигурации беспроводной точки доступа (WAP), используемой для обеспечения беспроводного сетевого подключения по стандарту 802.11. На фиг.8 пользователь 800 запускает мастера (программу) сетевой установки на персональном компьютере 810 для ввода необходимых параметров настройки для того, чтобы сгенерировать XML файл, сохраняемый на переносном носителе 820 информации. Персональный компьютер 810 генерирует XML файл и инструктирует пользователя относительно использования переносного носителя информации для передачи параметров сетевой настройки новому устройству, в данном случае беспроводной точке 830 доступа. Как проиллюстрировано, переносной носитель 820 является перепрограммируемым устройством USB (UFD), но он может представлять любой носитель информации или механизм передачи для перемещения параметров настройки сетевой конфигурации XML-формата между ПК и устройством типа беспроводной точки доступа.
В процессе создания параметров сетевой настройки для конфигурации компьютерного устройства, персональный компьютер генерирует файлы WSETTINGS.XML, LSETTINGS.XML, и NSETTINGS.XML согласно соответствующим XML схемам. Фиг.9 иллюстрирует концептуализацию схемы 900, соответствующую XML файлу, используемому в варианте воплощения для сохранения параметров настройки специальных беспроводных сетей на переносном носителе информации. Каждый элемент схемы 900 представляет установку (параметр) беспроводной конфигурации. Сервисный идентификатор набора (SSID) 910 является строкой из 1-32 байтов, представляющих имя беспроводной сети. SSID 910 может появиться только однажды. Сетевой Ключ 915 является строкой, которую ПК автоматически генерирует, или, альтернативно, принимает от пользователя ПК. Сетевой Ключ 915 используется для кодирования в беспроводной сети. Тип 920 аутентификации указывает протокол аутентификации, используемый беспроводной сетью. Тип 920 аутентификации допускает диапазон возможных значений, включая открытый, совместно используемый, защищенный доступ (к беспроводному интернет) WiFi (WPA), доступ WPA с предварительно заданным совместно используемым ключом (PSK), WPA-none, WPA2, или WPA2 PSK. Тип 925 кодирования указывает протокол кодирования, используемый беспроводной сетью. Тип 925 кодирования показывает диапазон возможных значений, включая «отсутствие», беспроводный протокол кодирования (WEP), протокол целостности временного ключа (TKIP), и расширенный стандарт кодирования (AES).
Тип 930 указывает тип подключения и может иметь в качестве значения или расширенный сервисный набор (ESS) в случае специальной сети, или сервисный набор инфраструктуры (IBSS) в случае сети инфраструктуры. Key Index 935 указывает местоположение конкретного ключа для шифрования сообщения и может иметь значение 1, 2, 3, или 4. Key Index 935 используется с WEP. Key Provided Info 940 указывает, предоставляется ли ключ автоматически, и может иметь значение или 0 или 1. Поле 945 «802.1X» указывает, используется ли протокол IEEE 802.1X в сети, и может иметь значение или 0 или 1. 2.4 GHz Channel 950 указывает, какой канал 2.4 GHz, если таковой вообще имеется, используется беспроводной сетью, и может иметь значение в диапазоне 1-14. 5 GHz Channel 955 указывает, какой канал на 5 GHz, если таковой вообще имеется, используется беспроводной сетью, и может иметь значение 36, 40, 44, 48, 52, 56, 60, 64, 149, 153, 157, или 161. WAP Mode 960 указывает режим, в котором беспроводная точка доступа используется. WAP Mode 960 может иметь значение infrastructure, bridge, repeater, или station.
Примерная XML схема для параметров настройки беспроводных сетей следующая:
   
Примерный образец файла WSETTINGS.XML сформулирован ниже. Этот образец был сгенерирован, например, ПК, используя XML схему беспроводной конфигурации, сформулированной выше.

Фиг.10A-C иллюстрируют концептуализацию схем 1010, 1020, и 1030, соответствующих файлу NSETTINGS.XML для конфигураций WAN (ГС). Схема 1010 определяет файл NSETTINGS.XML для протокола динамической конфигурации хоста (ПДКХ, DHCP) WAN. Схема 1020 определяет файл NSETTINGS.XML для WAN, использующей статическую адресацию IP. Схема 1030 определяет файл NSETTINGS.XML для протокола ГС PPP (протокол точка-точка) по Ethernet (PPPoE).
Схема 1010 включает следующие элементы: Hostname (имя хост-машины) 1011, DNS IP Auto Pushed (автоматическая запись DNS службы IP) 1012, Clone MAC Address (клонирование адреса управления доступом к среде (УДС)) 1013, MAC Address (адрес УДС) 1014, DNS1 IP address (IP адрес DNS1) 1015, и DNS2 IP address (IP адрес DNS2) 1016. Hostname 1011 определяет строку, указывающую имя хост-машины DHCP. DNS IP Auto Pushed 1012 указывают, помещается ли адрес IP службы именования доменов автоматически в клиента DHCP. Clone MAC Address 1013 указывает, должен ли физический адрес (MAC) клиента DHCP клонироваться для использования в WAN, и принимает значение 0 или 1. MAC Address 1014 определяет MAC адрес клиента DHCP. DNS1 IP address 1015 и DNS2 IP address 1016 определяют адреса IP для серверов доменных имен.
Схема 1020 включает в себя следующие элементы: IP Address (IP адрес) 1021, IP Subnet (IP подсеть) 1022, IP Subnet Mask (маска IP-подсети) 1023, DG (шлюз по умолчанию) 1024, DNS1 IP address 1025, и DNS2 IP address 1026. IP Address 1021 определяет статический IP адрес устройства, которое будет конфигурировано. IP Subnet 1022 определяет IP подсеть устройства, которое будет конфигурировано. IP Subnet Mask 1023 определяет IP маску подсети устройства, которое будет конфигурировано. DG 1024 определяет заданный по умолчанию шлюз для устройства, которое будет конфигурировано. DNS1 IP address 1025 и DNS2 IP address 1026 определяют адреса IP для серверов доменных имен.
Схема 1030 включает в себя следующие элементы: Username (имя пользователя) 1031, Password (пароль) 1032, Service Name (имя службы) 1033, Max Idle Time (максимальное время ожидания) 1034, и Auto-Reconnect (автоматическое повторное соединение) 1035. Username 1031 определяет имя пользователя для устройства, которое будет конфигурировано, и Password 1032 определяет пароль для устройства, которое будет конфигурировано. Service Name 1032 определяет строку, указывающую имя PPPoE сервера. Max Idle Time 1034 определяет максимальное время ожидания для устройства, которое будет конфигурировано. Auto-Reconnect 1035 указывает, должно ли устройство, которое будет конфигурировано, автоматически повторно соединяться с сетью, и принимает значение 0 или 1.
Фиг.11 иллюстрирует концептуализацию схемы 1100, соответствующей файлу LSETTINGS.XML для конфигурации ЛС LAN. Схема 1100 включает в себя следующие элементы: Workgroup Name 1110, IP Settings 1120, IP Subnet 1130, и Network Shares 1140. Workgroup Name 1110 определяет имя рабочей группы для LAN. IP Settings 1120 определяет параметры настройки IP для устройства LAN. IP Settings 1120 может включать в себя суб-элементы DHCP 1121 для определения параметров настройки протокола DHCP, Static IP 1122 для определения параметров настройки, используя статическую адресацию IP и IP Subnet 1123 для определения параметров настройки подсети IP, связанные со Static IP 1122 суб-элемента. Subnet IP 1130 определяет подсеть IP для устройства, которое будет конфигурировано, в котором подсеть IP, определенная Subnet IP 1130, может отличаться от подсети IP, определенной в IP Subnet 1123 суб-элемента IP Settings 1120, например, Subnet IP 1130 может определять альтернативную и/или дополнительную подсеть IP типа публичной подсети IP, если Subnet IP 1123 определяет частную подсеть IP, или наоборот. Network Shares 1140 определяет конфигурацию совместного использования файлов для LAN, к которым устройство, которое должно быть сконфигурировано, может присоединиться, включая отображения сетевого диска.
Необходимо отметить, что здесь были раскрыты усовершенствованные система и способ для конфигурирования компьютерного устройства – тонкого клиента. Ввиду многих возможных вариантов воплощений, к которым принципы данного изобретения могут быть применены, необходимо понимать, что варианты воплощения, описанные здесь со ссылкой на чертежи, предназначены только для иллюстрации и не должны рассматриваться как ограничение объема изобретения. Например, специалистам в данной области техники понятно, что проиллюстрированные варианты воплощения могут быть модифицированы соответственно и в деталях, не отступая от объема изобретения. Хотя изобретение описано в терминах программных модулей или компонентов, специалистам в данной области техники очевидно, что таковые могут быть эквивалентно заменены аппаратными компонентами. Поэтому изобретение, как описанное здесь, рассматривает все такие варианты воплощения, как находящиеся в рамках прилагаемой формулы изобретения и ее эквивалентов.
Формула изобретения
1. Способ конфигурирования компьютерного устройства – тонкого клиента для работы в сети, включающий в себя этапы, на которых создают (606) конфигурационные данные компьютерного устройства – тонкого клиента, причем эти конфигурационные данные включают в себя параметры сетевой настройки для компьютерного устройства – тонкого клиента для работы в сети; сохраняют (608) конфигурационные данные на переносном устройстве носителя информации; подсоединяют (612) переносное устройство носителя информации к компьютерному устройству – тонкому клиенту; обнаруживают компьютерным устройством – тонким клиентом переносное устройство носителя информации, подсоединенное к нему; выполняют (614) компьютерным устройством – тонким клиентом программу конфигурации для автоматического конфигурирования компьютерного устройства – тонкого клиента, используя конфигурационные данные, сохраненные на переносном устройстве носителя информации; записывают (618) компьютерным устройством – тонким клиентом на переносное устройство носителя информации журнал конфигурации, содержащий параметры настройки компьютерного устройства – тонкого клиента. 2 Способ по п.1, в котором этапы создания (606) и сохранения (608) конфигурационных данных выполняют на компьютере, и этап создания включает в себя выдачу подсказки пользователю через пользовательский интерфейс компьютера для создания параметров сетевой настройки для компьютерного устройства – тонкого клиента.
3. Способ по п.2, в котором этап создания (606) дополнительно включает в себя генерацию файла на расширяемом языке разметки (XML), причем указанный файл содержит параметры сетевой настройки для компьютерного устройства – тонкого клиента, и в котором на этапе сохранения (608) сохраняют XML файл на переносном устройстве носителя информации.
4. Способ по п.2, в котором этап создания (606) конфигурационных данных включает в себя генерацию компьютером значений по умолчанию для выбранных параметров сетевой настройки.
5. Способ по п.4, в котором этап генерации значений по умолчанию включает в себя вызов прикладного программного интерфейса (API) операционной системы компьютера для генерации значений по умолчанию для выбранных параметров сетевой настройки.
6. Способ по п.2, в котором сеть является беспроводной сетью, и этап создания (606) параметров сетевой настройки включает в себя генерацию ключа защиты для беспроводной сети.
7. Способ по п.2, дополнительно включающий в себя этапы, на которых обнаруживают с помощью компьютера повторное подключение переносного устройства носителя информации к компьютеру; и извлекают с помощью компьютера из переносного устройства носителя информации журнал конфигурации, записанный компьютерным устройством – тонким клиентом.
8. Способ по п.2, на котором этап создания (606) параметров сетевой настройки включает прием данных сетевой настройки, введенных пользователем.
9. Способ по п.1, в котором переносное устройство носителя информации является перепрограммируемым устройством с универсальной последовательной шиной (USB).
10. Способ по п.1, в котором переносное устройство носителя информации является картой перепрограммируемой памяти.
11. Способ по п.1, дополнительно включающий в себя этапы, на которых подают (616) с помощью компьютерного устройства – тонкого клиента сигнал о завершении операции конфигурации после того, как компьютерное устройство – тонкий клиент сконфигурировано с использованием конфигурационных данных, сохраненных на переносном устройстве носителя информации.
12. Способ по п.11, в котором этап подачи (616) сигнала включает в себя зажигание светоизлучающего диода (LED) на компьютерном устройстве – тонком клиенте.
13. Способ по п.11, в котором этап подачи сигнала (616) включает в себя отображение сообщения на экране жидкокристаллического дисплея (LCD) компьютерного устройства – тонкого клиента.
14. Считываемый компьютером носитель информации, который содержит исполняемые компьютером команды для исполнения на компьютерном устройстве – тонком клиенте для выполнения этапов, на которых обнаруживают подключение переносного устройства носителя информации к компьютерному устройству – тонкому клиенту, при этом указанное переносное устройство носителя информации содержит конфигурационные данные, включающие в себя параметры сетевой настройки для компьютерного устройства – тонкого клиента; автоматически конфигурируют компьютерное устройство – тонкий клиент для работы в сети, используя параметры сетевой настройки, содержавшиеся на переносном устройстве носителя информации, и записывают на переносное устройство носителя информации журнал конфигурации, содержащий параметры настройки компьютерного устройства – тонкого клиента.
15. Считываемый компьютером носитель информации по п.14, в котором этап автоматического конфигурирования включает распознавание того, что переносное устройство носителя информации содержит параметры сетевой настройки, и на котором вызывают программу конфигурации для реализации настройки сетевых параметров в компьютерном устройстве.
16. Считываемый компьютером носитель информации по п.14, который дополнительно содержит исполняемые компьютером команды для исполнения этапа, на котором записывают параметры настройки, сконфигурированные на компьютерном устройстве – тонком клиенте, на переносное устройство носителя информации.
17. Считываемый компьютером носитель информации по п.14, который дополнительно содержит исполняемые компьютером команды для исполнения этапа, на котором подают сигнал завершения конфигурации компьютерного устройства – тонкого клиента, используя конфигурационные данные на переносном устройстве носителя информации.
18. Считываемый компьютером носитель информации по п.14, в котором переносное устройство носителя информации является перепрограммируемым устройством с универсальной последовательной шиной (USB).
19. Считываемый компьютером носитель информации по п.14, в котором переносное устройство носителя информации является картой перепрограммируемой памяти.
20. Компьютерное устройство – тонкий клиент, содержащее: микропроцессорную схему; порт носителя информации, принимающий переносное устройство носителя информации; и память, содержащую исполняемые компьютером команды для выполнения посредством микропроцессорной схемы для обнаружения подключения переносного устройства носителя информации к порту носителя, при этом указанное переносное устройство носителя информации содержит конфигурационные данные, включающие в себя параметры сетевой настройки для компьютерного устройства – тонкого клиента; и выполнения автоматического конфигурирования компьютерного устройства – тонкого клиента для работы в сети, используя параметры сетевой настройки, содержащиеся на переносном устройстве носителя информации, и записи на переносное устройство носителя информации журнала конфигурации, содержащего параметры настройки компьютерного устройства – тонкого клиента.
21. Компьютерное устройство – тонкий клиент по п.20, в котором память содержит исполняемые компьютером команды для выполнения с помощью микропроцессорной схемы распознавания того, что переносное устройство носителя информации содержит параметры сетевой настройки, и выполнения вызова программы конфигурации для осуществления настройки сетевых параметров в компьютерном устройстве – тонком клиенте.
22. Компьютерное устройство – тонкий клиент по п.20, в котором память содержит исполняемые компьютером команды для выполнения с помощью микропроцессорной схемы записи параметров настройки, сконфигурированных на компьютерном устройстве – тонком клиенте, на переносное устройство носителя информации.
23. Компьютерное устройство – тонкий клиент по п.20, в котором порт носителя информации является USB портом.
24. Компьютерное устройство – тонкий клиент по п.20, в котором портом носителя информации является гнездо для перепрограммируемых карт.
25. Компьютерное устройство – тонкий клиент по п.20, дополнительно включающее в себя устройство подачи сигналов, причем память содержит исполняемые компьютером команды, исполняемые микропроцессорной схемой, для работы устройства подачи сигналов для указания завершения операции конфигурации, использующей конфигурационные данные на переносном устройстве носителя информации.
26. Компьютерное устройство – тонкий клиент по п.25, в котором устройство подачи сигналов включает в себя светоизлучающий диод (LED).
27. Компьютерное устройство – тонкий клиент по п.25, в котором устройство подачи сигналов включает в себя экран жидкокристаллического дисплея (LCD).
РИСУНКИ
|
|