|
|
(21), (22) Заявка: 2006100448/15, 10.01.2006
(24) Дата начала отсчета срока действия патента:
10.01.2006
(43) Дата публикации заявки: 20.07.2007
(46) Опубликовано: 27.05.2009
(56) Список документов, цитированных в отчете о поиске:
RU 2168176 С2, 27.05.2001. WO 0105511, 25.01.2001. SU 544898, 30.01.1977. GIMSA J at al. Biophys J. 1991 Oct; 60(4): 749-60. Dielectrophoresis and electrorotation of neurospora slime and murine myeloma cells. GOATER AD at al. Electrorotation and dielectrophoresis. Parasitology. 1998; 117 Suppl:S 177-89. (ref.). PETHIG R at al. Applications ofdielectrophoresis in biotechnology. Trends Biotechnol. 1997 Oct; 15(10): 426-32. (ref.).
Адрес для переписки:
426000, Удмуртская Республика, г.Ижевск, ул. М. Горького, 90, НТУ “ИТЦ”
|
(72) Автор(ы):
Сухенко Евгений Пантелеевич (RU), Бакиров Талгат Сальманович (RU), Соловьев Александр Александрович (RU), Генералов Владимир Михайлович (RU), Васильев Юрий Владимирович (RU), Пак Антон Владимирович (RU)
(73) Патентообладатель(и):
Научно-техническое учреждение “Инженерно-технический центр” открытого акционерного общества “Ижевский мотозавод “Аксион-холдинг” (НТУ “ИТЦ”) (RU)
|
(54) СПОСОБ КОМПЛЕКСНОГО АНАЛИЗА ПАРАМЕТРОВ ЖИВЫХ КЛЕТОК, УСТРОЙСТВО ДЛЯ ЕГО ОСУЩЕСТВЛЕНИЯ И ЕГО ВАРИАНТ
(57) Реферат:
Изобретение относится к биологии и биотехнологии. Предложен способ комплексного анализа параметров живых клеток. Исследуемые клетки помещают в инкубационную среду, где создают знакопеременное электрическое поле, и оценивают биоэлектрические показатели по характеристикам движения клеток и их оболочек. Предложено также устройство, позволяющее поддерживать строго одинаковые параметры межклеточной среды при анализе и обеспечивающее проведение комплексного анализа живых клеток с одновременным определением электрических и диэлектрических характеристик. Возможно также осуществление комплексного анализа живых клеток в периодически проточном режиме. Предлагаемые способ, устройство и его вариант обеспечивают более чем двойную экономию времени по сравнению с раздельными анализами в отдельных камерах для электрофореза и диэлектрофореза. Применение заявленного способа для анализа клеточной популяции обеспечивает одновременное получение до 20-ти количественных показателей, характеризующих живые клетки. 3 н. и 2 з.п.ф, 4 ил.
Изобретение относится к медицине и биологии, может быть использовано для диагностических целей в биотехнологии и ветеринарии.
Известны способ и комбинированная камера для анализа живых клеток в переменных неоднородных электрических полях (Е.Cen, С.Dalton, Y.Li, S.Adamia, L.Pilarski, K.Kaler, Journal of Microbiological Methods 58 (2004), p.387-401). Камера выполнена в виде плоского капилляра, одной из формирующих плоскостей которого является стеклянная пластина, а другой – кремниевая подложка с системой микроэлектродов.
Камера заполняется препаратом живых клеток в буферном растворе, при включении напряжения в камере создаются быстропеременные неоднородные электрические поля, под действием которых клетки поляризуются и перемещаются с различной скоростью вдоль направлений градиентов этих полей (диэлектрофорез). По деталям поведения клеток и известным показателям полей и среды рассчитываются диэлектрические и биологические параметры клеток (электроемкость и диэлектрическая проницаемость клеточной мембраны, равновесная частота диэлектрофореза, степень злокачественности клеток и т.п.).
Недостатком этого способа и камеры является односторонний характер анализа, основанного на расчете только диэлектрических свойств клеток при их поляризации на средних и высоких (10 кГц – 20 МГц) частотах в неоднородных электрических полях, в то время как одним из важнейших признаков их жизнеспособности является наличие в нормальных условиях электрического заряда мембраны и других клеточных элементов, который не определяется этим способом. Несовершенством способа и камеры также являются сложность системы электродов и отсутствие термостабилизации препарата.
Наиболее близким, принятым за прототип, является способ микроэлектрофореза клеток крови и эпителиоцитов (см. описание к патенту 2168176, МПК G01N 33/49, опубл. 27.05.2001 г.). Согласно этому способу исследуемые объекты помещают в инкубационную среду в знакопеременное, многовекторное и симметрическое электрическое поле, производят оценку биоэлектрических показателей по изменению положений клеток, а также их оболочек, ядер.
Недостатком данного способа является ограниченность и односторонность получаемой информации, так как данные по электрофоретической подвижности позволяют определить только электрические свойства клеток и лишь частично – биологические.
Такой способ может быть реализован в камере для микроэлектрофореза (см. заявку 2004119700, МПК А61В 5/00, опубл. 27.10.2005). Камера выполнена в виде плоского капилляра, образованного покровным стеклом и стеклянной платформой с расположенными на ней электродами и термодатчиком, связанным с термостабилизирующим устройством.
Камера заполняется препаратом анализируемых клеток в буферном растворе, при включении напряжения в ней между электродами создается переменное однородное поле, под действием которого заряженные живые клетки выполняют возвратно-поступательное движение с различными амплитудами, пропорциональными их интегральным зарядам (осуществляется процесс микроэлектрофореза). По определяемым характеристикам поведения клеток и известным показателям полей и среды рассчитываются электрические и биологические параметры клеток (их средний интегральный заряд и потенциал мембраны, гистограмма клеток по зарядам и доля подвижных клеток относительно их общего числа).
Недостатком данной камеры является то, что при ее использовании возможно проводить только односторонний анализ исследуемого объекта, основанный на расчете только электрических свойств клеток в низкочастотном (0,3-1,0 Гц) поле. Кроме того, из-за относительно большого расстояния между электродами камеры для обеспечения необходимой напряженности поля на них подается напряжение порядка 25-30 В, которое при используемой толщине электродов 20-50 мкм инициирует достаточно большую плотность тока, протекающего через буферный раствор. Для ряда обычных буферных растворов в низкочастотном поле это приводит к заметному электролизу, продукты которого постепенно изменяют рН раствора, влияют на характер движения клеток и со временем приводят к разрушению электродов.
Задачей заявленного изобретения является создание способа и устройства, обеспечивающих комплексный анализ живых клеток путем создания в одной камере условий как для электрофореза, так и для диэлектрофореза, при этом условия существования для клеток должны быть одинаковы, а электролиз в низкочастотном поле минимизирован. Для решения этой задачи разработаны предлагаемые способ, устройство и его вариант.
Поставленная задача решается тем, что способ комплексного анализа параметров живых клеток включает помещение исследуемых объектов в инкубационную среду и в знакопеременное электрическое поле, оценку биоэлектрических показателей по характеристикам движения клеток, а также их оболочек. Способ отличается тем, что первоначально на одних электродах создают электрическое поле низкой частоты и определяют характеристики движения клеток в однородном участке этого поля, затем на других электродах создают электрическое поле с частотой, меняющейся в диапазоне средних и высоких частот, и определяют характеристики движения клеток того же исследуемого объекта в неоднородном участке этого поля, далее производят расчеты электрических, диэлектрических и биологических параметров изучаемых клеток по определенным в обоих полях характеристикам движения клеток.
Поставленная задача решается также тем, что устройство для комплексного анализа параметров живых клеток содержит разъемный корпус, выдвижную платформу с расположенными на ней электродами и установленным на них отстоящим от платформы покровным стеклом, термодатчик, установленный у верхней поверхности платформы, а также площадку с резистивным нагревательным слоем, расположенную под нижней поверхностью платформы с образованием воздушного зазора между ними. Устройство отличается от прототипа тем, что термодатчик расположен между группами электродов, а зазор между электродами одной группы больше зазора между электродами другой группы электродов. Кроме того, толщина электродов одной группы может быть меньше толщины электродов другой группы, и в этом случае на электродах меньшей толщины дополнительно устанавливаются опорные площадки.
Во втором варианте исполнения устройства предусмотрен корпус, позволяющий осуществлять комплексный анализ живых клеток препаратов в периодически проточном режиме.
Предложенный способ и устройства для его осуществления позволяют осуществлять комплексный анализ живых клеток, включающий в себя как электрофорез, так и диэлектрофорез. Это дает возможность определять при проведении одного анализа как биологические, так электрические и диэлектрические параметры живых клеток. Применение устройства по второму варианту дает возможность организовать ускоренный процесс серийного комплексного анализа. При этом зазор между электродами таков, что величина требуемого низкочастотного напряжения не превышает 2,5 В, что снижает интенсивность электролиза в растворе по сравнению с прототипом примерно на порядок, тем самым делая влияние электролиза пренебрежимо малым, что обеспечивает более точное определение вышеуказанных параметров и предохраняет электроды от разрушения.
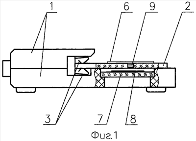
Предлагаемый способ реализуется в конструкции устройств, представленных на следующих чертежах. На фиг.1 изображено устройство по первому варианту в разрезе, на фиг.2 – общий вид устройства по первому варианту, на фиг.3 – общий вид устройства по второму варианту, на фиг.4 – вид А-А устройства по второму варианту.
Устройство для комплексного анализа параметров живых клеток по п.2 формулы имеет разъемный корпус 1, стеклянную выдвижную платформу 2 с пружинными держателями-контактами 3, группу электродов 4 и группу электродов 5. При этом зазор между электродами группы 4 больше зазора между электродами группы 5. На электродах размещено покровное стекло 6. Под нижней поверхностью выдвижной платформы 2 расположена площадка 7 с резистивным нагревательным слоем 8, причем между ним и платформой 2 есть воздушный зазор. У верхней поверхности выдвижной платформы имеется термодатчик 9, который к тому же устанавливается между группами электродов 4 и 5. Группы электродов 4 и 5 и пространство между ними образуют рабочую зону платформы, в которую помещают клеточный препарат 10. В том случае, если группы электродов выполнены разной толщины (например, группа электродов 5, предназначенная для диэлектрофореза, выполняется более тонкой), то дополнительно на тонкие электроды устанавливаются опорные площадки 11, и тогда суммарная высота электродов с опорными площадками равна высоте электродов другой группы.
Устройство для комплексного анализа параметров живых клеток по п.4 формулы, предназначенное для периодически проточного режима, имеет разъемный корпус 1, платформу 2, герметично закрепленную в основании 3 корпуса, группу электродов 4 и группу электродов 5. На электродах установлено покровное стекло 6. Под нижней поверхностью платформы 2 расположена площадка 7 с резистивным нагревательным слоем 8. У верхней поверхности платформы имеется термодатчик 9, который устанавляивается к тому же между группами электродов 4 и 5. Группы электродов 4 и 5 и пространство между ними образуют рабочую зону платформы. В том случае, если группы электродов выполнены разной толщины (например, группа электродов 5, предназначенная для диэлектрофореза, выполняется более тонкой), то дополнительно на тонкие электроды устанавливаются опорные площадки 10, и тогда суммарная высота электродов с опорными площадками равна высоте электродов другой группы. Корпус 1 содержит также и крышку 11, в которой герметично смонтированы входной патрубок 12 для препарата и входной патрубок 13 для дезинфицирующего раствора, выходной патрубок 14, сильфон 15, герметично уплотняемый в корпусе кольцом 16. К сильфону 15 прикрепляется покровное стекло 6, мягко поджимаемое сильфоном к группам электродов. Крышка 11 и основание 3 корпуса скрепляются между собой винтами.
Устройство для комплексного анализа параметров живых клеток по первому варианту работает следующим образом.
Живые клетки 10 помещают в инкубационную среду и далее в рабочую зону платформы 2 и накрывают покровным стеклом 6, устанавливая его на группы электродов 4 и 5. При этом, так как одна группа электродов предназначена для электрофореза (в нашем случае группа электродов 4), а другая – для диэлектрофореза, то они либо изготавливаются одной толщины, либо в целях экономии материала электродов разными по толщине, и тогда на более тонкую группу дополнительно устанавливаются опорные площадки. Также группы электродов могут быть изготовлены из разных материалов.
На резистивный нагревательный слой 8, расположенный на площадке 7, через держатели-контакты 3 подается питание, и тепло от нагревательного слоя передается платформе 2 через воздушный зазор, что обеспечивает равномерный прогрев стекла платформы в зоне нагревательного слоя. Термодатчик 9 позволяет отключать и включать ток нагревательного слоя, обеспечивая термостатирование. При достижении стабильной температуры в рабочей зоне на группу электродов 4, предназначенную для электрофореза, с помощью генератора низкочастотного напряжения и коммутатора (не показаны) через держатели-контакты 3 подают напряжение с низкой частотой (например, в пределах 0,25-1,0 Гц). После этого проводят микроскопирование в центральной области между электродами группы 4 с фиксацией характеристик движения живых клеток под действием однородного низкочастотного поля. Далее низкочастотный генератор отключают и на группу электродов 5, предназначенную для диэлектрофореза, подают напряжение от генератора средних и высоких частот (10 кГц – 20 МГц), проводят микроскопирование у краев электродов группы 5 с фиксацией характеристик движения живых клеток под действием неоднородного поля средних и высоких частот, затем генератор средних и высоких частот отключают.
Зафиксированные в различных полях характеристики движения клеток затем используют для расчета электрических, диэлектрических и биологических параметров этих клеток с помощью известных уравнений электрофореза и диэлектрофореза.
Комбинированная камера для периодически-проточного режима работает аналогичным образом. Препарат заправляется в устройство и попадает в рабочую зону через патрубок 12 предварительно подогретым до необходимой температуры. На резистивный нагревательный слой 8, расположенный на площадке 7, заблаговременно подается питание, и тепло от нагревательного слоя передается платформе 2. Термодатчик 9 позволяет отключать и включать ток нагревательного слоя, обеспечивая термостатирование. При достижении стабильной заданной температуры в рабочей зоне на группу электродов 4, предназначенную для электрофореза, с помощью генератора низкочастотного напряжения и коммутатора (не показаны) подают напряжение с низкой частотой (например, в пределах 0,25-1,0 Гц). После этого проводят микроскопирование в центральной области между электродами группы 4 с фиксацией характеристик движения живых клеток под действием однородного низкочастотного поля. Далее низкочастотный генератор отключают и подают на группу электродов 5 напряжение от генератора средних и высоких частот (10 кГц – 20 МГц), проводят микроскопирование у краев электродов группы 5 с фиксацией характеристик движения живых клеток под действием неоднородного поля средних и высоких частот, затем генератор средних и высоких частот отключают. Через патрубки 13 и 14 производят промывку рабочей зоны дезраствором. Далее для проведения следующего цикла анализов через патрубок 12 в рабочую зону устройства подается другой препарат.
Расчеты электрических, диэлектрических и биологических параметров клеток по зафиксированным характеристикам движения клеток в обоих полях производятся после всей серии обработки препаратов либо сразу после обработки каждого препарата по зафиксированным для него значениям.
Таким образом, предлагаемые способ и устройства для проведения комплексного анализа параметров живых клеток обеспечивают получение более чем двойной экономии времени (а также реактивов и препарата) по сравнению с раздельными анализами поведения клеток каждого препарата указанными методами в отдельных камерах для электрофореза и диэлектрофореза. Также в предлагаемых устройствах поддерживаются строго одинаковые параметры межклеточной среды при анализе, реализуется возможность как однократного, так и поточного проведения комплексного анализа живых клеток при большом количестве препаратов с одновременным определением целого ряда взаимодополняющих биофизических параметров клеток.
Формула изобретения
1. Способ комплексного анализа параметров живых клеток, включающий помещение исследуемых объектов в инкубационную среду и в знакопеременное электрическое поле, оценку биоэлектрических показателей по характеристикам движения клеток, а также их оболочек, отличающийся тем, что первоначально на одних электродах создают электрическое поле низкой частоты и определяют характеристики движения клеток в однородном участке этого поля, затем на других электродах создают электрическое поле с частотой, меняющейся в диапазоне средних и высоких частот, и определяют характеристики движения клеток того же исследуемого объекта в неоднородном участке этого поля, далее производят расчеты электрических, диэлектрических и биологических параметров изучаемых клеток по определенным в обоих полях характеристикам движения клеток.
2. Устройство для комплексного анализа параметров живых клеток, содержащее разъемный корпус, выдвижную платформу с расположенными на ней электродами и установленным на них отстоящим от платформы покровным стеклом, термодатчик, установленный у верхней поверхности платформы, площадку с резистивным нагревательным слоем, расположенную под нижней поверхностью платформы с образованием воздушного зазора между ними, отличающееся тем, что термодатчик расположен между группами электродов, при этом зазор между электродами одной группы больше зазора между электродами другой группы электродов.
3. Устройство по п.2, отличающееся тем, что толщина электродов одной группы меньше толщины электродов другой группы, и на электродах меньшей толщины дополнительно установлены опорные площадки.
4. Устройство для комплексного анализа параметров живых клеток, содержащее разъемный корпус, платформу с расположенными на ней электродами и установленным на них отстоящим от платформы покровным стеклом, термодатчик, установленный у верхней поверхности платформы, площадку с резистивным нагревательным слоем, расположенную под нижней поверхностью платформы, отличающееся тем, что корпус содержит патрубки, обеспечивающие проточный режим работы устройства, а термодатчик расположен между парами электродов, при этом зазор между электродами одной группы больше зазора между электродами другой группы электродов.
5. Устройство по п.4, отличающееся тем, что толщина электродов одной группы меньше толщины электродов другой группы, и на электродах меньшей толщины дополнительно установлены опорные площадки.
РИСУНКИ
|
|