|
|
(21), (22) Заявка: 2008103897/28, 01.02.2008
(24) Дата начала отсчета срока действия патента:
01.02.2008
(46) Опубликовано: 27.05.2009
(56) Список документов, цитированных в отчете о поиске:
SU 534689 A1, 05.11.1976. SU 1174848 A1, 23.08.1985. SU 1182384 A1, 30.09.1985. US 6225918 B1, 01.05.2001. US 7211045 B2, 01.05.2007.
Адрес для переписки:
347928, Ростовская обл., г. Таганрог, ГСП-17А, Некрасовский переулок, 44, ТТИ ЮФУ в г. Таганроге
|
(72) Автор(ы):
Максимов Виталий Николаевич (RU), Максимова Ирина Витальевна (RU), Тарасов Сергей Павлович (RU), Воронин Василий Алексеевич (RU)
(73) Патентообладатель(и):
Федеральное государственное образовательное учреждение высшего профессионального образования “ЮЖНЫЙ ФЕДЕРАЛЬНЫЙ УНИВЕРСИТЕТ” (RU)
|
(54) АВТОМАТИЧЕСКИЙ СИГНАЛИЗАТОР ДЕФЕКТОВ К УЛЬТРАЗВУКОВОМУ ДЕФЕКТОСКОПУ
(57) Реферат:
Использование: для ультразвукового контроля изделий. Сущность заключается в том, что автоматический сигнализатор дефектов к ультразвуковому дефектоскопу содержит амплитудный селектор, исполнительное устройство, синхронизатор, соединенный через формирователь переднего фронта строб-импульса зоны контроля с первым входом триггера, выход которого соединен с входом сброса счетчика и через генератор тактовых импульсов со счетным входом счетчика и тактовым входом регистра сдвига, выход которого соединен с логическим элементом «И», выход счетчика соединен со вторым входом триггера, при этом в него дополнительно введены ждущий мультивибратор, установленный между выходом амплитудного селектора и входом записи регистра сдвига, (n-1) m-входовых логических элементов «И», входы которых подсоединены к выходам регистра, а выходы всех n логических элементов «И» соединены с входами логического элемента «ИЛИ», выход которого соединен с входом исполнительного устройства. Технический результат: повышение помехозащищенности и надежности автоматического сигнализатора дефектов и, как следствие, уменьшение ложных срабатываний автоматического сигнализатора дефектов. 3 ил.
Изобретение относится к устройствам ультразвуковой дефектоскопии. Преимущественная область использования – автоматизированные системы ультразвукового контроля изделий металлургической, машиностроительной отраслей промышленности.
Известны автоматический сигнализатор дефектов к ультразвуковому дефектоскопу по авторскому свидетельству SU 278149, МПК G01N 29/04, содержащий логический элемент «И», подключенное к его выходу исполнительное устройство, последовательно соединенные первичный триггер, счетчик, второй триггер и синхронизатор.
Причинами, препятствующими достижению технического результата, являются низкая помехоустойчивость сигнализатора, обусловленная тем, что он реагирует на случайные сигналы помехи, совпадающие во времени со строб-импульсом зоны контроля и расположенные в различных участках зоны контроля в разных циклах лоцирования.
Признаки, совпадающие с заявляемым объектом, – синхронизатор, триггер, счетчик, логический элемент «И», исполнительное устройство.
Известен также автоматический сигнализатор дефектов к ультразвуковому дефектоскопу по авторскому свидетельству SU 371504, МПК G01N 29/04, содержащий амплитудный селектор, синхронизатор, генератор тактовых импульсов, последовательно соединенные регистры сдвига, логический элемент «И», исполнительное устройство и счетчик импульсов.
Причинами, препятствующими достижению технического результата, являются низкая помехоустойчивость сигнализатора при малом количестве импульсов от дефектов.
Признаки, совпадающие с заявляемым объектом, – амплитудный селектор, генератор тактовых импульсов, регистр сдвига, логический элемент «И», счетчик импульсов и исполнительное устройство.
От ряда перечисленных недостатков свободен автоматический сигнализатор дефектов к ультразвуковому дефектоскопу по авторскому свидетельству SU 534689, МПК G01N 29/04, имеющий наибольшее количество совпадающих признаков с заявляемым объектом и содержащий синхронизатор, амплитудный селектор, схему «И», исполнительное устройство, регистр сдвига, формирователь переднего фронта строб-импульса зоны контроля, триггер, генератор тактовых импульсов и счетчик. Выход амплитудного селектора соединен с входом схемы «И» и выходом записи регистра сдвига, выход которого соединен со вторым входом схемы «И», а ее выход соединен с исполнительным устройством; вход формирователя переднего фронта строб-импульса зоны контроля соединен с синхронизатором, а выход – с входом триггера, выход которого соединен с входом сброса счетчика, а также через генератор тактовых импульсов с тактовым входом регистра и счетным входом счетчика, выход которого соединен со вторым входом триггера.
Емкость счетчика выбирают такой, чтобы импульс на его выходе появился при числе импульсов на его входе, равном числу ячеек регистра сдвига. Период следования сигналов, вырабатываемых тактовым генератором, должен быть не меньше отношения максимальной длительности строб-импульса к числу ячеек регистра сдвига. С входа приемного тракта дефектоскопа последовательность видеоимпульсов поступает на вход амплитудного селектора, где выполняется их ограничение по минимуму и приведение к цифровому виду. С выхода амплитудного селектора видеоимпульсы поступают на вход схемы «И» и на вход записи регистра сдвига. Формирователь переднего фронта строб-импульса зоны контроля запускается синхроимпульсом, поступающим с выхода синхронизатора, и вырабатывает импульсный сигнал, поступающий на один из входов триггера, и переключает его таким образом, что на его выходе появляется сигнал с уровнем, разрешающим работу тактового генератора и счетчика.
Последовательность тактовых импульсов с выхода тактового генератора поступает на тактовый вход n-разрядного циклического регистра сдвига и сдвигает информацию, поступающую на вход записи регистра. Кроме того, тактовые импульсы поступают на счетный вход счетчика, подсчитываются им и после n импульсов на выходе счетчика вырабатывается импульс, поступающий на второй вход триггера и переключающий его таким образом, что на его выходе появляется сигнал с уровнем, запрещающим работу генератора тактовых импульсов и сбрасывающим счетчик на «ноль».
Таким образом, информация, поступившая на вход записи регистра, по окончании воздействия тактовых импульсов в каждом периоде следования оказывается сдвинутой на количество ячеек, равных числу n тактовых импульсов, поступивших на тактовый вход регистра сдвига. Например, если с выхода амплитудного селектора видеоимпульс поступает на вход записи регистра сдвига непосредственно вслед за передним фронтом строб-импульса зоны контроля, то после окончания воздействия тактовых импульсов эта информация окажется записанной в последней ячейке регистра сдвига и поступит на вход схемы «И». При последующем цикле лоцирования эхоимпульс от дефекта также появится сразу же вслед за передним фронтом строб-импульса зоны контроля, в результате чего на два входа схемы «И» поступят сигналы с высоким логическим уровнем и на выходе схемы «И» появится сигнал с высоким логическим уровнем, который вызовет срабатывание исполнительного устройства. Таким образом, строб-импульс зоны контроля разбивается на n частей с длительностью, равной периоду тактовых импульсов. О наличии дефекта судят по временному совпадению сигналов за два периода следования циклов лоцирования в соответствующих частях строб-импульса. Вероятность появления помех в одной и той же части строб-импульса зоны контроля в данном сигнализаторе дефектов снижается в два раза по сравнению с сигнализатором, осуществляющим принятие решения о наличии дефекта за один цикл лоцирования. Однако данное устройство не использует всех возможностей повышения помехозащищенности, которые можно реализовать для большинства устройств ультразвукового контроля.
Так, например, при контроле каких-либо изделий ультразвуковым преобразователем диаметров 12 мм, перемещающимся со скоростью 1 см/с и при частоте циклов лоцирования, равной 1 кГц, получим, что эхоимпульсы от дефекта, находящегося в зоне контроля под преобразователем, будут приниматься подряд в ста циклах лоцирования. При перемещении преобразователя со скоростью 1,2 м/с эхоимпульсы будут приниматься в десяти циклах лоцирования.
В рассмотренном же устройстве принятие решений осуществляется всего по двум соседним циклам лоцирования, поэтому при длительности помехи более чем один цикл лоцирования возникают ложные срабатывания рассмотренного автоматического сигнализатора дефектов.
Кроме того, регистр сдвига в данном устройстве работает циклически (с перезаписью информации), поэтому после нескольких циклов лоцирования его ячейки будут заполнены и будут происходить ложные срабатывания системы АСД. Если же осуществлять очистку регистра сдвига, например, через каждые K циклов лоцирования, то следующий после очистки регистра цикл лоцирования будет подготовительным, когда информация записывается в регистр сдвига, а только следующий – рабочим, когда возможно срабатывание системы АСД. Сдвиг и запись информации в регистре сдвига возможны только при временном совпадении эхо-сигналов и тактовых импульсов. А так как длительность эхо-сигналов обычно меньше, чем период тактовых импульсов, то возможны пропуски эхо-сигналов, что также понижает надежность системы АСД.
Причинами, препятствующими достижению технического результата, являются малая помехозащищенность и надежность данного автоматического сигнализатора дефектов.
Признаки, совпадающие с заявляемым объектом, – амплитудный селектор, схема «И», исполнительное устройство, регистр сдвига, формирователь переднего фронта строб-импульса зоны контроля, триггер, генератор тактовых импульсов, счетчик, синхронизатор.
Задачей данного изобретения является повышение помехозащищенности и надежности автоматического сигнализатора дефектов.
Технический результат изобретения заключается в устранении ложных срабатываний автоматического сигнализатора дефектов при воздействии на него помехи с длительностью, большей чем период цикла лоцирования, устранение возможных пропусков дефектов.
Технический результат достигается тем, что в устройство, содержащее амплитудный селектор, схему «И», исполнительное устройство, синхронизатор, соединенный с входом формирователя переднего фронта строб-импульса зоны контроля, выход которого соединен через последовательно соединенные триггер и генератор тактовых импульсов с тактовым входом регистра сдвига и счетчиком, выход которого соединен со вторым входом триггера, дополнительно введены: ждущий мультивибратор, установленный между выходом амплитудного селектора и входом записи регистра сдвига; (n-1) логических элементов «И» и логический элемент «ИЛИ», выход которого соединен с исполнительным устройством, а его n входов соединены с n выходами схем «И», m входов каждой из них соединены с выходами (m*n) разрядного регистра сдвига. Причем входы первой схемы «И» соединены с первым, 2.1, 3.1, , m.1 выходами регистра сдвига, входы второй схемы «И» соединены с вторым, 2.2, 3.2, , m.2 выходами регистра сдвига и так далее; m – количество циклов лоцирования, учитываемых для принятия решения о наличии дефекта, n – емкость счетчика и количество интервалов, на которые разбита зона контроля.
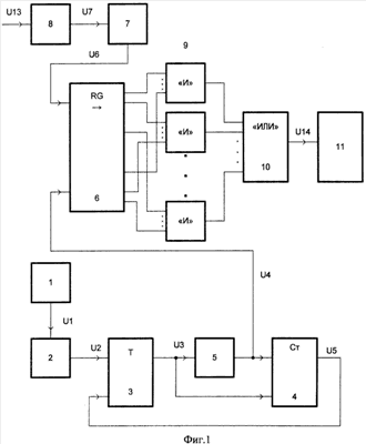
Изобретение поясняется чертежами. На фиг.1 приведена структурная схема устройства, на фиг.2 – эпюры напряжений в различных точках заявляемого устройства, на фиг.3 – схема подключения логических элементов «И» к выходам регистра сдвига.
Автоматический сигнализатор дефектов содержит синхронизатор 1, соединенный через формирователь переднего фронта строб-импульса зоны контроля 2 с одним из входов триггера 3, выход которого соединен с входом сброса счетчика 4, а также через генератор тактовых импульсов 5 со счетным входом счетчика 4, выход которого соединен со вторым входом триггера 3, а также с тактовым входом регистра сдвига 6, вход записи которого соединен с выходом ждущего мультивибратора 7, вход которого соединен с выходом амплитудного селектора 8, выходы регистра сдвига через n m-входовых логических элементов «И» 9 соединены с n входами логического элемента «ИЛИ» 10, выход которого соединен с входом исполнительного устройства 11.
Синхронизатор 1 вырабатывает синхроимпульсы U1, поступающие на вход формирователя переднего фронта строб-импульса зоны контроля 2, на выходе которого вырабатываются видеоимпульсы U2, поступающие на один из входов триггера 3 и переключающие его таким образом, что на его выходе появляется сигнал U3 разрешающей работу счетчика 4 и тактового генератора 5, с выхода которого тактовые импульсы U4 поступают на счетный вход счетчика 4 и на тактовый вход регистра сдвига 6. Емкость счетчика 6 равна n, где n – число интервалов, на которые разбита зона контроля системы АСД, а емкость регистра сдвига равна n*m, где m – количество повторений эхо-сигналов, необходимых для срабатывания системы АСД. После подсчета n импульсов на выходе счетчика вырабатывается сигнал U5, поступающий на второй вход триггера 3 и перебрасывающий его в первоначальное состояние, при котором уровень сигнала U3 на выходе триггера запрещает работу генератора тактовых импульсов 5, сбрасывает счетчик 4 на «ноль» и запрещает его работу. Тактовые импульсы U4 поступают на тактовый вход регистра сдвига 6 и сдвигают информационные импульсы U6, поступающие на вход записи регистра 6 с выхода ждущего мультивибратора 7, запускаемого последовательностью видеоимпульсов U7, состоящих, например, из видеоимпульса, соответствующего зондирующему сигналу U8, эхо-сигналам U9-U11 и донному сигналу U12. Видеоимпульсы U7 имеют цифровые уровни («0» и «1») и вырабатываются в амплитудном селекторе 8 из сигналов U13, поступающих с выхода приемного тракта дефектоскопа (на фиг.1 не показан).
В амплитудном селекторе осуществляется ограничение сигналов U13 по минимуму, и части сигналов U13, превышающих порог ограничения, которые преобразуются в сигналы U7 с цифровыми уровнями («0» и «1»).
Порог ограничения обычно выбирают таким, чтобы амплитуды эхо-сигналов от дефектов с допустимыми размерами не превышали порог ограничения. Возможна реализация амплитудного селектора, например, по патенту RU 22420022 (блок отсечки локатора).
Длительность видеоимпульсов U6 выбрана равной периоду тактовых импульсов U4, что устраняет пропуски при записи информации о дефектах в регистре сдвига. Сигналы U9I-U10I, соответствующие зоне контроля системы АСД, совпадают по времени с тактовыми импульсами U4 и поэтому они записываются в регистр сдвига и сдвигаются в его ячейках. Если эхо-сигналы от какого-либо дефекта, расположенного в одной из n зон контроля, повторяются без перерыва в m циклах лоцирования, то на выходах m ячеек регистра появятся высокие логические уровни, поступающие на входы одного из n логических элементов «И». На выходе этого элемента формируется сигнал высокого логического уровня, поступающий на один из входов n-разрядного логического элемента «ИЛИ», с выхода которого сигнал U14 с высоким логическим уровнем поступает на вход исполнительного устройства 11.
Элементы «И» имеют m входов и подсоединены к выходам регистра сдвига 6, причем, например, первый вход первого логического элемента «И» подсоединен к первому выходу регистра, второй вход – к выходу 2.1, третий – к выходу 3.1 и последний вход – к выходу m.1, как показано на фиг.3. Входы второго логического элемента «И» подсоединяются соответственно к выходам регистра 2, 2.2, 3.2, , m.2. Всего устанавливают n m-входовых логических элементов «И», выходы которых соединены с n входами логического элемента «ИЛИ».
Таким образом, в предлагаемом устройстве в результате введения новых блоков и связей: ждущего мультивибратора, установленного между выходом амплитудного селектора и входом записи регистра сдвига, (n-1) логических элементов «И» и логического элемента «ИЛИ», установленного между выходами логических элементов «И» и входом исполнительного устройства, повысились помехозащищенность и надежность системы АСД. Реализация предложенной системы АСД не представляет каких-либо сложностей, при этом могут использоваться стандартные цифровые элементы.
Формула изобретения
Автоматический сигнализатор дефектов к ультразвуковому дефектоскопу, содержащий амплитудный селектор, исполнительное устройство, синхронизатор, соединенный через формирователь переднего фронта строб-импульса зоны контроля с первым входом триггера, выход которого соединен с входом сброса счетчика и через генератор тактовых импульсов – со счетным входом счетчика и тактовым входом регистра сдвига, выход которого соединен с логическим элементом «И», выход счетчика соединен со вторым входом триггера, отличающийся тем, что в него дополнительно введены ждущий мультивибратор, установленный между выходом амплитудного селектора и входом записи регистра сдвига, (n-1) m-входовых логических элементов «И», входы которых подсоединены к выходам регистра, а выходы всех n логических элементов «И» соединены с входами логического элемента «ИЛИ», выход которого соединен с входом исполнительного устройства.
РИСУНКИ
|
|