|
|
(21), (22) Заявка: 2007142571/28, 19.11.2007
(24) Дата начала отсчета срока действия патента:
19.11.2007
(46) Опубликовано: 27.05.2009
(56) Список документов, цитированных в отчете о поиске:
RU 2234078 C1, 10.08.2004. RU 2231754 C2, 27.06.2004. SU 645988 A, 05.02.1979. SU 1002941 A, 09.03.1983. SU 1684651 A1, 15.10.1991. WO 91/02969 A1, 07.03.1991.
Адрес для переписки:
426067, г.Ижевск, ул. Т. Барамзиной, 34, Институт прикладной механики УрО РАН
|
(72) Автор(ы):
Черепанов Игорь Сергеевич (RU), Тарасов Валерий Васильевич (RU), Трубачев Алексей Владиславович (RU), Чуркин Александр Викторович (RU)
(73) Патентообладатель(и):
Институт прикладной механики УрО РАН (RU)
|
(54) УСТРОЙСТВО ДЛЯ ИНТЕГРАЛЬНОГО КУЛОНОМЕТРИЧЕСКОГО КОНТРОЛЯ ТОЛЩИНЫ МЕТАЛЛИЧЕСКИХ ГАЛЬВАНОПОКРЫТИЙ С ПОСЛЕДУЮЩИМ ЭЛЕКТРОХИМИЧЕСКИМ ВОССТАНОВЛЕНИЕМ
(57) Реферат:
Устройство для интегрального кулонометрического контроля толщины металлических гальванопокрытий с последующим электрохимическим восстановлением представляет собой электрохимическую ячейку, выполненную из пластмассы в виде полого цилиндра с подвижной поршневой системой, содержащую наконечник с калиброванным отверстием и инертный противоэлектрод, расположенный непосредственно в капиллярном канале наконечника, снабженную вспомогательной электрохимической ячейкой. Противоэлектрод вспомогательной ячейки выполнен из электрохимически активного материала, обеспечивающего оптимальные условия протекания процесса электрохимического восстановления покрытия, при этом диаметры капилляров рабочей и вспомогательной ячеек равны. Изобретение обеспечивает расширение функциональных возможностей электрохимических датчиков контроля толщины металлических слоев на различных основаниях, повышение технологичности и обеспечение качества электроосажденных на подлежащие восстановлению микроучастки покрытий. 1 з.п. ф-лы, 1 ил.
Изобретение относится к области интегрального анализа металлических гальванопокрытий путем растворения микроучастка поверхности образца с целью определения толщины с последующим восстановлением разрушенного участка посредством электросаждения металла, аналогичного металлу покрытия.
3, с.30). После чего проводят восстановление растворенного участка покрытия с помощью этой же ячейки без изменения ее положения. Для этого заменяют электролит растворения электролитом восстановления, изменяют полярность противоэлектрода и пропускают ток в течение требуемого времени.
Недостатком данной системы является необходимость замены электролита, а также переключения электрической схемы противоэлектрода. Кроме того, подобные устройства, снабженные несколькими дополнительными резервуарами для раздельного размещения электролитов, имеют сложную конструкцию.
Наиболее близким к изобретению техническим решением является устройство (Патент РФ 2234078, Кл. МПК7 G01N 27/48, 2004, БИ 22, «Способ и устройство для определения параметров металлических покрытий»), состоящее из рабочей и вспомогательной ячеек одинаковой конструкции, представляющих собой цилиндрический пластмассовый корпус с подвижной поршневой системой, содержащий наконечник с калиброванным отверстием, в капиллярный канал которого введен инертный противоэлектрод в форме проволоки. Вспомогательная ячейка расположена параллельно рабочей на расстоянии, равном шагу смещения устройства, значение которого кратно целому числу и содержит электролит для реализации предварительной катодной обработки поверхности перед анализом, при этом соотношение диаметров капилляров вспомогательной и рабочей ячеек составляет 1,5-3,0.
Недостатком устройства-прототипа является отсутствие возможности качественного электрохимического восстановления покрытия с использованием вспомогательной ячейки при использовании инертного противоэлектрода, а также ограничение точности позиционирования ячеек на исследуемом участке поверхности, что связано с существенным превышением диаметра капилляра вспомогательной ячейки по отношению к диаметру капилляра рабочей ячейки.
Задачей изобретения является расширение функциональных возможностей электрохимических датчиков контроля толщины металлических слоев на различных основаниях, повышение технологичности и обеспечение качества электроосажденных на подлежащие восстановлению микроучастки покрытий.
Поставленная задача решается тем, что противоэлектрод вспомогательной ячейки выполнен из электрохимически активного материала, обеспечивающего оптимальные условия протекания процесса электрохимического восстановления покрытия. Это обеспечивает возможность электроосаждения металлических покрытий в условиях подачи на ячейку тока с высокой плотностью при малом объеме рабочего раствора.
Задача также решается тем, что для электрохимического восстановления покрытия вспомогательная ячейка заполняется раствором электролита, состав которого дает возможность проводить электроосаждение на контролируемый микроучасток металла, аналогичного металлу покрытия. Осаждаемый на анализируемый участок металл по составу соответствует металлу контролируемого покрытия.
Использование инертных противоэлектродов при восстановлении покрытий приводит к снижению концентрации ионов осаждаемого металла в электролите, изменению его кислотности, что вызывает необходимость в постоянной корректировке электролита, практически не реализуемой при высокоскоростном восстановлении покрытий. В связи с этим вспомогательная ячейка содержит активный противоэлектрод, изготовленный из металла, аналогичного металлу контролируемого покрытия.
Задача повышения технологичности кулонометрического контроля покрытий с восстановлением решается тем, что электроосаждение покрытия на растворенный микроучасток проводится с использованием вспомогательной ячейки, содержащей электролит, рецептурный состав которого обеспечивает возможность электровосстановления. При этом отсутствует необходимость замены электролита, смены полярности противоэлектрода и промывания внутренней части ячейки.
Задача обеспечения качества наносимых на растворенный микроучасток покрытий также решается тем, что диаметры капилляров рабочей и вспомогательной ячеек равны, чем обеспечивается равенство площадей участков. Противоэлектрод выполнен в форме проволоки и находится в капиллярном канале вспомогательной ячейки, при этом торцевая часть противоэлектрода располагается строго параллельно поверхности контролируемого микроучастка, что обеспечивает наиболее равномерное распределение тока по поверхности рабочего электрода при электрохимическом восстановлении покрытия. Известно, что пористость наносимого покрытия в значительной степени зависит от точности установки вспомогательной ячейки на растворенный участок. Точность позиционирования вспомогательной ячейки на контролируемый участок обеспечивается системой пространственного перемещения устройства, которая реализует его перемещение по любой пространственной траектории над исследуемой поверхностью и опускание в заданных точках образца.
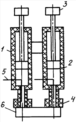
На чертеже схематически представлено устройство для интегрального кулонометрического контроля толщины металлических гальванопокрытий с последующим электрохимическим восстановлением.
Устройство для интегрального кулонометрического контроля толщины металлических гальванопокрытий с последующим электрохимическим восстановлением состоит из двух электрохимических ячеек: рабочей 1 и вспомогательной 2, которые выполнены в виде полых цилиндров с капилляром в основании, при этом каждая ячейка содержит поршень 3, пластмассовый наконечник 4 с калиброванным отверстием и противоэлектрод 5, который вводится через боковую стенку корпуса.
Устройство работает следующим образом.
В корпус каждой ячейки (1 и 2) при помощи поршня 3 отбирается соответствующий назначению ячейки раствор электролита, ячейка 1 устанавливается на поверхность образца 6, образец 6 подключается к положительному полюсу источника тока, на ячейку подается напряжение и электрической схемой фиксируется аналитический сигнал. После этого на контролируемый микроучасток поверхности при помощи системы пространственного перемещения смещается ячейка 2, полярность образца 6 переключается и через систему пропускается ток в течение заданного времени, соответствующего осаждению покрытия необходимой толщины. После этого ячейки отводятся от поверхности образца, электролит в каждой ячейке перемешивается при помощи поршня 3, устройство перемещается на следующие участки поверхности и операции повторяются. По окончании анализа электролит выводится при помощи поршня 3, наконечник 4 тщательно промывается.
Формула изобретения
1. Устройство для интегрального кулонометрического контроля толщины металлических гальванопокрытий с последующим электрохимическим восстановлением, представляющее собой рабочую электрохимическую ячейку, выполненную из пластмассы в виде полого цилиндра с подвижной поршневой системой, содержащую наконечник с калиброванным отверстием и инертный противоэлектрод, расположенный непосредственно в капиллярном канале наконечника, снабженное вспомогательной электрохимической ячейкой, выполненной из пластмассы в виде полого цилиндра с подвижной поршневой системой, содержащей наконечник с калиброванным отверстием и противоэлектрод, расположенный непосредственно в капиллярном канале наконечника, и приводом пространственного перемещения, отличающееся тем, что противоэлектрод вспомогательной электрохимической ячейки выполнен из электрохимически активного материала, обеспечивающего оптимальные условия протекания процесса электрохимического восстановления покрытия, при этом диаметры капилляров рабочей и вспомогательной ячеек равны.
2. Устройство для интегрального кулонометрического контроля толщины металлических гальванопокрытий с последующим электрохимическим восстановлением по п.1, отличающееся тем, что вспомогательная электрохимическая ячейка содержит электролит для электрохимического восстановления растворенного участка покрытия путем электроосаждения металла, аналогичного металлу покрытия.
РИСУНКИ
|
|