|
|
(21), (22) Заявка: 2008100822/28, 09.01.2008
(24) Дата начала отсчета срока действия патента:
09.01.2008
(46) Опубликовано: 27.05.2009
(56) Список документов, цитированных в отчете о поиске:
SU 1564515 А1, 15.05.1990. SU 1739262 А1, 07.06.1992. RU 2051359 С1, 27.12.1995. GB 1194574 А, 10.06.1970.
Адрес для переписки:
659300, Алтайский край, г. Бийск, а/я 37, В.А. Куцему
|
(72) Автор(ы):
Поздеев Сергей Павлович (RU), Савин Владимир Федорович (RU), Блазнов Алексей Николаевич (RU), Киселев Николай Михайлович (RU)
(73) Патентообладатель(и):
Общество с ограниченной ответственностью “Бийский завод стеклопластиков” (RU)
|
(54) УСТАНОВКА ДЛЯ УСТАЛОСТНЫХ ИСПЫТАНИЙ ОБРАЗЦОВ
(57) Реферат:
Изобретение относится к испытательным устройствам. Установка содержит горизонтальную опору, установленные на ней, по крайней мере, две вертикальные направляющие, две рамы, размещенные над опорой параллельно ей и друг другу, преимущественно через равные расстояния. Верхняя рама установлена в вертикальных направляющих с возможностью вертикального перемещения и жесткой фиксации, а нижняя рама закреплена на оси, установленной в подшипниковых узлах, размещенных на вертикальных направляющих, с возможностью вертикального перемещения и жесткой фиксации. Опора и рамы снабжены каждая парой реек с захватами для образцов, установленными в подшипниковых узлах. Рейки нижней рамы снабжены двойным количеством захватов для образцов, одна половина которых выполнена диаметрально противоположно другой, или рама снабжена двумя дополнительными рейками с захватами для образцов, установленными параллельно двум первым в отдельных подшипниковых узлах. Все рейки с захватами установлены параллельно и симметрично оси нижней рамы на одинаковом расстоянии от вертикальной плоскости симметрии, при этом установка снабжена механизмом вертикального перемещения рам и нагружающим механизмом, например кривошипно-шатунным, связанным с нижней рамой. Технический результат: упрощение конструкции установки, повышение ее производительности, а также повышение достоверности результатов испытаний и снижение энергоемкости установки. 2 ил.
Изобретение относится к испытательным устройствам, в частности к установкам для испытания материалов на длительную прочность (усталостных испытаний) при воздействии циклических продольно изгибающих нагрузок.
Известна установка для усталостных испытаний образцов (RU 2051361 С1, публ. 1995.12.27), которая содержит корпус, размещенные в нем рейку, взаимодействующее с ней зубчатое колесо, эксцентриковый механизм с шатуном, связанный с зубчатым колесом, пассивный захват образца и активный захват, установленные соосно рейке, и инерционный груз, инерционный груз выполнен в виде колеса, а установка снабжена двумя поперечинами, одна из которых шарнирно установлена на торце рейки, а другая установлена перпендикулярно оси рейки, двумя параллельно установленными толкателями, выполненными в виде реек для взаимодействия с колесом, четырьмя фиксаторами для соединения указанных реек с поперечинами, пассивный захват закреплен на первой поперечине, а активный захват закреплен на второй поперечине. Установка обеспечивает нагружение образца осевыми и изгибными нагрузками с приложением последних к разным торцам образца.
Из уровня техники известна также установка для усталостных испытаний образцов материалов (RU 2051359 С1, публ. 1995.12.27), содержащая корпус, размещенные в нем взаимно перпендикулярно две рейки, взаимодействующее с ними зубчатое колесо, механизм возвратно-поступательного перемещения, взаимодействующий с концом одной из реек, пассивный захват для образца, закрепленный на торце второй рейки, и активный захват с инерционным грузом, предназначенным для соединения с образцом. Установка снабжена дополнительной рейкой, установленной параллельно второй рейке, дополнительным зубчатым колесом, взаимодействующим с основным зубчатым колесом и дополнительной рейкой, и дополнительным активным захватом с инерционным грузом, предназначенным для соединения с дополнительным образцом и основным инерционным грузом. Установка обеспечивает испытания при взаимодействии образцов друг с другом в циклическом режиме с нагружением инерционными осевыми и изгибающими нагрузками не более двух образцов.
Недостатками вышеописанных установок являются сложность конструкции и малая производительность, поскольку они позволяют проводить испытания только с одним-двумя образцами. Кроме того, захваты образца оказывают существенное механическое воздействие на испытываемый образец в местах их контакта, что при длительных циклических испытаниях на действие продольно изгибающих нагрузок влияет на результаты испытаний, т.к. не исключает разрушение образца в этих местах.
Технической задачей, решаемой данным изобретением, является упрощение конструкции установки, повышение ее производительности за счет одновременного испытания большого количества образцов, а также повышение достоверности результатов испытаний и снижение энергоемкости установки.
Поставленная техническая задача решается тем, что установка для усталостных испытаний образцов содержит горизонтальную опору, установленные на ней, по крайней мере, две вертикальные направляющие, две рамы, размещенные над опорой параллельно ей и друг другу, преимущественно через равные расстояния, причем верхняя рама установлена в вертикальных направляющих с возможностью вертикального перемещения и жесткой фиксации, а нижняя рама закреплена на оси, установленной в подшипниковых узлах, размещенных на вертикальных направляющих, с возможностью вертикального перемещения и жесткой фиксации, опора и рамы снабжены каждая парой реек с захватами для образцов, установленными в подшипниковых узлах, причем рейки нижней рамы снабжены двойным количеством захватов для образцов, одна половина которых выполнена диаметрально противоположно другой, или рама снабжена двумя дополнительными рейками с захватами для образцов, установленными параллельно двум первым в отдельных подшипниковых узлах, все рейки с захватами установлены параллельно и симметрично оси нижней рамы на одинаковом расстоянии от вертикальной плоскости симметрии, при этом установка снабжена механизмом вертикального перемещения рам и нагружающим механизмом, например кривошипно-шатунным, связанным с нижней рамой.
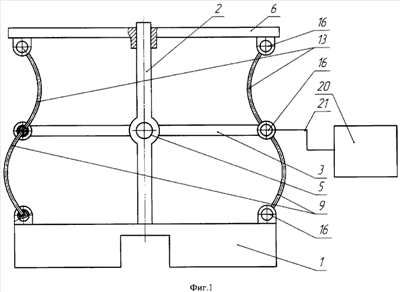
На фиг.1 представлена схема установки для усталостных испытаний с механизмом вертикального перемещения рам, выполненным в виде ходового винта с гайками (вид спереди).
На фиг.2 представлена схема установки (вид сбоку, образцы не показаны).
Установка содержит опору 1, вертикальные направляющие 2, нижнюю раму 3 с осью 4 и подшипниковыми узлами 5, верхнюю раму 6, рейки опоры 7 с захватами 8 для образцов 9, рейки нижней рамы 10 с двойным количеством захватов 11 и 12 для образцов 9 и 13, рейки верхней рамы 14 с захватами 15 для образцов 13, подшипниковые узлы реек 16, ходовой винт 17 с гайками 18 и 19, механизм нагружения 20 с приводом 21.
Установка работает следующим образом. Предварительно образцы 9 устанавливают в захватах 8 реек опоры 7 и захватах 11 реек нижней рамы 10, причем с каждой стороны от оси 4 нижней рамы 3 устанавливают равное количество образцов. После этого вращением гайки 18 ходового винта 17 перемещают нижнюю раму 3 в направляющих 2, нагружая, таким образом, образцы 9 продольной нагрузкой до потери ими продольной устойчивости и образования прогиба, после чего гайку 18 фиксируют. Величину прогиба выбирают в зависимости от амплитуды изгибных нагружений таким образом, чтобы в процессе испытаний образцы не выходили из состояния потери продольной устойчивости. Далее повторяется процедура для образцов 13. Образцы 13 устанавливают в захватах 12 реек нижней рамы 10 и захватах 15 реек верхней рамы 14 в равных количествах с каждой стороны относительно оси 4 и гайкой 19 ходового винта 17 перемещают верхнюю раму 6 в направляющих 2, нагружая образцы 13 продольной нагрузкой до потери ими продольной устойчивости и образования требуемой величины прогиба, после чего гайку 19 фиксируют. Установка с установленными образцами представляет, таким образом, уравновешенную систему. После установки образцов механизму нагружения 20 задают частоту и амплитуду нагружений. При включении механизм нагружения 20 посредством привода 21 вынуждает нижнюю раму совершать колебательные движения вокруг оси 4, при этом рейки нижней рамы с захватами 11 и 12 совершают возвратно-поступательное движение, циклически увеличивая изгибающую нагрузку до заданной на одни образцы и уменьшая ее соответственно на другие и наоборот. При разрушении одного из образцов система выходит из состояния равновесия, и установка автоматически выключается, например, при увеличении нагрузки на механизм нагружения. По мере разрушения образцов оставшиеся перераспределяют таким образом, чтобы их количество в захватах 11 и 12 по обе стороны от оси 4 было одинаково.
Заявляемая установка проста по конструкции, обеспечивает проведение усталостных испытаний при воздействии циклических продольно изгибающих нагрузок для большого количества образцов – от двух и более. Выполнение захватов на рейках, установленных в подшипниковых узлах, минимизирует их механическое воздействие на испытываемый образец, что повышает достоверность получаемых результатов. Конструкция установки предусматривает предварительное нагружение образцов продольной нагрузкой до потери ими продольной устойчивости, при этом они создают уравновешенную систему. В процессе испытаний требуется приложение нагрузки только для выведения этой системы из равновесия. Это обеспечивает малую энергоемкость установки.
Формула изобретения
Установка для усталостных испытаний образцов, содержащая горизонтальную опору, установленные на ней, по крайней мере, две вертикальные направляющие, две рамы, размещенные над опорой параллельно ей и друг другу преимущественно через равные расстояния, причем верхняя рама установлена в вертикальных направляющих с возможностью вертикального перемещения и жесткой фиксации, а нижняя рама закреплена на оси, установленной в подшипниковых узлах, размещенных на вертикальных направляющих, с возможностью вертикального перемещения и жесткой фиксации, опора и рамы снабжены каждая парой реек с захватами для образцов, установленными в подшипниковых узлах, причем рейки нижней рамы снабжены двойным количеством захватов для образцов, одна половина которых выполнена диаметрально противоположно другой или рама снабжена двумя дополнительными рейками с захватами для образцов, установленными параллельно двум первым в отдельных подшипниковых узлах, все рейки с захватами установлены параллельно и симметрично оси нижней рамы на одинаковом расстоянии от вертикальной плоскости симметрии, при этом установка снабжена механизмом вертикального перемещения рам и нагружающим механизмом, например, кривошипно-шатунным, связанным с нижней рамой.
РИСУНКИ
|
|