|
|
(21), (22) Заявка: 2008101101/28, 09.01.2008
(24) Дата начала отсчета срока действия патента:
09.01.2008
(46) Опубликовано: 27.05.2009
(56) Список документов, цитированных в отчете о поиске:
RU 2164345 С2, 20.03.2001. RU 2240530 С2, 20.11.2004. SU 1663502 А1, 15.07.1991. US 3354704 A, 28.11.1967.
Адрес для переписки:
659300, Алтайский край, г. Бийск, а/я 37, В.А. Куцему
|
(72) Автор(ы):
Поздеев Сергей Павлович (RU), Блазнов Алексей Николаевич (RU), Савин Владимир Федорович (RU), Тихонов Вячеслав Борисович (RU), Киселев Николай Михайлович (RU)
(73) Патентообладатель(и):
Общество с ограниченной ответственностью “Бийский завод стеклопластиков” (RU)
|
(54) СПОСОБ ИСПЫТАНИЙ УПРУГИХ СТЕРЖНЕЙ НА ДОЛГОВЕЧНОСТЬ И УСТРОЙСТВО ДЛЯ ЕГО ОСУЩЕСТВЛЕНИЯ
(57) Реферат:
Изобретение относится к области прочностных испытаний материалов. Сущность: нагружают образец расчетной нагрузкой и определяют время до его разрушения. Испытания проводят на воздействие нескольких типов нагружений: сжатие и/или растяжение и продольный изгиб. Причем нагружение на сжатие и/или растяжение образцов, установленных в захватах, осуществляют симметрично за счет реакции, по крайней мере, одного образца, с шарнирно закрепленными концами, крепления которого взаимодействуют с их активными захватами, который в свою очередь нагружают до потери им продольной устойчивости. Заданную нагрузку обеспечивают подбором соответствующего соотношения длины и площади поперечного сечения этого образца. Требуемые величины напряжений в каждом из образцов, нагружаемых на сжатие и растяжение, обеспечивают подбором соответствующей площади их поперечного сечения, а в продольно изгибаемых образцах – величиной их прогиба.
Устройство содержит станину, траверсы, активные и пассивные захваты образца, механизм нагружения и механизм поддержания постоянной нагрузки, включающий связанный с активным захватом ходовой винт с гайкой. Станина и неподвижная траверса снабжены соосно размещенными на них направляющими. В каждой направляющей установлены пассивные и активные захваты для образцов. Пассивные захваты установлены с возможностью жесткой фиксации, а активные – свободного перемещения. Активный захват, установленный в направляющих станины, через толкатель связан с нижней подвижной траверсой, а активный захват, установленный в направляющих неподвижной траверсы, связанный с ходовым винтом, – с верхней подвижной траверсой, размещенной между захватом и гайкой ходового винта. Каждая подвижная траверса дополнительно снабжена, преимущественно, парой захватов для образцов, шарнирно закрепленных соответственно на верхней поверхности нижней траверсы и нижней поверхности верхней, соосно друг другу и направляющим, а механизм нагружения представляет собой, установленную в этих захватах, преимущественно, пару образцов, нагружаемых на продольный изгиб.
Технический результат: повышение информативности способа, упрощение конструкции устройства и расширение его функциональных возможностей. 2 н.п. ф-лы, 1 ил.
Изобретение относится к области прочностных испытаний материалов, в частности к способам и оборудованию для длительных испытаний стержней из однонаправленных полимерных композиционных материалов (упругих стержней) на долговечность под постоянной нагрузкой.
Стержни из однонаправленных композиционных материалов обладают ярко выраженной анизотропией свойств вдоль и поперек направления армирования. Известно, что такие стержни являются линейно-упругими вплоть до разрушения. При работе в ответственных конструкциях, таких, например, как стеклопластиковая арматура стеновых панелей, стержни полимерных электроизоляторов и пр., стержни из однонаправленных композиционных материалов в зависимости от назначения и установки подвергаются различным видам нагружений – растяжение, сжатие, изгиб или их комбинации. Важно знать изменение характеристик материала с течением времени (длительную прочность), чтобы прогнозировать срок службы материалов при заданной нагрузке и температуре (долговечность). В связи с тем, что такие материалы являются малоисследованными, не решен вопрос, одинаково ли влияют изгибные, растягивающие и сжимающие нагрузки на старение материала, поэтому длительная прочность и долговечность прогнозируются по результатам длительных испытаний на каждый вид нагружений отдельно. Кроме того, известно, что на прочностные характеристики стержней из однонаправленного композиционного материала существенное влияние оказывают параметры технологического процесса, поэтому испытания на долговечность применяют как средство приемо-сдаточного контроля каждой партии изделий.
Известен способ испытания образцов материала на длительную прочность путем нагружения образца расчетной нагрузкой и определение времени до его разрушения, который реализован в изобретениях по пат. RU 2219520, МКИ G01N 3/08; RU 2141636, МКИ G01N 3/08. Известный способ предусматривает нагружение образца на растяжение, применим для испытаний материалов с известными свойствами, однако по причинам, приведенным выше, является малоинформативным для испытаний однонаправленных композиционных материалов.
Известно также устройство для испытания материалов на длительную прочность, содержащее станину, траверсы, активный и пассивный захваты образца, рычажный нагружающий механизм, связанный с пассивным захватом, механизм поддержания постоянной нагрузки, включающий ходовой винт, соединенный с ним привод его перемещения. Между активным захватом и связанным с ним ходовым винтом установлены дополнительные активный и пассивный захваты, причем дополнительный активный захват соединен с ходовым винтом, а дополнительный пассивный захват соединен с активным захватом образца с помощью винта с гайкой, между которой и активным захватом образца расположена неподвижная траверса, а между дополнительными захватами установлен динамометр (см. пат. RU 2164345, МКИ G01N 3/08). Недостатком известного устройства является его сложность и малая функциональность – оно позволяет проводить испытания на воздействие только одного вида нагрузок – на растяжение.
Задачей изобретения является повышение информативности способа проведения испытаний на долговечность стержней из однонаправленных композиционных материалов при различных видах нагружений, упрощение конструкции устройства для испытаний на долговечность и расширение его функциональных возможностей.
Поставленная задача решается тем, что в способе испытаний упругих стержней на долговечность путем нагружения образца расчетной нагрузкой и определения времени до его разрушения, согласно изобретения испытания проводят на воздействие нескольких типов нагружений: сжатие и/или растяжение и продольный изгиб, причем нагружение на сжатие и/или растяжение образцов, установленных в захватах, осуществляют симметрично за счет реакции, по крайней мере, одного образца, с шарнирно закрепленными концами, крепления которого взаимодействуют с их активными захватами, который в свою очередь нагружают до потери им продольной устойчивости, при этом заданную нагрузку обеспечивают подбором соответствующего соотношения длины и площади поперечного сечения этого образца, требуемые величины напряжений в каждом из образцов, нагружаемых на сжатие и растяжение, обеспечивают подбором соответствующей площади их поперечного сечения, а в продольно изгибаемых образцах – величиной их прогиба.
Также поставленная задача решается тем, что устройство для испытания упругих стержней на долговечность, содержащее станину, траверсы, активные и пассивные захваты образца, механизм нагружения и механизм поддержания постоянной нагрузки, включающий связанный с активным захватом ходовой винт с гайкой, станина и неподвижная траверса снабжены соосно размещенными на них направляющими, выполненными, например, в виде цилиндров, в каждой направляющей установлены пассивные и активные захваты для образцов, причем пассивные захваты установлены с возможностью жесткой фиксации, а активные – свободного перемещения, при этом активный захват, установленный в направляющих станины, через толкатель связан с нижней подвижной траверсой, а активный захват, установленный в направляющих неподвижной траверсы, связанный с ходовым винтом, – с верхней подвижной траверсой, размещенной между ним и гайкой ходового винта, каждая подвижная траверса дополнительно снабжена, преимущественно, парой захватов, шарнирно закрепленных соответственно на верхней поверхности нижней траверсы и нижней поверхности верхней – соосно друг другу и направляющим, а механизм нагружения представляет собой установленную в этих захватах, преимущественно, пару образцов, испытываемых на изгиб.
Предлагаемый способ и устройство представляют собой единый изобретательский замысел, и только неразрывная совокупность способа и устройства для его осуществления позволяет решить поставленную задачу.
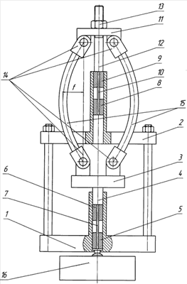
На чертеже представлена схема устройства для испытаний упругих стержней на долговечность с механизмом нагружения в виде двух образцов, испытываемых на изгиб.
Устройство содержит станину 1 с направляющей, неподвижную траверсу 2 с направляющей, нижнюю подвижную траверсу 3 с толкателем 4, пассивный 5 и активный 6 захваты образца 7, пассивный 8 и активный 9 захваты образца 10, верхнюю подвижную траверсу 11, ходовой винт 12 с гайкой 13, шарнирные захваты 14 образцов 15.
Предлагаемый способ реализуется при работе устройства следующим образом. Для расчета геометрических параметров испытываемых образцов задают значение требуемого напряжения и выбирают конкретную величину площади поперечного сечения для одного из образцов, нагружаемых на сжатие или на разрыв, и рассчитывают требуемую нагрузку для его испытания по формуле

где Р – нагрузка,
– напряжение,
S – площадь поперечного сечения образца.
Т.к. второй образец симметрично нагружается такой же нагрузкой, то для заданного для него напряжения площадь его поперечного сечения определяют из соотношения (1). Зная требуемую нагрузку для образцов на сжатие, растяжение и, соответственно, нагрузку, которая обеспечивает потерю устойчивости образцов, нагружаемых на продольный изгиб, находят геометрические характеристики продольно изгибаемых образцов, которые обеспечат эту нагрузку, из известного соотношения Эйлера

где E – модуль упругости,
J – центральный момент инерции поперечного сечения образца,
µ – коэффициент приведения длины,
L – рабочая длина стержня.
При известной нагрузке, сечении и длине определяют величину прогиба продольно изгибаемого образца, который обеспечивает создание в нем требуемого напряжения, из соотношения

где f – величина прогиба,
– требуемое напряжение,
w – осевой момент сопротивления сечения.
В соответствии с рассчитанными геометрическими параметрами изготавливают образцы для испытаний.
Устройство работает следующим образом. Предварительно образцы 7 и 10 устанавливают соответственно в захватах 5, 6 и 8, 9, и пассивные захваты 5 и 8 жестко фиксируют. Затем устанавливают нижнюю подвижную траверсу 3 таким образом, чтобы ее толкатель 4 вошел в контакт с активным захватом 6 образца 7, после чего в шарнирных захватах 14 нижней 3 и верхней 11 подвижных траверс устанавливают образцы 15. После этого, завинчивая гайку 13 ходового винта 12, нагружают расчетной нагрузкой образцы 15 до потери ими устойчивости и достижения расчетного прогиба, при этом реакция упруго изогнутых образцов через верхнюю подвижную траверсу 11 и ходовой винт 12 передается на активный захват 9 образца 10, создавая растягивающую нагрузку, а через нижнюю подвижную траверсу 3 и толкатель 4 – на активный захват 6 образца 7, создавая нагрузку на сжатие. После этого проводят контрольное измерение величины нагрузки, для чего толкатель измерителя 16 вводят в контакт с захватом 5 и снимают его с фиксатора (не показан), измеряют напряжение, фиксируют захват 5, убирают измеритель 16 и фиксируют время начала испытаний.
Устройство позволяет проводить испытания на долговечность на отдельные виды нагружений – растяжение – продольный изгиб, сжатие – продольный изгиб или продольный изгиб, для этого образцы, не участвующие в испытаниях, заменяют вставками.
Заявляемый способ и устройство позволяют получить достоверные результаты испытаний на долговечность сразу на несколько видов нагрузок. Простота реализации способа и конструкции устройства в сочетании с его малой стоимостью определяют эффективность их использования в заводских условиях при проведении большого объема приемо-сдаточных испытаний.
Формула изобретения
1. Способ испытаний упругих стержней на долговечность путем нагружения образца расчетной нагрузкой и определения времени до его разрушения, отличающийся тем, что испытания проводят на воздействие нескольких типов нагружений: сжатие и/или растяжение и продольный изгиб, причем нагружение на сжатие и/или растяжение образцов, установленных в захватах, осуществляют симметрично за счет реакции, по крайней мере, одного образца с шарнирно закрепленными концами, крепления которого взаимодействуют с их активными захватами, который, в свою очередь, нагружают до потери им продольной устойчивости, при этом заданную нагрузку обеспечивают подбором соответствующего соотношения длины и площади поперечного сечения этого образца, требуемые величины напряжений в каждом из образцов, нагружаемых на сжатие и растяжение, обеспечивают подбором соответствующей площади их поперечного сечения, а в продольно изгибаемых образцах – величиной их прогиба.
2. Устройство для испытания упругих стержней на долговечность, содержащее станину, траверсы, активные и пассивные захваты образца, механизм нагружения и механизм поддержания постоянной нагрузки, включающий связанный с активным захватом ходовой винт с гайкой, отличающееся тем, что станина и неподвижная траверса снабжены соосно размещенными на них направляющими, выполненными, например, в виде цилиндров, в каждой направляющей установлены пассивные и активные захваты для образцов, причем пассивные захваты установлены с возможностью жесткой фиксации, а активные – с возможностью свободного перемещения, при этом активный захват, установленный в направляющих станины, через толкатель связан с нижней подвижной траверсой, а активный захват, установленный в направляющих неподвижной траверсы, связанный с ходовым винтом, – с верхней подвижной траверсой, размещенной между захватом и гайкой ходового винта, каждая подвижная траверса дополнительно снабжена, преимущественно, парой захватов для образцов, шарнирно закрепленных, соответственно, на верхней поверхности нижней траверсы и нижней поверхности верхней, соосно друг другу и направляющим, а механизм нагружения представляет собой установленную в этих захватах, преимущественно, пару образцов, нагружаемых на продольный изгиб.
РИСУНКИ
|
|