|
|
(21), (22) Заявка: 2007131621/28, 20.08.2007
(24) Дата начала отсчета срока действия патента:
20.08.2007
(46) Опубликовано: 27.05.2009
(56) Список документов, цитированных в отчете о поиске:
SU 962879 А1, 30.09.1982. SU 1180648 А1, 23.09.1985. SU 1103204 А1, 15.07.1984. SU 847027 А1, 15.07.1981. RU 2283736 С1, 20.09.2006.
Адрес для переписки:
356236, Ставропольский край, Шпаковский р-н, с. Верхнерусское, ул. Батайская, 35, ООО “Верхнерусское”, ген. директору
|
(72) Автор(ы):
Сердюков Алексей Алексеевич (RU), Сердюков Алексей Максимович (RU)
(73) Патентообладатель(и):
Сердюков Алексей Алексеевич (RU), Сердюков Алексей Максимович (RU)
|
(54) ДАТЧИК ТЕМПЕРАТУРЫ
(57) Реферат:
Изобретение относится к энергетике, в частности к датчикам температуры, используемым в газогорелочных устройствах для сжигания газа в котлах наружного размещения, и может быть использовано в бытовых газовых аппаратах для автоматического поддержания температуры. Датчик температуры содержит корпус с отверстиями для подвода и отвода газа от газового регулятора, металлический внутренний стержень, наружную трубку, погруженную в теплоноситель, винтовое устройство для регулирования температуры, при этом наружная трубка выполнена из сшитого полиэтилена РЕ-Xb, внутри корпуса установлен золотник, корпус вместе с трубой и металлическим стержнем установлены в гильзу водогрейной рубашки котла, при этом стержень имеет проточку, в которой закреплен упругий элемент, внутри наружной трубки и корпуса датчика установлен теплопроводящий стержень из металла, торец которого погружен в теплоноситель и изолирован от него теплоизолирующей шайбой. Технический результат – упрощение конструкции, уменьшение габаритов и увеличение осевого перемещения металлического стержня со снижением погрешности включения. 1 ил.
Область техники, к которой относится изобретение
Изобретение относится к энергетике, в частности к датчикам температуры, используемым в газогорелочных устройствах для сжигания газа в котлах наружного размещения, и может быть использовано в бытовых газовых аппаратах для автоматического поддержания температуры теплоносителя.
Уровень техники
Известен сопловый узел горелки, содержащий корпус с установленной за его пределами направляющей пластиной с отогнутым на заданный угол относительно ее плоскости навстречу потоку концам, при этом пластина со стороны, противоположной отогнутому концу, снабжена перпендикулярной продольной оси корпуса поворотной осью, а ее конец отогнут на угол 10-15° (см. а.с. SU 989244, кл. F23D 14/60).
Недостатком данного соплового узла является недостаточное смешение газа с первичным воздухом.
Известна атмосферная газовая горелка, содержащая газовый регулятор, состоящий из блока регулирования, соединенного с датчиком температуры с помощью канала регулирования, блока контроля, соединенного с датчиком пламени, тяги каналом контроля, при этом она снабжена вторым газовым регулятором, состоящим из блока регулирования, соединенного с датчиком температуры и наружного воздуха, блока контроля, при этом второй газовый регулятор установлен с возможностью параллельного подключения полостей блоков контроля и датчика температуры наружного воздуха путем соединения с блоком регулирования второго газового регулятора, причем процентное соотношение подачи газа в горелку обоими регуляторами устанавливается кранами (см. пат. RU 2196939, кл. F23N 1/10, F23D 14/60).
Недостатком данной горелки является отсутствие сигнала на включение-отключение горелки в зависимости от работы циркуляционных насосов и других электрических агрегатов отопительной системы.
Наиболее близким по технической сущности и достигаемому положительному эффекту и принятый авторами за прототип является датчик температуры, содержащий корпус с отверстиями для подвода и отвода газа от газового регулятора, металлический внутренний стержень, наружную трубку, погруженную в теплоноситель, винтовое устройство для регулирования температуры (см. Датчик температуры. РГУ – M1. Руководство по эксплуатации. Са 2.574.023. РЭ ОАО «Завод Староруссприбор», 175200, г.Старая Русса, Новгородская область, ул. Минеральная, 24).
Недостатком данного датчика является сложность конструкции, большие габариты.
Раскрытие изобретения
Технический результат, который может быть получен с помощью предлагаемого изобретения, сводится к упрощению конструкции, уменьшению габаритов и увеличению осевого перемещения металлического стержня со снижением погрешности включения.
Технический результат достигается с помощью датчика температуры, содержащего корпус с отверстиями для подвода и отвода газа от газового регулятора, металлический внутренний стержень, наружную трубку, погруженную в теплоноситель, винтовое устройство для регулирования температуры, при этом наружная трубка выполнена из сшитого полиэтилена РЭ-Xb, а для снижения степени нагрева наружной трубки внутрь ее и корпуса датчика установлен теплопроводящий стержень из меди, торец которого, погруженный в теплоноситель, изолирован от него теплоизолирующей шайбой.
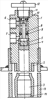
На чертеже дан датчик температуры, общий вид.
Осуществление изобретения
Датчик температуры состоит из корпуса 1 трубной конструкции, при этом корпус 1 соединен с полимерной трубкой 2, которая соединена с внутренним металлическим стержнем 3, причем стержень 3 имеет проточку 4, в которой закреплен упругий элемент 5, а в корпусе 1 имеются резьбовые отверстия для подвода газа по импульсной трубке 6 и отвода газа 7, внутри корпуса 1 установлен золотник 8 с уплотнительными кольцами 9 и 10, при этом золотник 8 содержит резьбу 11 и диск 12 для перемещения. Корпус 1 вместе с трубой 2 и металлическим стержнем 3 установлены в гильзу 13 водогрейной рубашки котла (не показаны), торец стержня 3, соприкасающийся с теплоносителем, теплоизолирован шайбой 14.
Датчик температуры работает следующим образом.
При нагреве теплоносителя полимерная трубка 2 нагревается и перемещает металлический стержень 3 внутрь котла. Упругий элемент 5 отодвигается от золотника 8, газ, поступающий из системы регулирования по импульсной трубке 6 резьбового отверстия через образованный зазор между упругим элементом 5 и золотником 8, стравливается через резьбовое отверстие отвода 7 в линию эвакуации. На газовый регулятор(не показан) поступает пневматическая команда на отключение, горелка гаснет.
При остывании теплоносителя полимерная трубка 2 укорачивается, стержень 3 приближается к золотнику 8, зазор между золотником 8 и упругим элементом 5 закрепленным в проточке 4 стержня 3 исчезает, на газовый регулятор поступает пневматическая команда на включение. Уровень нагрева теплоносителя устанавливают вращением диска 12 путем изменения зазора между стержнем 3 и золотником 8. Уплотнительное кольцо 9 изолирует резьбовые отверстия для подвода газа по импульсной трубке 6 и отвода газа 7, а уплотнительное кольцо 10 препятствует утечке газа через резьбу 11 золотника 8,однако общеизвестно, что полимерная трубка 2 из сшитого полиэтилена РЭХ-b имеет термоудлинение 16 мм на погонный метр, то есть датчик температуры с рабочей длиной 100 мм имеет термоудлинение 1,6 мм, что на порядок выше, чем у прототипа.
Также известно, что пластиковая трубка 2 из сшитого полиэтилена РЭХ-b имеет срок службы 50 лет при внутреннем давлении теплоносителя 1 МПа и температуре 95°С, Однако по ГОСТ Р 51983-2002 п.3.6.7.8.3 предусмотрена термостойкость датчиков температуры для водогрейных котлов 110°С, с целью выполнения этого требования внутрь пластиковой трубки 2 из сшитого полиэтилена РЭХ-b введен теплоотводящий металлический стержень 3, например, из меди, торец которого теплоизолирован шайбой 14, что позволило снизить температуру пластиковой трубки 2 за счет овода тепла стержня 3 в среднем на 20°С и обеспечить долговечность датчика температуры, многократно превышающую срок службы котла.
Предлагаемое изобретение по сравнению с прототипом и другими техническими решениями имеет следующие преимущества:
– упрощение конструкции;
– уменьшение габаритов;
-увеличение осевого перемещения металлического стержня со снижением погрешности включения;
– увеличение долговечности датчика температуры.
Формула изобретения
Датчик температуры, содержащий корпус с отверстиями для подвода и отвода газа от газового регулятора, металлический внутренний стержень, наружную трубку, погруженную в теплоноситель, винтовое устройство для регулирования температуры, отличающийся тем, что наружная трубка выполнена из сшитого полиэтилена PE-Xb, внутри корпуса установлен золотник, корпус вместе с трубой и металлическим стержнем установлены в гильзу водогрейной рубашки котла, при этом стержень имеет проточку, в которой закреплен упругий элемент, внутри наружной трубки и корпуса датчика установлен теплопроводящий стержень из металла, торец которого погружен в теплоноситель и изолирован от него теплоизолирующей шайбой.
РИСУНКИ
|
|