|
|
(21), (22) Заявка: 2007141973/28, 12.11.2007
(24) Дата начала отсчета срока действия патента:
12.11.2007
(46) Опубликовано: 27.05.2009
(56) Список документов, цитированных в отчете о поиске:
RU 2310165 С1, 10.11.2007. US 6516665 В1, 11.02.2003. RU 2123219 С1, 10.12.1998. САРАПУЛОВ С.Л. и др. Инерциальные эффекты в поверхностных и объмных упругих волнах и возможности их использования в твердотельных микрогироскопах. XII Санкт-Петербургская международная конференция по интегрированным навигационным системам. 23-25 мая 2005, с.275-283. JP 10332380 А, 18.12.1998. JP 9178488 А, 11.07.1997.
Адрес для переписки:
195253, Санкт-Петербург, пр. Энергетиков, 54, корп.1, кв.93, В.С. Богословскому
|
(72) Автор(ы):
Богословский Владимир Сергеевич (RU)
(73) Патентообладатель(и):
Богословский Владимир Сергеевич (RU)
|
(54) ЭЛЕКТРОННЫЙ ГИРОСКОП
(57) Реферат:
Изобретение относится к области измерительной техники и может быть использовано в приборостроении и машиностроении для измерения угловой скорости. Гироскоп содержит пластину пьезоэлектрика, на которую нанесены встречно-штыревые преобразователи (ВШП), отражающие структуры драйвера поверхностных акустических волн, а также электроды чувствительного элемента разности потенциалов, размещенные попарно за пределами ВШП на расстояниях, не меньших половины периода стоячих поверхностных акустических волн, и параллельно направлению распространения поверхностных акустических волн, по одному электроду каждой пары у одного из противоположных краев пластины пьезоэлектрика. Электроды, которые находятся ближе к одному и тому же краю пластины пьезоэлектрика, электрически соединены под слоем поглотителя акустических колебаний с одной и той же контактной шиной, а находящиеся в одной паре электроды размещены вдоль одной и той же пучности стоячей поверхностной акустической волны, но ближе к противоположным краям пластины пьезоэлектрика. Контактные шины могут быть размещены на ребрах жесткости, находящихся на краях пластины пьезоэлектрика и параллельных основному направлению распространения поверхностных акустических волн. Техническим результатом является повышение точности измерения угловой скорости. 1 з.п. ф-лы, 1 ил.
Изобретение относится к области приборостроения, а именно к приборам ориентации, навигации и систем управления подвижными объектами, и предназначено для измерения угловой скорости в этих системах.
Известные волоконно-оптические гироскопы и лазерные гироскопы широко используются в инерциальной навигации и в системах наведения. Преимуществом этих гироскопов является достаточно высокая точность. Недостатком этих гироскопов является достаточно высокая стоимость и относительно большие габариты. К областям применения, требующим гироскопов менее дорогих и меньшего размера, относятся: системы автомобильной безопасности (системы против скольжения, системы камер), потребительские товары (видеокамеры, GPS, спортивное оборудование), промышленные товары (роботы, управление оборудованием), медицинские изделия (хирургические инструменты) [Сарапулов С.Л., Скрипновский Г.Н., Рим Д.В. Инерциальные эффекты в поверхностных и объемных упругих волнах и возможности их использования в твердотельных микрогироскопах / XII Санкт-Петербургская международная конференция по интегрированным навигационным системам. 23-25 мая 2005. С.275-283].
Известны микромеханические гироскопы на основе кремния [Сарапулов С.Л., Скрипновский Г.Н., Рим Д.В. Инерциальные эффекты в поверхностных и объемных упругих волнах и возможности их использования в твердотельных микрогироскопах / XII Санкт-Петербургская международная конференция по интегрированным навигационным системам. 23-25 мая 2005. С.275-283]. Такие гироскопы представляют собой пластину, закрепленную на торсионах и совершающую вынужденные колебания на собственной резонансной частоте. Гироскоп приводится в колебательное движение путем подачи сигнала на драйвер (как правило, электростатический). При внешнем вращении микромеханического гироскопа возникает сила Кориолиса, создающая колебания относительно измерительной оси. При этом зазор между подвижной массой микромеханического гироскопа и основанием изменяется, что приводит к изменению расстояния между электродами и соответствующей емкости. Измеряя изменение величины емкости, можно определить изменение угловой скорости вращения микромеханического гироскопа.
Однако вышеуказанные гироскопы имеют низкую точность и низкую механическую прочность.
Известен также Виброгироскоп (патент РФ 2123219, H01L 41/08, 1998.12.10.), содержащий твердотельный элемент из сегнетоэлектрической керамики с размытым фазовым переходом, в виде монолитного стержня с крестообразным поперечным сечением, с двумя парами сплошных и двумя парами встречно-штыревых электродов. Сплошные электроды соединены параллельно и подключены к выходу первого генератора. Встречно-штыревые электроды подключены к частотно-задающим цепям второго и третьего генераторов. Выходы второго и третьего генераторов подключены к входам смесителя, выход которого подключен к входу детектора, а выход детектора подключен к входу индикатора.
Стабильность и помехоустойчивость позволяют применять виброгироскоп в компактных системах навигации и автоматического управления подвижными объектами.
Однако виброгироскоп имеет ограничения по рабочим характеристикам из-за принципа действия, который основан на вибрации подвешенных механических структур. Кроме того, эта подвешенная механическая структура очень чувствительна к внешним ударам и вибрации, т.к. она не может быть жестко присоединена к подложке из-за резонансной вибрации. Это ограничивает диапазон его применения.
Наиболее близким по технической сущности к изобретению является гироскоп [Патент US 6,516,665. “Микро-электро-механический гироскоп”/ Varadan V.K., Pascal B., Xavier, William D. Suh, Jose A. Kollakompil, Vasundara V. Varandan. 2003].
Микро-электро-механический гироскоп включает в себя пластину пьезоэлектрика, на которую нанесены встречно-штыревые преобразователи (ВШП) драйвера поверхностных акустических волн (ПАВ), ВШП чувствительного элемента колебаний ПАВ и отражающие структуры, расположенные за пределами встречно-штыревых преобразователей.
Принцип действия микро-электро-механического гироскопа основан на использовании поверхностной акустической волны, распространяющейся по пьезоэлектрической подложке. В отличие от других, этот гироскоп имеет планарную конфигурацию без подвешенных резонансных механических структур, вследствие чего является устойчивым и ударопрочным.
Недостатком микро-электро-механического гироскопа является низкая точность и соответственно невозможность использования его для высокоточных применений вследствие того, что электроды ВШП чувствительного элемента колебаний ПАВ неизбирательно воспринимают изменения пьезоэлектрических потенциалов, возникающие при действии разнонаправленных сил Кориолиса, соответствующих разнонаправленным движениям частиц пьезоэлектрической пластины, участвующих в формировании ПАВ. Вышеизложенные факты приводят к снижению чувствительности и точности оценивания угловой скорости, что и является недостатками прототипа.
Задачей настоящего изобретения является повышение чувствительности и точности при измерениях угловой скорости вращения с использованием пьезоэлектрических устройств.
Техническим результатом является повышение точности и чувствительности измерений.
Технический результат достигается тем, что в электронном гироскопе, содержащем пьезопластину, на которую нанесены встречно-штыревые преобразователи и отражающие структуры драйвера поверхностных акустических волн, согласно изобретению за пределами встречно-штыревых преобразователей драйвера поверхностных акустических волн параллельно направлению распространения поверхностных акустических волн дополнительно попарно, на расстояниях, между двумя соседними парами электродов, не меньших половины периода поверхностных акустических волн, размещены электроды чувствительного элемента разности потенциалов, по одному электроду каждой пары у одного из противоположных краев пьезопластины, причем те из электродов каждой пары, которые находятся ближе к одному и тому же краю пьезопластины, электрически соединены под слоем поглотителя акустических колебаний с одной и той же контактной шиной, а находящиеся в одной паре электроды размещены один напротив другого, но ближе к противоположным краям пьезопластины, выполненной из пьезоэлектрика или пьезополупроводника.
Драйвер поверхностных акустических волн создает поверхностные акустические волны на поверхности пьезопластины, что является первичным вибрационным перемещением для этого гироскопа. Силы Кориолиса и первичные поверхностные акустические волны определяют вторичное вибрационное перемещение (вторичные поверхностные акустические волны) в направлении, ортогональном к направлению первичных поверхностных акустических волн. При этом силы Кориолиса, возникающие при наличии внешнего вращения основания гироскопа и приложенные к частицам пьезоэлектрика или пьезополупроводника, движущимся в одном направлении, противоположны по направлению силам Кориолиса, приложенным к другим частицам пьезоэлектрика или пьезополупроводника, в тот же момент времени на соседнем участке поверхностных акустических волн, движущимся в противоположном направлении.
В отличие от прототипа в электронном гироскопе измеряется не разность потенциалов, создаваемая под действием одновременно разнонаправленных сил Кориолиса всеми пучностями стоячей первичной ПАВ на электродах чувствительного элемента вторичной поверхностной акустической волны, а разность потенциалов, образованная под действием эффекта увлечения частиц пьезоэлектрика или пьезополупроводника одновременно однонаправленными силами Кориолиса, то есть при движении частиц пьезоэлектрика только вдоль тех участков первичной поверхностной акустической волны, которые находятся на расстояниях, кратных периоду поверхностных акустических волн, что позволяет повысить показатели чувствительности и точности при измерении угловой скорости пьезопластины.
Другим отличием от прототипа является то, что расстояния между электродами одной пары электродов чувствительного элемента разности потенциалов, образующими одну пару, примерно равны апертуре драйвера первичных поверхностных акустических волн, а не как у прототипа, у которого расстояния между электродами одной пары электродов встречно-штыревого преобразователя чувствительного элемента вторичной поверхностной акустической волны соответствуют четверти длины волны вторичной поверхностной акустической волны в той ее части, которая распространяется за пределами апертуры встречно-штыревого преобразователя драйвера первичных поверхностных акустических волн.
Технический результат достигается за счет того, что разности потенциалов вдоль одного из участков первичной поверхностной акустической волны образуются в некоторые моменты времени только под действием однонаправленных сил Кориолиса, что обеспечивает увеличение амплитуды совокупной разности потенциалов на контактных шинах и, тем самым, повышение точности и чувствительности измерений по сравнению с прототипом.
Проведенный заявителем анализ уровня техники установил, что аналоги, характеризующиеся совокупностями признаков, тождественным всем признакам заявленного устройства, отсутствуют, следовательно, заявленное изобретение соответствует условию “новизна”.
В настоящее время автору не известны гироскопы, которые имели бы такую высокую чувствительность и динамический диапазон, подходящий для многих промышленных применений, которые обеспечивает предлагаемая конструкция гироскопа.
Результаты поиска известных технических решений в данной и смежных областях техники с целью выявления признаков, совпадающих с отличительными от прототипов признаками заявленного изобретения, показали, что они не следуют явным образом из уровня техники.
Из определенного заявителем уровня техники не выявлена известность влияния предусматриваемых существенными признаками заявленного изобретения преобразований на достижение указанного технического результата, следовательно, заявленное изобретение соответствует “изобретательскому уровню”.
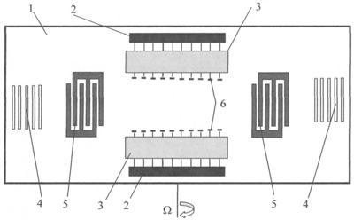
Сущность изобретения поясняется чертежом, где представлена схема электронного гироскопа.
Электронный гироскоп состоит из основания и выполненных на нем встречно-штыревых преобразователей и отражающих структур.
Основанием электронного гироскопа на ПАВ служит прямоугольная пьезопластина 1, выполненная из пьезоэлектрика или пьезополупроводника, например из кварца, ниобата лития или из CdS, CdSe, слоистой структуры LiNbO3 – Si соответственно [1].
На двух противоположных краях поверхности прямоугольной пьезопластины 1 в направлении распространения первичной ПАВ сформированы отражающие структуры 4 и ВШП 5 драйвера ПАВ, а в ортогональном направлении по обе стороны от апертуры драйвера ПАВ вдоль направления распространения первичной ПАВ сформированы электроды чувствительного элемента разности потенциалов 6, поглотители акустических колебаний 3 с контактными шинами 2 в соответствующей последовательности.
Отражающие структуры 4 расположены за ВШП 5 драйвера ПАВ, а электроды чувствительного элемента разности потенциалов 6, поглотители акустических колебаний 3 и контактные шины 2 – между другими двумя противоположными краями пьезопластины 1 вдоль направления распространения первичной ПАВ. Поглотители акустических колебаний 3 выполняют функции поглощения ПАВ так, чтобы поверхность пьезопластины 1 за поглотителями акустических колебаний была нечувствительной к ПАВ, создаваемым ВШП 5 драйвера ПАВ, что позволяет аккумулировать на одной контактной шине потенциалы, одновременно сформированные на электродах чувствительного элемента разности потенциалов 6 под действием сил Кориолиса одного направления.
Устройство работает следующим образом. На ВШП 5 драйвера ПАВ от внешнего генератора (не показан) подается электрический сигнал с заданной частотой. Если пьезопластина 1 выполнена из ниобата лития, то электрический сигнал может иметь частоту около 1 ГГц.
Первичные ПАВ создаются на пьезопластине 1 встречно-штыревыми преобразователями 5 драйвера ПАВ и отражающими структурами 4. Поверхностные акустические волны распространяются по пьезопластине 1 в области, ограниченной поглотителями акустических колебаний 3. Распространяясь дальше, первичная ПАВ взаимодействует с отражающими структурами 4.
При появлении внешнего вращения основания гироскопа к вибрирующим заряженным частицам материала пластины пьезоэлектрика 1 прикладываются силы Кориолиса. Напряжение на контактных шинах обусловлено поперечным акустоэлектрическим эффектом, возникающим под действием сил Кориолиса [3].
В результате действия сил Кориолиса вибрирующие заряженные частицы материала пластины пьезоэлектрика 1 смещаются в направлении действия силы Кориолиса, изменяя распределение электрического потенциала. Так возникает разность потенциалов между электродами чувствительного элемента разности потенциалов 6, размещенными у противоположных краев пластины пьезоэлектрика.
Вибрирующие частицы материала пластины пьезоэлектрика 1, смещенные вследствие действия сил Кориолиса, через электроды 6 изменяют потенциалы на контактных шинах 2. Разность потенциалов между контактными шинами 2 является высокочастотным сигналом и может быть измерена, например, анализатором спектра [1].
Для обеспечения возможности суммирования на контактных шинах 2 разностей потенциалов одного знака между электродами 6 и контактными шинами 2 наносится слой поглотителя акустических колебаний 3 или контактные шины размещаются на ребрах жесткости (не показаны), нечувствительных к колебаниям поверхности пьезоэлектрической пластины. В качестве поглотителя акустических колебаний 3 могут использоваться резиноподобные клеи различных марок.
По разности потенциалов между контактными шинами 2 судят о величине угловой скорости вращения пластины пьезоэлектрика 1. Угловую скорость определяют, например, по градуировочной характеристике гироскопа. При отсутствии внешнего вращения основания гироскопа силы Кориолиса не возникают, поэтому не возникает и разность потенциалов между контактными шинами 2, которая в этом случае практически равна нулю.
Таким образом, приведенные сведения доказывают, что при осуществлении заявленного изобретения выполнены следующие условия:
– средство, воплощающее устройство-изобретение при его осуществлении, предназначено для использования в приборостроении, а именно в системах навигации динамических объектов, в системах управления, в том числе в автомобильной промышленности и робототехнике;
– для заявленного изобретения в том виде, как оно охарактеризовано в независимом пункте формулы изобретения, подтверждена возможность его осуществления с помощью описанных и других известных до даты подачи заявки средств;
– средство, воплощающее заявленное изобретение при его осуществлении, способно обеспечить получение указанного технического результата.
Следовательно, заявленное изобретение соответствует условию патентоспособности “промышленная применимость”.
Источники информации
1. Морган Д. Устройства обработки сигналов на поверхностных акустических волнах / Пер. с англ. М.: Радио и связь, 1990.
2. Физическая акустика / Под ред. У.Мэзона. М.: Мир, 1969.
3. Кмита А.М., Медведь А.В. Поперечный акустоэлектрический эффект в слоистой структуре LiNbO3 – Si. “Письма ЖТФ”б, 1971, т.14, в.8, с.455.
Формула изобретения
1. Электронный гироскоп, содержащий пьезопластину, на которую нанесены встречно-штыревые преобразователи и отражающие структуры драйвера поверхностных акустических волн, отличающийся тем, что за пределами встречно-штыревых преобразователей драйвера поверхностных акустических волн параллельно направлению распространения поверхностных акустических волн дополнительно попарно, на расстояниях между двумя соседними парами электродов, не меньших половины периода поверхностных акустических волн, размещены электроды чувствительного элемента разности потенциалов, по одному электроду каждой пары у одного из противоположных краев пьезопластины, причем те из электродов каждой пары, которые находятся ближе к одному и тому же краю пьезопластины, электрически соединены под слоем поглотителя акустических колебаний с одной и той же контактной шиной, а находящиеся в одной паре электроды размещены один против другого, но ближе к противоположным краям пьезопластины.
2. Электронный гироскоп по п.1, отличающийся тем, что контактные шины размещены на ребрах жесткости, находящихся на краях пьезопластины и параллельных основному направлению распространения поверхностных акустических волн.
РИСУНКИ
|
|