|
|
(21), (22) Заявка: 2008119648/28, 20.05.2008
(24) Дата начала отсчета срока действия патента:
20.05.2008
(46) Опубликовано: 27.05.2009
(56) Список документов, цитированных в отчете о поиске:
ФИЗИЧЕСКИЙ ЭНЦИКЛОПЕДИЧЕСКИЙ СЛОВАРЬ. – М. Советская энциклопедия, 1983, c.126-127. US 4497213 А, 05.02.1985. GB 719957 А, 08.12.1954. RU 2000501 C, 07.09.1993.
Адрес для переписки:
105203, Москва, ул. Первомайская, 100, кв.132, Б.Ф. Кочеткову
|
(72) Автор(ы):
Кочетков Борис Федорович (RU)
(73) Патентообладатель(и):
Кочетков Борис Федорович (RU)
|
(54) ГИРОСКОПИЧЕСКОЕ УСТРОЙСТВО
(57) Реферат:
Изобретение относится к гироскопическим устройствам. Устройство содержит основание 1 с опорой 2 для оси 3 и размещенный на оси ротор 4, обладающий способностью сохранять направление линии оси O-O собственного вращения. При вынужденном вращении 1 основания на опору со стороны ротора действует перпендикулярно к оси O-O гироскопическая сила F. В опоре, выполненной в виде стойки, закреплен один конец оси с образованием кронштейна, несущего ротор с возможностью вращения на своем подшипнике 5. Опора выполнена с изгибом 6, обеспечивающим размещение на одной прямой линии А-А центра масс 7 ротора, подшипника 5, центральной точки 8 соединения опоры с основанием, при этом гироскопическая сила со стороны ротора совпадает по направлению с указанной прямой линией А-А. Плечи для гироскопической силы отсутствуют, что исключает возможность создания пары сил и упрощает соединение неподвижной оси ротора с ее опорой. 2 з.п. ф-лы, 1 ил.
Изобретение относится к гироскопическим устройствам. Может быть применено преимущественно на средствах передвижения, содержащих устройства с применением гироскопов, в том числе оснащенных массивными роторами.
Известен гироскоп, содержащий ротор, ось которого может изменять свое направление в пространстве, что обеспечивается применением карданного подвеса из последовательно размещенных кожухов в виде колец или рамок, опирающихся на цапфы осей и подшипники (см. “Политехнический словарь” под ред. А.Ю.Ишлинского. M., Советская энциклопедия, стр.122) (далее – ПС).
Известен также гироскоп, содержащий основание с опорами для концов оси и размещенный на середине оси ротор, обладающий способностью сохранять направление линии оси собственного вращения. При вынужденном вращении основания на противостоящие опоры со стороны ротора действует перпендикулярно к оси противоположно направленная пара гироскопических сил (см. “Физический энциклопедический словарь” под ред. А.М.Прохорова, М., Советская энциклопедия, стр.126/3. (далее – Словарь).
Недостатками указанных гироскопов является то, что действующая со стороны ротора пара гироскопических сил оказывает давление на опоры оси и основание гироскопа в целом в противоположных направлениях, что усложняет устройство гироскопа, уменьшает надежность его функционирования, особенно при применении массивных роторов, и приводит к необходимости учитывать характер действия этих противоположно направленных сил при соответствующих инженерных расчетах (см. Словарь, стр.126/3, 127/1).
Предлагаемое изобретение позволяет получить технический результат, заключающийся в применении для ротора только одной опоры с подшипником и размещении центра масс ротора, подшипника и центра соединения опоры с основанием на одной прямой линии, совпадающей с направлением созданной со стороны ротора гироскопической силой. Это исключает характерное для известных гироскопов проявление плеча силы и создание пары сил, действующих на подшипники оси в противоположных направлениях. Упрощается соединение неподвижной оси ротора с ее опорой, облегчается применение массивного ротора и расширяется область применения гироскопического устройства.
Указанный технический результат достигается тем, что гироскопическое устройство содержит основание с опорой для оси и размещенный на оси ротор, обладающий способностью сохранять направление линии оси собственного вращения. При вынужденном вращении основания на опору со стороны ротора действует перпендикулярно к оси гироскопическая сила. Согласно изобретению в опоре, выполненной в виде стойки, закреплен один конец оси с образованием кронштейна, несущего ротор с возможностью вращения на своем подшипнике. Опора выполнена с изгибом, обеспечивающим размещение на одной прямой линии ра масс ротора, подшипника и центральной точки соединения опоры с основанием. При этом гироскопическая сила со стороны ротора совпадает по направлению с указанной прямой линией.
Как вариант устройства, на боковой поверхности ротора с противоположной стороны от опоры имеется соосный ротору конический зубчатый венец, входящий в постоянное зацепление с закрепленным на валу привода коническим зубчатым ведущим колесом. Линия оси вала привода перпендикулярна линии оси ротора.
Как вариант исполнения, ротор гироскопического устройства выполнен в виде ротора быстроходного электромотора.
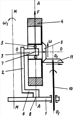
На приведенном чертеже дан общий вид гироскопического устройства с изображением ротора в разрезе фронтальной плоскостью по линии оси О-О ротора с показом вращения ротора, а также возможного вынужденного вращения основания 1 вокруг линии оси М-М, приводящего к возникновению гироскопической силы F.
Гироскопическое устройство содержит основание 1 с опорой 2 для оси 3 и размещенный на оси ротор 4, обладающий способностью сохранять направление линии оси собственного вращения. При вынужденном вращении 1 основания 1 на опору 2 со стороны ротора 4 действует перпендикулярно к оси О-О гироскопическая сила F. В опоре 2, выполненной в виде стойки, закреплен один конец оси 3 с образованием кронштейна, несущего ротор с возможностью вращения на своем подшипнике 5. Опора 2 выполнена с изгибом 6, обеспечивающим размещение на одной прямой линии А-А центра масс 7 ротора, подшипника 5 и центральной точки 8 соединения опоры 2 с основанием 1. При этом гироскопическая сила F со стороны ротора совпадает по направлению с указанной прямой линией А-А.
Как вариант исполнения, на боковой поверхности ротора 4 с противоположной стороны от опоры 2 имеется соосный ротору конический зубчатый венец 9, входящий в постоянное зацепление с закрепленным на валу привода 10 коническим зубчатым ведущим колесом 11. Линия оси О1-О1 вала привода 10 перпендикулярна линии оси О-О ротора.
Как вариант исполнения, ротор 4 гироскопического устройства выполнен в виде ротора быстроходного электромотора.
Гироскопическое устройство работает следующим образом.
Определяющим условием функционирования гироскопического устройства является вращение ротора 4 с возможным вынужденным вращением 1 основания 1 вокруг линии оси М-М. При этом не имеют значения варианты устройства привода согласно пунктам 2 или 3 формулы изобретения. Выполнение ротора в виде составной части электромотора (п.3 формулы изобретения) каких-либо особых пояснений не требует в дополнение к приведенному ниже описанию работы с механическим приводом (п.2 формулы изобретения).
Вращающийся вал привода 10 приводит во вращение ротор 4 с использованием находящихся в постоянном зацеплении зубчатого ведущего колеса 11 и зубчатого венца 9 ротора. Опора 2 ротора имеет изгиб 6, что обеспечивает возможность размещения центра масс 7 ротора, его подшипника 5 и центральной точки соединения 8 опоры с основанием 1 на одной прямой линии А-А. При вынужденном вращении основания вокруг линии оси М-М, не совпадающей с направлением линии оси О-О ротора, со стороны ротора 4 на подшипник 5 и ось 3 будет действовать гироскопическая сила F, которая согласно известному свойству гироскопа стремится кратчайшим путем установить ось 3 ротора параллельно линии оси М-М, причем так, чтобы и вращение ротора и вынужденное вращение 1 основания были видны происходящими в одну и ту же сторону. Причем здесь рассматривается только действие сил без фактического перемещения оси 3, которая неподвижно закреплена в опоре 2. Известно, что центр масс любой механической системы, в том числе и ротора, проявляется как материальная точка, в которой сосредоточена масса всей системы и на которую действуют все силы, приложенные к системе (см. ПС, стр.585), Следовательно, и в предложенном гироскопическом устройстве возникающая гироскопическая сила F действует на центр масс 7 ротора. В связи с размещением центра масс 7 ротора, его подшипника 5 и центральной точки 8 соединения опоры 2 с основанием 1 на одной прямой линии А-А, здесь отсутствуют плечи для гироскопической силы F, что исключает возможность создания пары сил. Наличие вала привода 10 также не создает условия для возникновения пары сил, поскольку гироскопическая сила F направлена в противоположную сторону от этого вала, что исключает возможность действия указанной силы на этот вал. Помимо этого, в данном случае гироскопическая сила является уравновешивающей к силе тяжести ротора. На прилагаемом чертеже показано такое взаимодействие элементов гироскопического устройства.
Указанные отличия предложенного гироскопического устройства являются существенным преимуществом по сравнению с известными гироскопами, облегчают применение массивного ротора, расширяют область возможного применения гироскопического устройства и обеспечивают достижение заданного технического результата.
Формула изобретения
1. Гироскопическое устройство, содержащее основание с опорой для оси и размещенный на оси ротор, обладающий способностью сохранять направление линии оси собственного вращения, при вынужденном вращении основания на опору со стороны ротора действует перпендикулярно к оси гироскопическая сила, отличающееся тем, что в опоре, выполненной в виде стойки, закреплен один конец оси с образованием кронштейна, несущего ротор с возможностью вращения на своем подшипнике, опора выполнена с изгибом, обеспечивающим размещение на одной прямой линии центра масс ротора, подшипника и центральной точки соединения опоры с основанием, при этом гироскопическая сила со стороны ротора совпадает по направлению с указанной прямой линией.
2. Гироскопическое устройство по п.1, отличающееся тем, что, как вариант исполнения, на боковой поверхности ротора с противоположной стороны от опоры имеется соосный ротору конический зубчатый венец, входящий в постоянное зацепление с закрепленным на валу привода коническим зубчатым ведущим колесом, линия оси вала привода перпендикулярна линии оси ротора.
3. Гироскопическое устройство по п.1, отличающееся тем, что, как вариант исполнения, ротор гироскопического устройства выполнен в виде ротора быстроходного электромотора.
РИСУНКИ
|
|