|
|
(21), (22) Заявка: 2008117831/28, 07.05.2008
(24) Дата начала отсчета срока действия патента:
07.05.2008
(46) Опубликовано: 27.05.2009
(56) Список документов, цитированных в отчете о поиске:
ФИЗИЧЕСКИЙ ЭНЦИКЛОПЕДИЧЕСКИЙ СЛОВАРЬ. – М. Советская энциклопедия, 1983, с.126-127. SU 1368460 А1, 23.01.1986. SU 1004185 А, 25.03.1983. SU 1821584 А1, 15.06.1993. GB 1357896 A, 26.06.1974.
Адрес для переписки:
105203, Москва, ул. Первомайская, 100, кв.132, Б.Ф. Кочеткову
|
(72) Автор(ы):
Кочетков Борис Федорович (RU)
(73) Патентообладатель(и):
Кочетков Борис Федорович (RU)
|
(54) ГИРОСКОПИЧЕСКОЕ УСТРОЙСТВО
(57) Реферат:
Изобретение относится к гироскопическим устройствам и может быть использовано на транспортных средствах. Устройство содержит два одинаковых ротора IA и IB, размещенных соосно между опорами 2 на одной общей оси 3 каждый на своем подшипнике 4. Опоры выполнены в виде стоек, неподвижно закрепленных на основании 5 гироскопического устройства. На боковых поверхностях роторов, обращенных друг к другу, имеются соосные конические зубчатые венцы 6, входящие в постоянное зацепление с закрепленным на валу привода 7 коническим зубчатым ведущим колесом 8 с диаметрально противоположных его сторон с обеспечением при этом возможности вращения роторов на оси в противоположных направлениях A и B относительно друг друга. Линия оси вала привода OI-OI перпендикулярна линии оси роторов O-O. Каждый из роторов размещен на оси на разном расстоянии от противостоящих опор, что определяет разную по величине действия каждой из гироскопических сил FA и FB на каждую из опор. Равнодействующие F указанных гироскопических сил со стороны обоих роторов относительно каждой из опор и основания в целом одинаковы по величине и направлению. При этом облегчается возможность применения в гироскопическом устройстве массивных роторов. 1 з.п. ф-лы, 1 ил.
Изобретение относится к гироскопическим устройствам. Может быть применено преимущественно на средствах передвижения, содержащих устройства с применением гироскопов, в той числе оснащенных массивными роторами.
Известен гироскоп, содержавши ротор, ось которого может изменять свое направление в пространстве, что обеспечивается применением карданного подвеса из последовательно размещенных кожухов в виде колец или рамок, опирающихся на цапфы осей и подшипники (см. “Политехнический словарь под ред. А.Ю.Ишлинского, изд. “Советская энциклопедия”, М., – 1980, стр.122).
Известен также гироскоп, содержащий основание с опорами для концов оси и размещенный на середине оси ротор, обладающий способностью сохранять направление линий оси собственного вращения. При вынужденном вращении основания на противостоящие опоры ее стороны ротора действует перпендикулярно к оси противоположно направленная пара гироскопических сил (см. “Физический энциклопедический словарь” под ред. А.М.Прохорова, М., “Советская энциклопедия”, стр.126/3). (далее – Словарь).
Недостатками указанных гироскопов является то, что действующая со стороны ротора пара гироскопических сил воздействует на опоры оси и основание гироскопа в целом в противоположных направлениях, что усложняет устройство гироскопа, уменьшает надежность его функционирования, особенно при применении массивных роторов, и приводит к необходимости учитывать характер действия этих противоположно направленных сил при соответствующих инжерных расчетах (см. Словарь, стр.126/3, с.127/1).
Предлагаемое изобретение позволяет получить технический результат, заключающийся в создании гироскопическим устройством разных по величине и направлению гироскопических сил со стороны двух роторов, частично противодействующих друг другу на каждой из опор. При этом на обе опоры действуют одинаковые по величине и направлению равнодействующие указанных гироскопических сил, что упрощает соединение оси роторов с опорами и основанием гироскопического устройства в целом, повышает надежность функционирования гироскопического устройства, особенно при применении массивных роторов.
Указанный технический результат достигается тем, что применяют гироскопическое устройство, содержащее основание с опорами для концов оси и размещенный на оси ротор, обладающий способностью сохранять направление линии оси собственного вращения, при вынужденном вращении основания на противостоящие опоры со стороны ротора действуют противоположно направленные перпендикулярно к оси гироскопические силы. Согласно изобретению в гироскопическом устройстве применяют два одинаковых ротора, размещенных между опорами на одной общей оси каждый на своем подшипнике. На боковых поверхностях роторов, обращенных друг к другу, имеются соосные конические зубчатые венцы, входящие в постоянное зацепление с закрепленным на валу привода коническим зубчатым ведущим колесом с диаметрально противоположных его сторон с обеспечением при этом возможности вращения роторов на оси в противоположных направлениях относительно друг друга. Линия оси вала привода перпендикулярна линии оси роторов. Равнодействующие гироскопических сил со стороны обоих роторов относительно каждой из опор и основания в целом одинаковы по величине к направлений.
Каждый из роторов гироскопического устройства находится на оси на равном расстоянии от противостоящих опор, при этом части оси от каждого из роторов до разных противостоящих опор являются разными по длине плечами гироскопических сил, определяющими величину воздействия этих сил на каждую из опор.
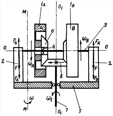
На приведенном чертеже дан общий вид гироскопического устройства с изображением одного из роторов в разрезе фронтальной плоскостью по линии оси О-О роторов, с показом вращения роторов А и В и вала привода 1, а также направления векторов действующих на опоры со стороны роторов IА и IВ соответствующих гироскопических сил FА и FВ и векторов равнодействующих F этих сил.
Гироскопическое устройство содержит два одинаковых ротора IА и IВ, размещенных соосно между опорами 2 на одной общей оси 3 каждый на своем подшипнике 4. Опоры 2 выполнены в виде стоек, неподвижно закрепленных на основании 5 гироскопического устройства. На боковых поверхностях роторов, обращенных друг к другу, имеются соосные конические зубчатые венцы 6, входящие в постоянное зацепление с закрепленным на валу привода 7 коническим зубчатым ведущим колесом 8 с диаметрально противоположных его сторон с обеспечением при этом возможности вращения роторов IА и IВ на оси 3 в противоположных направлениях А и В относительно друг друга.
Линия оси вала привода OI-ОI перпендикулярна линии оси роторов O-O. Равнодействующие F гироскопических сил FА и FВ со стороны обоих роторов IА и IВ относительно каждой из опор 2 и основания 5 в целом одинаковы по величине и направлению.
Каждый из роторов IА и IВ размещен на оси 3 на разном расстоянии от противостоящих опор 2. При этом части оси 3 от каждого из роторов до разных противостоящих опор являются разными по длине плечами действующих со стороны роторов гироскопических FА и FВ, что определяет разную по величине действия каждой из этих сил на каждую из опор.
Гироскопическое устройство работает следующим образом.
Вращающийся вал привода 7 приводит во вращение соосно закрепленное на нем коническое ведущее колесо 8, с которым с диаметрально противоположных его сторон находятся в постоянном зацеплении зубчатые венцы 6 роторов, что обеспечивает вращение А и В роторов IA и IB на своих подшипниках 4 в противоположных направлениях относительно друг друга. Если при этом основанию 5 будет придано вынужденное вращение вокруг линии оси ММ, то со стороны каждого из вращающихся в противоположных направлениях роторов IА и IВ будут действовать через ось 3 на каждую из опор 2 направленные в противоположные стороны соответствующие гироскопические силы FА и FВ. Величина этих сил у каждой опоры со стороны разных роторов различна по указанным ниже причинам, поэтому на каждой из опор они создают равнодействующие силы F, одинаковые по направлению и величине. Направление этих гироскопических сил у каждой из опор 2 определяется тем, что они стремятся кратчайшим путем установить ось 3 роторов параллельно линии оси ММ вынужденного вращения основания 5, причем так, чтобы и вращение роторов А и В и вынужденное вращение основания вокруг линии оси ММ были видны происходящими в одну и ту же сторону (см. Словарь, стр.126/3, рис 7 и рис.8). Причем здесь рассматривается только действие сил без фактического перемещения оси 3, которая неподвижно закреплена в опорах 2.
В связи с размещением на одной оси 3 одновременно двух разделенных промежутком роторов каждый из них находится на разном расстоянии от разных опор 2. Известно, что гироскопические силы действуют на опоры со стороны ротора гироскопа (см. Словарь, второй абзац на стр.126/3). В связи с этим имеющие разную длину части оси от каждого ротора до каждой из опор являются плечами для гироскопических сил, действующих со стороны каждого из роторов. Согласно известному правилу рычага действующие на его концы силы обратно пропорциональны по величине длине плеча действия каждой из этих сил. Исходя из этого, со стороны каждого из роторов IА и IВ на разные опоры 2 будут одновременно действовать разные по величине и противоположно направленные перпендикулярно оси 3 в месте ее соединения с опорой 2 соответствующие гироскопические силы FА – от ротора IА и FВ – от ротора IВ, что позволяет выявить их равнодействующие силы F, одинаковые по величине и направлению их действия на каждую из опор 2. На приведенном чертеже указанные гироскопические силы FA и FB и их равнодействующие силы F изображены соответствующими векторами.
Достижение заявленного изобретением технического результата обеспечивается действием на каждую из опор 2 разных по величине и противоположно направленных гироскопических сил FA и FB от обоих роторов IА и IВ. Равнодействующие F этих сил по их воздействию на опоры 2 и основание 5 в целой одинаковы по величине и направлению, что упрощает соединение неподвижной оси роторов с ее опорами и основанием. Это является существенным преимуществом для гироскопических устройств, в том числе оснащенных пассивными роторами.
Формула изобретения
1. Гироскопическое устройство, содержащее основание с опорами для концов оси размещенный оси ротор, обладающий способностью сохранять направление линии оси собственного вращения, при вынужденном вращении основания на противостоящие опоры со стороны ротора действуют противоположно направленные перпендикулярно к оси гироскопические силы, отличающееся тем, что применяют два одинаковых ротора, размещенных между опорами на одной общей оси каждый на своем подшипнике, на боковых поверхностях роторов, обращенных друг к другу, имеются соосные конические зубчатые венцы, входящие в постоянное зацепление с закрепленными на валу привода коническим зубчатым ведущим колесом с диаметрально противоположных его сторон с обеспечением при этом возможности вращения роторов на оси в противоположных направлениях относительно друг друга, линия оси вала привода перпендикулярно линии оси роторов, равнодействующие гироскопических сил со стороны обоих роторов относительно каждой из опор и основания в целом одинаковы по величине и направлению.
2. Гироскопическое устройство по п.1, отличающееся тем, что каждый из роторов находится на оси на разном расстоянии от противостоящих опор, при этом части оси от каждого из роторов до разных противостоящих опор являются разными по длине плечами гороскопических сил, определяющими величину воздействия этих сил на каждую из опор.
РИСУНКИ
|
|