|
|
(21), (22) Заявка: 2007148293/28, 24.12.2007
(24) Дата начала отсчета срока действия патента:
24.12.2007
(46) Опубликовано: 27.05.2009
(56) Список документов, цитированных в отчете о поиске:
WO 2006022570 А1, 02.03.2006. DE 19937809 А1, 15.02.2001. RU 2166182 С2, 27.04.2001. JP 59005911 А, 12.01.1984. WO 200413915 А1, 12.02.2004. SU 1467388 А1, 23.03.1989. JP 6294682 А, 21.10.1994.
Адрес для переписки:
426067, г.Ижевск, ул. Т. Барамзиной, 34, Институт прикладной механики УрО РАН
|
(72) Автор(ы):
Михеев Геннадий Михайлович (RU), Зонов Руслан Геннадьевич (RU), Могилёва Татьяна Николаевна (RU), Стяпшин Василий Михайлович (RU)
(73) Патентообладатель(и):
Институт прикладной механики УрО РАН (RU)
|
(54) ОПТОЭЛЕКТРОННЫЙ ДАТЧИК УГЛОВОГО ПОЛОЖЕНИЯ
(57) Реферат:
Оптоэлектронный датчик углового положения включает в себя импульсный источник света; фотоприемник, выполненный из нанографитной пленки и двух пар электродов, и устройство обработки электрических сигналов, снимаемых с указанных электродов. При этом поверх нанографитной пленки нанесен тонкий слой прозрачной смачивающей жидкости с электропроводностью, значительно меньшей электропроводности нанографитной пленки. Слой жидкости герметично закрыт крышкой из прозрачного материала, плотно прилегающей к поверхности жидкости. Технический результат – увеличение диапазона измеряемых углов оптоэлектронным датчиком углового положения. 1 з.п. ф-лы, 3 ил.
Изобретение относится к измерительной и навигационной технике, в частности к устройствам для определения угловой ориентации объектов в пространстве. Устройство по данному изобретению может быть использовано для определения угловых перемещений объектов в пространстве, в системах наведения и для юстировки взаимного расположения объектов, частей различных устройств и приборов.
Известен интерференционный способ измерения угла поворота объекта [патент RU 2166182 C2, 27.07.1998, G01B 9/02]. Он осуществляется следующим образом. Монохроматическим пучком излучения одновременно освещают опорный отражатель и измерительный отражатель, связанный с контролируемым объектом. Многоэлементный фотоприемник регистрирует интерференционную картину, образованную пучками, отраженными от опорного и измерительного отражателей, осуществляет фотоэлектрическое преобразование ее в выходной сигнал. После обработки этого сигнала определяется угловое положение объекта.
Однако когерентность интерферирующих пучков налагает определенные ограничения: необходимы лазерные источники излучения, обеспечивающие высокую временную когерентность; необходимо высококачественное отражение от объекта, обеспечивающее высокую пространственную когерентность. Кроме этого такой способ позволяет измерять весьма малые углы.
Известно также устройство, в котором изображение объекта фокусируется с помощью линзы на координатно-чувствительный фотоприемник и далее после анализа сфокусированного изображения с помощью средств вычислительной техники определяется угол наклона [патент US 5196900, 23.03.1993, G01B 11/26]. Фоточувствительными элементами могут быть, например, ПЗС-матрицы или приборы с инжекцией заряда.
Однако с помощью такого устройства затруднительно измерение угла наклона протяженных объектов. Другим недостатком данного устройства является его инерционность, обусловленная временем, необходимым на снятие сигнала с ПЗС-матрицы и его обработку, что затрудняет использование устройства для высокоскоростного определения быстроменяющихся углов.
Наиболее близким к изобретению по технической сущности является устройство для определения угловых перемещений объектов в пространстве [заявка WO 2006022570 A1, 2.03.2006, G01B 11/26], содержащее импульсный источник света, фотоприемник, выполненный из нанографитной пленки и двух пар электродов, и устройство обработки электрических сигналов, снимаемых с указанных электродов.
Пучок линейно поляризованного импульсного излучения от лазерного источника попадает на фотоприемник, закрепленный на контролируемом объекте. Импульсное оптическое излучение, попадающее на поверхность пленки, наводит статическую нелинейную поляризацию, определяемую квадратичной нелинейной восприимчивостью материала пленки. В результате между параллельными электродами каждой пары возникает импульсное электрическое напряжение, форма которого повторяет огибающую лазерного импульса, а величина зависит от углового положения объекта относительно пучка лазера. По амплитуде напряжения, снимаемого с каждой пары электродов, блок обработки определяет взаимное угловое положение лазера и фотоприемника.
Недостатком данного устройства является то, что однозначное определение угловой координаты может производиться только в диапазоне углов падения излучения лазера на фотоприемник от -45° до +45°.
Задача изобретения – увеличение диапазона измеряемых углов оптоэлектронным датчиком углового положения.
Поставленная задача решается тем, что поверх нанографитной пленки нанесен тонкий слой прозрачной смачивающей жидкости с электропроводностью, значительно меньшей электропроводности нанографитной пленки.
Возможно применение крышки из прозрачного материала, герметично закрывающей слой жидкости, плотно прилегающей к поверхности жидкости.
Техническим результатом является увеличение диапазона измеряемых углов.
Краткое описание чертежей
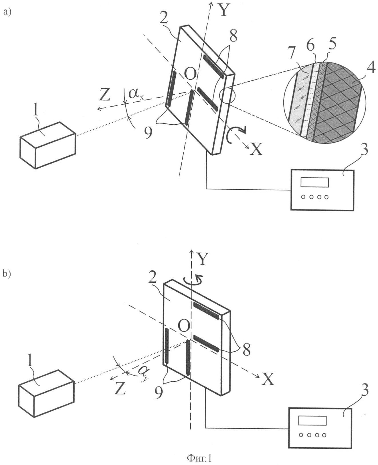
Фиг.1 показывает трехмерные изображения оптоэлектронного устройства согласно пунктам 1 и 2 изобретения при отклонении поверхности фотоприемника на некоторый угол х 0 вокруг оси ОХ при у=0 (фиг.1а) и на угол у 0 вокруг оси OY при х=0 (фиг.1b). 1 – импульсный источник света; 2 – фотоприемник; 3 – устройство обработки электрических сигналов; 4 – подложка; 5 – нанографитная пленка; 6 – жидкость; 7 – крышка; 8, 9 – пары взаимно перпендикулярных электродов; OZ – нормаль к поверхности пленки.
Фиг.2 показывает ход луча, падающего на фотоприемник, покрытый жидкостью (без крышки из прозрачного материала).
Фиг.3 показывает зависимость амплитуды оптоэлектрического сигнала U от угла падения на поверхность нанографитной пленки импульсного лазерного излучения длительностью 20 нс без слоя смачивающей жидкости (кривая 7) и со слоем смачивающей жидкости (кривая 2), нормированную относительно максимального значения U0.
Раскрытие изобретения
Оптоэлектронный датчик углового положения (фиг.1) согласно данному изобретению состоит из импульсного источника света 1; фотоприемника 2, выполненного в виде нанографитной пленки 5, обладающей свойством оптического выпрямления и нанесенной на подложку 4 с двумя парами 8 и 9 электродов, имеющих электрический контакт с поверхностью пленки; устройства обработки электрических сигналов 3, снимаемых с указанных электродов. Нанографитная пленка покрыта слоем прозрачной смачивающей жидкости 6.
Предпочтительным является использование крышки из прозрачного материала 7, которая плотно прилегает к поверхности жидкости и герметично ее закрывает.
Оптоэлектронный датчик углового положения работает следующим образом.
Работа оптоэлектронного датчика углового положения при отсутствии жидкости описана в заявке WO 2006022570 A1. Пучок линейно поляризованного импульсного излучения от лазерного источника света 1 попадает на фотоприемник 2, состоящий из подложки 4, нанографитной пленки 5, тонкого слоя прозрачной смачивающей жидкости 6 с электропроводностью, значительно меньшей электропроводности нанографитной пленки, и крышки из прозрачного материала 7, закрепленный на контролируемом объекте, с нанесенными на нем двумя парами 8 и 9 электродов. Электроды из каждой пары параллельны друг другу, а электроды из различных пар расположены взаимно перпендикулярно. Первая и вторая пары электродов могут быть размещены в различных электрически изолированных или физически разделенных частях фотоприемника. Импульсное оптическое излучение достаточной мощности, попадающее на поверхность пленки, наводит статическую нелинейную поляризацию, определяемую квадратичной нелинейной восприимчивостью материала пленки. В результате между параллельными электродами каждой пары 8 или 9 возникает импульсное электрическое напряжение, форма которого повторяет огибающую лазерного импульса, а величина зависит от углового положения объекта относительно пучка лазера. Этот эффект известен, как эффект оптического выпрямления. Зависимость амплитуды измеряемого сигнала U от угла падения , нормированная относительно максимального значения U0, имеет форму кривой l, изображенной на фиг.3. Выберем прямоугольную систему координат XYZ, связанную с поверхностью фотоприемника и имеющую, например (фиг.1а), ось ОХ, расположенную параллельно электродам 8 и перпендикулярно электродам 9, соответственно. Тогда при повороте плоскости фотоприемника вокруг оси ОХ на угол х при y=0 импульсный электрический сигнал возникает между электродами пары 8, а при повороте плоскости фотоприемника вокруг оси OY (фиг.1b) на угол y при x=0, импульсный электрический сигнал возникает между электродами пары 9. Причем, величина возникающей разности потенциалов на различных парах электродов соответствует угловому отклонению объекта в перпендикулярных плоскостях. Далее напряжение с электродов поступает в устройство обработки сигнала, которое выдает информацию об угловой ориентации объекта. Но, как видно из кривой l на фиг.3, однозначное определение угловой координаты возможно лишь в диапазоне от -45° до +45°, где амплитуда сигнала изменяется монотонно.
Для увеличения рабочего диапазона датчика углового положения на нанографитную пленку наносится тонкий слой прозрачной смачивающей жидкости с электропроводностью, значительно меньшей электропроводности нанографитной пленки. Смачивание необходимо для устранения воздушной прослойки между жидкостью и пленкой, а низкая электропроводность требуется для предотвращения шунтирования возникающей при облучении нанографитной пленки разности потенциалов через жидкость.
В результате преломления в жидкости (фиг.2) угол падения излучения непосредственно на нанографитную пленку будет отличаться в общем случае от угла падения излучения на фотоприемник . Это в свою очередь приведет к изменению зависимости амплитуды измеряемого сигнала U (нормированной относительно максимального значения U0) от угла падения . Если в качестве жидкости использовать этиловый спирт, то такая зависимость будет иметь форму кривой 2, изображенной на фиг.3. Видно, что в таком случае диапазон углов падения излучения на фотоприемник, в котором амплитуда электрического сигнала изменяется монотонно, существенно возрастает. Для этилового спирта эти углы лежат в диапазоне от -64° до +64°. Таким образом, достигается увеличение диапазона измеряемых углов оптоэлектронным датчиком углового положения.
Формула изобретения
1. Оптоэлектронный датчик углового положения, включающий в себя импульсный источник света; фотоприемник, выполненный из нанографитной пленки и двух пар электродов и устройство обработки электрических сигналов, снимаемых с указанных электродов, отличающийся тем, что поверх нанографитной пленки нанесен тонкий слой прозрачной смачивающей жидкости с электропроводностью значительно меньшей электропроводности нанографитной пленки.
2. Оптоэлектронный датчик угла по п.1, отличающийся тем, что слой жидкости герметично закрыт крышкой из прозрачного материала, плотно прилегающей к поверхности жидкости.
РИСУНКИ
|
|