|
|
(21), (22) Заявка: 2006107915/02, 15.03.2006
(24) Дата начала отсчета срока действия патента:
15.03.2006
(43) Дата публикации заявки: 20.09.2007
(46) Опубликовано: 27.05.2009
(56) Список документов, цитированных в отчете о поиске:
RU 2262653 C1, 20.10.2005. RU 2194945 C1, 20.12.2002. DE 4010757 A, 01.08.1991. EA 1061 B1, 30.10.2000.
Адрес для переписки:
142210, Московская обл., г. Серпухов, а/я 351
|
(72) Автор(ы):
Царьков Алексей Николаевич (RU), Мартынов Сергей Владимирович (RU), Ситников Александр Петрович (RU)
(73) Патентообладатель(и):
ИНСТИТУТ ИНЖЕНЕРНОЙ ФИЗИКИ РФ (ИИФ РФ) (RU)
|
(54) СПОСОБ РАССНАРЯЖЕНИЯ БОЕПРИПАСОВ И УСТАНОВКА ДЛЯ ЕГО ОСУЩЕСТВЛЕНИЯ
(57) Реферат:
Группа изобретений относится к области расснаряжения боеприпасов и предназначена для извлечения зарядов взрывчатого вещества из корпуса боеприпасов. Для расснаряжения боеприпасов на поверхность заряда подают два потока гранул сухого льда. Периферийный поток организуют через тангенциальные отверстия, выполненные во вращающемся роторе, а центральный – через два диаметрально расположенных отверстия в осевой части ротора. Установка содержит вращающийся ротор, имеющий конические режущие кромки и, как минимум, два центрально расположенных и два тангенциальных отверстия для подачи гранул сухого льда на поверхность заряда. Изобретение повышает производительность процесса расснаряжения боеприпасов, расширяет номенклатуру обрабатываемых боеприпасов и обеспечивает возможность последующей переработки взрывчатого вещества. 2 н. и 2 з.п. ф-лы, 3 ил. 
Изобретение относится к области расснаряжения боеприпасов (БП) и предназначено для извлечения зарядов взрывчатого вещества (ВВ) из корпусов боеприпасов с последующей переработкой в промышленные ВВ.
Известен способ измельчения пожаровзрывоопасных материалов (ПВОМ) (патент РФ 2194945, F42B 33/06, 2001 г.). Способ заключается в том, что на поверхность заряда под углом 30-60° воздействуют струей смеси воздуха и прессованных до плотности 1,45 г/см3 гранул диоксида углерода (сухого льда), истекающих из ускоряющего насадка со скоростью более 300 м/с, причем ускоряющий насадок перемещают параллельно поверхности заряда по мере измельчения ПВОМ в крошку.
Данный способ осуществляется в известном из того же патента устройстве, содержащем привод вращения заряда, нагнетательное устройство, подающий трубопровод, на конце которого установлен ускоряющий насадок с возможностью вертикального и горизонтального перемещения от приводов, поддон для сбора измельченной крошки. Недостатком известного способа и установки является невозможность извлечения заряда ВВ из БП, диаметр горловины корпуса которых значительно меньше, чем калибр БП, и невозможность извлечения заряда ВВ из корпусов БП, не имеющих центрального канала, что обусловлено конструкцией ускоряющего насадка.
Известен способ расснаряжения боеприпасов по патенту DE 4010757 Cl, F42D 5/04, F42B 33/00, 04.04.1990, в котором одновременно на поверхность заряда взрывчатого вещества БП подают центральный и периферийный потоки воды и воздействуют режущим инструментом.
Недостатком известного способа является то, что под высоким давлением происходит разогрев воды выше 45°, что недопустимо при расснаряжении БП, корпуса которых заполнены алюминизированными гексогеносодержащими ВВ. Кроме того, режущий инструмент создает большое удельное давление на ВВ, что приводит к увеличению температуры ВВ выше допустимой нормы.
В качестве прототипа рассмотрен способ расснаряжения БП (патент РФ 2262653, F42B 33/06, 2005 г.), заключающийся в том, что на торцевую поверхность ВВ подают поток гранул сухого льда, одновременно подают центральный и периферийный потоки гранул сухого льда или одновременно подают центральный и периферийный потоки и воздействуют режущим инструментом, при этом периферийный поток гранул подают через кольцевое сопло.
В том же патенте описано и устройство, наиболее близкое к заявляемому. Известное устройство содержит устройство для дозирования и подачи гранул сухого льда и сопловый блок, который имеет корпус, вкладыш, закрепленный в корпусе с помощью подвесок, поджатых к корпусу фиксатором, при этом посредством корпуса, вкладыша и фиксатора образовано кольцевое сопло.
Недостатком прототипа является невысокая производительность процесса извлечения заряда ВВ.
Основной задачей, на решение которой направлены заявляемые способ и устройство для извлечения ВВ при расснаряжении БП с использованием в качестве абразива гранул сухого льда, является повышение производительности, извлечения ВВ с возможностью его последующей переработки в промышленные ВВ, а также расширение номенклатуры утилизируемых БП, в том числе артиллерийских, где горловина корпуса в несколько раз меньше, чем внутренний диаметр, и плотность заряда ВВ, особенно центрального столба, более 1,45 г/см3.
Технический результат, полученный от осуществления заявляемых способа и устройства, будет выражаться в снижении энергозатрат на процесс извлечения ВВ из заряда БП, стабильности и безопасности проведения технологического процесса извлечения.
Указанный технический результат достигается тем, что одновременно подают центральный и периферийный потоки гранул сухого льда или одновременно подают центральный и периферийный потоки гранул сухого льда и воздействуют режущим инструментом, при этом периферийный поток гранул сухого льда подают через два тангенциальных отверстия, расположенных диаметрально друг друга, находящихся во вращающемся роторе, а центральный поток гранул сухого льда подают через два диаметрально расположенных отверстия, которые выполнены в осевой части ротора. Поток гранул сухого льда к вращающемуся ротору подают через разгонный участок полой штанги, площадь поперечного сечения которого равна суммарной площади отверстий подачи потока сухого льда ротора. При этом условии скорость и давление потока гранул сухого льда сохраняется постоянной.
При плотности разрушаемого заряда ВВ выше 1,45 г/см3 на него дополнительно воздействуют режущим инструментом, что позволяет полностью разрушить заряд ВВ.
Указанный технический результат достигается также и тем, что в известной установке для расснаряжения БП, включающей устройство для дозирования и подачи гранул сухого льда и устройство для извлечения ВВ, согласно изобретению устройство для извлечения ВВ имеет корпус, запрессованный в него роликовый подшипник, внутренняя обойма которого связана с вращающимся ротором, фиксируемым гайкой с контргайкой. Корпус, кроме того, связан со штуцером крепления посредством резьбового соединения. Ротор, кроме того, снабжен на торце, обращенном к извлекаемому ВВ, режущими кромками с двумя продольными пазами для вывода извлеченного продукта, а на его центральной части выполнены конические режущие кромки, обращенные к заряду ВВ, два центральных и два тангенциальных отверстия.
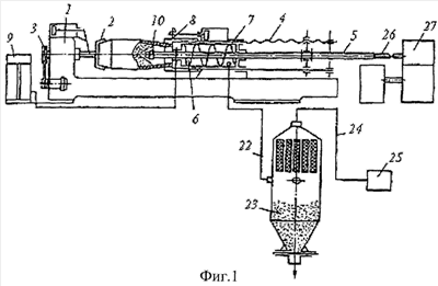
Сущность изобретения поясняется чертежами:
на фиг.1 показан общий вид установки;
на фиг.2 – расположение элементов устройства для извлечения ВВ установки;
на фиг.3 – расположение элементов в конструкции ротора – пазов и режущих кромок.
При плотности заряда ВВ меньше 1,45 г/см3 способ осуществляется следующим образом.
Из устройства дозирования и подачи гранулы сухого льда поступают через полую штангу с разгонным участком к устройству для извлечения ВВ, в роторе которого образованы два центральных и два тангенциальных отверстия, через них гранулы сухого льда одновременно подаются на поверхность заряда ВВ. Отверстия выполнены с постоянной площадью поперечного сечения по всей длине, что позволяет увеличить удельную нагрузку потока гранул сухого льда на поверхность заряда ВВ.
При плотности заряда ВВ больше 1,45 г/см3 способ осуществляется следующим образом.
Из устройства дозирования и подачи гранулы сухого льда поступают через полую штангу с разгонным участком к устройству для извлечения ВВ, в роторе которого образованы два центральных и два тангенциальных отверстия, через них гранулы сухого льда одновременно подаются на поверхность заряда ВВ. Отверстия выполнены с постоянной площадью поперечного сечения по всей длине, что позволяет увеличить удельную нагрузку потока гранул сухого льда на поверхность заряда ВВ.
В качестве режущего инструмента используют режущие кромки торца и конической части ротора.
Извлеченное ВВ через пазы ротора поступает в камеру для приема извлеченного ВВ.
Установка для расснаряжения БП содержит станину 1 (фиг.1), на которой смонтированы узел 2 крепления БП, привод 3 его вращения, привод 4 осевого перемещения полой штанги 5, камеру 6 приема, внутри которой установлена винтовая навивка 7 и датчик 8 температуры, который соединен с системой 9 управления.
На конце полой штанги 5 расположено устройство извлечения ВВ 10, состоящее из ротора 11 (фиг.2) с конической поверхностью 12, угол при вершине которой равен 90-120° и обращен вершиной в сторону извлекаемого ВВ.
Ротор 11 закреплен в корпусе 13 с помощью фиксирующей гайки 14 с контргайкой 15, при этом наружная поверхность вала ротора связана с внутренней обоймой роликового подшипника 16, а его наружная обойма запрессована в корпус 13. Корпус 13 связан посредством резьбового соединения со штуцером крепления 17.
Торцевая поверхность ротора 11, обращенная к извлекаемому продукту, имеет режущие поверхности 12, 18 (фиг.3).
Поток гранул сухого льда поступает к заряду ВВ через два центральных 19 и два тангенциальных отверстия 20 (фиг.2).
Полая штанга 5 выполнена с разгонным участком 18, который служит для приобретения потоком гранул сухого льда ламинарного течения и для увеличения их скорости перемещения. Для выхода извлеченного ВВ из-под соплового блока на торцевой поверхности ротора 11 имеются, как минимум, два продольных паза 21 (фиг.3).
Камера 6 для приема извлеченного ВВ соединена трубопроводом 22 с устройством 23 сбора и фильтрации, выполненным в виде центробежного осадителя с встроенным фильтром и соединенным трубопроводом 24 с вакуум-насосом 25. Полая штанга 5 гибким трубопроводом 26 соединена с устройством 27 дозирования и подачи гранул сухого льда.
Установка для расснаряжения БП работает следующим образом.
Подготовленный к расснаряжению БП устанавливается донной частью в узел 2 крепления. Со стороны горловины БП поджимается с помощью механизма поджима (не показан), соединенного с камерой 6 для приема извлеченного ВВ. Одновременно включается привод 3 вращения БП и устройство 27 дозирования и подачи гранул сухого льда, которые по трубопроводу 26 и полой штанге 5 подаются к устройству извлечения 10. Включается привод 4 осевого перемещения полой штанги 5, которые вместе с устройством извлечения 10 перемещаются в корпус БП с заданной скоростью. Производится измельчение заряда ВВ потоком гранул сухого льда, которые подаются на поверхность ВВ через два центральных 19 и два тангенциальных отверстия 20, при этом узел крепления 2 БП и ротор 11 устройства извлечения 10 вращаются навстречу друг другу. Если плотность заряда ВВ такова, что измельчение не осуществляется под воздействием гранул сухого льда, к нему подводится режущий инструмент – режущие поверхности 18 ротора 11. Режущие поверхности 12, 18 охлаждаются смесью воздуха и гранул сухого льда. Температура извлеченного ВВ контролируется датчиком 8.
Извлеченное из БП ВВ через пазы 21 ротора 11 направляется по трубопроводу 22 в устройство 23 сбора и фильтрации. Полая штанга 5 с устройством извлечения 10 отводится приводом 4 в исходное положение. На этом цикл заканчивается.
Использование этого изобретения позволит безопасно и экологически чисто с высокой производительностью утилизировать БП различного калибра без существенных ограничений по типу, материалу и корпусам зарядов ВВ.
Формула изобретения
1. Способ расснаряжения боеприпасов, в котором на поверхность заряда взрывчатого вещества одновременно подают центральный и периферийных потоки гранул сухого льда и воздействуют режущим инструментом, отличающийся тем, что периферийный поток гранул сухого льда подают через два тангенциальных отверстия, выполненных во вращающимся роторе, а центральный поток гранул сухого льда падают через два диаметрально расположенных отверстия, выполненных в осевой части ротора.
2. Способ по п.1, отличающийся тем, что боеприпас и ротор вращают навстречу друг другу.
3. Установка для расснаряжения боеприпасов, содержащая устройство извлечения взрывчатого вещества с отверстиями для подачи центрального и периферийного потоков гранул сухого льда на поверхность заряда взрывчатого вещества, отличающаяся тем, что она снабжена вращающимся ротором, имеющим конические режущие кромки, при этом на роторе выполнены, как минимум, два диаметрально расположенных центральных и два тангенциальных отверстия для подачи гранул сухого льда на поверхность заряда взрывчатого вещества.
4. Установка по п.3, отличающаяся тем, что корпус устройства извлечения взрывчатого вещества запрессован в роликовый подшипник, внутренняя обойма которого связана с вращающимся ротором, фиксируемым гайкой с контргайкой.
РИСУНКИ
|
|