|
|
(21), (22) Заявка: 2008107371/02, 26.02.2008
(24) Дата начала отсчета срока действия патента:
26.02.2008
(46) Опубликовано: 27.05.2009
(56) Список документов, цитированных в отчете о поиске:
RU 2262652 С2, 20.10.2005. RU 2131579 C1, 10.06.1999. US 1518920 А, 09.12.2004. DE 102004035959 A1, 16.02.2006.
Адрес для переписки:
152934, Ярославская обл., г. Рыбинск, ул. Крестовая, 100, а/я 19
|
(72) Автор(ы):
Голубев Сергей Юрьевич (RU)
(73) Патентообладатель(и):
Голубев Сергей Юрьевич (RU)
|
(54) ПУЛЯ
(57) Реферат:
Изобретение относится к боеприпасам гладкоствольного оружия, предназначенным для отстрела крупных диких животных. В пуле, содержащей головную и хвостовую части, приобретающей при выстреле поступательную скорость и вращательное движение вокруг своей оси, в хвостовой части выполнены отверстия, расположенные под углом к продольной оси и симметрично относительно поперечных осей пули, а снаружи хвостовой части выполнено углубление, в котором расположен пыж-контейнер. Повышается поражающее действие пули. 3 ил.
Изобретение относится к области оружейной техники, а именно к пулям гладкоствольного оружия, предназначенным для отстрела крупных диких животных.
Известна пуля, содержащая металлический корпус и пыж-стабилизатор, витой элемент, концы которого соединены с корпусом и пыжом-стабилизатором (см. МПК F42B 12/34, F42B 7/10, F42B 30/02 описание изобретения к патенту Российской Федерации 2235968, опубл. 09.10.2004 г.).
Недостатками известной пули являются:
– сложная конструкция, обусловленная наличием витого элемента из пружинной проволоки;
– низкая поражающая способность и малая дальность полета, обусловленные отсутствием вращения пули при полете.
Известна пуля для гладкоствольного оружия, содержащая оболочку с цилиндрической боковой поверхностью и плоским дном и сердечник (см. МПК F42B 7/10 описание изобретения к патенту Российской Федерации 2128321, опубл. 27.03.1999 г.).
Недостатками известного технического решения являются:
– сложная конструкция, обусловленная наличием различных деталей, выполненных из различных материалов;
– низкая поражающая способность и малая дальность полета, обусловленные отсутствием вращения пули при полете.
Наиболее близким к заявляемому техническому решению является пуля, содержащая головную и хвостовую части, приобретающая при выстреле поступательную скорость и вращательное движение вокруг своей оси, в ее хвостовой части выполнены пересекающиеся продольные вырезы, в которых размещены дополнительные убойные элементы цилиндрической формы с возможностью их некоторого параллельного перемещения относительно оси пули, совмещенного вращения с ней вокруг своей оси и освобождения от пули при вылете из канала ствола за счет центробежной силы, при этом головная часть пули соответствует калибру оружия по нарезам, а хвостовая – калибру по полям (см. МПК F42B 30/02, F42B 7/10, F42B 12/56 описание изобретения к патенту Российской Федерации 2262652, опубл. 03.10.2005 г.).
Недостатком известной пули является малая дальность и точность траектории полета пули, обусловленные низкой поступательной скоростью и вращательной скоростью движения вокруг оси и приводящие к низкому поражающему воздействию пули на объект отстрела.
Техническим результатом заявляемого изобретения является усиление поражающего воздействия пули на объект отстрела.
Сущность технического решения заключается в том, что в пуле, содержащей головную и хвостовую части, приобретающей при выстреле поступательную скорость и вращательное движение вокруг своей оси, в хвостовой части выполнены отверстия, расположенные под углом к продольной оси и симметрично относительно поперечных осей пули, а наружная часть хвостовой части снабжена углублением, в котором расположен пыж-контейнер.
Выполнение в хвостовой части пули отверстий и расположение их под углом к продольной оси пули и симметричное относительно поперечных осей пули обеспечивает дополнительное вращение пули вокруг продольной оси в момент прохождения ее через конец канала ствола ружья, приобретая при этом гироскопическую стабильность, следовательно, повышая дальность и точность попадания при выстреле.
Выполнение углубления на наружной поверхности пули и размещение в ней пыжа-контейнера обеспечивают герметичность при движении пули внутри ствола под воздействием на пулю пороховых газов, тем самым достигается максимальная скорость движения пули внутри ствола и соответственно увеличивается траектория движения пули до объекта отстрела.
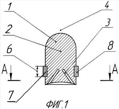
Предлагаемое изобретение поясняется чертежами, где на фиг.1 изображен продольный разрез пули; на фиг.2 – размещение пули в гильзе патрона; на фиг.3 – сечение А-А.
Пуля состоит из головной части 1, хвостовой части 2, в теле которой выполнены отверстия 3, расположенные под углом к продольной оси 4 и симметрично относительно поперечных осей 5 пули. На наружной поверхности пули выполнено углубление 6, в котором расположен пыж-контейнер, состоящий из двух частей, выполненных в виде полуколец 7 и 8.
Устройство работает следующим образом. Пуля располагается в корпусе 9 патрона. При воздействии бойка оружия на капсюль 10 происходит воспламенение пороховой смеси 11, в результате давление образовавшихся пороховых газов воздействуют на торец 12 пули и внутреннюю поверхность отверстий 3. В результате полученного импульса движения пуля, перемещаясь по каналу ствола оружия, получает поступательное движение и одновременно дополнительное вращение вокруг своей оси за счет сил, образовавшихся внутри отверстий 3, расположенных под углом к продольной оси 4 и симметрично относительно поперечных осей 5 пули.
По сравнению с аналогом заявляемое техническое решение обеспечивает высокий поражающий эффект за счет увеличения скорости поступательного и вращательного движения пули.
Формула изобретения
Пуля, содержащая головную и хвостовую части, выполненная с возможностью вращательного движения вокруг своей оси при выстреле, отличающаяся тем, что в ее хвостовой части выполнены отверстия, расположенные под углом к продольной оси и симметрично относительно поперечных осей пули, а на наружной поверхности хвостовой части выполнено углубление, в котором расположен пыж-контейнер.
РИСУНКИ
|
|