|
|
(21), (22) Заявка: 2007118335/02, 16.05.2007
(24) Дата начала отсчета срока действия патента:
16.05.2007
(43) Дата публикации заявки: 27.11.2008
(46) Опубликовано: 27.05.2009
(56) Список документов, цитированных в отчете о поиске:
RU 2256141 С1, 10.07.2005. RU 2165574 С2, 20.04.2001. RU 2079087 С1, 10.05.1997. US 7036258 В1, 02.05.2006. ЕР 0973004 А2, 19.01.2000. US 5659993 А, 26.08.1997.
Адрес для переписки:
610017, г.Киров (обл.), ул. Молодой Гвардии, 67, ОАО “Кировский завод “Маяк”, Патентная служба
|
(72) Автор(ы):
Борисов Александр Дмитриевич (RU), Иванов Владимир Николаевич (RU), Корюгин Геннадий Васильевич (RU), Кузин Николай Николаевич (RU), Куклин Владимир Яковлевич (RU), Лейферов Леонид Еремеевич (RU), Сердюков Петр Иванович (RU), Смирнов Сергей Алексеевич (RU)
(73) Патентообладатель(и):
Открытое акционерное общество “Кировский завод “Маяк” (RU), ФГУП Центральный научно-исследовательский институт точного машиностроения (RU)
|
(54) СТРЕЛЯЮЩЕЕ УСТРОЙСТВО
(57) Реферат:
Изобретение относится к многозарядным средствам самообороны с малоимпульсными патронами. Устройство содержит составной корпус-магазин в виде левой и правой щек, расположенный с наклоном по отношению к своей горловине, в котором установлены подпружиненный подаватель патронов, патронная задержка в виде поворотной звездки, основание, несущее ударно-спусковой механизм, спусковой крючок. Устройство снабжено фиксируемым в двух положениях предохранителем, флажок которого расположен на боковой поверхности корпуса-магазина и жестко связан с осью спускового крючка, на которой имеется продольный шпоночный выступ, взаимодействующий с пазом в виде секторной выемки, выполненным на спусковом крючке за одно целое с отверстием под ось. Нижнее плечо спускового крючка выполнено в виде клавиши, у которой передний торец представляет в плане прямоугольник, а боковины, имеющие форму сектора окружности, центр которой проходит через ось спускового крючка, сопряжены с узкими вертикальными нишами на щеках корпуса-магазина. Повышается безопасность использования и технологичность изготовления 6 з.п. ф-лы, 8 ил.
Изобретение относится к многозарядным средствам самообороны с малоимпульсными патронами, гильза которых при выстреле служит патронником, и может быть использовано (в комплекте с соответствующими боеприпасами – жидкостными, газовыми, шумовыми, сигнальными) как охранными организациями, так и гражданами в качестве средства самообороны или для подачи тревожного сигнала.
Известно стреляющее устройство [1], содержащее корпус-магазин, выполненный составным в виде магазина с загибами для удержания патрона на линии огня, в котором установлен подпружиненный подаватель патронов, и корпуса-крышки, несущего ударно-спусковой механизм и патронную задержку в виде поворотной звездки, фиксируемой храповиком и связанной со спусковым крючком посредством подпружиненной тяги-разобщителя, установленной с возможностью взаимодействия с храповиком и звездкой.
В известном устройстве плечо спускового крючка, взаимодействующее с ударно-спусковым механизмом, имеет длину, соответствующую длине патрона, поэтому необходимо приложение весьма значительного усилия на другое, более короткое плечо спускового крючка. Это ухудшает потребительские качества устройства, выражающиеся в неудобстве эксплуатации и неэффективности срабатывания. Кроме того, составная в поперечном сечении конструкция корпуса-магазина нетехнологична для серийного производства.
Наиболее близким к предлагаемому устройству является стреляющее устройство [2], содержащее составной корпус-магазин в виде левой и правой щек и установленные в нем подпружиненный подаватель патронов из магазина, расположенного с наклоном по отношению к своей горловине, расположенной параллельно линии огня, патронную задержку в виде поворотной звездки, основание, несущее ударно-спусковой механизм, а также взаимодействующие с ударно-спусковым механизмом спусковой крючок, закрепленный шарнирно в корпусе на оси, и качающийся рычаг, одно плечо которого установлено в основании, а другое посредством спусковой тяги кинематически связано со спусковым крючком. Это устройство выбрано в качестве прототипа.
В устройстве-прототипе спусковая тяга установлена в дополнительном выступе на левой щеке, при этом нижнее плечо спускового крючка, выполненное в виде детали П-образного профиля, шарнирно закреплено на продольном (вертикальном) уступе щек корпуса-магазина с возможностью охвата этого уступа внутренней частью П-образного профиля, а на наружной (рабочей) поверхности этого плеча имеются разделенные информативным выступом рельефные впадины под указательный и средний пальцы руки.
Для срабатывания устройства-прототипа необходимо довольно значительное усилие воздействия на спусковой крючок. Для обеспечения этого усилия спусковой крючок выполнен удлиненным – под два пальца руки. Однако уменьшение из-за этого области охвата рукой рукоятки отрицательно сказалось на надежности удержания устройства в руке и точности поражения цели. Кроме того, возможное попадание пальцев в зазор между спусковым крючком и корпусом может привести к их травмированию. Это, а также отсутствие предохранителя, обеспечивающего блокировку спускового крючка от случайного воздействия, снижает потребительские качества устройства-прототипа.
Задачей, на решение которой направлено заявляемое изобретение, является создание эффективного средства самообороны, имеющего технологичную для серийного производства конструкцию и обладающего высокими потребительскими качествами с улучшенными эргономическими показателями.
Для решения поставленной задачи стреляющее устройство, содержащее составной корпус-магазин в виде левой и правой щек и установленные в нем подпружиненный подаватель патронов из магазина, расположенного с наклоном по отношению к своей горловине, расположенной параллельно линии огня, патронную задержку в виде поворотной звездки, основание, несущее ударно-спусковой механизм, а также взаимодействующие с ударно-спусковым механизмом спусковой крючок, закрепленный шарнирно в корпусе на оси, и качающийся рычаг, одно плечо которого установлено в основании, а другое посредством спусковой тяги кинематически связано со спусковым крючком, снабжено фиксируемым в двух положениях предохранителем, флажок которого расположен на боковой поверхности корпуса и жестко связан с осью спускового крючка, на которой имеется продольный шпоночный выступ, взаимодействующий с пазом в виде секторной выемки, выполненным на спусковом крючке за одно целое с отверстием под ось, при этом нижнее плечо спускового крючка выполнено в виде клавиши, у которой передний торец представляет в плане прямоугольник, а боковины, имеющие форму сектора окружности, центр которой проходит через ось спускового крючка, сопряжены с узкими вертикальными нишами на щеках корпуса.
Ширина магазина определяется из соотношения n=sin ·(d/tg +m), где d – диаметр патрона; m – длина патрона; n – ширина магазина; – угол наклона магазина к своей горловине, который соответствует углу наклона вертикальной части корпуса-магазина к его горизонтальной части (или углу наклона рукоятки устройства) и выбирается исходя из требований эргономики.
Спусковая тяга расположена в закрытой основанием продольной внутренней выемке на правой щеке корпуса.
Ось спускового крючка закреплена в корпусе при помощи пружинного запорного кольца, размещенного в круговой выемке на правой щеке корпуса в отверстии под ось спускового крючка, зафиксированного в круговой выемке на этой оси.
На свободном конце флажка предохранителя, установленного на левой щеке корпуса, имеется выступ сферической формы, а на левой щеке корпуса – пара взаимодействующих с этим выступом отверстий, которые расположены на угловом расстоянии друг от друга, соответствующем углу секторной выемки под шпоночный выступ предохранителя.
На спусковом крючке имеется рельефная впадина под один (указательный) палец руки.
На передней торцевой поверхности рукоятки имеются равномерно расположенные выступы, образующие волнообразную поверхность с впадинами под пальцы руки (средний, безымянный, мизинец).
Отличительные признаки предлагаемого решения, относящиеся к конструктивному выполнению спускового крючка и обеспечению фиксации в корпусе его оси, жестко связанной с флажком вновь введенного предохранителя, к расположению спусковой тяги, посредством которой спусковой крючок связан с качающимся рычагом, обеспечивают повышение и технологичности конструкции устройства, и его потребительских качеств. Так, введенный в устройство предохранитель, блокирующий спусковой крючок от случайных воздействий, способствует повышению безопасности устройства в использовании; расположение спусковой тяги с правой стороны ударно-спускового механизма позволяет обеспечить более рациональное соотношение длины плеч спускового крючка и уменьшить за счет этого усилие срабатывания ударно-спускового механизма, при этом конструктивное выполнение спускового крючка (его нижнего плеча) в виде укороченной клавиши с рельефной впадиной на рабочей поверхности под один палец руки способствует более удобному охвату рукоятки и повышению надежности удержания устройства в руке, а выполнение на передней торцевой поверхности рукоятки отдельных впадин, разделенных выступами, под каждый из охватывающих рукоятку пальцев способствует расположению устройства в руке только необходимым для стрельбы образом, надежно ориентированным как в правой, так и в левой руке.
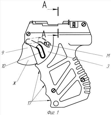
Заявляемое изобретение поясняется чертежами, при этом на фиг.1 изображено стреляющее устройство, вид слева; на фиг.2 – стреляющее устройство, вид под левой щекой; на фиг.3 – стреляющее устройство, вид спереди; на фиг.4 – стреляющее устройство, вид справа, с вырезом в верхней части; на фиг.5 – разрез А-А на фиг.1; на фиг.6 – вид Б на фиг.3; на фиг.7 – разрез В-В на фиг.6; на фиг.8 – разрез Г-Г на фиг.6.
Стреляющее устройство содержит составной корпус-магазин, состоящий из правой 1 и левой 2 щек, между которыми установлены подпружиненный подаватель 3 патронов 4, основание 5, несущее ударно-спусковой механизм (УСМ) 6 с патронной задержкой в виде поворотной звездки 7, установленной в соосных отверстиях основания 5 внутри продольного выступа А щеки 2, и качающийся рычаг 8, расположенный внутри основания 5 с правой стороны от УСМ 6, а также спусковой крючок 9 и флажковый предохранитель 10, расположенный на щеке 2.
Рычаг 8 связан со спусковым крючком 9, шарнирно закрепленным осью 11 на переднем выступе Б щек 1 и 2, посредством спусковой тяги 12, расположенной в закрытой основанием 5 продольной внутренней выемке В на щеке 1. На щеке 1 над горловиной магазина 13 имеются загибы Г, обеспечивающие совместно с ребрами Д поворотной звездки 7 удержание патрона 4 на линии огня. Ширина магазина 13, зависящая от размеров патрона 4 и величины угла наклона магазина 13 к его горловине, расположенной в горизонтальной части корпуса параллельно линии огня, определяется из соотношения n=sin ·(d/tg +m), где d – диаметр патрона; m – длина патрона; n – ширина магазина; – угол наклона магазина к его горловине, который соответствует углу наклона вертикальной части корпуса-магазина к его горизонтальной части (т.е. углу наклона рукоятки устройства) и выбирается исходя из требований эргономики.
Передний зацеп тяги 12 шарнирно соединен с верхним плечом Е спускового крючка 9, а задний – с качающимся рычагом 8. Нижнее плечо Ж спускового крючка 9 выполнено в виде клавиши, боковины которой имеют форму сектора окружности с центром, расположенным на оси 11, а передний торец, имеющий рельефную впадину под один (указательный) палец руки, представляет в плане прямоугольник. На щеках 1 и 2 имеются секторообразные выступы 3, под которыми расположены узкие вертикальные полости (ниши) И, глубина и конфигурация которых определяются размерами и формой утапливаемых в них боковин нижнего плеча Ж спускового крючка 9.
На оси 11 спускового крючка 9, жестко связанной с флажком предохранителя 10, имеется продольный шпоночный выступ 14, взаимодействующий с пазом 15 в виде секторной выемки на спусковом крючке 9, совмещенным с аналогичным ему пазом на щеке 2, выполненным заодно с отверстием под ось 11. На свободном конце флажка предохранителя 10 имеется выступ К сферической формы, взаимодействующий поочередно с двумя фиксирующими отверстиями Л и M, расположенными на щеке 2 с угловым расстоянием между ними, соответствующим углу секторной выемки паза 15.
Ось 11 застопорена в корпусе при помощи пружинного запорного кольца 16, размещенного в круговой выемке Н на щеке 1 в отверстии под ось 11.
На передней торцевой поверхности вертикальной части корпуса-магазина, являющейся рукояткой, под спусковым крючком 9 имеются равномерно расположенные выступы, образующие волнообразную поверхность с впадинами 17 под пальцы руки.
Работа стреляющего устройства осуществляется следующим способом.
Перед снаряжением патронами устройство ставят на предохранитель, для чего флажок предохранителя 10 устанавливают так, чтобы выступ К зафиксировался в отверстии Л на щеке 2. При этом шпоночный выступ 14 упирается в нижнюю кромку (рабочую грань) паза 15 на спусковом крючке 9 и блокирует крючок 9 от случайных воздействий.
Снаряжение осуществляют вручную путем проталкивания патронов 4 в магазин 13 через его горловину, образованную загибами Г щеки 1 и ребрами Д поворотной звездки 7, с преодолением усилия пружины подавателя 3, при этом патроны 4 располагаются в магазине 13 так, что их оси параллельны оси звездки 7, которая параллельна линии огня. Перед началом стрельбы устройство снимают с предохранителя, для чего флажок предохранителя 10 поворачивают так, чтобы выступ К зафиксировался в отверстии М на щеке 2. При этом шпоночный выступ 14 освобождает рабочую грань паза 15 и спусковой крючок 9 оказывается разблокированным.
Для выстрела устройство берут в правую (левую) руку, располагая указательный палец в выемке спускового крючка 9, а охватывающие рукоятку пальцы (средний, безымянный и мизинец) – во впадинах 17 на переднем торце рукоятки. При воздействии на спусковой крючок 9 боковины нижнего плеча Ж утапливаются под выступы 3 на щеках 1 и 2 в полости (ниши) И. Усилие воздействия от спускового крючка 9 посредством спусковой тяги 12 и рычага 8 передается на УСМ 6, при срабатывании которого происходит выстрел с выбросом из патрона 4 метаемого вещества (например, жидкости в виде аэрозоля) в направлении цели и удалением (после освобождения спускового крючка 9) гильзы отстрелянного патрона 4, после чего на линию огня из магазина 13 под воздействием подпружиненного подавателя 3 подается очередной патрон.
Источники информации, принятые во внимание при составлении описания полезной модели
1. Патент РФ 2044250, М. кл. F41C 9/00, опубл. 20.09.1995, “Стреляющее устройство”.
2. Патент РФ 2256141, М. кл. F41C 3/00, опубл. 10.07.2005, “Стреляющее устройство” (прототип).
Формула изобретения
1. Стреляющее устройство, содержащее составной корпус-магазин в виде левой и правой щек, расположенный с наклоном по отношению к своей горловине, которая расположена параллельно линии огня, в котором установлены подпружиненный подаватель патронов, патронная задержка в виде поворотной звездки, основание, несущее ударно-спусковой механизм, а также взаимодействующие с ударно-спусковым механизмом спусковой крючок, закрепленный шарнирно в корпусе-магазине на оси, и качающийся рычаг, одно плечо которого установлено в основании, а другое посредством спусковой тяги кинематически связано со спусковым крючком, отличающееся тем, что оно снабжено фиксируемым в двух положениях предохранителем, флажок которого расположен на боковой поверхности корпуса-магазина и жестко связан с осью спускового крючка, на которой имеется продольный шпоночный выступ, взаимодействующий с пазом в виде секторной выемки, выполненным на спусковом крючке за одно целое с отверстием под ось, при этом нижнее плечо спускового крючка выполнено в виде клавиши, у которой передний торец представляет в плане прямоугольник, а боковины, имеющие форму сектора окружности, центр которой проходит через ось спускового крючка, сопряжены с узкими вертикальными нишами на щеках корпуса-магазина.
2. Стреляющее устройство по п.1, отличающееся тем, что ширина корпуса-магазина определяется из соотношения n=sin ·(d/tg +m), где d – диаметр патрона; m – длина патрона; n – ширина корпуса-магазина; – угол наклона корпуса-магазина к его горловине.
3. Стреляющее устройство по п.2, отличающееся тем, что спусковая тяга расположена в закрытой основанием продольной внутренней выемке на правой щеке корпуса-магазина.
4. Стреляющее устройство по п.3, отличающееся тем, что ось спускового крючка закреплена в отверстии корпуса-магазина при помощи пружинного запорного кольца, размещенного в круговой выемке на правой щеке корпуса-магазина.
5. Стреляющее устройство по п.4, отличающееся тем, что на свободном конце флажка предохранителя, установленного на левой щеке корпуса-магазина, выполнен выступ сферической формы, а на левой щеке корпуса-магазина – пара взаимодействующих с выступом отверстий, которые расположены на угловом расстоянии друг от друга, соответствующем углу секторной выемки под шпоночный выступ предохранителя.
6. Стреляющее устройство по п.5, отличающееся тем, что на спусковом крючке выполнена рельефная впадина под указательный палец руки.
7. Стреляющее устройство по п.6, отличающееся тем, что на передней торцевой поверхности корпуса-магазина выполнены равномерно расположенные выступы, образующие волнообразную поверхность с впадинами под пальцы руки.
РИСУНКИ
|
|