|
(21), (22) Заявка: 2007119503/02, 25.05.2007
(24) Дата начала отсчета срока действия патента:
25.05.2007
(30) Конвенционный приоритет:
20.11.2006 UA A200612155
(43) Дата публикации заявки: 27.11.2008
(46) Опубликовано: 27.05.2009
(56) Список документов, цитированных в отчете о поиске:
RU 2137851 C1, 20.09.1999. US 3578437 A, 11.05.1971. RU 2160317 C1, 10.12.2000. RU 2010873 C1, 15.04.1994.
Адрес для переписки:
49044, Украина, г. Днепропетровск, ул. Клары Цеткин, 3, а/я 2738, Т.П.Егоровой
|
(72) Автор(ы):
Ливадний Сергей Анатольевич (UA), Нагорный Вячеслав Александрович (UA)
(73) Патентообладатель(и):
ОБЩЕСТВО С ОГРАНИЧЕННОЙ ОТВЕТСТВЕННОСТЬЮ “ОЛИМП” (ООО “ОЛИМП”) (UA)
|
(54) ЛИНИЯ ДЛЯ ПРОИЗВОДСТВА АГЛОМЕРАТА ИЗ ОКИСЛЕННЫХ НИКЕЛЬСОДЕРЖАЩИХ МАТЕРИАЛОВ
(57) Реферат:
Изобретение относится к цветной металлургии, в частности к оборудованию для переработки окисленных никельсодержащих материалов. Линия для производства агломерата включает установленные по ходу технологического процесса загрузочное устройство для приема компонентов шихты, механизм для транспортирования компонентов шихты, смеситель, механизм для транспортирования шихты, окомкователь, механизм для транспортирования окомкованной шихты, агломерационное устройство для спекания окомкованной шихты, зонт, оборудованный, по меньшей мере, одной горелкой, и дымосос. Агломерационное устройство выполнено в виде агломерационной чаши, которая установлена на вакуум-камеру. Зонт выполнен с возможностью перемещения относительно агломерационной чаши и вращения вокруг своей оси. Изобретение позволяет вернуть в технологический процесс никельсодержащие отходы металлургического производства, такие как пыль, шлам, и которые в дальнейшем в виде агломерата могут быть использованы для плавки в рудовосстановительных печах в процессе железоникелевого производства. 2 ил.
Изобретение относится к цветной металлургии, в частности к оборудованию для переработки окисленных никельсодержащих материалов, и может быть использовано для получения агломерата.
Одной из основных задач, стоящих перед специалистами в отрасли металлургического производства, является снижение затрат энергоносителей, которое необходимо для обеспечения технологического процесса.
Из уровня техники известна наиболее близкая по технической сущности, количеству общих признаков и достигаемому техническому результату линия для производства агломерата из окисленных никельсодержащих материалов, включающая установленные по ходу технологического процесса, по меньшей мере, одно загрузочное устройство для приема компонентов шихты, включающих окисленные никельсодержащие материалы, в частности никельсодержащие отходы, механизм для транспортирования шихты, окомкователь, механизм для транспортирования окомкованной шихты, по меньшей мере, одно агломерационное устройство для спекания окомкованной шихты, зонт, оборудованный, по меньшей мере, одной горелкой, и дымосос (Патент RU 2137851 от 20.09.1999).
В известном техническом решении агломерационное устройство выполнено в виде ротационной печи, снабженной стационарным зонтом, в стенках которого вмонтированы горелки для спекания окатышей.
Наличие стационарного зонта с горелками в конструкции агломерационного устройства обеспечивает прохождение процесса спекания окатышей внутри ротационной печи при постоянно высокой температуре, которая составляет 1200-1400°С.
Прохождение процесса спекания окатышей при постоянно высокой температуре обуславливает то, что полученные при спекании агломераты имеют такую же высокую температуру на выходе из ротационной печи.
Для проведения последующих технологических операций требуется снизить температуру агломерационных огарков, что приводит к необходимости применения энергоемкого охлаждающего оборудования в линии, использование которого требует значительного расхода энергоресурсов.
Таким образом, недостатком известной линии для производства агломератов из окисленных никельсодержащих материалов является низкая экономическая эффективность технологического процесса, обусловленная высокими расходами энергоносителей для обеспечения производства агломератов.
В основу настоящего изобретения поставлена задача создания такой линии для производства агломерата из окисленных никельсодержащих материалов, использование которой позволит снизить расход энергоносителей, необходимых для производства агломерата, что, в свою очередь, позволит увеличить экономическую эффективность технологического процесса в целом.
Поставленная задача решается тем, что в линии для производства агломерата из окисленных никельсодержащих материалов, включающей установленные по ходу технологического процесса, по меньшей мере, одно загрузочное устройство для приема компонентов шихты, включающих окисленные никельсодержащие материалы, в частности никельсодержащие отходы, механизм для транспортирования шихты, окомкователь, механизм для транспортирования окомкованной шихты, по меньшей мере, одно агломерационное устройство для спекания окомкованной шихты, зонт, оборудованный, по меньшей мере, одной горелкой, и дымосос, согласно изобретению агломерационное устройство выполнено в виде агломерационной чаши, которая установлена на вакуум-камеру, а зонт выполнен с возможностью перемещения относительно агломерационной чаши и вращения вокруг своей оси.
Наличие зонта, выполненного с возможностью перемещения относительно агломерационной чаши и вращения вокруг своей оси, обеспечивает равномерный стартовый розжиг поверхностного слоя окатышей.
Наличие вакуум-камеры, размещенной под агломерационной чашей и способной развивать глубокий вакуум, обеспечивает принудительное прохождение горячего воздуха от верхних слоев к нижним слоям, что, в свою очередь, обеспечивает непрерывный послойный прогрев и спекание окатышей, а также послойное охлаждение полученных в результате спекания огарков.
Таким образом, применение заявляемой совокупности признаков в целом позволяет снизить температуру получаемых агломератов до 70-80°С и таким образом позволяет отказаться от необходимости использования энергоемкого охлаждающего оборудования, что снижает расход энергоносителей на выполнение технологического процесса и повышает экономическую эффективность производства агломерационных огарков.
В дальнейшем изобретение поясняется подробным описанием выполнения линии для производства агломерата из окисленных никельсодержащих материалов со ссылками на чертежи, на которых представлены:
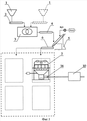
фиг.1 – схема линии для производства агломерата из окисленных никельсодержащих материалов,
фиг.2 – конструкция агломерационного устройства.
Линия для производства агломерата из окисленных никельсодержащих материалов представляет собой систему различных аппаратов, действующих в разных режимах и выполняющих различные функции, и включает нижеследующие установленные по ходу технологического процесса узлы.
Загрузочное устройство 1 (фиг.1), выполненное в виде бункера для приема компонентов шихты, связано со смесителем 3, например, барабанного типа посредством механизма 2 для транспортирования компонентов шихты, например конвейерного транспортера.
Далее установлен механизм 4 для транспортирования шихты, который связывает смеситель 3 с окомкователем 5, предназначенным для окомковывания шихты и формирования окатышей.
Окомкователь 5 имеет тарельчатую форму, диаметр которой составляет 5,5 м. Рабочие параметры окомкователя 5 выбирают в соответствии с технологическим регламентом и поставленной задачей: угол размещения тарели по отношению к горизонту может изменяться в диапазоне от 30 до 60°С, а скорость вращения может изменяться от 4 до 12 об/мин.
После окомкователя 5 в технологической цепи установлен механизм 6 для транспортирования окомкованной шихты, а затем агломерационное устройство 7 (фиг.2), где происходит спекание окомкованной шихты с целью получения агломерата.
Агломерационное устройство 7 выполнено в виде съемной агломерационной чаши 11, установленной в пескованну 13, которая расположена в верхней части вакуум-камеры 12.
Агломерационная чаша 11 выполнена в виде усеченного конуса, сужающегося книзу, диаметр верхнего и нижнего оснований которого составляет соответственно 2,5 и 1,5 м. Такая форма агломерационной чаши 11 исключает возможность налипания спекаемого материала на стенки чаши, а также обеспечивает оптимальные условия для прохождение потока горячего воздуха, необходимого для эффективного спекания окатышей.
Днище (на чертежах не показано) агломерационной чаши 11 выполнено в виде съемной колосниковой решетки, что обеспечивает возможность быстрой его замены в процессе ремонта оборудования.
Вакуум-камера 12 оснащена патрубком 14, расположенным в нижней части и соединенным с дымососом 10, что позволяет производить вытяжку продуктов горения, накапливающихся в агломерационной чаше в процессе спекания окатышей.
Для спекания агломератов из окисленных никельсодержащих материалов на агломерационную чашу 11 устанавливают зонт 8, оборудованный, по меньшей мере, одной инжекторной горелкой 9, наличие которой позволяет обеспечить естественный подсос атмосферного воздуха, необходимого для стартового розжига поверхностного слоя окатышей в агломерационной чаше 11.
В центре зонта 8 установлена подшипниковая консоль (на чертеже не указана), наличие которой обеспечивает возможность перемещения и поворота зонта, а вместе с ним и возможность перемещения и поворота инжекторных горелок, каждая из которых соединена с источником газа гибкими шлангами.
Дополнительно агломерационное устройство 7 снабжено системой 15 контроля температуры и разрежения.
В варианте исполнения линии для производства агломератов из окисленных никельсодержащих материалов может быть использовано несколько агломерационных устройства 7, патрубки 14 вакуум-камер 12 которых соединены с одним дымососом 10, при этом один зонт 8, может обслуживать несколько агломерационных устройств 7.
Дополнительно линия для производства агломератов из окисленных никельсодержащих материалов может быть снабжена автономно установленной дробилкой (на чертежах не показано), где происходит дробление полученных агломератов и разделение их на фракции.
Линия для производства агломерата из окисленных никельсодержащих материалов работает следующим образом.
В загрузочное устройство 7 подают компоненты шихты, химический состав которой соответствует нормативной документации и которая при помощи механизма 2 для транспортирования компонентов шихты подается в смеситель 3, где происходит равномерное перемешивание всех компонентов шихты с целью получения однородной массы шихты.
Далее посредством механизма 4 для транспортирования полученная масса шихты подается на терельчатую поверхность окомкователя 5, где она подвергается увлажнению и окомкованию.
Увлажненные частицы шихты в процессе окомкования укрупняются, при этом образуются окатыши, диаметр которых составляет 6-14 мм, и которые характеризуются рыхлой и зернистой структурой.
Такая структура окатышей обладает повышенной газопроницаемостью, что улучшает эффективность спекания окатышей.
Сформованные окатыши при помощи механизма 6 для транспортирования окомкованной шихты загружаются в агломерационную чашу 11 агломерационного устройства 7 и образуют насыпной слой, состоящий из 70-80 рядов.
Заполненную агломерационную чашу 11 устанавливают в пескованну 13 в верхней части вакуум-камеры 12 и накрывают зонтом 8.
Зонт 8 с установленными на нем инжекторными горелками 9 начинают перемещать по периметру агломерационной чаши в течение 1-1,5 минуты.
Этого времени достаточно для осуществления эффективного стартового розжига поверхностного слоя окатышей.
Применение инжекторных газовых горелок 9, действие которых основано на смешении воздуха с газом, обеспечивает возникновение интенсивного газового потока, способного проникать под поверхность окатыша, что приводит к их эффективному розжигу.
После стартового розжига температура верхнего слоя окатышей составляет 1100-1400°С. В течение 15-35 минут в результате вытягивания вакуум-камерой 12 продуктов сгорания происходит непрерывное послойное прогревании окатышей до температуры спекании, собственно послойное спекание окатышей и послойное охлаждение агломератов
Послойное спекание заключается в частичном плавлении компонентов шихты с образованием жидкого связующего, которое кристаллизуется под воздействием атмосферного воздуха. В результате чего полученные в процессе спекания окатышей агломераты имеют пористую структуру, которая не только улучшает качество готового продукта, но и способствует их быстрому охлаждению за счет возможности прохождения воздуха сквозь их пористую структуру без дополнительного применения энергоемкого охлаждающего оборудования.
Контроль процесса спекания окатышей ведется системой 15 контроля температуры и разрежения, которая отслеживает температурный режим и состав отходящих газов.
Агломерационные газы, которые образуются при горении компонентов окатышей, выходные газы инжекторной газовой горелки, которые образуются при протекании окислительно-восстановительных реакций и диссоциации химических веществ, а также влага, снижающие интенсивность спекания, вытягиваются дымососом 10 через патрубок 14 вакуум-камеры 8.
После завершения процесса спекания последнего нижнего слоя окатышей вакуум-камеру 12 выключают.
Полученные агломераты из окисленных никельсодержащих материалов через питатель выгружают на площадку или в специально подготовленное транспортное средство.
Заявляемое изобретение может найти широкое применение в металлургической промышленности, а его использование позволяет вернуть в технологический процесс никельсодержащие отходы металлургического производства, такие как пыль, шлам, и которые в дальнейшем в виде агломерата могут быть использованы для плавки в рудовосстановительных печах в процессе железоникелевого производства.
Кроме того, по сравнению с прототипом применение заявляемого изобретения позволяет обеспечить непрерывность технологического процесса переработки окисленных никельсодержащих материалов, а также существенно увеличить объем производства, улучшить качество конечного продукта и значительно уменьшить вредное воздействие металлургических отходов на окружающую среду.
Формула изобретения
Линия для производства агломерата из окисленных никельсодержащих материалов, включающая установленные по ходу технологического процесса, по меньшей мере, одно загрузочное устройство для приема компонентов шихты, включающих окисленные никельсодержащие материалы, в частности никельсодержащие отходы, механизм для транспортирования компонентов шихты, смеситель, механизм для транспортирования шихты, окомкователь, механизм для транспортирования окомкованной шихты, по меньшей мере, одно агломерационное устройство для спекания окомкованной шихты, зонт, оборудованный, по меньшей мере, одной горелкой, и дымосос, отличающаяся тем, что агломерационное устройство выполнено в виде агломерационной чаши, которая установлена на вакуум-камеру, а зонт выполнен с возможностью перемещения относительно агломерационной чаши и вращения вокруг своей оси.
РИСУНКИ
|