|
|
(21), (22) Заявка: 2007147132/06, 18.12.2007
(24) Дата начала отсчета срока действия патента:
18.12.2007
(46) Опубликовано: 27.05.2009
(56) Список документов, цитированных в отчете о поиске:
RU 2006769 С1, 30.01.1994. RU 2304264 С1, 10.08.2007. RU 2176058 С1, 20.11.2001. RU 2215953 С2, 27.04.2007. RU 2298139 С2, 27.04.2007.
Адрес для переписки:
654007, Кемеровская обл., г. Новокузнецк, ул. Кирова, 42, СибГИУ, патентный отдел, Н.В. Галаниной
|
(72) Автор(ы):
Бочкарев Алексей Мартемьянович (RU), Горюшкин Владимир Федорович (RU), Ларин Валерий Иванович (RU)
(73) Патентообладатель(и):
Государственное образовательное учреждение высшего профессионального образования “СИБИРСКИЙ ГОСУДАРСТВЕННЫЙ ИНДУСТРИАЛЬНЫЙ УНИВЕРСИТЕТ” (RU)
|
(54) СПОСОБ СУШКИ ДРЕВЕСИНЫ
(57) Реферат:
Изобретение относится к области деревообработки, конкретнее к подготовке древесины к использованию, а именно к сушке древесины. Способ заключается в пропускании через древесину постоянного электрического тока, при этом древесину одним концом помещают в электрохимический электрод, состоящий из токоподводящей емкости с электролитом, а к другому концу прикладывают электрод из токопроводящего материала, причем в состав электролита включают красящее и/или антисептическое вещество, при этом периодически создают высокочастотный импульс тока. Техническим эффектом изобретения является повышение производительности, бездефектная сушка и снижение себестоимости процесса, что достигается одновременной сушкой и пропиткой древесины красящим и/или антисептическим веществами. 1 ил.
Изобретение относится к области деревообработки, конкретнее к подготовке древесины к использованию, а именно к сушке древесины.
Известен способ сушки древесины (см. патент РФ 2115870, Кл. F26B 3/34), включающий размещение древесины между электродами, обеспечение контакта электродов с серединой изделия и приложение коронного разряда между концами изделия при периодической смене полярности. Недостатком является необходимость периодической смены полярности на электродах и большое время сушки.
Наиболее близким к заявляемому является способ сушки древесины (см. патент РФ 2006769, МПК F26B 7/00), включающий размещение древесины между электродами, а в точках контакта электрода с поверхностью древесины создают градиент температуры путем изменения полярности электрического тока при падении его величины в цепи до нуля. Площадь контакта охлаждают до температуры окружающей среды подачей жидкости, которая просачивается из карманов электродов.
Недостатком прототипа является невысокое качество высушиваемой древесины, малая производительность и повышенный расход электроэнергии, связанный с подачей охлаждающей жидкости в место контакта электрода с древесиной, ее нагревом и испарением.
Задачей изобретения является повышение производительности, бездефектная сушка и снижение себестоимости процесса, что достигается одновременной сушкой и пропиткой древесины красящим и/или антисептическим веществами.
Для этого в способе сушки древесины, заключающемся в пропускании через древесину постоянного электрического тока, обрабатываемую древесину одним концом помещают в электрохимический электрод, состоящий из токоподводящей емкости с электролитом, а к другому концу прикладывают электрод из токопроводящего материала, причем в состав электролита включают красящее и/или антисептическое вещество, при этом периодически создают высокочастотный импульс тока.
В данном способе сушка – обезвоживание происходит за счет капиллярного эффекта. Известно, что структура древесины имеет капилляры, которые ориентированы параллельно оси ствола. Здесь отмечается капиллярность – самопроизвольное течение жидкости под действием капиллярных сил в капиллярах и полуоткрытых каналах.
Также используется такое явление, как электроосмос. Электроосмос – движение жидкости через капилляры, твердые мембраны и диафрагмы под действием внешнего электрического поля, так называемые электрокинетические явления. Электрокинетическими явлениями называют перемещение одной фазы относительно другой в электрическом поле и возникновение разности потенциалов при течении жидкости через пористые материалы, так называемый потенциал протекания либо при оседании частиц потенциал оседания. Электрокинетические явления проявляются в разбавленных растворах электролитов. Третьим эффектом можно считать приложение высокочастотного импульса тока, вызывающего ускорение вылетания частиц, то есть ускорение обезвоживания обеспечивается за счет явления электроактивного движения, когда электроны покидают молекулу таза и улетают под действием внешнего электромагнитного поля.
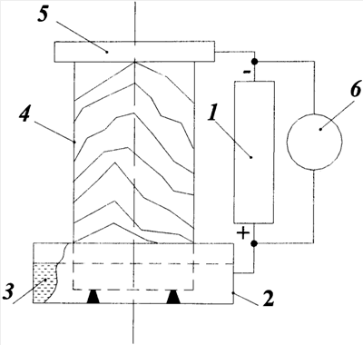
Способ поясняется чертежом, на котором изображены:
1 – источник питания постоянного тока;
2 – емкость для жидкого электролита;
3 – электролит;
4 – древесина;
5 – электрод из токопроводящего материала;
6 – генератор высокочастотных импульсов.
В качестве примера выполнения способа сушки древесины рассмотрим случай, когда в качестве электролита применяют сульфат меди CuSO4. К емкости 2 с электролитом 3 подключают положительный полюс источника питания 1, а к электроду 5 – отрицательный полюс. При этом в растворе электролита CuSO4 и жидкости древесины создается единое электрическое поле, под действием которого заряженные частицы могут двигаться через границу раздела: раствор электролита CuSO4 – жидкость древесины. Катионы меди Cu2+, двигаясь от положительного электрода к отрицательному, попадают в капилляры древесины, где их раньше не было. В то же время на положительном электроде окисляются молекулы воды:

с выделением кислорода, что подтверждается образованием пены на поверхности электролита в емкости 2. Образующиеся в результате реакции (1) катионы Н+ движутся к отрицательному электроду вместе с катионами меди. На отрицательном электроде происходит восстановление молекул воды и катионов водорода:

.
Образующиеся по реакции (2) гидрооксид-ионы ОН–, двигаясь от отрицательного электрода к положительному, вступают в капиллярах в химическое взаимодействие с катионами Cu2+ с образованием нерастворимого гидрооксида меди голубого цвета:
.
Гидрооксид меди постепенно заполняет капилляры древесины, придавая ей на срезе характерную зелено-голубую окраску и уменьшая содержание воды.
Способ позволяет провести сушку без дефектов и коробления. Техническим эффектом способа является качественная и быстрая сушка до технической влажности 8-10% всего за сутки, в то время как заводские способы сушки проводятся в течение 12 суток летом и 14 суток зимой.
Формула изобретения
Способ сушки древесины, заключающийся в пропускании через древесину постоянного электрического тока, отличающийся тем, что древесину одним концом помещают в электрохимический электрод, состоящий из токоподводящей емкости с электролитом, а к другому концу прикладывают электрод из токопроводящего материала, причем в состав электролита включают красящее и/или антисептическое вещество, при этом периодически создают высокочастотный импульс тока.
РИСУНКИ
|
|