|
|
(21), (22) Заявка: 2007146649/06, 19.12.2007
(24) Дата начала отсчета срока действия патента:
19.12.2007
(46) Опубликовано: 27.05.2009
(56) Список документов, цитированных в отчете о поиске:
SU 765611 А, 23.09.1980. SU 641251 А, 07.01.1979. RU 8456 U1, 16.11.1998. RU 2059949 С1, 10.05.1998. US 4017980 А, 19.04.1977.
Адрес для переписки:
109316, Москва, Талалихина, 33, МГУПБ, отдел маркетинга и патентной работы
|
(72) Автор(ы):
Семенов Геннадий Вячеславович (RU), Шабетник Григорий Дмитриевич (RU), Глухман Владимир Николаевич (RU), Буданцев Егор Владимирович (RU), Булкин Максим Сергеевич (RU)
(73) Патентообладатель(и):
Государственное образовательное учреждение высшего профессионального образования “Московский государственный университет прикладной биотехнологии” (RU)
|
(54) УСТРОЙСТВО ДЛЯ ВАКУУМНОЙ СУШКИ ТЕРМОЛАБИЛЬНЫХ МАТЕРИАЛОВ
(57) Реферат:
Изобретение относится к сушильной технике термолабильных материалов под вакуумом и может быть использовано в пищевой, фармацевтической, медицинской, химической отраслях промышленности. Устройство для вакуумной сушки термолабильных материалов содержит корпус, рабочую камеру с размещенными в ней полками, дверцу для загрузки-выгрузки противней с продуктом, десублиматор, нагревательное устройство, систему вакуумирования, систему холодоснабжения. Дополнительно содержит конденсатор водяных паров с горизонтально расположенными оребренными трубками, установленный в центральной части рабочей камеры вертикально, а трубки десублиматора расположены горизонтально, противни и нагревательное устройство, представляющее собой систему плоских экранированных электронагревателей, располагают поочередно в пазах металлического съемного каркаса, установленного на рабочей поверхности весов, дополнительную дверцу, размещенную с противоположной стороны от имеющейся, вакуумный насос. Изобретение должно обеспечить упрощение конструкции и снижение эксплуатационных и энергозатрат посредством использования низкотемпературного десублиматора для предварительного замораживания высушиваемых материалов. 1 з.п. ф-лы, 2 ил.
Изобретение относится к сушильной технике термолабильных материалов под вакуумом и может быть использовано в пищевой, фармацевтической, медицинской и химической отраслях промышленности.
Известна установка для вакуумной сушки термочувствительных материалов, содержащая сушильную камеру, сублиматор, конденсатор-вымораживатель парогазовой смеси с секциями вертикальных испарительных труб, который расположен в блоке с сублиматором, и секции испарительных труб размещены перпендикулярно направлению движения парогазовой смеси, коллекторы для подвода и отвода холодильного агента [Авторское свидетельство 167175, F26B 5/06].
Недостатком данного устройства является невозможность осуществления вакуумной сушки в одной сушильной камере в диапазоне давлений как выше давления тройной точки воды (вакуумная сушка в режиме испарения влаги), так и при давлении ниже давления тройной точки воды (классическая сублимационная сушка). Для предварительного замораживания высушиваемых материалов в данном устройстве требуется отдельная холодильная установка, что в значительной степени увеличит эксплуатационные и энергозатраты.
Известна лабораторная установка для сублимационной сушки термочувствительных материалов при постоянном теплоподводе, содержащая размещенные в ее корпусе обогреваемый противень для высушиваемого материала и конденсатор. Противень установлен с возможностью вертикального перемещения [Авторское свидетельство 328308, F26B 5/06].
Известно, что высокоинтенсивный процесс обезвоживания сублимацией возможен только при условии изменения уровня энергоподвода от некоторого максимального значения в начальный момент сушки к минимальному значению. При этом темп снижения уровня энергоподвода прямо пропорционален скорости продвижения границы фазового перехода от поверхности вглубь материала, что сопровождается формированием обезвоженного слоя с малой теплопроводностью. В данном устройстве не предусмотрено изменение уровня энергоподвода, поэтому процесс обезвоживания сублимацией невозможен. Отсюда следует, что недостатком данного устройства является невозможность осуществления и оптимизации режимных параметров процесса сублимационной сушки. Вместе с тем в данной установке не предусмотрено предварительное замораживание высушиваемых материалов, для этого требуется отдельное замораживающее устройство.
Наиболее близкой по технической сущности и достигаемому результату к предлагаемому устройству является лабораторная сублимационная установка УВС-0,8, состоящая из корпуса, рабочей камеры с размещенными в ней полками, десублиматора, нагревательного устройства, системы вакуумирования, системы холодоснабжения, пульта управления. В верхней части сушильной камеры размещен десублиматор, охлаждаемый смесью сухого льда со спиртом, вакуумирование камеры обеспечивается двухступенчатым вакуумным насосом [Докторская диссертация Семенова Г.В. «Тепломассообмен в процессах низкотемпературного вакуумного обезвоживания термолабильных материалов и его аппаратурное оформление». – М., 2003 г.].
Недостатком данного устройства является возможность его использования только в режиме вакуумной сублимационной сушки, при этом температура десублиматора и глубина вакуума остаются неизменными в течение каждого цикла высушивания, что значительно сужает использование прототипа в экспериментальных целях. Кроме этого, применения для охлаждения десублиматора смеси сухого льда со спиртом представляет определенные эксплуатационные трудности: по мере израсходования сухого льда температура смеси повышается и необходимо добавить сухой лед.
Задача изобретения направлена на разработку устройства, обеспечивающего возможность проведения вакуумной сушки и при необходимости в рамках одного цикла, в диапазоне давлений как выше давления тройной точки воды (вакуумная сушка в режиме испарения влаги), так и при давлении ниже давления тройной точки воды (классическая сублимационная сушка); упрощение конструкции и снижение эксплуатационных и энергозатрат посредством использования низкотемпературного десублиматора для предварительного замораживания высушиваемых материалов.
Указанная задача решается в устройстве для вакуумной сушки термолабильных материалов, содержащем корпус, рабочую камеру с размещенными в ней полками, десублиматор, нагревательное устройство, систему вакуумирования, систему холодоснабжения, пульт управления, которое согласно изобретению дополнительно содержит конденсатор водяных паров с горизонтально расположенными оребренными трубками, установленный в центральной части рабочей камеры вертикально, а трубки десублиматора расположены горизонтально, противни и нагревательное устройство, представляющее собой систему плоских экранированных электронагревателей, располагают поочередно в пазах металлического съемного каркаса, установленного на рабочей поверхности весов, дополнительную дверцу, размещенную с противоположной стороны от имеющейся, вакуумный насос.
Загрузку-выгрузку противней с продуктом осуществляют с двух торцевых противоположных сторон.
Постановка данной задачи продиктована необходимостью иметь на пищевых предприятиях, связанных с выпуском сухих продуктов, а также в научно-исследовательских структурах, устройства для отработки режимных параметров вакуумной сушки в широком диапазоне, в том числе при давлениях как выше, так и ниже давления тройной точки воды.
Предлагаемое устройство также может быть использовано для получения опытных образцов широкого спектра термолабильных материалов – пищевых продуктов и сырья, лекарственных препаратов, растительных экстрактов, ферментов и т.д.
Возможность реализации в рабочей камере устройства вакуумной сушки и классической сублимационной сушки достигается размещением в едином вакуумируемом пространстве двух систем поглощения испаряемой влаги из объектов сушки, а именно: конденсатора, охлаждаемого до 2÷4°С, используемого для конденсации удаляемых из продукта паров влаги, а также низкотемпературного охлаждаемого до отрицательных температур десублиматора для вымораживания паров влаги.
Дополнение устройства конденсатором водяных паров позволило обеспечить возможность протекания процесса вакуумной сушки в режиме испарения влаги. Размещение конденсатора «плачущего» типа вертикально в центральной части рабочей камеры перед десублиматором позволяет осуществить совмещенный режим в диапазоне давлений как выше давления тройной точки воды, так и при давлении ниже давления тройной точки воды.
С целью снижения эксплуатационных затрат предусмотрено горизонтальное расположение плит десублиматора, что позволяет использовать его как в роли десублиматора, так и обеспечивает возможность использования его для предварительного замораживания объектов сублимационной сушки, размещаемых на его наружной поверхности.
Для проведения режима предварительного замораживания объектов для последующей вакуумной сублимационной сушки камера оснащена дополнительной дверцей, расположенной на ее торцевой стороне.
Для визуального контроля процесса в дверцах камеры имеются смотровые окна.
Система вакуумирования содержит два вакуумных насоса, обеспечивающих процесс сушки в режиме сублимации либо в режиме испарения влаги из обезвоживаемых материалов.
Объект сушки располагается в противнях в пазах металлического съемного каркаса поочередно с системой плоских экранированных электронагревателей.
Для оптимизации режимных параметров обезвоживания металлический съемный каркас помещен на рабочую поверхность весов, находящихся в рабочей камере.
Кроме того, в предлагаемом устройстве регистрация и обработка режимных параметров процессов вакуумной сублимационной сушки термолабильных материалов осуществляется с помощью персонального компьютера.
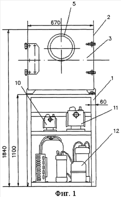
Предлагаемое устройство поясняется чертежами.
На фиг.1 изображен вид спереди; на фиг.2 изображен вид сбоку.
Устройство состоит из корпуса 1, рабочей камеры 2 с дверцей 3 для загрузки-выгрузки противней с продуктом и дополнительной дверцей 4, размещенной с противоположной стороны от имеющейся, дверцы оснащены смотровыми окнами 5, 6. Рабочая камера 2 содержит конденсатор водяных паров 7, установленный вертикально в центральной ее части с горизонтально расположенными оребренными трубками, десублиматор 8 с горизонтальными плитами, нагревательное устройство 9, представляющее собой систему плоских экранированных электронагревателей, вакумные насосы 10, 11, низкотемпературную холодильную машину 12, среднетемпературную холодильную машину 13; загрузка-выгрузка противней 14 с продуктом 15 осуществляется с двух торцевых противоположных сторон; противни 14 и нагревательное устройство 9 располагаются в пазах металлического съемного каркаса 16, установленного на рабочей поверхности тензовесов 17.
Устройство работает следующим образом.
Включают холодильные машины 12, 13. Продукт 15 размещают в противнях 14 и устанавливают в рабочей камере 2 для предварительного охлаждения или замораживания объектов сушки через дверцу 3 на горизонтально расположенные плиты десублиматора 8. Затем замороженный или охлажденный продукт в противнях 14 выгружают и загружают через дверцу 4 в пазы металлического съемного каркаса 16 между плоскими экранированными электронагревателями нагревательного устройства 9. С помощью тензовесов 17 констатируют первоначальную массу продукта. Исходя из требований выбирается режим сушки. Включают насос 10. Производят вакуумирование камеры до давления 20 40 мм рт.ст. в диапазоне давлений выше давления тройной точки воды. Далее осуществляют энергоподвод включением нагревательного устройства 9 по специально выбранным программам в зависимости от выбранного режима. Удаляемые из продукта пары влаги конденсируются на конденсаторе 7 «плачущего» типа. А в режиме классической сублимационной сушки дополнительно включают насос 11. Вакуумирование камеры производят до давления 0,1-0,3 мм рт.ст. Парогазовая смесь вымораживается на десублиматоре 8. По окончании процесса сушки последовательно выключают электронагреватели, холодильные агрегаты и вакуумные насосы. Открывают дверцу 4, снимают показания тензовесов 17, вынимают противни 14 с высушенным продуктом 15. Сухой продукт упаковывают в герметичную тару. Далее производят санитарную обработку и техническое обслуживание устройства для последующего цикла сушки.
В ходе выбранного процесса оптимально регулируются режимные параметры. Кроме того, режимы вауумного обезвоживания испарением и вакуумной сублимационной сушки можно проводить в рамках одного цикла высушивания. Такое решение, в ряде случаев, в значительной степени позволит изучить и интенсифицировать процессы вакуумной сублимационной сушки термолабильных материалов.
Данное техническое решение – расположение нагревательного устройства, конденсатора водяных паров и десублиматора в одной камере придает устройству мобильность и является технологически рациональным.
Формула изобретения
1. Устройство для вакуумной сушки термолабильных материалов, содержащее корпус, рабочую камеру с размещенными в ней полками, дверцу для загрузки-выгрузки противней с продуктом, десублиматор, нагревательное устройство, систему вакуумирования, систему холодоснабжения, отличающееся тем, что дополнительно содержит конденсатор водяных паров с горизонтально расположенными оребренными трубками, установленный в центральной части рабочей камеры вертикально, а трубки десублиматора расположены горизонтально, противни и нагревательное устройство, представляющее собой систему плоских экранированных электронагревателей, располагают поочередно в пазах металлического съемного каркаса, установленного на рабочей поверхности весов, дополнительную дверцу, размещенную с противоположной стороны от имеющейся, вакуумный насос.
2. Устройство по п.1, отличающееся тем, что загрузку-выгрузку противней с продуктом осуществляют с двух торцевых противоположных сторон.
РИСУНКИ
|
|