|
(21), (22) Заявка: 2007135682/06, 26.09.2007
(24) Дата начала отсчета срока действия патента:
26.09.2007
(46) Опубликовано: 27.05.2009
(56) Список документов, цитированных в отчете о поиске:
Потолочная панельная система Giacoklima, АВОК, 8, 2003, с.42-44. RU 2275764 С1, 27.04.2006. RU 58205 U1, 10.11.2006. RU 2255437 С1, 27.06.2005. US 6708754 В2, 23.03.2004. WO 95/25249 А1, 21.09.1995.
Адрес для переписки:
302016, г.Орел, ул. Латышских Стрелков, 37, кв.410, С.А. Ермакову
|
(72) Автор(ы):
Ермаков Сергей Анатольевич (RU)
(73) Патентообладатель(и):
Ермаков Сергей Анатольевич (RU)
|
(54) УСТРОЙСТВО ПАНЕЛЬНО-ЛУЧИСТОГО ОХЛАЖДЕНИЯ
(57) Реферат:
Изобретение относится к области систем охлаждения помещений, в частности к системам лучистого охлаждения, и может быть использовано для поддержания температурного режима в жилых и производственных помещениях. Панель устройства панельно-лучистого охлаждения содержит замкнутый циркуляционный контур, заполненный рабочим телом в виде жидкости и ее паров, в котором имеется участок, имеющий тепловой контакт с поверхностью охлаждающей панели, сообщающийся с ним участок, имеющий тепловой контакт с холодильной установкой, и сообщающийся с данными участками участок, имеющий тепловой контакт с устройством периодического нагрева участка до температуры, превышающей температуру остальных участков, и периодического охлаждения участка до температуры, не превышающей температуру остальных участков циркуляционного контура. Система клапанов обеспечивает преимущественно одностороннее движение рабочего тела по циркуляционному контуру. Использование изобретения позволит обеспечить равномерную температуру охлаждающих панелей. 15 з.п. ф-лы, 3 ил.
Изобретение относится к области систем охлаждения помещений, в частности к системам лучистого охлаждения, и может быть использовано для поддержания температурного режима в жилых и производственных помещениях в летний период.
Известны устройства лучистого охлаждения в виде подвесных и настенных (внутристенных) панелей или других ограждающих конструкций, в которые запрессовываются, привариваются или приклеиваются трубы, по которым пропускается теплоноситель – охлажденная вода или водный раствор этиленгликоля. Охлаждение подаваемой в панели воды осуществляют при помощи холодильного устройства. Проходящая по трубам панелей охлажденная вода за счет теплового контакта между трубами и тепловоспринимающей поверхностью панелей отбирает теплоту от жилых или производственных помещений. При этом вода нагревается, изменяя свою температуру. Благодаря обширной тепловоспринимающей поверхности панелей необходимая температура в помещении устанавливается при малой разнице температур между помещением и панелью, что создает благоприятный микроклимат в помещении и позволяет использовать для охлаждения помещений низкопотенциальные источники холода. (АВОК 8 2003 г., с.42-44 «Потолочная панельная система Giacoklima»; АВОК 1 2003 г., с.44-50).
Это техническое решение является наиболее близким к заявленному по выполняемым функциям и достигаемому результату. Оно принято в качестве ближайшего аналога (прототипа).
Недостатком прототипа является значительная масса теплоносителя в системе и существенный перепад температур в разных участках охлаждающих панелей, связанный с изменением температуры теплоносителя на входе и на выходе из панели.
Настоящее изобретение направлено на устранение этого недостатка и решает техническую задачу обеспечения равномерной температуры охлаждающих панелей.
Для решения поставленной технической задачи охлаждающая панель устройства панельно-лучистого охлаждения содержит замкнутый циркуляционный контур, заполненный рабочим телом в виде жидкости и ее паров, в котором имеются:
– испарительный участок, имеющий хороший тепловой контакт с тепловоспринимающей поверхностью охлаждающей панели;
– сообщающийся с ним конденсационный участок, имеющий хороший тепловой контакт с охлаждающим устройством холодильной установки; тепловой контакт может осуществляться как путем контакта внешней поверхности конденсационного участка циркуляционного контура с поверхностью охлаждающего устройства, так и путем контакта внешней поверхности конденсационного участка с рабочим телом холодильной установки;
– сообщающийся с испарительным и конденсационным участками накопительно-вытеснительный участок, имеющий хороший тепловой контакт с устройством периодического нагрева накопительно-вытеснительного участка до температуры, превышающей температуру остальных участков циркуляционного контура и периодического охлаждения накопительно-вытеснительного участка до температуры, не превышающей температуру остальных участков циркуляционного контура;
– расположенное между накопительно-вытеснительным и конденсационным участками устройство, допускающее перемещение рабочего тела из конденсационного участка в накопительно-вытеснительный участок и препятствующее полностью или частично перемещению рабочего тела из накопительно-вытеснительного участка в конденсационный участок;
– расположенное между накопительно-вытеснительным и испарительным участками устройство, допускающее перемещение рабочего тела из накопительно-вытеснительного участка в испарительный участок и препятствующее полностью или частично перемещению рабочего тела из испарительного участка в накопительно-вытеснительный участок.
Сообщение участков циркуляционного контура друг с другом может осуществляться как непосредственно, так и посредством соединительных трубопроводов.
Контакт испарительного участка циркуляционного контура с тепловоспринимающей поверхностью охлаждающей панели предпочтительно выполнен неразъемным.
Контакт конденсационного участка циркуляционного контура с охлаждающим устройством холодильной установки предпочтительно выполнен разъемным.
Контакт накопительно-вытеснительного участка циркуляционного контура с устройством периодического нагрева и охлаждения предпочтительно выполнен разъемным.
В качестве рабочего тела циркуляционного контура предпочтительно применен хладагент.
В качестве устройств, полностью препятствующих перемещению рабочего тела из испарительного участка в накопительно-вытеснительный участок и из накопительно-вытеснительного участка в конденсационный участок может быть применен регулирующий или обратный клапан, а в качестве устройств, частично препятствующих перемещению рабочего тела из испарительного участка в накопительно-вытеснительный участок и из накопительно-вытеснительного участка в конденсационный участок, может быть применен узкий участок трубопровода или капиллярно-пористая перегородка.
Конденсационный участок предпочтительно имеет хороший тепловой контакт с тепловоспринимающей поверхностью охлаждающей панели. Контакт конденсационного участка циркуляционного контура с тепловоспринимающей поверхностью охлаждающей панели предпочтительно выполнен неразъемным.
Испарительный, конденсационный и накопительно-вытеснительный участки циркуляционного контура предпочтительно выполнены в виде трубопроводов, форма и размеры сечения которых обеспечивают возможность перемещения парожидкостной смеси по ним в режиме, при котором порции жидкости перемещаются по трубопроводу вместе с паровыми пробками без образования застойных зон жидкости. Осуществление этого режима обеспечивается округлым сечением и малым внутренним диаметром трубопроводов в зонах, в которых осуществляется перемещение парожидкостной смеси против сил тяжести.
Конденсационный участок предпочтительно имеет накопительный сосуд, расположенный между участком и устройством, полностью или частично препятствующим возвращению рабочего тела из накопительно-вытеснительного участка в конденсационный участок.
Циркуляционный контур может содержать буферный сосуд, расположенный между накопительно-вытеснительным и испарительным участками; между накопительно-вытеснительным участком и буферным сосудом располагают обратный клапан, препятствующий возврату рабочего тела из сосуда в накопительно-вытеснительный участок, а между нижней частью буферного сосуда и испарительным участком располагают регулирующий дроссельный клапан, посредством которого в буферном сосуде поддерживают давление, превышающее давление в испарительном участке, а также регулируют скорость подачи жидкого рабочего тела из сосуда в испарительный участок.
Испарительный участок предпочтительно снабжен сепаратором, который пропускает парообразное рабочее тело в конденсационный участок, а жидкое рабочее тело возвращает обратно в испарительный участок.
Циркуляционный контур предпочтительно содержит несколько накопительно-вытеснительных участков, сообщающихся с испарительным и конденсационным участками через устройства, допускающие перемещение рабочего тела из конденсационного участка в накопительно-вытеснительный участок и из накопительно-вытеснительного участка в испарительный участок и препятствующие полностью или частично перемещению рабочего тела из испарительного участка в накопительно-вытеснительный участок и из накопительно-вытеснительного участка в конденсационный участок.
Тепловоспринимающая поверхность охлаждающей панели предпочтительно изготовлена из материала с высокой теплопроводящей способностью.
В качестве устройства периодического нагрева и охлаждения накопительно-вытеснительного участка предпочтительно применен термоэлектрический модуль (элемент Пельтье), одна сторона которого имеет хороший тепловой контакт с накопительно-вытеснительным участком, а оборотная сторона предпочтительно имеет хороший тепловой контакт с другим участком циркуляционного контура.
Использование заявленного изобретения позволит получить следующий технический результат.
Устройство панельно-лучистого охлаждения позволит эффективно передавать теплоту от тепловоспринимающей поверхности панели к охлаждающему устройству холодильной установки независимо от их взаиморасположения в поле силы тяжести без применения насосов или компрессоров. Устройство позволит поддерживать температуру всех зон панели, контактирующих с испарительным и конденсационным участками циркуляционного контура, на одном и том же уровне независимо от длины участков. Устройство позволит легко отсоединять охлаждающую панель от охлаждающего устройства холодильной установки и вновь присоединять ее без нарушения работоспособности теплопередающего циркуляционного контура панели.
Применение термоэлектрического модуля в качестве устройства, перекачивающего с высоким холодильным коэффициентом тепловую энергию от одних участков циркуляционного контура к другим, позволит снизить затраты энергии, требующейся для перемещения рабочего тела вдоль охлаждающего контура.
Применение буферного сосуда и/или сепаратора позволит сгладить цикличность подачи жидкого рабочего тела в испарительный участок циркуляционного контура.
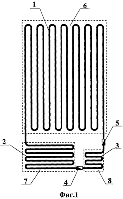
Сущность изобретения поясняется чертежом, где на фиг.1 показана схема циркуляционного контура охлаждающей панели устройства панельно-лучистого охлаждения.
Конструкция циркуляционного контура охлаждающей панели состоит из испарительного участка 1, конденсационного участка 2, накопительно-вытеснительного участка 3 и обратных клапанов 4 и 5. Испарительный участок контактирует с тепловоспринимающей поверхностью 6 охлаждающей панели, конденсационный участок контактирует с охлаждающим устройством 7 холодильной установки, накопительно-вытеснительный участок контактирует с устройством периодического нагрева и периодического охлаждения 8. Все участки выполнены в виде трубопроводов округлого сечения и небольшого внутреннего диаметра, в результате чего парожидкостная смесь перемещается по ним в режиме «снарядного кипения», при котором порции жидкости передвигаются по трубопроводу вместе с паровыми пробками без расслоения на отдельные паровые и жидкостные потоки, при этом перемещение рабочего тела осуществляется под действием перепадов давления независимо от направления силы тяжести.
Работа циркуляционного контура осуществлена следующим образом.
В первоначальный момент времени накопительно-вытеснительный участок 3 заполнен парожидкостной смесью с преимущественным содержанием жидкости. При нагреве смеси при помощи устройства 8 выше температуры испарительного участка 1 давление внутри накопительно-вытеснительного участка 3 за счет испарения части жидкого рабочего тела возрастает выше давления в испарительном участке 1. Под действием перепада давлений парожидкостная смесь из накопительно-вытеснительного участка 3 через обратный клапан 5 перемещается в испарительный участок 1 до тех пор, пока в накопительно-вытеснительном участке 3 не останется только парообразное рабочее тело (в результате полного вытеснения и испарения жидкости), либо до тех пор, пока устройство периодического нагрева и периодического охлаждения 8 не снизит температуру накопительно-вытеснительного участка до температуры ниже, чем температура испарительного участка 1 (при этом давление внутри накопительно-вытеснительного участка 3 станет ниже давления в испарительном участке 1 и обратный клапан 5 автоматически закроется).
В испарительном участке 1 жидкое рабочее тело, поступившее с парожидкостной смесью, под действием теплоты, поступающей от тепловоспринимающей поверхности 6 охлаждающей панели, испаряется, поглощая поступающую от панели теплоту. По мере испарения жидкости объем парожидкостной смеси возрастает, в результате чего парожидкостная смесь перемещается по испарительному участку 1 в сторону конденсационного участка 2. По мере продвижения парожидкостной смеси по испарительному участку содержание жидкости в парожидкостной смеси уменьшается. Парожидкостная смесь с пониженным содержанием жидкости и повышенным содержанием пара из испарительного участка 1 поступает в конденсационный участок 2, в котором поступающий пар конденсируется за счет отвода теплоты от конденсационного участка 2 к охлаждающему устройству 7 холодильной установки. При этом содержание жидкости в парожидкостной смеси, находящейся в конденсационном участке 2, возрастает по мере ее продвижения по конденсационному участку.
При охлаждении накопительно-вытеснительного участка 3 при помощи устройства 8 давление внутри участка снижается за счет конденсации паров рабочего тела. При снижении давления ниже давления в испарительном участке 1 автоматически закрывается обратный клапан 5, а при снижении давления ниже давления в конденсационном участке 2 открывается обратный клапан 4, после чего накопительно-вытеснительный участок 3 заполняется парожидкостной смесью с повышенным содержанием жидкости, поступающей из конденсационного участка 2. Заполнение накопительно-вытеснительного участка будет осуществляться до тех пор, пока в накопительно-вытеснительном участке 3 не окажется только жидкое рабочее тело (в результате полной конденсации паров), либо до тех пор, пока устройство периодического нагрева и периодического охлаждения 8 не повысит температуру накопительно-вытеснительного участка 3 до температуры выше, чем температура конденсационного участка 2 (при этом давление внутри накопительно-вытеснительного участка 3 станет выше давления в конденсационном участке и обратный клапан 4 автоматически закроется). После этого цикл повторяется.
Формула изобретения
1. Устройство панельно-лучистого охлаждения, содержащее одну или несколько охлаждающих панелей с тепловоспринимающей поверхностью и холодильную установку, отличающееся тем, что охлаждающая панель содержит замкнутый циркуляционный контур, заполненный рабочим телом в виде жидкости и ее паров, в котором имеются: a. испарительный участок, имеющий тепловой контакт с тепловоспринимающей поверхностью охлаждающей панели; b. сообщающийся с ним конденсационный участок, имеющий тепловой контакт с охлаждающим устройством холодильной установки; c. сообщающийся с испарительным и конденсационным участками накопительно-вытеснительный участок, имеющий тепловой контакт с устройством периодического нагрева накопительно-вытеснительного участка до температуры, превышающей температуру остальных участков циркуляционного контура, и периодического охлаждения накопительно-вытеснительного участка до температуры, не превышающей температуру остальных участков циркуляционного контура; d. расположенное между накопительно-вытеснительным и конденсационным участками устройство, допускающее перемещение рабочего тела из конденсационного участка в накопительно-вытеснительный участок и препятствующее, полностью или частично, перемещению рабочего тела из накопительно-вытеснительного участка в конденсационный участок; е. расположенное между накопительно-вытеснительным и испарительным участками устройство, допускающее перемещение рабочего тела из накопительно-вытеснительного участка в испарительный участок и препятствующее, полностью или частично, перемещению рабочего тела из испарительного участка в накопительно-вытеснительный участок.
2. Устройство панельно-лучистого охлаждения по п.1, отличающееся тем, что контакт испарительного участка циркуляционного контура с тепловоспринимающей поверхностью охлаждающей панели выполнен неразъемным.
3. Устройство панельно-лучистого охлаждения по п.1, отличающееся тем, что контакт конденсационного участка циркуляционного контура с охлаждающим устройством холодильной установки выполнен разъемным.
4. Устройство панельно-лучистого охлаждения по п.1, отличающееся тем, что контакт накопительно-вытеснительного участка циркуляционного контура с устройством периодического нагрева и охлаждения выполнен разъемным.
5. Устройство панельно-лучистого охлаждения по п.1, отличающееся тем, что в качестве рабочего тела циркуляционного контура применен хладагент.
6. Устройство панельно-лучистого охлаждения по п.1, отличающееся тем, что в качестве устройств, полностью препятствующих перемещению рабочего тела из испарительного участка в накопительно-вытеснительный участок и из накопительно-вытеснительного участка в конденсационный участок применен регулирующий или обратный клапан, а в качестве устройств, частично препятствующих перемещению рабочего тела из испарительного участка в накопительно-вытеснительный участок и из накопительно-вытеснительного участка в конденсационный участок, применен узкий участок трубопровода или капиллярно-пористая перегородка.
7. Устройство панельно-лучистого охлаждения по п.1, отличающееся тем, что конденсационный участок имеет тепловой контакт с тепловоспринимающей поверхностью охлаждающей панели.
8. Устройство панельно-лучистого охлаждения по п.7, отличающееся тем, что контакт конденсационного участка циркуляционного контура с тепловоспринимающей поверхностью охлаждающей панели выполнен неразъемным.
9. Устройство панельно-лучистого охлаждения по п.1, отличающееся тем, что испарительный, конденсационный и накопительно-вытеснительный участки циркуляционного контура выполнены в виде трубопроводов, форма и размеры сечения которых обеспечивают возможность перемещения парожидкостной смеси по ним в режиме, при котором порции жидкости перемещаются по трубопроводу вместе с паровыми пробками без образования застойных зон жидкости.
10. Устройство панельно-лучистого охлаждения по п.1, отличающееся тем, что конденсационный участок имеет накопительный сосуд, расположенный между участком и устройством, полностью или частично препятствующим возвращению рабочего тела из накопительно-вытеснительного участка в конденсационный участок.
11. Устройство панельно-лучистого охлаждения по п.1, отличающееся тем, что циркуляционный контур содержит буферный сосуд, расположенный между накопительно-вытеснительным и испарительным участками; между накопительно-вытеснительным участком и буферным сосудом расположен обратный клапан, препятствующий возврату рабочего тела из сосуда в накопительно-вытеснительный участок, а между нижней частью буферного сосуда и испарительным участком расположен регулирующий дроссельный клапан.
12. Устройство панельно-лучистого охлаждения по п.1, отличающееся тем, что испарительный участок снабжен сепаратором, не пропускающим жидкое рабочее тело из испарительного участка в конденсационный участок.
13. Устройство панельно-лучистого охлаждения по п.1, отличающееся тем, что циркуляционный контур содержит несколько накопительно-вытеснительных участков, сообщающихся с испарительным и конденсационным участками через устройства, допускающие перемещение рабочего тела из конденсационного участка в накопительно-вытеснительный участок и из накопительно-вытеснительного участка в испарительный участок, и препятствующие, полностью или частично, перемещению рабочего тела из испарительного участка в накопительно-вытеснительный участок и из накопительно-вытеснительного участка в конденсационный участок.
14. Устройство панельно-лучистого охлаждения по п.1, отличающееся тем, что тепловоспринимающая поверхность охлаждающей панели изготовлена из материала с высокой теплопроводящей способностью.
15. Устройство панельно-лучистого охлаждения по п.1, отличающееся тем, что в качестве устройства периодического нагрева и охлаждения накопительно-вытеснительного участка применен термоэлектрический модуль.
16. Устройство панельно-лучистого охлаждения по п.15, отличающееся тем, что оборотная охлаждаемая/нагреваемая сторона термоэлектрического модуля имеет тепловой контакт с другим участком циркуляционного контура.
РИСУНКИ
|