|
|
(21), (22) Заявка: 2007141153/06, 06.11.2007
(24) Дата начала отсчета срока действия патента:
06.11.2007
(46) Опубликовано: 27.05.2009
(56) Список документов, цитированных в отчете о поиске:
RU 2308647 С2, 20.10.2007. RU 2296276 C1, 27.03.2007. RU 2242684 C1, 20.12.2004. FR 2767189 A1, 12.02.1999. US 5189090 A, 23.02.1993.
Адрес для переписки:
601900, Владимирская обл., г. Ковров, ул. Труда, 4, ОАО “Завод им. В.А. Дегтярева”, ОПЛИР
|
(72) Автор(ы):
Мосалёв Сергей Михайлович (RU), Наумов Виктор Иванович (RU), Сыса Виктор Павлович (RU)
(73) Патентообладатель(и):
Открытое акционерное общество “Завод им. В.А. Дегтярева” (RU)
|
(54) ТЕПЛОГЕНЕРАТОР РОТОРНО-ВИХРЕВОГО ТИПА
(57) Реферат:
Изобретение предназначено для тепло- и горячего водоснабжения объектов промышленного и бытового назначения, для подогрева технологических жидкостей. Теплогенератор роторно-вихревого типа содержит корпус, внутренние поверхности стенок которого являются неподвижными рабочими органами, между которыми размещен на валу подвижный рабочий орган, имеющий на своей поверхности равномерно расположенные относительно друг друга завихрители, завихритель, закрепленный на валу, патрубки подачи и отбора жидкого теплоносителя. Подвижный рабочий орган выполнен в форме полого цилиндрического ротора, закрепленного на приводном валу, внутри цилиндрического неподвижного корпуса установлен дополнительный неподвижный рабочий орган в форме двух цилиндрических гильз, завихрители выполнены в форме наклонных относительно поверхностей, на которых они расположены, цилиндрических сквозных и несквозных отверстий, расположенных равномерно на торцевых и цилиндрических поверхностях полого цилиндрического ротора, гильз и корпуса, причем завихрители наклонены на роторе в сторону направления вращения, а на гильзах и торцевых поверхностях корпуса – в противоположную, завихритель, закрепленный на валу, выполнен трехступенчатым и установлен внутри полого цилиндрического ротора, два патрубка подачи жидкого теплоносителя симметрично установлены со стороны торцевых стенок корпуса, патрубок отбора жидкого теплоносителя установлен по центру цилиндрической поверхности корпуса симметрично относительно патрубка отбора жидкого теплоносителя, по диаметру цилиндрического корпуса выполнена камера смешения разнонаправленных потоков жидкого теплоносителя. 2 з.п. ф-лы, 6 ил.
Изобретение относится к теплотехнике, а именно к устройствам, содержащим вращающиеся элементы для нагревания текучих сред, и может быть использовано для теплогорячего водоснабжения объектов промышленного и бытового назначения.
Известно устройство для нагревания текучей среды (US, N5188090). Устройство содержит цилиндрический ротор, у которого цилиндрическая поверхность имеет определенное число неровностей или отверстий, вращающийся внутри корпуса, чья внутренняя поверхность примыкает к цилиндрической и торцевой поверхности ротора. Опорная шайба, которая служит для монтажа внутри нее подшипников и сальников для вала и ротора, примыкает к обеим сторонам корпуса. Опорные шайбы имеют полые части, которые соединяются с полостью между корпусом и ротором. В опорной шайбе сделаны впускные каналы, через которые текучая среда проходит в полость корпус/ротор в зоне вала. Корпус имеет один или более выпускных каналов, через которые текучая среда при повышенном давлении и температуре покидает устройство.
Недостатками данного устройства являются низкая теплопроизводительность, высокие массогабаритные показатели ротора и, следовательно, всего устройства в целом, необходимые для получения требуемой тепловой мощности.
Известен теплогенератор (RU, 2242684, F24J 3/00, опубл. 20.12.2004 г.), принятый за прототип. Теплогенератор состоит из заполненного жидким теплоносителем герметичного кожуха, в полости которого расположен корпус с передней, имеющей проем, и задней стенками. Внутренние поверхности передней и задней стенок являются неподвижными рабочими органами. Между неподвижными рабочими органами размещен с гарантированным зазором подвижный дискообразный рабочий орган, закрепленный на приводном валу. На торцевых поверхностях подвижного дискообразного рабочего органа равномерно расположены по окружности наклонные относительно друг друга завихрители. Каждый завихритель выполнен в виде канавки. На конце приводного вала установлен дополнительный торовый завихритель, расположенный в проеме передней стенки корпуса. Патрубки подачи и отбора жидкого теплоносителя размещены соответственно на задней крышке емкости и задней стенке корпуса. Заполненное жидким теплоносителем пространство между внутренними поверхностями передней и задней крышек емкости и поверхностью корпуса разделено на активную зону и переходящую в нее пассивную зону смешения части нагретого до заданной температуры жидкого теплоносителя с вновь подаваемым через патрубок подачи холодным жидким теплоносителем.
Недостатком прототипа является низкая теплопроизводительность.
Предлагаемым изобретением решается задача: сокращение энергозатрат при использовании теплогенератора для нужд отопления и горячего водоснабжения.
Технический результат, получаемый при осуществлении изобретения, заключается в повышении эффективности устройства при преобразовании энергии вращения в тепловую энергию.
Указанный технический результат достигается тем, что в теплогенераторе роторно-вихревого типа, содержащем корпус, внутренние поверхности стенок которого являются неподвижными рабочими органами, между которыми размещен на валу подвижный рабочий орган, имеющий на своей поверхности равномерно расположенные относительно друг друга завихрители, завихритель, закрепленный на валу, патрубки подачи и отбора жидкого теплоносителя, новым является то, что подвижный рабочий орган выполнен в форме полого цилиндрического ротора, закрепленного на приводном валу, внутри цилиндрического неподвижного корпуса установлен дополнительный неподвижный рабочий орган в форме двух цилиндрических гильз, завихрители выполнены в форме наклонных относительно поверхностей, на которых они расположены, цилиндрических сквозных и несквозных отверстий, расположенных равномерно на торцевых и цилиндрических поверхностях полого цилиндрического ротора, гильз и корпуса, причем завихрители наклонены на роторе в сторону направления вращения, а на гильзах и торцевых поверхностях корпуса – в противоположную, завихритель, закрепленный на валу, выполнен трехступенчатым и установлен внутри полого цилиндрического ротора, два патрубка подачи жидкого теплоносителя симметрично установлены со стороны торцевых стенок корпуса, патрубок отбора жидкого теплоносителя установлен по центру цилиндрической поверхности корпуса симметрично относительно патрубка отбора жидкого теплоносителя, по диаметру цилиндрического корпуса выполнена камера смешения разнонаправленных потоков жидкого теплоносителя, переход внутренних торцевых поверхностей полого цилиндрического ротора к его цилиндрической поверхности выполнен с радиусом кривизны R, сквозные отверстия в цилиндрическом полом роторе выполнены конусными.
Выполнение подвижного рабочего органа в форме полого цилиндрического ротора, закрепленного на приводном валу, позволяет повысить эффективность устройства за счет увеличения полезной площади, на которой протекают процессы теплообразования. Наиболее эффективно данный процесс происходит на цилиндрической поверхности ротора, т.е. в зоне повышенного давления, возникающего за счет действия центробежных сил. Выполнение подвижного рабочего органа с меньшей площадью цилиндрической части неизбежно приводит к менее эффективному процессу нагрева жидкого теплоносителя, т.к. процесс теплообразования проходит при меньших линейных скоростях и давлении в основном на торцевых поверхностях ротора.
В связи с этим внутри цилиндрической герметичной емкости установлен дополнительный неподвижный рабочий орган, выполненный в форме двух сменных цилиндрических гильз. Это позволяет:
– во-первых, разместить завихрители как на цилиндрической поверхности ротора, так и на противолежащих цилиндрических поверхностях гильз, что при подобном их встречном расположении позволяет активизировать процессы теплообразования;
– во-вторых, за счет замены сменных гильз при их коррозионном и кавитационном износе увеличивается срок службы теплогенератора.
Завихрители выполнены в форме наклонных относительно поверхностей, на которых они расположены, цилиндрических сквозных и несквозных отверстий, расположенных равномерно на торцевых и цилиндрических поверхностях полого цилиндрического ротора, гильз и корпуса, причем завихрители наклонены на роторе в сторону направления вращения, а на гильзах и торцевых поверхностях корпуса – в противоположную. Это позволяет решить следующие задачи:
– во-первых, увеличить массу прокачиваемого через теплогенератор жидкого теплоносителя без установки дополнительного насоса за счет более эффективного поддержания стабильности потока наклонными отверстиями, выполняющими роль рабочих элементов насоса, что позволяет увеличить скорость нагрева;
– во-вторых, ввиду того, что в зонах несквозных отверстий происходит наиболее интенсивный процесс теплообразования при таком их взаимном расположении на роторе и гильзах, на роторе и торцевых поверхностях корпуса этот процесс интенсифицируется, что приводит к быстрому вскипанию жидкого теплоносителя в зонах этих отверстий при резком мини-гидроударе при прохождении одного отверстия мимо другого. Причем, в данном случае, в отличие от использования ненаклонных отверстий в процессе теплообразования участвует поверхность отверстия на всю ее глубину, а не только околокромочная поверхность;
– в-третьих, расположение сквозных отверстий на цилиндрической поверхности ротора под наклоном по направлению вращения позволяет наиболее эффективно отвести нагретый жидкий теплоноситель за пределы внутреннего пространства ротора.
Установка на валу внутри полого цилиндрического ротора трехступенчатого завихрителя торового или иного типа позволяет поднять температуру жидкого теплоносителя в данной области до состояния двухфазной смеси с преобладанием жидкостной составляющей, которая покидает внутреннюю полость ротора через наклонные сквозные отверстия с высокой скоростью и выделением тепловой энергии. Причем дополнительный нагрев жидкого теплоносителя происходит за счет столкновения потоков, движущихся встречно к наклонным сквозным отверстиям ротора от симметрично расположенных рабочих поверхностей завихрителя.
Два патрубка подачи жидкого теплоносителя, симметрично установленные со стороны торцевых стенок корпуса, предназначены для создания встречно направленных потоков нагреваемого жидкого теплоносителя, обеспечения их симметричного прохождения к патрубку отвода, выравниванию давления с обеих сторон теплогенератора, что способствует наиболее благоприятному функционированию теплогенератора как с точки зрения оптимизации гидрокинематической схемы, так и для обеспечения многократного столкновения потоков, приводящего к выделению тепловой энергии.
Установка патрубков отбора жидкого теплоносителя по центру цилиндрической поверхности корпуса позволяет отводить нагретый жидкий теплоноситель из зоны столкновения трех разнонаправленных потоков жидкого теплоносителя: потока, прошедшего через внутреннюю полость цилиндрического ротора, двух потоков, прошедших через зазор между наружной поверхностью ротора и внутренними поверхностями стенок корпуса и гильз, представляющих собой двухфазную смесь с преобладанием жидкостной составляющей.
Выполнение симметрично относительно патрубка отбора жидкого теплоносителя по диаметру цилиндрического корпуса камеры смешения разнонаправленных потоков жидкого теплоносителя позволяет эффективно (ударно) их смешивать с выделением тепловой энергии и переводом их состояния в двухфазный поток с преобладанием газовой составляющей и подавать потребителю с максимально повышенной температурой.
Выполнение перехода внутренних торцевых поверхностей полого цилиндрического ротора к его цилиндрической поверхности с радиусом кривизны R позволяет получить внутри полого цилиндрического ротора полость, приближающуюся по форме к сфере, и уменьшить тем самым гидравлические потери при истечении потока к патрубку отбора жидкого теплоносителя.
Выполнение сквозных отверстий в цилиндрическом полом роторе конусными позволяет придать дополнительную скоростную составляющую нагретому двухфазному потоку теплоносителя, тем самым ускорить дополнительно его нагрев.
Технические решения с признаками, отличающими заявляемое решение от прототипа, не известны и явным образом из уровня техники не следуют. Это позволяет считать, что заявляемое решение является новым и обладает изобретательским уровнем.
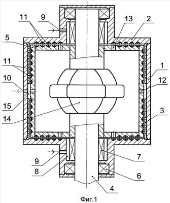
Сущность изобретения поясняется чертежами, где на фиг.1 изображена общая схема теплогенератора роторно-вихревого типа; на фиг.2 – схема размещения наклонных цилиндрических сквозных отверстий на цилиндрической поверхности ротора; на фиг.3 – схема размещения наклонных цилиндрических несквозных отверстий на цилиндрических поверхностях ротора и гильзы; на фиг.4 – схема размещения наклонных цилиндрических несквозных отверстий на торцевых поверхностях ротора и стенок корпуса; на фиг.5 – вариант исполнения ротора, имеющего форму перехода внутренних торцевых поверхностей к цилиндрической поверхности с радиусом кривизны R; на фиг.6 – вариант исполнения наклонных сквозных конусных отверстий на цилиндрической поверхности ротора.
Теплогенератор роторно-вихревого типа состоит из неподвижного цилиндрического корпуса 1, внутренние поверхности съемных торцевых стенок 2 которого являются неподвижными рабочими органами. По внутреннему диаметру корпуса 1 плотно установлены две съемные гильзы 3. Внутри корпуса 1 со съемными стенками 2 и гильзами 3 с возможностью вращения и гарантированным зазором на валу 4 установлен разборный полый цилиндрический ротор 5. Вал 4 установлен в подшипниковых опорах 6 и уплотнен сальниками 7, размещенными в камерах 8. Подшипниковые опоры 6 и сальники 7 установлены в приливах съемных стенок 2. Патрубки 9 подвода жидкого теплоносителя размещены симметрично относительно корпуса 1 и соединены с камерами 8, которые в свою очередь связаны с внутренней полостью корпуса 1. Патрубок 10 для отвода жидкого теплоносителя размещен по центру цилиндрической поверхности корпуса 1. На торцевых поверхностях полого ротора 5 и противолежащих им торцевых поверхностях стенок 2, а также на цилиндрических поверхностях полого ротора 5 и гильз выполнены наклонные несквозные отверстия 11, причем направление наклона на роторе 5 совпадает с направлением вращения, а на стенках 2 и гильзах 3 противоположно ему. Для удобства обработки отверстий на гильзах они выполнены сквозными, но после установки гильзы внутри герметичной емкости их можно рассматривать как несквозные. По центру цилиндрической поверхности полого ротора 5 выполнен ряд сквозных наклонных отверстий 12. На торцевых стенках полого ротора 5 ближе к валу размещены отверстия 13, предназначенные для поступления жидкого теплоносителя внутрь полого ротора. Внутри полого ротора 5 по центру на его ступице установлен трехступенчатый завихритель 14 торового или иного типа. Торцевые стенки гильз 3, обращенные к патрубку 10 отвода жидкого теплоносителя и симметричные относительно него, и внутренняя поверхность цилиндрического корпуса 1 образуют камеру смешения 15.
Теплогенератор роторно-вихревого типа работает следующим образом. Через патрубки 9 подвода жидкого теплоносителя от насоса (на чертежах условно не показан) жидкий теплоноситель, минуя камеры 8, поступает внутрь герметичного корпуса 1. После заполнения всей системы теплоносителем приводится во вращение приводной вал 4, установленный в подшипниковых опорах 6 и уплотненный сальниками 7, с установленным на нем разборным полым цилиндрическим ротором 5. Причем тип привода (на чертежах условно не показан) может быть различным. Предварительный разогрев жидкого теплоносителя происходит при его одновременном перемещении по трем направлениям: между торцевыми поверхностями съемных стенок 2, гильз 3 и наружными противолежащими поверхностями полого цилиндрического ротора 5, а также после поступления теплоносителя через сквозные отверстия 13 через внутреннюю полость ротора 5 к сквозным отверстиям 12. При движении жидкости теплоносителя в последнем случае происходит его интенсивный разогрев за счет вращения трехступенчатого завихрителя 14. Во всех указанных случаях жидкий теплоноситель поступает в область камеры смешения 15 в двухфазном состоянии с преобладанием жидкостной составляющей. В камере смешения 15 происходит резкое ударное столкновение трех разнонаправленных потоков теплоносителя при повышенном давлении от действия центробежных сил, которое приводит к повышению его температуры и увеличению газовой составляющей. Далее разогретый жидкий теплоноситель поступает в патрубок 10 отвода и далее к потребителю.
Формула изобретения
1. Теплогенератор роторно-вихревого типа, содержащий корпус, внутренние поверхности стенок которого являются неподвижными рабочими органами, между которыми размещен на валу подвижный рабочий орган, имеющий на своей поверхности равномерно расположенные относительно друг друга завихрители, завихритель, закрепленный на валу, патрубки подачи и отбора жидкого теплоносителя, отличающийся тем, что подвижный рабочий орган выполнен в форме полого цилиндрического ротора, закрепленного на приводном валу, внутри цилиндрического неподвижного корпуса установлен дополнительный неподвижный рабочий орган в форме двух цилиндрических гильз, завихрители выполнены в форме наклонных относительно поверхностей, на которых они расположены, цилиндрических сквозных и несквозных отверстий, расположенных равномерно на торцевых и цилиндрических поверхностях полого цилиндрического ротора, гильз и корпуса, причем завихрители наклонены на роторе в сторону направления вращения, а на гильзах и торцевых поверхностях корпуса – в противоположную, завихритель, закрепленный на валу выполнен трехступенчатым и установлен внутри полого цилиндрического ротора, два патрубка подачи жидкого теплоносителя симметрично установлены со стороны торцевых стенок корпуса, патрубок отбора жидкого теплоносителя установлен по центру цилиндрической поверхности корпуса, симметрично относительно патрубка отбора жидкого теплоносителя, по диаметру цилиндрического корпуса выполнена камера смешения разнонаправленных потоков жидкого теплоносителя.
2. Теплогенератор роторно-вихревого типа по п.1, отличающийся тем, что переход внутренних торцевых поверхностей полого цилиндрического ротора к его цилиндрической поверхности выполнен с радиусом кривизны R.
3. Теплогенератор роторно-вихревого типа по п.1, отличающийся тем, что сквозные отверстия в цилиндрическом полом роторе выполнены конусными.
РИСУНКИ
|
|