|
|
(21), (22) Заявка: 2006113985/06, 26.04.2006
(24) Дата начала отсчета срока действия патента:
26.04.2006
(43) Дата публикации заявки: 10.12.2007
(46) Опубликовано: 27.05.2009
(56) Список документов, цитированных в отчете о поиске:
RU 2019072 C1, 10.05.1997. RU 2229066 C2, 20.05.2004. RU 2143604 C1, 10.12.1999. RU 2116583 C1, 27.07.1998. US 4389858 А, 28.06.1983.
Адрес для переписки:
2060, Республика Молдова, г. Кишинев, б-р Траяна, 19/1, кв.53, Н.П. Мартынюку
|
(72) Автор(ы):
Мартынюк Николай Павлович (UA)
(73) Патентообладатель(и):
Мартынюк Николай Павлович (UA)
|
(54) УСТРОЙСТВО ДЛЯ НАГРЕВА РАБОЧЕЙ ЖИДКОСТИ
(57) Реферат:
Изобретения относится к области энергетики, и в частности для отопления жилых и производственных помещений и горячего водоснабжения. Сущность изобретения заключается в том, что устройство для нагрева рабочей жидкости, состоящее из емкости, трубопроводов высокого и низкого давления, термореле, выключателей, гидроклапанов, содержит молекулярный конденсатор, который через замкнутые контакты подключен к электродам газоразрядной лампы, расположенной внутри насоса, находящегося на днище емкости, нагнетательная полость которого через теплообменник и обратный клапан соединена с гидроаккумулятором, который через электроклапан соединен с гидротурбиной, работающей от давления рабочей жидкости, причем свободно движущийся поток рабочей жидкости из гидротурбины, работающей от давления рабочей жидкости, поступает в гидротурбину, работающую от кинетической энергии падающего потока рабочей жидкости, а теплообменник для нагрева циркулирующей жидкости расположен в вертикальной плоскости, над теплообменником, соединяющим насос с гидроаккумулятором, теплообменник для нагрева циркулирующей жидкости и теплообменник, соединяющий насос с гидроаккумулятором, размещены в рабочей жидкости, находящейся в емкости. Такое выполнение устройства повышает его эффективность. 2 ил.
Изобретение относится к области энергетики, и в частности для отопления жилых и производственных помещений и горячего водоснабжения.
Известна конструкция устройства (А.с. 1028972, кл. 25 В, 11/00, опубл. 13.07.83), содержащая корпус, ведущий вал, трубопроводы, источник электропитания и источник пара низкого давления.
Недостаток – для работы необходимы два вида источников энергии – пар низкого давления и электрический ток.
Наиболее близким аналогом является устройство, состоящее из корпуса, емкости, насоса, магнитостриктора, трубопроводов, выключателей (Патент Российской Федерации 2254524, опубл. в бюл.17, 20.06.2006 г.)
Недостатком аналога является повышенный расход электроэнергии и сложность конструкции.
Цель изобретения – повышение эффективности нагрева рабочей жидкости и снижение энергозатрат.
Указанная цель достигается за счет того, что устройство для нагрева рабочей жидкости, состоящее из емкости, трубопроводов высокого и низкого давления, термореле, выключателей, гидроклапанов, отличается тем, что молекулярный конденсатор подключен к электродам газоразрядной лампы, расположенной внутри насоса, находящегося на днище емкости, нагнетательная полость которого через теплообменник и обратный клапан соединена с гидроаккумулятором, который через электроклапан соединен с гидротурбиной, работающей от давления рабочей жидкости, причем свободнодвижущийся поток рабочей жидкости из гидротурбины, работающей от давления рабочей жидкости, поступает в гидротурбину, работающую от кинетической энергии падающего потока рабочей жидкости, а теплообменник для нагрева циркулирующей жидкости расположен в вертикальной плоскости, над теплообменником, соединяющим насос с гидроаккумулятором, теплообменник для нагрева циркулирующей жидкости и теплообменник, соединяющий насос с гидроаккумулятором, размещены в рабочей жидкости, находящейся в емкости.
Принцип работы устройства основан на использовании молекулярного конденсатора для нагрева рабочей жидкости и создания при этом избыточного ее давления и последовательного применения гидротурбин, одна из которых работает от избыточного давления рабочей жидкости, а другая от кинетической энергии падающего потока рабочей жидкости, обеспечивающих получение электроэнергии, расходуемой на работу приборов (т.е. составных элементов) данного устройства.
Технический результат достигается за счет:
– получения между электродами газоразрядной лампы тока высокой импульсной мощности,
– применения гидротурбины, работающей от избыточного давления рабочей жидкости,
– применения гидротурбины, работающей за счет кинетической энергии и падающего потока рабочей жидкости,
– выработки электроэнергии, расходуемой на работу составных элементов этого же устройства.
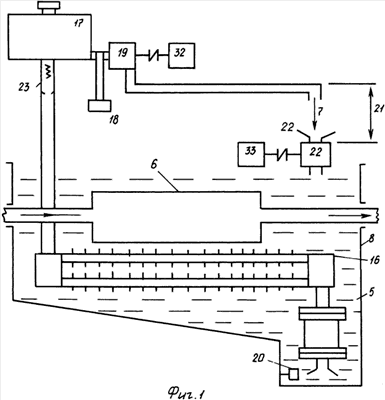
На фиг.1 – гидросхема устройства для нагрева рабочей жидкости, на фиг.2 – схема расположения газоразрядной лампы в насосе и ее подключение к молекулярному конденсатору.
Устройство состоит из молекулярного конденсатора 1, работающего на основе двойного электрического слоя. Это слой ионов и слой электронов с очень малым расстоянием, соизмеримым с размером молекул. Емкость таких конденсаторов на два-три порядка больше, нежели у лучших накопителей электроэнергии на сегодняшний день, и они предназначены для подачи напряжения к электродам 2 газоразрядной лампы 3 для создания светового потока, который впоследствии преобразуется в тепловую энергию. Устройство состоит из корпуса 4 из кварцевого прозрачного стекла, рабочей жидкости 5 (например, дистиллированная вода) для нагрева в теплообменнике 6, циркулирующей по указателю 7 жидкости (например, вода, тосол, нефть и т.д.), емкости 8 для рабочей жидкости, внутренней поверхности 9 корпуса для монтажа светопоглощающей мишени 10, для преобразования светового потока в тепловую энергию, насоса 15 с всасывающим 11 и нагнетательным 12 клапанами, обратного клапана 23, гидроаккумулятора 17, электроклапана 18, гидротурбины 19 работающей от давления рабочей жидкости, термопары 20, расстояния 21 в вертикальной плоскости, гидротурбины 22, работающей от кинетической энергии падающего потока рабочей жидкости, выключателя 24, электролампы 25, блока управления 26, содержащего термореле для регулирования нагрева рабочей жидкости, реле управления работой электромагнитного клапана 18, источника 27 электроэнергии (например, автомобильные и мотоциклетные аккумуляторы, бытовая электросеть, от автомобильного генератора при работающем ДВС и т.д.), блока 26, управляющего зарядкой молекулярного аккумулятора через контакты 29 и токоограничивающий резистор 30, контактов 31 для подачи импульсного напряжения к электродам 2, электрогенераторов для выработки электроэнергии,
Работа устройства. Через выключатель 24 подается электроэнергия от электроисточника. 27 к электролампе 25, блоку 26 управления и блоку 28 управления, а при замкнутых контактах 31 к электродам 2. Между электродами 2 возникает импульс светового потока, который, пройдя через корпус 4 и слой прозрачной рабочей жидкости 5, выделяется в виде тепла на внутренней поверхности стенки светопоглощающей мишени 10. Рабочая жидкость, находящаяся между клапанами 11 и 12, мгновенно вскипает. Из-за давления открывается нагнетательный клапан 12, и рабочая жидкость под избыточным давлением и высокой температурой нагрева поступает в теплообменник 16, нагревая находящуюся рабочую жидкость в емкости 8, и через обратный клапан 23 поступает в гидроаккумулятор 17.
Синхронно блок управления 26 откроет электроклапан 18, и рабочая жидкость 5 под давлением поступит в гидротурбину 19, вращающую якорь электрогенератора 32, а затем в виде движущегося свободнопадающего потока рабочей жидкости 5, преодолев расстояние 21, поступит в гидротурбину 22, вращающую якорь электрогенератора 33. Пройдя через нее, жидкость 5 поступает в емкость 8.
Блок управления 28 автоматически замыкает контакты 31, подавая напряжение (импульсное) к электродам 2. Насос 15 работает импульсно с интервалом времени, необходимого на зарядку молекулярного конденсатора 1.
Импульсная подача рабочей жидкости насосом 15 рассчитывается так, чтобы обеспечить накопление рабочей жидкости в гидроаккумуляторе 17 для непрерывной работы гидротурбин 19 и 22. Нагрев жидкости в теплообменнике 6 регулируют температурой рабочей жидкости 5 в емкости 8 с помощью термореле блока 26 управления.
Электроэнергия, вырабатываемая электрогенераторами 32 и 33, расходуется на работу молекулярного конденсатора 1 и других электропотребителей данного устройства.
Формула изобретения
Устройство для нагрева рабочей жидкости, тепло которой используют для отопления жилых и производственных помещений и горячего водоснабжения, состоящее из емкости, трубопроводов высокого и низкого давления, термореле, выключателей, гидроклапанов, отличающееся тем, что молекулярный конденсатор через замкнутые контакты подключен к электродам газоразрядной лампы, расположенной внутри насоса, находящегося на днище емкости, нагнетательная полость которого через теплообменник и обратный клапан соединена с гидроаккумулятором, который через электроклапан соединен с гидротурбиной, работающей от давления рабочей жидкости, причем свободно движущийся поток рабочей жидкости из гидротурбины, работающей от давления рабочей жидкости, поступает в гидротурбину, работающую от кинетической энергии падающего потока рабочей жидкости, а теплообменник для нагрева циркулирующей жидкости расположен в вертикальной плоскости, над теплообменником, соединяющим насос с гидроаккумулятором, теплообменник для нагрева циркулирующей жидкости и теплообменник, соединяющий насос с гидроаккумулятором, размещены в рабочей жидкости, находящейся в емкости.
РИСУНКИ
|
|