|
|
(21), (22) Заявка: 2006140843/06, 20.11.2006
(24) Дата начала отсчета срока действия патента:
20.11.2006
(43) Дата публикации заявки: 27.05.2008
(46) Опубликовано: 27.05.2009
(56) Список документов, цитированных в отчете о поиске:
RU 2245491 С2, 27.01.2005. SU 693094 А, 03.11.1979. SU 798424 А, 28.01.1981. US 4043742 A, 23.08.1977. SU 1287695 A1, 07.01.1985. SU 1052794 A, 07.11.1983. RU 2067728 С1, 10.10.1996.
Адрес для переписки:
127087, Москва, Старый Петровско-Разумовский пр-д, 24/19, кв.244, Н.Н. Лебедеву
|
(72) Автор(ы):
Лебедев Николай Николаевич (RU), Лебедев Николай Николаевич (RU), Шульц Леонид Александрович (RU)
(73) Патентообладатель(и):
Общество с Ограниченной Ответственностью (ООО) “Энергопромналадка” (RU)
|
(54) СПОСОБ КОНТРОЛЯ И УПРАВЛЕНИЯ ГОРЕНИЕМ ТОПЛИВА
(57) Реферат:
Способ относится к химическим и физическим процессам, осуществляемым преимущественно в установках для сжигания топлива. В способе контроля и управления горением топлива, при котором подают топливо и окислитель в камеру сгорания, регистрируют температурные параметры, получаемые при сжигании, контролируют отклонение регистрируемых параметров относительно эталонных значений, определяют знак отклонения и величину отклонения температурных параметров от эталонных, в зависимости от знака и величины отклонения подают добавочное количество топлива или окислителя, минимизируя значения отклонений, причем, при положительных значениях знака отклонения параметра, определяемого по соотношению настоящего и эталонного значений термоэлектродвижущей силы, подают дополнительное количество окислителя, при отрицательных значениях знака отклонения параметра подают дополнительное количество топлива, а величину отклонения параметра определяют по соотношению настоящего и эталонного значений термосопротивления с учетом допусков. Изобретение позволяет повысить достоверность и точность контроля и управления горением топлива. 3 з.п. ф-лы, 1 ил.
Способ может быть применен в химических и физических процессах, преимущественно в установках для сжигания топлива и других веществ.
Известен способ управления процессом сжигания топлива (патент РФ 2252364, кл. B01J 8/24, опубл. 2003 г.), в котором составом подводимой реакционной смеси управляют в зависимости от пространственного распределения температуры и профиля концентрации продуктов сгорания.
Недостаток способа состоит в том, что управление ведется по предельному уровню температуры процесса сжигания топлива, а не по динамическому параметру температуры в процессе горения, кроме того, требуется второй прибор и время для выделения сгоревших элементов топлива, определения их концентрации, что ограничено уровнем техники газового анализа, снижает качество управления и ведет к перерасходу топлива.
Известен способ контроля и регулирования процесса сжигания топлива (патент РФ 2245491, кл. B01J 8/24, опубл. 2003 г.), при котором подают топливо и окислитель в камеру сгорания, регистрируют температуру и концентрации газов из одной точки двумя датчиками, получаемыми в процессе сгорания, сравнивают температурные значения с эталонными значениями, полученными в процессе пуско-наладочных испытаний.
Недостаток способа состоит в том, что он является косвенным, а не непосредственным методом измерения и контроля процесса горения, так как контроль ведется по одной количественной составляющей (по температуре в одной точке) и показателю сжигания сгоревших газов, а не в динамике процесса горения между двумя точками, а также требуется большой дополнительный расход топлива и окислителя для поддержания заданной температуры. Все это делает способ сложным и не обеспечивает высокое качество контроля и регулирования процесса сжигания топлива.
Задачей настоящего изобретения является разработка способа контроля и регулирования процесса горения топлива по абсолютному показателю качества процесса сжигания: соотношению топливо-окислитель, посредством измерения абсолютного перепада температуры и концентрации газов именно в процессе горения по объему рабочего пространства камеры горения в различных точках одним датчиком.
Технический результат состоит в повышении достоверности и точности контроля за счет проведения измерений непосредственно в процессе горения и более оперативной компенсации отклонений температуры и концентрации газового состава от эталонных значений в процессе горения в реальном масштабе времени, в том числе и в проведении мониторинга аналогичных объектов на отдаленных расстояниях.
Технический результат достигается тем, что в способе контроля и управления горением топлива, при котором подают топливо и окислитель в камеру сгорания, регистрируют температурные параметры, получаемые при сжигании, контролируют отклонение регистрируемых параметров относительно эталонных значений, определяют знак отклонения и величину отклонения температурных параметров от эталонных, в зависимости от знака и величины отклонения подают добавочное количество топлива или окислителя, минимизируя значения отклонений, причем, при положительных значениях знака отклонения параметра, определяемого по соотношению настоящего и эталонного значений термоэлектродвижущей силы, подают дополнительное количество окислителя, при отрицательных значениях знака отклонения параметра подают дополнительное количество топлива, а величину отклонения определяют по соотношению настоящего и эталонного значений термосопротивления с учетом допусков.
Технический результат достигается также тем, что отклонение параметров считают равным нулю, если отклонение измеренного значения термоэлектродвижущей силы не превышает допуска для отклонения от эталонного значения термоэлектродвижущей силы, а отличие измеренного значения термосопротивления не превышает допуска для отклонения от эталонного значения термосопротивления, знак отклонения определяют как «плюс», если измеренное значение термоэлектродвижущей силы превышает верхний предел допуска для отклонения от эталонного значения термоэлектродвижущей силы, при этом измеренное значение термосопротивления превышает верхний предел установленного допуска для отклонения от эталонного значения термосопротивления, знак отклонения параметра формируют как «минус», если измеренное значение термоэлектродвижущей силы меньше нижнего предела допуска для отклонения от эталонного значения термоэлектродвижущей силы, при этом измеренное значение термосопротивления меньше нижнего предела установленного допуска для отклонения от эталонного значения термосопротивления.
Технический результат достигается также тем, что измерение термоэлектродвижущей силы и термосопротивления осуществляют датчиком, установленным в зоне горения и выполненным в виде парных электродов из одного металла и укрепленных на подложке из оксида металла, за счет разницы температур на электродах.
Технический результат достигается также тем, что управляющие сигналы формируют как минимум от одного датчика, преобразуют их в цифровые сигналы и передают их через линии связи к управляющим центрам и от них к исполнительным механизмам.
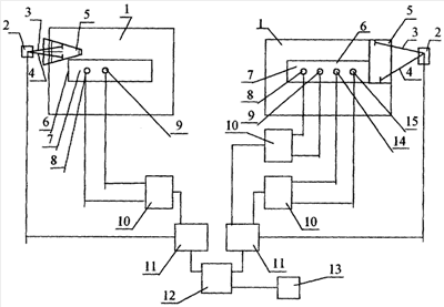
На чертеже представлена блок-схема реализации способа, где указаны камера 1 сгорания, исполнительный механизм 2, трубопровод 3 окислителя (воздуха), трубопровод 4 топлива, горелочное устройство 5, термодатчик 6, выполненный в виде подложки 7 из оксида металла и двух электродов 8 и 9 из одного металла, преобразователь 10 сигналов, управляющий компьютер 11, система 12 мониторинга и приема-передачи сигналов, система 13 сбора информации. Датчик 6 может быть выполнен с несколькими парами электродов на одной подложке 7, например, кроме электродов 8, 9 могут быть электроды 14 и 15.
Способ осуществляется следующим образом. Перед началом работы эмпирически устанавливают эталонные значения всех параметров процесса для данной камеры сгорания. В камере 1 сгорания установлены горелочное устройство 5 и датчик 6, в котором выделена подложка 7 из оксида одного металла, на которой установлены электроды 8, 9, выполненные из другого металла. Таким образом, для измерения температуры используют датчик указанной оригинальной конструкции. В камеру 1 сгорания подаются топливо по трубе 4 и окислитель (воздух) по трубе 3 в заданном соотношении топливо – окислитель, поджигают смесь и ведут измерения в камере 1 в процессе горения.
Ведут непрерывную регистрацию температурных параметров в камере сгорания, осуществляя контроль термоэлектродвижущей силы (ТЭДС) и термосопротивления. При контроле ТЭДС получают знак отклонения температуры от эталонных значений в горящем факеле на расстоянии между двумя электродами в процессе горения. Поскольку материал электродов одинаков, то на электродах разница потенциалов возникает непосредственно в процессе горения, а не после сжигания топлива, когда горение закончено. При наладке оборудования устанавливаются режимы и параметры сгорания в данной камере, в том числе и диапазон изменения ТЭДС и температуры, которая контролируется по термосопротивлению. При этом и вся аппаратура настраивается на установленные эталонные значение ТЭДС (знака отклонения) и значение температуры (по термосопротивлению). Поэтому при контроле и управлении режимом горения сравнение реальных значений ТЭДС и температуры производится с эталонными значениями. Эталонные значения ТЭДС и температуры берут с определенными допусками. Например, допуск по ТЭДС может составлять ±5 мв, а допуск по температуре может составлять ±10°С. Если реальная ТЭДС превышает верхнее значение допуска эталонной, то формируется знак «+» (плюс), если при этом значение величины температуры превышает верхнее значение допуска эталонной температуры, то это превышение определяет величину компенсирующего воздействия. Это указывает на необходимость добавления окислителя (воздуха) для того, чтобы понизить температуру. Если реальная ТЭДС ниже значения допуска эталонной, то формируется знак «-» (минус) и значение величины температуры ниже значения допуска эталонной температуры, то это понижение определяет величину компенсирующего воздействия. Это указывает на необходимость добавления топлива для того, чтобы повысить температуру. Соотношения количественных значений отклонений и соответствующих добавок определяются по сигналу датчика.
Датчик 6 выдает первичный сигнал в виде электрических параметров ТЭДС и термосопротивления, которые поступают на преобразователь 10, далее на компьютер 11 и через систему 12 мониторинга в систему 13 сбора информации на расстоянии. Сигнал поступает в цифровой форме и в виде действий «увеличить», «уменьшить». По цифровой величине термосопротивления определяют температуру и сравнивают с заданием. При достижении заданной температуры в соответствии с расходом топлива и воздуха выделяют сигнал ТЭДС, определяющий качество процесса сжигания по соотношению топливо-воздух, в форме цифр и знака действия «+» «-». Плюс «+» – избыток топлива, требуется добавить окислитель, минус «-» – недостаток окислителя, требуется добавить топливо. Если величина лежит в заданных пределах, обратный сигнал действия «увеличить» или «уменьшить» не поступает через связь передачи информации 6-10-11 на исполнительный механизм 2. Если имеют место отклонения при сравнении с заданным значением соотношения топливо-воздух сигнал «увеличить» или сигнал «уменьшить», воздух поступает на исполнительный механизм 2. Аналогичная информация поступает с другого комплекса для обработки и передачи знака действия «увеличить» или «уменьшить» и величины отклонения в цифровой форме. Сигнал в цифровом виде визуализируется на компьютере 11, находящемся на месте установки, и через систему 12 визуализируется на компьютере на расстоянии в системе 13 сбора информации. Информация поступает с разных объектов на разных расстояниях в системе 13. На компьютере визуализируется зависимость в виде графика в системе координат температура – соотношение топливо-воздух. Для контроля состояния системы и показаний датчик продувают воздухом, идущим на горение. Информация поступает на пункт сбора и с объектов, расположенных на разных расстояниях.
Регистрацию количества химических элементов в камере горения осуществляют как в известных способах, путем отвода частей газового содержимого к соответствующим газоанализаторам. Взаимодействие химических элементов на чувствительном элементе происходит в процессе горения за счет парциального давления, устанавливающегося в камере в процессе сгорания топлива. При наладке оборудования устанавливаются режимы и параметры горения в данной камере, в том числе и диапазон изменения состава химических элементов. При этом и датчик настраивается на установленные эталонные значения этого состава. Поэтому при контроле и управлении режимом горения сравнение реального состава производится с эталонным. Если реальное значение углеводородов превышает эталонное значение, то формируется знак «+» и значение величины этого превышения. Это указывает на необходимость добавления окислителя (воздуха) для того, чтобы понизить содержание этого элемента. Если реальное значение ниже эталонного значения, то формируется знак «-» и значение величины этого отклонения. Сигнал в цифровом виде визуализируется на компьютере 11, находящемся на месте установки, и через систему 12 визуализируется на компьютере на расстоянии в системе 13. На компьютере визуализируется зависимость в виде графика в системе координат температура – соотношение топливо-воздух. Информация может поступать на систему 13 и с других объектов, расположенных на разных расстояниях.
Пример.
В камеру 1 помещают датчик 6 с электродами 8, 9 или 8, 9, 14, 15, зажигают горелочное устройство 5, к которому подводят по трубам 3 и 4 воздух и топливо через исполнительный механизм 2.
Задают температуру, например 1000°С, что соответствует для электродов из платины 9,5 мВ, при этом величина сопротивления при концентрации кислорода составляет 7 кОм. Отклонение ТЭДС±0,5 мВ, при этом отклонении сопротивления ±1 кОм определяют начальное условие, соответствующее «0», и в этих пределах ведется регулирование.
По величине термосопротивления определяют температуру и сравнивают с заданной. В соответствии с расходом топлива и воздуха выделяют сигнал ТЭДС, определяющий качество процесса сжигания по соотношению топливо-воздух, в форме цифр и знака действия (отклонения).
При отклонениях ТЭДС выше 0,5 мВ, при значении сопротивления в указанных пределах добавляют воздух.
При отклонениях термосопротивления до значений 10 Ом (избыток топлива) добавляют воздух до приведения системы в указанные пределы.
Если указанные величины лежат в заданных пределах, обратный сигнал действия «увеличить» или «уменьшить» не поступает через связь передачи информации 6-10-11 на исполнительный механизм 2. Если имеют место отклонения указанных величин, сигнал «увеличить» или сигнал «уменьшить», окислитель (воздух) поступает на исполнительный механизм 2.
Таким образом, изобретение делает процесс измерения контроля и управления ресурсо- и энергосберегающим, малоотходным и экологически более современным. За счет повышения достоверности и точности контроля и компенсации отклонений температуры и концентрации газового состава от эталонных значений в процессе горения на длине чувствительного элемента и по объему рабочего пространства в различных точках в реальном масштабе времени.
Предлагаемая технология измерения, контроля и управления процессом сжигания топлива в динамике процесса горения может быть применена в топливосжигательных устройствах котлов, в теплоэнергетике и в печах на металлургических и машиностроительных заводах в конструктивно простом и безопасном исполнении.
Формула изобретения
1. Способ контроля и управления горением топлива, при котором подают топливо и окислитель в камеру сгорания, регистрируют температурные параметры, получаемые при сжигании, контролируют отклонение регистрируемых параметров относительно эталонных значений, отличающийся тем, что определяют знак отклонения и величину отклонения температурных параметров от эталонных, в зависимости от знака и величины отклонения подают добавочное количество топлива или окислителя, минимизируя значения отклонений, причем при положительных значениях знака отклонения параметра, определяемого по соотношению настоящего и эталонного значений термоэлектродвижущей силы, подают дополнительное количество окислителя, при отрицательных значениях знака отклонения параметра подают дополнительное количество топлива, а величину отклонения определяют по соотношению настоящего и эталонного значений термосопротивления с учетом допусков.
2. Способ контроля и управления горением топлива по п.1, отличающийся тем, что отклонение параметров считают равным нулю, если отклонение измеренного значения термоэлектродвижущей силы не превышает допуска для отклонения от эталонного значения термоэлектродвижущей силы, а отличие измеренного значения термосопротивления не превышает допуска для отклонения от эталонного значения термосопротивления, знак отклонения определяют как «плюс», если измеренное значение термоэлектродвижущей силы превышает верхний предел допуска для отклонения от эталонного значения термоэлектродвижущей силы, при этом измеренное значение термосопротивления превышает верхний предел установленного допуска для отклонения от эталонного значения термосопротивления, знак отклонения параметра формируют как «минус», если измеренное значение термоэлектродвижущей силы меньше нижнего предела допуска для отклонения от эталонного значения термоэлектродвижущей силы, при этом измеренное значение термосопротивления меньше нижнего предела установленного допуска для отклонения от эталонного значения термосопротивления.
3. Способ контроля и управления горением топлива по п.1 или 2, отличающийся тем, что измерение термоэлектродвижущей силы и термосопротивления осуществляют датчиком, установленным в зоне горения и выполненным в виде парных электродов из одного металла и укрепленных на подложке из оксида металла, за счет разницы температур на электродах.
4. Способ контроля и управления горением топлива по п.1, отличающийся тем, что управляющие сигналы формируют как минимум от одного датчика, преобразуют их в цифровые сигналы и передают их через линии связи к управляющим центрам и от них к исполнительным механизмам.
РИСУНКИ
|
|