|
|
(21), (22) Заявка: 2007141080/06, 06.11.2007
(24) Дата начала отсчета срока действия патента:
06.11.2007
(46) Опубликовано: 27.05.2009
(56) Список документов, цитированных в отчете о поиске:
SU 155259 A, 25.08.1963. SU 211000 A, 08.11.1969. SU 37234 A, 30.06.1934. SU 333103 A, 21.03.1972. SU 1815504 A1, 15.05.1993.
Адрес для переписки:
660074, г.Красноярск, ул. Киренского, 26, Политехнический институт СФУ, ПИО
|
(72) Автор(ы):
Дубровский Виталий Алексеевич (RU), Федченко Михаил Петрович (RU), Евтихов Жорж Леонидович (RU), Зубова Марина Витальевна (RU), Лыспак Александр Иванович (RU), Вергейчик Олег Владимирович (RU), Рубцов Геннадий Иванович (RU)
(73) Патентообладатель(и):
Федеральное государственное образовательное учреждение высшего профессионального образования “Сибирский федеральный университет” (СФУ) (RU)
|
(54) УСТРОЙСТВО ДЛЯ ПРЕДОТВРАЩЕНИЯ ЗАВИСАНИЯ ВЛАЖНОГО УГЛЯ В БУНКЕРАХ
(57) Реферат:
Изобретение относится к области теплоэнергетики и может быть использовано на тепловых электрических станциях в системах пылеприготовления котлов. Устройство для предотвращения зависания влажного угля в бункерах прямоугольного сечения с днищем и крышкой, на которой установлено смотровое окно со съемной крышкой содержит ороситель с вертикальным трубопроводом и коллектором на его нижнем торце, состоящим из совмещенных основаниями нижнего и верхнего конусов с отверстиями, соединенными патрубками с распыляющими соплами, причем верхний конус состыкован с нижним торцом вертикального трубопровода, заведенного внутрь бункера через крышку и имеющего возможность вертикального осевого перемещения и поворота, подключенного верхней частью с помощью гибкого трубопровода с клапаном к источнику орошающего агента. Указанные отверстия выполнены в верхнем конусе коллектора оросителя, вертикальный трубопровод заведен через съемную крышку смотрового окна, диаметр и высота которого больше диаметра и высоты коллектора с патрубками и распыляющими соплами, и установлен на пересечении диагональных плоскостей бункера, в которых лежат оси патрубков и распыляющих сопел коллектора оросителя, направленные на трехгранные углы бункера на стыке с крышкой, скошенные приварными треугольными вставками. Изобретение позволяет повысить эффективность орошения и упростить устройство. 1 ил.
Изобретение относится к области теплоэнергетики и может быть использовано на тепловых электрических станциях в системах пылеприготовления.
Известно устройство для приготовления пыли для растопки и стабилизации работы котла, содержащее бункеры пыли с патрубками, подключенными пылепроводами к горелкам топки котла (патент РФ 2064131, МПК F23K 1/00, 1996).
Недостатком известного устройства является возможность зависания пыли в бункерах.
Известен ороситель в пылеконцентраторе, состоящий из вертикального трубопровода с коллектором на его нижнем торце. Коллектор содержит совмещенные основаниями нижний и верхний конусы с отверстиями, при этом верхний конус соединен с нижним торцом вертикального трубопровода. Вертикальный трубопровод имеет возможность вертикального осевого перемещения, подключен верхней частью к источнику орошающего агента и заведен через крышку внутрь орошаемого объема (Авторское свидетельство СССР 1815504, МПК F23K 1/00, 1993).
Недостатком устройства является невозможность орошения внутренней поверхности крышки пылеконцентратора, на которой может скапливаться пыль, так как отверстия расположены в нижнем конусе.
Известно устройство для предотвращения зависания влажного угля в бункерах прямоугольного сечения с днищем, содержащее ороситель с вертикальным трубопроводом, подключенным к источнику орошающего агента, и коллектором на его нижнем торце с отверстиями, соединенными патрубками с распыляющими соплами (Авторское свидетельство СССР 155259, МПК F23K 3/16, 65/72, 1963).
Недостатком устройства является его неэффективность, так как орошающий агент подается поочередно в распыляющие сопла через систему труб, что затягивает процесс и усложняет устройство.
Задача изобретения – повышение эффективности орошения и упрощение устройства.
Поставленная задача решается тем, что в устройстве для предотвращения зависания влажного угля в бункерах прямоугольного сечения с днищем и крышкой, на которой установлено смотровое окно со съемной крышкой, содержащем ороситель с вертикальным трубопроводом и коллектором на его нижнем торце, состоящим из совмещенных основаниями нижнего и верхнего конусов с отверстиями, состыкованными патрубками с распыляющими соплами, причем верхний конус соединен с нижним торцом вертикального трубопровода, заведенного внутрь бункера через крышку с возможностью вертикального осевого перемещения и поворота и подключенного верхней частью гибким трубопроводом через клапан к источнику орошающего агента, согласно изобретению указанные отверстия выполнены в верхнем конусе коллектора оросителя, вертикальный трубопровод заведен через съемную крышку смотрового окна, диаметр и высота которого больше диаметра и высоты коллектора с патрубками и распыляющими соплами, и установлен на пересечении диагональных плоскостей бункера, в которых лежат оси патрубков и распыляющих сопел коллектора оросителя, направленные на трехгранные углы бункера на стыке с крышкой.
Размещение отверстий с патрубками и распыляющими соплами в верхнем конусе коллектора оросителя позволяет орошать не только углы бункера, но и внутреннюю поверхность крышки бункера над углами, на которой зависает угольная пыль, путем настильной подачи орошающего агента распыляющими соплами в режиме фонтанирования.
Заведение вертикального трубопровода внутрь бункера через съемную крышку смотрового окна, диаметр и высота которого больше диаметра и высоты коллектора с патрубками и распыляющими соплами, позволяет перед загрузкой бункера углем поднять коллектор с помощью рукояток управления на вертикальном трубопроводе внутрь смотрового окна и зафиксировать его там для исключения повреждений, кроме того, при необходимости ороситель может быть извлечен из смотрового окна и использован для орошения других бункеров.
Установка вертикального трубопровода на пересечении диагональных плоскостей бункера, в которых лежат оси патрубков и распыляющих сопел, направленные на трехгранные углы бункера на стыке с крышкой, скошенные приварными треугольными вставками, обеспечивает равноудаленность распыляющих сопел от углов бункера, одинаковый напор струй, плавное обтекание трехгранных углов, исключает рикошет, упрощает конструкцию коллектора и сокращает время орошения, так как одновременно орошается весь бункер. При рикошете струя дробится, теряет энергию, часть ее попадает в центр бункера, где нет зависаний угля, что снижает эффективность орошения. Направление осей патрубков и распыляющих сопел на трехгранные углы на стыке с крышкой обеспечивает максимальную высоту падения орошающего агента от крышки до днища, что увеличивает кинетическую энергию струи и эффективность орошения.
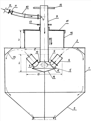
На чертеже изображено устройство для предотвращения зависания влажного угля в бункерах: вертикальный разрез бункера по диагональной плоскости.
Устройство для предотвращения зависания влажного угля в бункере 1 прямоугольного сечения с днищем 2 и крышкой 3 содержит ороситель 4, включающий коллектор 5 с отверстиями 6, состыкованными патрубками 7 с распыляющими соплами 8. К коллектору 5 нижним торцом подключен вертикальный трубопровод 9, который заведен через крышку 3 внутрь бункера 1, соединен в верхней части гибким трубопроводом 10 через клапан 11 с источником 12 орошающего агента и имеет возможность вертикального осевого перемещения и поворота. При этом коллектор 5 состоит из совмещенных основаниями нижнего и верхнего конусов 13 и 14, последний из которых состыкован с вертикальным трубопроводом 9. Упомянутые отверстия 6 с патрубками 7 размещены в верхнем конусе 14 коллектора 5 оросителя 4 и непосредственно пристыкованы к соплам 8, которые могут быть соосными с патрубками 7 и съемными. Ороситель 4, состоящий из вертикального трубопровода 9 и коллектора 5 с патрубками 7 и распыляющими соплами 8, может быть переносным, для чего вертикальный трубопровод 9 вместе с коллектором 5 заведен внутрь бункера через съемную крышку 15 смотрового окна 16, диаметр и высота которого больше диаметра и высоты коллектора 5. При необходимости ороситель может быть извлечен из смотрового окна 16 бункера вместе со съемной крышкой 15 и использован для орошения других бункеров или оставлен в смотровом окне 16 на период загрузки бункера 1 для исключения его повреждений. Вертикальный трубопровод 9 установлен на пересечении вертикальных диагональных плоскостей бункера, в которых лежат оси патрубков 7 и распыляющих сопел 8, направленных на трехгранные углы бункера на стыке с крышкой 3. На вертикальном трубопроводе 9 установлены также скользящий упор 17 с фиксатором (не обозначен) и рукоятки 18 управления. Для исключения рикошета при переходе струй орошающего агента с внутренней поверхности крышки 3 бункера на трехгранные углы у крышки 3 бункера эти углы скошены приварными треугольными вставками 19, что обеспечивает их плавное обтекание. В бункере 1 может быть установлено дополнительное смотровое окно над днищем 2 (не обозначено). При необходимости усиления напора в работающих распыляющих соплах 8 часть патрубков 7 подачи орошающего агента может быть заглушена.
Устройство для предотвращения зависания влажного угля в бункерах работает следующим образом.
После разгрузки угля из бункера 1 коллектор 5 опускают из смотрового окна 16 (где он находится при стационарной установке оросителя 4) и устанавливают рукоятками 18 управления так, чтобы оси патрубков 7 и распыляющих сопел 8 были направлены на верхнюю часть трехгранных углов, то есть на внутреннюю поверхность крышки 3 бункера над его двугранными углами, и фиксируют упором 17. Затем открывают клапан 11 и орошающий агент (вода или другие) поступает от источника 12 по гибкому трубопроводу 10 в ороситель 4 (вертикальный трубопровод 9 и коллектор 5), из которого через отверстия 6, патрубки 7 и распыляющие сопла 8 подается настильными струями в режиме фонтанирования на внутреннюю поверхность крышки 3 бункера, с которой стекает по вставкам 19, плавно обтекая трехгранные углы на стыке с крышкой 3, и переходит в двугранные углы бункера и четырехгранные углы на стыке с днищем 2 бункера, где наибольшая вероятность зависаний угля, и удаляется через течку (не обозначена) бункера, захватывая и унося зависший уголь и пыль. После орошения бункера, которое контролируется визуально через дополнительное смотровое окно (не обозначено), при стационарной установке оросителя 4 в бункере коллектор 5 поднимают рукоятками 18 управления внутрь смотрового окна 16 и фиксируют упором 17, а бункер ставят под загрузку углем. При переносном (мобильном) исполнении оросителя 4 его извлекают из смотрового окна 16 бункера вместе со съемной крышкой 15 и используют для орошения других бункеров.
Таким образом, предлагаемое техническое решение упрощает устройство для предотвращения зависания влажного угля в бункерах за счет использования оросителя, состоящего из одного трубопровода с четырьмя патрубками и орошающими соплами, что повышает эффективность орошения, так как орошается сразу весь бункер. Кроме того, ороситель может быть переносным и им можно обслуживать несколько бункеров.
Формула изобретения
Устройство для предотвращения зависания влажного угля в бункерах прямоугольного сечения с днищем и крышкой, на которой установлено смотровое окно со съемной крышкой, содержащее ороситель с вертикальным трубопроводом и коллектором на его нижнем торце, состоящим из совмещенных основаниями нижнего и верхнего конусов с отверстиями, соединенными патрубками с распыляющими соплами, причем верхний конус состыкован с нижним торцом вертикального трубопровода, заведенного внутрь бункера через крышку, и имеющего возможность вертикального осевого перемещения и поворота, подключенного верхней частью с помощью гибкого трубопровода с клапаном к источнику орошающего агента, отличающееся тем, что указанные отверстия выполнены в верхнем конусе коллектора оросителя, вертикальный трубопровод заведен через съемную крышку смотрового окна, диаметр и высота которого больше диаметра и высоты коллектора с патрубками и распыляющими соплами, и установлен на пересечении диагональных плоскостей бункера, в которых лежат оси патрубков и распыляющих сопел коллектора оросителя, направленные на трехгранные углы бункера на стыке с крышкой, скошенные приварными треугольными вставками.
РИСУНКИ
|
|