|
|
(21), (22) Заявка: 2008101814/06, 23.01.2008
(24) Дата начала отсчета срока действия патента:
23.01.2008
(46) Опубликовано: 27.05.2009
(56) Список документов, цитированных в отчете о поиске:
SU 309206 А, 09.07.1971. SU 400777 A, 01.10.1973. SU 1603138 A1, 30.10.1990. SU 1801191 A3, 07.03.1993. SU 1241022 A1, 30.06.1986. GB 1293360 A, 18.10.1972.
Адрес для переписки:
123458, Москва, ул. Твардовского, 11, кв.92, О.С. Кочетову
|
(72) Автор(ы):
Кочетов Олег Савельевич (RU), Кочетова Мария Олеговна (RU)
(73) Патентообладатель(и):
Кочетов Олег Савельевич (RU)
|
(54) АКУСТИЧЕСКИЙ РАСПЫЛИТЕЛЬ ЖИДКОГО ТОПЛИВА
(57) Реферат:
Изобретение относится к устройствам для распыливания жидкого топлива и может быть применено в химических реакторах, промышленных печах и в других агрегатах, требующих высокого качествд распыливания топлива. Акустический распылитель состоит из полого цилиндрического корпуса, конического диффузора, подвижно закрепленного на одном из его концов, внутренней коаксиально расположенной корпусу трубы, подающей распыливаемое топливо, с наконечником, выполняющим функции распылителя, внешняя поверхность наконечника выполнена в виде усеченного конуса, конусность которого совпадает с конусностью диффузора, при этом наконечник жестко крепится на конце трубы, например посредством резьбового соединения, и состоит из двух раздельных частей, скрепленных между собой болтовым крепежным элементом таким образом, что между его частями имеется зазор «а», образованный двумя соосными коническими поверхностями этих раздельных частей, причем направление конических поверхностей, образующих зазор «а», противоположно конической поверхности усеченного, конуса, образующего его внешнюю поверхность, причем на меньшем основании усеченного конуса наконечника выполнена цилиндрическая проточка, которая образует с внешней поверхностью трубы кольцевую резонирующую полость А, взаимодействующую с сопловой щелью, образованной двумя цилиндрическими поверхностями: внутренней поверхностью корпуса и внешней – трубы, а на конце корпуса, обращенного в сторону наконечника, расположена вторичная резонирующая полость Б, образованная в торце корпуса и выполненная по форме в виде открытой тороидальной поверхности. Технический результат – повышение эффективности работы за счет предотвращения забивания сопловой щели и повышение качества распыла высоковязких жидкостей. 1 ил.
Изобретение относится к устройствам для распыливания жидкого топлива и может быть применено в химических реакторах, промышленных печах и в других агрегатах, требующих высокое качество распыливания топлива.
Известен акустический распылитель жидкого топлива по а.с. СССР 309206, F23D 11/34, состоящий из полого цилиндрического корпуса, конического диффузора, подвижно закрепленного на одном из его концов, внутренней коаксиально расположенной корпусу трубы, подающей распыливаемое топливо, с наконечником, выполняющим функции распылителя (прототип).
Недостатком известного устройства является то, что оно не обеспечивает получения максимально возможных критических скоростей, так как сопловая щель не может быть выполнена с минимальным расчетным сечением из-за возможности засорения твердыми включениями.
Технический результат – повышение эффективности работы за счет предотвращения забивания сопловой щели и повышение качества распыла высоковязких жидкостей.
Это достигается тем, что в акустическом распылителе, состоящем из полого цилиндрического корпуса, конического диффузора, подвижно закрепленного на одном из его концов, внутренней коаксиально расположенной корпусу трубы, подающей распыливаемое топливо, с наконечником, выполняющим функции распылителя, внешняя поверхность наконечника выполнена в виде усеченного конуса, конусность которого совпадает с конусностью диффузора, при этом наконечник жестко крепится на конце трубы, например посредством резьбового соединения, и состоит из двух раздельных частей, скрепленных между собой болтовым крепежным элементом, таким образом, что между его частями имеется зазор «а», образованный двумя соосными коническими поверхностями этих раздельных частей, причем направление конических поверхностей, образующих зазор «а», противоположно конической поверхности усеченного конуса, образующего его внешнюю поверхность, причем на меньшем основании усеченного конуса наконечника выполнена цилиндрическая проточка, которая образует с внешней поверхностью трубы кольцевую резонирующую полость А, взаимодействующую с сопловой щелью, образованной двумя цилиндрическими поверхностями: внутренней поверхностью корпуса и внешней – трубы, а на конце корпуса, обращенного в сторону наконечника, расположена вторичная резонирующая полость Б, образованная в торце корпуса и выполненная по форме в виде открытой тороидальной поверхности.
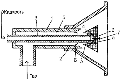
На чертеже представлен общий вид предлагаемого акустического распылителя.
Акустический распылитель состоит из полого цилиндрического корпуса 1, конического диффузора 2, подвижно закрепленного на одном из его концов, внутренней коаксиально расположенной корпусу 1 трубы 3, подающей распыливаемое топливо, с наконечником 4, выполняющим функции распылителя и расположенном соосно раструбу диффузора 2. Внешняя поверхность наконечника выполнена в виде усеченного конуса, конусность которого совпадает с конусностью диффузора 2. Наконечник 4 жестко крепится на конце трубы 3, например посредством резьбового соединения. Он состоит из двух раздельных частей 4 и 6, скрепленных между собой болтовым крепежным элементом 7, таким образом, что между его частями имеется зазор «а», образованный двумя соосными коническими поверхностями этих раздельных частей, причем направление конических поверхностей, образующих зазор «а» противоположно конической поверхности усеченного конуса, образующего его внешнюю поверхность. На меньшем основании усеченного конуса наконечника выполнена цилиндрическая проточка, которая образует с внешней поверхностью трубы 3 кольцевую резонирующую полость А. Сопловая щель 5 образована двумя цилиндрическими поверхностями: внутренней поверхностью корпуса 1 и внешней – трубы 3. На конце корпуса, обращенного в сторону наконечника 4, расположена вторичная резонирующая полость Б, образованная в торце корпуса и выполненная по форме в виде открытой тороидальной поверхности.
Акустический распылитель работает следующим образом.
Жидкость, например жидкое топливо, поступает по трубе 3 в наконечник 4, а оттуда через зазор «а» выходит в зону акустических колебаний, источником которых является газовая среда, вытекающая из сопловой щели 5 в резонирующую полость А.
Под действием энергии акустических колебаний жидкость распыливается и затем, увлекаемая отработанной в излучателе газовой средой (имеющей определенное направление за счет величины зазора между наконечником 4 и диффузором 2), образует факел распыленной жидкости. Заданная форма факела может быть получена путем перемещения диффузора 2 вдоль оси распылителя. Акустические колебания, возникающие в системе «сопловая щель 5 – резонирующая полость А», усиливаются во вторичной резонирующей полости Б.
Формула изобретения
Акустический распылитель жидкого топлива, состоящий из полого цилиндрического корпуса, конического диффузора, подвижно закрепленного на одном из его концов, внутренней, коаксиально расположенной корпусу, трубы, подающей распыливаемое топливо с наконечником, выполняющим функции распылителя, отличающийся тем, что внешняя поверхность наконечника выполнена в виде усеченного конуса, конусность которого совпадает с конусностью диффузора, при этом наконечник жестко крепится на конце трубы, например посредством резьбового соединения, и состоит из двух раздельных частей, скрепленных между собой болтовым крепежным элементом, таким образом, что между его частями имеется зазор «а», образованный двумя соосными коническими поверхностями этих раздельных частей, причем направление конических поверхностей, образующих зазор «а» противоположно конической поверхности усеченного конуса, образующего его внешнюю поверхность, причем на меньшем основании усеченного конуса наконечника выполнена цилиндрическая проточка, которая образует с внешней поверхностью трубы кольцевую резонирующую полость А, взаимодействующую с сопловой щелью, образованной двумя цилиндрическими поверхностями: внутренней поверхностью корпуса и внешней – трубы, а на конце корпуса, обращенного в сторону наконечника расположена вторичная резонирующая полость Б, образованная в торце корпуса и выполненная по форме в виде открытой тороидальной поверхности.
РИСУНКИ
|
|