|
|
(21), (22) Заявка: 2007130107/06, 06.08.2007
(24) Дата начала отсчета срока действия патента:
06.08.2007
(46) Опубликовано: 27.05.2009
(56) Список документов, цитированных в отчете о поиске:
RU 56554 U1, 10.09.2006. RU 2035251 C1, 20.05.1995. US 4402415 A, 06.09.1983. US 6230922 A1, 15.05.2001.
Адрес для переписки:
300004, г.Тула, Щегловская засека, 33, ФГУП “ГНПП “Сплав”, патентный отдел
|
(72) Автор(ы):
Макаровец Николай Александрович (RU), Кобылин Рудольф Анатольевич (RU), Строченков Виктор Борисович (RU), Трудов Александр Федорович (RU), Ерохин Владимир Евгеньевич (RU), Строганов Родион Александрович (RU)
(73) Патентообладатель(и):
Федеральное Государственное унитарное предприятие “Государственное научно-производственное предприятие “Сплав” (RU)
|
(54) СОСУД, РАБОТАЮЩИЙ ПОД ДАВЛЕНИЕМ
(57) Реферат:
Изобретение относится к конструкции сосудов, работающих под давлением, а именно к сосудам высокого давления, и может найти широкое применение при разработке и производстве баллонов для хранения, транспортирования и применения сжатых газов и различных рабочих сред. В сосуде, работающем под давлением, содержащем корпус, горловину с резьбовым отверстием, средний диаметр резьбы выполнен равным 0,5-0,9 диаметра горловины, при этом диаметр горловины выполнен равным 0,1-0,3 наружного диаметра корпуса. Выполнение сосуда в соответствии с изобретением позволяет создать устройство, работающее под высоким давлением с обеспечением надежного герметичного резьбового соединения при максимальном рабочем давлении, имеющее длительный срок службы, пригодное для размещения различных сред и обладающее высокими технико-экономическими показателями. 8 з.п. ф-лы, 1 ил.
Изобретение относится к конструкции сосудов, работающих под давлением, а именно, к сосудам высокого давления, и может найти широкое применение при разработке и производстве баллонов для хранения, транспортирования и применения сжатых газов, кислорода, азота, углекислого газа и др. Баллоны для сжатых газов под высоким давлением представляют собой устройства, которые нашли самое широкое применение практически во всех областях техники и, в частности, могут найти применение в дыхательных аппаратах, в разных типах средств пожаротушения.
Основные требованиями, предъявляемыми к таким сосудам являются:
– высокая конструктивная прочность при минимальном разбросе их функциональных характеристик;
– эксплуатационная надежность при минимальной массе;
– низкая материалоемкость и длительность срока службы;
– инертность материала корпуса по отношению к хранящимся газам.
Известен баллон (см. ГОСТ 949-73), состоящий из металлического корпуса с загерметизированным сваркой днищем с одной стороны и днищем с горловиной с другой стороны.
Такие баллоны нашли широкое применение в качестве хранилищ различных газов под высоким давлением.
Недостатком этого технического решения является недостаточная эксплуатационная надежность и прочность и относительно небольшой срок службы из-за наличия зоны герметизации днища сваркой.
При увеличении рабочего давления в баллоне указанный недостаток возрастает пропорционально.
Зона герметизации днища сваркой характеризуется наличием сварочных дефектов и наличием значительных остаточных напряжений, подвергается сильному воздействию различными корродирующими факторами, что приводит к снижению прочностных и эксплуатационных характеристик донной части и, как следствие, к уменьшению срока службы сосуда в целом.
Таким образом, задачей данного технического решения является создание сосудов без предъявления к ним требования по значительным назначенным срокам службы и высокой эксплуатационной надежности.
Общими признаками с предлагаемой авторами конструкцией сосуда, работающего под давлением, является наличие корпуса, выполненного в виде цилиндрической обечайки, переходящей с одной стороны в дно, с другой – в дно с горловиной, имеющей резьбовое отверстие.
Наиболее близким по технической сути и достигаемому техническому результату является сосуд, содержащий корпус, сплошное дно и горловину с резьбовым отверстием (см. Е.Г.Григорьев и др. Газобаллоновые автомобили, М., Машиностроение, 1989 г., с.100-102), принятый авторами за прототип.
Как видно из этого технического решения, применение сплошного дна позволяет уменьшить очаги возникновения коррозии, обеспечив тем самым необходимую эксплуатационную надежность при рабочих давлениях и назначенный срок службы.
К причинам, препятствующим достижению указанного ниже технического результата при использовании известного сосуда, принятого авторами за прототип, относится то, что не обеспечивается необходимая прочность дна с горловиной и герметичность соединения горловина сосуда – запорно-пусковое устройство при небольшой массе сосуда.
Таким образом, задачей данного технического решения (прототипа) является обеспечение достаточной эксплуатационной надежности без предъявления требований по минимальному значению массы сосуда.
Общими признаками с предлагаемой авторами конструкцией сосуда, работающего под давлением, является наличие корпуса и горловины, имеющей резьбовое отверстие.
В отличие от прототипа в предлагаемом авторами сосуде, работающем под давлением, средний диаметр резьбы выполнен равным 0,5-0,9 наружного диаметра горловины, а наружный диаметр горловины выполнен равным 0,1-0,3 наружного диаметра корпуса.
В частных случаях, то есть в конкретных формах выполнения, изобретение характеризуется следующими признаками:
– корпус выполнен цельноформованным;
– корпус выполнен двухслойным;
– корпус снабжен стеклопластиковым усилением;
– сосуд оснащен запорно-пусковым устройством;
– сосуд снаряжен огнетушащим веществом;
– сосуд оснащен выносным раструбом или шлангом с пенообразователем;
– на корпус нанесено покрытие на эпоксидной, пентафталевой, глифталевой, поливинил-бутеральной основах или на основе порошковых композиций;
– на внутреннюю поверхность корпуса нанесено защитное покрытие.
Именно это позволяет сделать вывод о наличии причинно-следственной связи между совокупностью существенных признаков заявляемого технического решения и достигаемым техническим результатам.
Указанные признаки, отличительные от прототипа и на которые распространяется испрашиваемый объем правовой охраны, во всех случаях достаточны.
Задачей предлагаемого изобретения является создание устройства, работающего под давлением с обеспечением надежного герметичного резьбового соединения при максимальном рабочем давлении, имеющего длительный срок службы, пригодного для размещения различных сред и обладающего высокими технико-экономическими показателями.
Указанный технический результат при осуществлении изобретения достигается тем, что в известном сосуде, работающем под давлением, содержащим корпус и горловину с резьбовым отверстием, особенность заключается в том, что средний диаметр резьбы выполнен равным 0,5-0,9 наружного диаметра горловины, а диаметр горловины выполнен равным 0,1-0,3 наружного диаметра корпуса.
Новая совокупность конструктивных элементов, а также наличие связей между ними позволяют, в частности, за счет:
– выполнения среднего диаметра резьбы равным 0,5-0,9 наружного диаметра горловины – обеспечить необходимую прочность и исключить нарушение целостности резьбы в горловине. При выполнении среднего диаметра резьбы менее 0,5 наружного диаметра горловины возрастают значения габаритно-массовых характеристик. При выполнении среднего диаметра резьбы более 0,9 диаметра горловины значительно уменьшается жесткость стенок последней, что в процессе ввинчивания запорно-пускового устройства, сопровождаемого большими крутящими моментами, приводит к деформации стенок горловины с образованием на наружной поверхности микротрещин и складок – концентраторов напряжений. В процессе эксплуатации сосуда, особенно при воздействии знакопеременных нагрузок в стенках горловины, возникают значительные напряжения, приводящие к потере прочности стенок с образованием в местах концентраторов напряжений сквозных трещин, что вызывает нарушение герметичности;
– выполнения диаметра горловины равным 0,1-0,3 наружного диаметра корпуса – обеспечить необходимую прочность в сечении, в месте сопряжения дна с горловиной корпуса. При выполнении диаметра горловины менее 0,1 наружного диаметра корпуса горловина располагается на участках с максимальными величинами деформаций изгиба, что при высоких рабочих давлениях приводит к нарушению основных параметров резьбы (деформации и даже смятию части витков) и, как следствие, к невозможности извлечения (вывинчивания) запорно-пускового устройства из горловины, а также к нарушению герметичности резьбового соединения. Выполнение диаметра горловины более 0,3 наружного диаметра корпуса действия максимальных результирующих напряжений приводит к нарушению целостности резьбы, снижению плотности прилегания витков резьбы горловины к резьбе запорно-пускового устройства и, как следствие, к нарушению герметичности.
Признаки, характеризующие изобретение в конкретных формах выполнения, позволяют, в частности, за счет:
– выполнения корпуса цельноформованным – обеспечить надежность сосуда при высоких технико-экономических характеристиках,
– выполнения корпуса двухслойным (т.е. выполнения внутреннего слоя из тонкостенного высококачественного высоколегированного металла (стали)) повысить стойкость внутренней поверхности сосуда к воздействию коррозирующих факторов агрессивных сред, находящихся в сосуде, и, как следствие, увеличить срок службы устройства,
– снабжения корпуса стеклопластиковым усилением – повысить прочность сосуда при сохранении его внутреннего объема, максимального рабочего давления при значительно меньшей массе, что особенно важно при его использовании в дыхательных аппаратах,
– оснащения сосуда запорно-пусковым устройством – упростить процесс эксплуатации и технического обслуживания сосуда,
– снаряжения огнетушащим веществом – применять сосуд в огнетушителях и системах пожаротушения различного назначения,
– оснащения сосуда выносным раструбом или шлангом с пенообразователем – расширить возможность подавления очагов возгорания различных классов,
– нанесения на корпус покрытие на эпоксидной, пентафталевой, глифталевой, поливинил-бутеральной основах или на основе порошковых композиций – предохранить материал корпуса от воздействия коррозирующих агентов окружающей среды,
– нанесения на внутреннюю поверхность корпуса защитного покрытия – предохранить внутреннюю поверхность от воздействия корродирующих агентов газовой среды.
Признаки, отличающие предлагаемое техническое решение от прототипа, не выявлены в других технических решениях и не известны из уровня техники в процессе проведения патентных исследований, что позволяет сделать вывод о соответствии изобретения критерию «новизны».
Исследуя уровень техники в ходе проведения патентного поиска по всем видам сведений, доступным в странах бывшего СССР и зарубежных странах, обнаружено, что предлагаемое техническое решение явным образом не следует из известного на сегодня уровня техники, следовательно, можно сделать вывод о соответствии критерию «изобретательский уровень».
Сущность изобретения заключается в том, что в сосуде, работающем под давлением, содержащем корпус, горловину с резьбовым отверстием, в отличие от прототипа, согласно изобретению средний диаметр резьбы выполнен равным 0,5-0,9 диаметра горловины, при этом диаметр горловины выполнен равным 0,1-0,3 наружного диаметра корпуса.
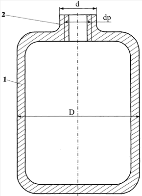
Сущность изобретения поясняется чертежом, где изображен разрез сосуда, работающего под давлением. Предлагаемый сосуд содержит корпус 1, горловину 2, наружный диаметр корпуса – D, наружный диаметр горловины – d, средний диаметр резьбового отверстия – dp.
Вышеописанное устройство работает следующим образом.
В горловину 2 ввинчивается запорно-пусковое устройство, при этом прилегание витков резьбы идет по среднему диаметру резьбы в горловине dp, во внутреннюю полость корпуса сосуда 1 через открытое запорно-пусковое устройство под давлением подается газовая среда или рабочее тело. После достижения рабочего давления в полости корпуса 1 сосуда подача газовой среды или рабочего тела прекращается, запорно-пусковое устройство перекрывают, при этом обеспечивается надежная герметичность всего сосуда в целом за счет плотности прилегания витков резьбы запорно-пускового устройства к виткам резьбы горловины.
Выполнение сосуда, работающего под давлением, в соответствии с изобретением позволяет создать устройство, работающее под высоким давлением, с обеспечением надежного герметичного резьбового соединения (горловина сосуда – запорно-пусковое устройство) при максимальном рабочем давлении, имеющее длительный срок службы, пригодное для размещения различных сред и обладающее высокими технико-экономическими показателями.
Изобретение может быть использовано при разработке различных сосудов, работающих под давлением, например баллонов для дыхательных аппаратов или разных типов средств пожаротушения.
Указанный положительный эффект подтвержден испытаниями опытных образцов сосудов, выполненных в соответствии с изобретением.
В настоящее время разработана конструкторская документация, проведены квалификационные испытания, намечено серийное производство.
Формула изобретения
1. Сосуд, работающий под давлением, содержащий корпус, горловину с резьбовым отверстием, отличающийся тем, что средний диаметр резьбы выполнен равным 0,5-0,9 диаметра горловины, при этом диаметр горловины выполнен равным 0,1-0,3 наружного диаметра корпуса.
2. Сосуд по п.1, отличающийся тем, что корпус выполнен цельноформованным.
3. Сосуд по п.1, отличающийся тем, что корпус выполнен двухслойным.
4. Сосуд по п.1, отличающийся тем, что корпус снабжен стеклопластиковым усилением.
5. Сосуд по п.1, отличающийся тем, что оснащен запорно-пусковым устройством.
6. Сосуд по п.5, отличающийся тем, что снаряжен огнетушащим веществом.
7. Сосуд по п.5, отличающийся тем, что оснащен выносным раструбом или шлангом с пенообразователем.
8. Сосуд по п.1, отличающийся тем, что на корпус нанесено покрытие на эпоксидной, пентафталевой, глифталевой, поливинил-бутеральной основах или на основе порошковых композиций.
9. Сосуд по п.1, отличающийся тем, что на внутреннюю поверхность корпуса нанесено защитное покрытие.
РИСУНКИ
|
|