|
|
(21), (22) Заявка: 2008100329/06, 09.01.2008
(24) Дата начала отсчета срока действия патента:
09.01.2008
(46) Опубликовано: 27.05.2009
(56) Список документов, цитированных в отчете о поиске:
DE 4033086 А1, 23.04.1992. SU 1451417 А1, 15.01.1989. SU 1707406 А, 23.01.1992. JP 2000329273 А, 30.11.2000. US 4776600 А, 11.10.1988. СН 675288 А, 14.09.1990.
Адрес для переписки:
195067, Санкт-Петербург, а/я 69, пат. пов. К.И. Сабир-де-Рибасу
|
(72) Автор(ы):
Епишов Александр Павлович (RU), Клепцов Игорь Петрович (RU)
(73) Патентообладатель(и):
Общество с ограниченной ответственностью “ИЛЬМА” (RU)
|
(54) ЭЛЕКТРОИЗОЛИРУЮЩЕЕ ФЛАНЦЕВОЕ СОЕДИНЕНИЕ
(57) Реферат:
Изобретение относится к трубопроводной арматуре. Электроизолирующее фланцевое соединение содержит диэлектрическую прокладку, зафиксированную между торцевыми фланцами трубопроводов посредством болтовых пар с расположенными на них электроизолирующими элементами. Электроизолирующие элементы образованы путем многослойной намотки ленты пористого политетрафторэтилена на болты, которые размещены в отверстиях фланцев фланцевого соединения. Намотка ленты пористого политетрафторэтилена на болты фланцевого соединения осуществлена с натяжением и внахлест диагонально перекрестным способом, при этом толщина ленты пористого политетрафторэтилена обмотки болтов не больше 0,25 мм, а пористость в пределах 50-60%. Диэлектрическая прокладка выполнена в виде плоского кольцевого диска и выступает над фланцами фланцевого соединения. Изобретение повышает надежность соединения. 14 з.п. ф-лы, 10 ил.
Изобретение относится к трубопроводной арматуре, к устройствам, работающим при динамических нагрузках, обеспечивающим подачу различных сред, например нефти, природного газа, с одновременным выполнением функции разделения металлического трубопровода, и может быть использовано в химической, энергетической, нефтяной и газовой отраслях промышленности в качестве элемента для защиты трубопроводов от блуждающих токов, статического электричества.
Известно фланцевое соединение трубопроводов [JP 2001193878, публ. 17.07.2001], в котором между фланцами трубопроводов установлен промежуточный патрубок с фланцами, а диэлектрическая проставка установлена между фланцем трубопровода и фланцем промежуточного патрубка. С учетом того, что диэлектрические проставки устанавливаются по длине трубопровода с большой частотой, то предложенная конструкция приводит к появлению большого количества дополнительных фланцевых соединений, которые нужно уплотнять и которые могут быть местом возможных разгерметизаций.
Известны фланцевые соединения трубопроводов [JP 3223588, публ. 02.10.1991] и [JP 3223589, публ. 02.10.1991], в которых фланцы стянуты между собой металлическим хомутом. При стягивании хомута прокладки деформируются, в результате чего одновременно достигается электрическая изоляция между фланцами относительно друг друга и герметичность между обоими фланцами. Для этого фланцы со стороны их присоединения к трубопроводам имеют конические поверхности, диэлектрические проставки, устанавливаемые между хомутами и фланцами патрубков, также имеют внутренние и наружные конические поверхности, конические поверхности имеют хомуты. Такое фланцевое соединение не может быть применено на промышленных трубопроводах в силу сложности конструкции, а также трудностей, которые неизбежно возникнут при проведении ремонтных работ.
Известно электроизолированное соединение трубопроводов [SU 1707406 А1, публ. 23.01.92], в котором соединение фланцев между собой достигается с помощью муфты, охватывающей фланцы, и гайки, на которую навинчивается муфта. Такое соединение также не пригодно для промышленных трубопроводов, поскольку обеспечить необходимое усилие затяжки фланцев для обеспечения герметичности не представляется возможным.
Известны электроизолирующие фланцевые соединения [JP 2003232477, публ. 22.08.2003] и [SU 1451417, публ. 15.10.89], в которых крепежные элементы для герметичного соединения фланцев частично расположены в диэлектрических проставках. Если в решении JP 2003232477 в диэлектрической проставке расположены головки болтов, то в решении SU 1451417 в проставке расположены гайки. Напряжения, возникающие от затяжки крепежных элементов и внутреннего давления в трубопроводе, воспринимаются проставками. Это требует значительного увеличения толщины проставки. В случае повреждения проставки или резьбы крепежного средства необходима полная разборка фланцевого соединения, замена проставки совместно с крепежными элементами. На транспортных трубопроводах прокачки нефти или природного газа такое соединение не может быть применено.
Известно фланцевое соединение [СН 675288, публ. 14.09.2001], в котором между фланцами расположено керамическое кольцо с герметизирующими кольцами на каждой стороне керамического кольца. Винты для стягивания фланцев между собой проходят через один фланец и ввинчиваются в другой фланец через керамические ступенчатые втулки, для которых в первом фланце предусмотрены ступенчатые отверстия. В известном устройстве сложно обеспечить высокое усилие затяжки, поскольку головка винта утоплена в ступенчатой втулке. Фланец под ступенчатую втулку имеет значительную толщину, обусловленную наличием ступенчатого отверстия. В случае повреждения резьбового отверстия во фланце требуется его замена.
Известно фланцевое соединение [US 4776600, публ. 11.10.1988], в котором между фланцами расположена диэлектрическая прокладка, выполненная в виде некорродирующего плоского дискового кольцевого металлического элемента, установленного между двумя твердыми плоскими диэлектрическими элементами, соответственно прикрепленными к двум его сторонам, и пары кольцевых уплотнений из диэлектрического эластомера, соответственно расположенных в двух кольцевых канавках, расположенных на наружных поверхностях прокладки. В известном соединении трудно осуществить центровку прокладки относительно зеркал фланцев, поскольку ее диаметр значительно меньше диаметров фланцев.
Известно электроизолирующее соединение фланцев [JP 2000329273, публ. 30.11.2003], в котором диэлектрическая прокладка установлена между фланцами. Прокладка выполнена из твердого каучука или пластмассы. Она совпадает с наружным диаметром фланцев и имеет отверстия, совпадающие с отверстиями фланцев под болты. На болты с двух сторон установлены изолирующие втулки с буртиками, выполненные из того же материала, что и прокладка, а их длина такова, что они проходят сквозь соответствующий фланец и частично заходят в диэлектрическую прокладку. Прокладка автоматически центрируется относительно фланцев соединения. К ее недостаткам следует отнести наличие О-образных кольцевых уплотнений, расположенных между противолежащими контактными поверхностями фланцев, имеющих малую зону контакта с фланцами, а также невысокие технические характеристики таких уплотнений.
Наиболее близким по своей технической сущности по отношению к заявляемому изобретению является электроизолирующее фланцевое соединение [DE 4033086, публ. 23.04.1992], содержащее диэлектрическую прокладку, зафиксированную между торцевыми фланцами трубопроводов посредством болтовых пар с расположенными на них электроизолирующими элементами и размещенными в отверстиях фланцев. Электроизолирующий элемент для каждого болта выполнен в виде гладкой втулки. Наружный диаметр диэлектрической прокладки совпадает с наружным диаметром фланцев.
При выполнении сборочных или ремонтных работ необходимо иметь электроизолирующие втулки для каждого возможного размера болта как по длине, так и по диаметру. Особенно этот недостаток становится явным при выполнении ремонтных работ транспортных трубопроводов. Выполнение диэлектрической прокладки и фланцев одного наружного диаметра может привести к возникновению токопроводящих мостов между фланцами фланцевого соединения от действия атмосферных осадков (дождя, снега).
В основу настоящего изобретения была поставлена задача разработать электроизолирующее фланцевое соединение, которое позволило бы упростить процесс его герметизации и электроизоляции, в частности, при проведении ремонтных работ на трубопроводных системах и расширило диапазон ее применения.
Технический результат при использовании заявляемого изобретения заключается в упрощении электроизоляции болтов фланцевого соединения, в исключении возникновения токопроводящих мостов между фланцами фланцевого соединения, в упрощении проведения ремонтных и сборочных работ, а также в удешевлении диэлектрической прокладки и в расширении диапазона применения диэлектрической прокладки в отношении уплотняемых рабочих сред.
Технический результат достигается тем, что в электроизолирующем фланцевом соединении, содержащем диэлектрическую прокладку, зафиксированную между торцевыми фланцами трубопроводов посредством болтовых пар с расположенными на них электроизолирующими элементами и размещенными в отверстиях фланцев, согласно изобретению электроизолирующие элементы образованы лентой пористого политетрафторэтилена, намотанной на болты, а диэлектрическая прокладка выполнена в виде плоского кольцевого диска, выступающего над фланцами фланцевого соединения.
Технический результат достигается тем, что в электроизолирующем фланцевом соединении намотка ленты пористого политетрафторэтилена на болты фланцевого соединения осуществлена с натяжением и внахлест диагонально перекрестным способом.
Предпочтительно, чтобы толщина ленты пористого политетрафторэтилена намотки на болты была не больше 0,25 мм, а пористость в пределах 50-60%.
Технический результат достигается тем, что в электроизолирующем фланцевом соединении диэлектрическая прокладка состоит из уплотнительного элемента и плотно охватывающего его по периферийной поверхности опорного диска с отверстиями под болты фланцевого соединения, при этом уплотнительный элемент выполнен в виде кольца из расширенного графита, кольцевая поверхность которого заключена в оболочку из пористого политетрафторэтилена, а опорный диск выполнен из материала, плотность которого ниже/выше плотности уплотнительного элемента, причем уплотнительный элемент выступает над торцевыми поверхностями опорного диска.
Технический результат достигается тем, что в электроизолирующем фланцевом соединении кольцо из расширенного графита образовано либо путем навивки пространственной спирали из гофрированной ленты расширенного графита до необходимой толщины кольца, либо вырезано из листа расширенного графита, при этом расширенный графит уплотнительного элемента имеет плотность в пределах 1,2-1,8 г/см3.
Целесообразно гофрированную ленту расширенного графита снабдить армирующим элементом, а кольцо, полученное путем вырезки из листа расширенного графита, выполнить в виде комплекта колец с армирующими элементами, расположенными между соседними кольцами из расширенного графита.
Армирующие элементы могут быть выполнены либо из органического материала, либо из неорганического материала, либо из металлического материала.
Желательно оболочку кольцевой поверхности кольца из расширенного графита образовать путем многослойной обмотки вышеуказанного кольца лентой пористого политетрафторэтилена.
Целесообразно намотку ленты пористого политетрафторэтилена осуществить с натяжением и внахлест диагонально перекрестным способом.
Предпочтительно, чтобы толщина ленты пористого политетрафторэтилена намотки кольца из расширенного графита было не больше 0,25 мм, а пористость в пределах 50-60%.
Диэлектрическая прокладка может быть снабжена вторым уплотнительным элементом, при этом уплотнительные элементы расположены на противоположных торцевых сторонах опорного диска и соединены с ним.
Диэлектрическая прокладка может быть снабжена композиционным тонким листовым материалом на основе химического волокна и фторопласта, при этом вышеуказанный композиционный материал расположен на противоположных торцевых поверхностях диэлектрической прокладки и, перекрывая полностью опорный диск и, по крайней мере, частично уплотнительный элемент, соединен с ними.
Опорный диск может быть выполнен из гофрированного картона, на противоположные торцевые стороны которого нанесено влагостойкое и антиадгезионное покрытие.
Целесообразно противоположные торцевые стороны гофрированного картона ламинировать пленкой из стекловолокна и политетрафторэтилена или лакотканью.
Опорный диск может быть выполнен из композиционного материала, например стеклотекстолита.
Отличительная особенность заявляемого электроизолирующего фланцевого соединения состоит в том, что электроизолирующие элементы образованы лентой пористого политетрафторэтилена, намотанной на болты фланцевого соединения, что позволяет значительно упростить проведение сборочных, а особенно ремонтных работ, поскольку позволяет на месте проведения работ изготовить простым способом (намоткой ленты пористого политетрафторэтилена с натяжением и внахлест диагонально перекрестным способом) соответствующие болтам фланцевого соединения электроизолирующие элементы. А применение ленты пористого политетрафторэтилена толщиной не больше 0,25 мм с пористостью в пределах 50-60% позволяет получить прочное соединение электроизолирующих элементов с болтами фланцевого соединения, достаточное для сборки фланцевого соединения. Выполнение диэлектрической прокладки в виде плоского кольцевого диска, выступающего над фланцами фланцевого соединения, позволяет избежать возникновения токопроводящих мостов между фланцами фланцевого соединения от действия атмосферных осадков (дождя, снега). Применение расширенного графита в качестве уплотнительного элемента позволяет расширить диапазон применения электроизолирующей прокладки, поскольку расширенный графит не стареет, не затвердевает, его свойства не изменяются в процессе длительной эксплуатации, а заявляемая его плотность в пределах 1,2-1,8 г/см3 позволяет иметь высокую упругую деформацию уплотнительного элемента в пределах до 10% от толщины кольцевого элемента. Заключение кольцевой поверхности кольца из расширенного графита в оболочку из пористого политетрафторэтилена предохраняет расширенный графит от разрушений, что также позволяет расширить диапазон применения уплотнительной прокладки. Так как диэлектрическая прокладка состоит из уплотнительного элемента и опорного диска, это позволяет уменьшить стоимость ее изготовления за счет уменьшения объема дорогостоящего расширенного графита и подбора материала опорного диска в соответствии с рабочей средой.
Эти и другие особенности заявляемого изобретения будут приведены ниже со ссылками на прилагаемые чертежи, на которых изображены:
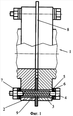
фиг.1 – фланцевое соединение;
фиг.2 – болт с электроизолирующим элементом;
фиг.3 – диэлектрическая прокладка;
фиг.4 – разрез по А-А (фиг.3);
фиг.5 – кольцо расширенного графита из гофрированной ленты;
фиг.6 – кольцо расширенного графита, вырезанное из листа;
фиг.7 – кольцо расширенного графита из армированной гофрированной ленты;
фиг.8 – вырезанное кольцо расширенного графита с армирующими элементами;
фиг.9 – диэлектрическая прокладка с двумя уплотнительными элементами;
фиг.10 – разрез по А-А (фиг.3) – вариант соединения уплотнительного элемента с опорным кольцом.
Заявляемое электроизолирующее фланцевое соединение 1 (фиг.1) состоит из двух фланцев 2 и 3, болтов 4 с текстолитовыми шайбами 5, металлическими шайбами 6, гайками 7 и диэлектрической прокладки 8, зафиксированной между фланцами 2 и 3 трубопроводов. Вместо болтов 4 могут быть применены шпильки, которые будут также снабжены гайками, текстолитовыми и металлическими шайбами. Болты 4 (фиг.2) снабжены электроизолирующими элементами 9, которые образованы путем намотки на них ленты пористого политетрафторэтилена 10, при этом намотка осуществлена с натяжением и внахлест диагонально перекрестным способом. Такая конструкция электроизолирующего элемента 9 позволяет упростить проведение сборочных, а особенно ремонтных работ, поскольку делает возможным их изготовление на месте проведения работ простым способом в соответствии с размерами болтов фланцевого соединения. Толщина ленты пористого политетрафторэтилена не больше 0,25 мм, а ее пористость в пределах 50-60%, что позволяет получить высокие электроизолирующие свойства элемента 9 и достаточную прочность его соединения с болтами фланцевого соединения, которая обеспечивает простоту сборки фланцевого соединения.
Диэлектрическая прокладка 8 (фиг.3, 4) состоит из уплотнительного элемента 11 (фиг.3) и плотно охватывающего его по периферийной поверхности опорного диска 12, выполненного из диэлектрического материала (указано ниже) с отверстиями 13 под болты 4 фланцевого соединения 1. Уплотнительный элемент 11 выполнен в виде кольца 14 из расширенного графита, кольцевая поверхность которого заключена в оболочку 15 из пористого политетрафторэтилена. Опорный диск 12 выполнен из материала, плотность которого ниже/выше плотности уплотнительного элемента 11. Уплотнительный элемент 11 выступает над торцевыми поверхностями опорного диска 12, при этом это превышение находится в пределах, обеспечивающих сохранение его упругой деформации при затяжке фланцевого соединения 1 и соединение опорного диска 12 без зазора с торцевыми поверхностями фланцев 2 и 3. Кольцо 14 из расширенного графита образовано либо путем навивки пространственной спирали из гофрированной ленты расширенного графита 16 (фиг.5) до необходимой толщины, либо вырезано из листа 17 (фиг.6) расширенного графита. Выбор способа изготовления кольца из расширенного графита определяется размерами диэлектрической прокладки. При больших размерах вышеуказанной прокладки для снижения стоимости диэлектрической прокладки путем уменьшения расхода дорогостоящего расширенного графита кольцо 14 целесообразно изготовлять из гофрированной ленты (фиг.5), а при малых размерах кольцо 14 вырезают из листа расширенного графита (фиг.6). Расширенный графит уплотнительного элемента имеет плотность в пределах 1,2-1,8 г/см3. При плотности расширенного графита 1,8 г/см3 упругая деформация уплотнительного элемента 11 имеет максимальное значение и находится в пределах 10% от его толщины. Такую плотность расширенного графита уплотнительного элемента целесообразно иметь в диэлектрической прокладке 8, устанавливаемой во фланцевом соединении 1 системы, работающей со значительным перепадом температур. При плотности расширенного графита ниже 1,2 г/см3 упругая деформация такого уплотнительного элемента может оказаться недостаточной для обеспечения герметичности фланцевого соединения в условиях меняющейся окружающей температуры.
Оболочка 15 из политетрафторэтилена образована путем многослойной обмотки кольца расширенного графита лентой пористого политетрафторэтилена 16 с натяжением и внахлест диагонально перекрестным способом. Толщина ленты пористого политетрафторэтилена не больше 0,25 мм, поскольку при большем значении ее толщины получить качественную навивку невозможно. Обвивка с натяжением ленты из пористого политетрафторэтилена исключает его рыхлость на кольцевой поверхности кольца из расширенного графита за счет того, что политетрафторэтилен с пористостью 50-60% обладает высокой податливостью в поперечном направлении, поэтому при обвивке на кольцевой поверхности кольца из расширенного графита не образуются морщины со стороны внутреннего диаметра кольца и обеспечивается плотное соединение витков ленты 16 между собой.
Так как расширенный графит не обладает высокой прочностью, то при изготовлении диэлектрической прокладки 8 больших размеров целесообразно применить армирующий элемент 18 в виде ленты, поместив его между двумя лентами расширенного графита с последующим совместным гофрированием (фиг.7). Армирующий элемент 18 может быть выполнен либо из органического материала, в частности арамида, полиэтилена, полипропилена или нейлона, либо из неорганического материала, в частности стекловолокна или трикотажного полотна из керамических, кварцевых или углеродных волокон, либо из металлической фольги, в том числе нержавеющей стали. Выбор вида материала армирующего элемента определяются условиями эксплуатации диэлектрической прокладки и экономической целесообразностью применения того или иного вида материала армирующего элемента. Наличие армирующего элемента увеличивает прочностные характеристики диэлектрической прокладки и не сказывается на ее упругости, поскольку ее упругость определяется плотностью расширенного графита.
Кольцо 14 (фиг.6) может быть выполнено в виде одного кольца 17 расширенного графита либо оно может быть выполнено из пакета колец 19 (условно показаны два кольца 19) расширенного графита с армирующими элементами 20, расположенными между соседними кольцами (фиг.8). Армирующие элементы 20 могут быть выполнены в виде гладких колец, перфорированных колец или выполнены из сетки. При этом в качестве материала для армирующих элементов может быть использован либо органический материал, либо неорганический материал, либо металл. Выбор вида материала армирующего элемента определяется условиями эксплуатации диэлектрической прокладки и экономической целесообразностью применения того или иного вида материала армирующего элемента.
Диэлектрическая прокладка (фиг.9) может быть снабжена вторым уплотнительным элементом, при этом уплотнительные элементы 20 расположены на противоположных торцевых сторонах опорного диска 12 и соединены с ним.
Для обеспечения прочного соединения опорного диска 12 с уплотнительным элементом 11 диэлектрическая прокладка (фиг.10) снабжена композиционным тонким листовым материалом 21 на основе химического волокна и фторопласта. Вышеуказанный композиционный материал 21 расположен на противоположных торцевых поверхностях диэлектрической прокладки и, перекрывая полностью опорный диск и, по крайней мере, частично уплотнительный элемент, соединен с ними, например, клеем.
Опорный диск 12 может быть выполнен из гофрированного картона, на противоположные торцевые стороны которого нанесено влагостойкое и антиадгезионное покрытие. Противоположные торцевые стороны гофрированного картона могут быть ламинированы пленкой из стекловолокна и политетрафторэтилена или лакотканью. Опорный диск может быть выполнен из композиционного материала, например стеклотекстолита. Выбор покрытия гофрированного картона и материала опорного диска определяется уплотняемой средой, ее параметрами, а также условиями работы фланцевого соединения.
Электроизолирующее фланцевое соединение работает следующим образом. В промежуток между фланцами 1 и 2 устанавливается диэлектрическая прокладка 8, через отверстие 13 которой вводится болт 4 с электроизолирующим элементом 9. Со стороны головки болта 4 на него предварительно устанавливается металлическая шайба 6 и шайба из текстолита 5, которая будет контактировать с фланцем 1. После ввода болта 4 в отверстие фланца 2 на болт устанавливают текстолитовую шайбу 5, металлическую шайбу 4 и навинчивают гайку 7. Поскольку в большинстве своем фланцы фланцевого соединения стандартизованы – это означает, что все отверстия фланцев под болты 4 расположены с высокой точностью относительно его продольной оси. Поэтому электроизолирующая прокладка 8 точно выставляется относительно продольной оси фланцевого соединения, что создает условия для получения высокой герметичности фланцевого соединения. Герметичность электроизолирующего фланцевого соединения достигается путем необходимой степени затяжки болтов 4. Напряжение, возникающее от затяжки болтов 4, передается диэлектрической прокладке 8, уплотнительный элемент 11 которой, упруго деформируясь на зеркале фланцев 1 и 2, обеспечивает герметизацию фланцевого соединения 1. Электрическая изоляция фланцевого соединения 1 обеспечивается текстолитовыми шайбами 5, контактирующими с фланцами 1 и 2, электроизолирующим элементом 9, исключающим контакт болта 4 с фланцами 1 и 2, оболочкой 15 из пористого политетрафторэтилена, контактирующей с зеркалами фланцев фланцевого соединения, и опорным диском 12 диэлектрической прокладки 8, который без зазора плотно контактирует с фланцами 1 и 2, выступает над периферийными поверхностями фланцев, делая невозможным в силу этого образование токопроводящих мостов между фланцами фланцевого соединения от действия атмосферных осадков (дождя, снега).
Формула изобретения
1. Электроизолирующее фланцевое соединение, содержащее диэлектрическую прокладку, зафиксированную между торцевыми фланцами трубопроводов посредством болтовых пар с расположенными на них электроизолирующими элементами и размещенными в отверстиях фланцев, отличающееся тем, что электроизолирующие элементы образованы путем многослойной намотки ленты пористого политетрафторэтилена на болты, а диэлектрическая прокладка выполнена в виде плоского кольцевого диска, выступающего над фланцами фланцевого соединения.
2. Электроизолирующее фланцевое соединение по п.1, отличающееся тем, что намотка ленты пористого политетрафторэтилена на болты фланцевого соединения осуществлена с натяжением и внахлест диагонально перекрестным способом.
3. Электроизолирующее фланцевое соединение по п.2, отличающееся тем, что толщина ленты пористого политетрафторэтилена обмотки болтов не больше 0,25 мм, а пористость в пределах 50-60%.
4. Электроизолирующее фланцевое соединение по п.1, отличающееся тем, что диэлектрическая прокладка состоит из уплотнительного элемента и плотно охватывающего его по периферийной поверхности опорного диска с отверстиями под болты фланцевого соединения, при этом уплотнительный элемент выполнен в виде кольца из расширенного графита, кольцевая поверхность которого заключена в оболочку из пористого политетрафторэтилена, а опорный диск выполнен из материала, плотность которого ниже/выше плотности уплотнительного элемента, причем уплотнительный элемент выступает над торцевыми поверхностями опорного диска.
5. Электроизолирующее фланцевое соединение по п.4, отличающееся тем, что кольцо из расширенного графита образовано либо путем навивки пространственной спирали из гофрированной ленты расширенного графита до необходимой толщины, либо вырезано из листа расширенного графита, при этом расширенный графит уплотнительного элемента имеет плотность в пределах 1,2-1,8 г/см3.
6. Электроизолирующее фланцевое соединение по п.5, отличающееся тем, что гофрированная лента расширенного графита снабжена армирующим элементом, а кольцо, полученное путем вырезки из листа расширенного графита, выполнено в виде комплекта колец с армирующими элементами, расположенными между соседними кольцами из расширенного графита.
7. Электроизолирующее фланцевое соединение по п.6, отличающееся тем, что армирующие элементы выполнены либо из органического материала, либо из неорганического материала, либо из металлического материала.
8. Электроизолирующее фланцевое соединение по п.4, отличающееся тем, что оболочка кольцевой поверхности кольца из расширенного графита образована путем многослойной обмотки вышеуказанного кольца лентой пористого политетрафторэтилена.
9. Электроизолирующее фланцевое соединение по п.8, отличающееся тем, что намотка ленты пористого политетрафторэтилена осуществлена с натяжением и внахлест диагонально перекрестным способом.
10. Электроизолирующее фланцевое соединение по п.9, отличающееся тем, что толщина ленты пористого политетрафторэтилена обмотки кольца из расширенного графита не больше 0,25 мм, а пористость в пределах 50-60%.
11. Электроизолирующее фланцевое соединение по п.4, отличающееся тем, что диэлектрическая прокладка снабжена вторым уплотнительным элементом, при этом уплотнительные элементы расположены на противоположных торцевых сторонах опорного диска и соединены с ним.
12. Электроизолирующее фланцевое соединение по п.4, отличающееся тем, что диэлектрическая прокладка снабжена композиционным тонким листовым материалом на основе химического волокна и фторопласта, при этом вышеуказанный композиционный материал расположен на противоположных торцевых поверхностях диэлектрической прокладки и, перекрывая полностью опорный диск и, по крайней мере, частично уплотнительный элемент, соединен с ними.
13. Электроизолирующее фланцевое соединение по п.4, отличающееся тем, что опорный диск выполнен из гофрированного картона, на противоположные торцевые стороны которого нанесено влагостойкое и антиадгезионное покрытие.
14. Электроизолирующее фланцевое соединение по п.4, отличающееся тем, что противоположные торцевые стороны гофрированного картона ламинированы пленкой из стекловолокна и политетрафторэтилена или лакотканью.
15. Электроизолирующее фланцевое соединение по п.4, отличающееся тем, что опорный диск выполнен из композиционного материала, например из стеклотекстолита.
РИСУНКИ
|
|