|
|
(21), (22) Заявка: 2007141983/06, 12.11.2007
(24) Дата начала отсчета срока действия патента:
12.11.2007
(46) Опубликовано: 27.05.2009
(56) Список документов, цитированных в отчете о поиске:
SU 456952 А, 21.02.1975. RU 2225559 C1, 10.03.2004. RU 2282090 C1, 20.08.2006. US 2005224740 A1, 13.10.2005. US 2005145812 A1, 07.07.2005. US 2005254973 A1, 17.11.2005.
Адрес для переписки:
355017, г.Ставрополь, пер. Зоотехнический, 12, СтГАУ, ОИС (патентный отдел)
|
(72) Автор(ы):
Никитенко Геннадий Владимирович (RU), Гринченко Виталий Анатольевич (RU)
(73) Патентообладатель(и):
Федеральное государственное образовательное учреждение высшего профессионального образования Ставропольский государственный аграрный университет (RU)
|
(54) ЭЛЕКТРОМАГНИТНЫЙ КЛАПАН
(57) Реферат:
Изобретение относится к арматуростроению, в частности к клапанам с электромагнитным приводом, и предназначено для использования в конструкциях вакуумных систем, в устройствах дистанционного управления потоками газа и жидкости. Электромагнитный клапан содержит корпус с патрубками, шток с плунжером, электромагнит с двумя катушками. Якорь фиксируется пружинами в нейтральном положении. Якорь находится между намагничивающими катушками и когтеобразными полюсами. Якорь изготовлен из двух магнитомягких вставок и немагнитной прослойки. Две катушки электромагнита намотаны на магнитопроводы. Изобретение направлено на повышение точности регулирования и изменения потока рабочей среды. 1 ил.
Область техники, к которой относится изобретение
Изобретение относится к арматуростроению, в частности к клапанам с электромагнитным приводом, и может быть использовано в конструкциях вакуумных систем, в устройствах дистанционного управления потоками газа и жидкости.
Уровень техники
Известен электромагнитный клапан, содержащий механизм ручного управления для установки клапана в открытое состояние, электромагнит, седло клапана, якорь с запорным органом, выполненные с возможностью перемещения между седлом клапана и электромагнитом, и две шайбы. Одна шайба выполнена из магнитного, другая шайба – из магнитопроводящего материала. Обе шайбы установлены с одной стороны относительно запорного органа с якорем, а электромагнит – с другой стороны. Одна из шайб жестко связана посредством штока с запорным органом и якорем, другая установлена неподвижно. При установке клапана в закрытое состояние обе шайбы находятся в непосредственной близости друг от друга, а одна из шайб выполнена с возможностью регулировки конечного расстояния между ними (см. авт.св. RU 2282090, кл. F16K 31/06).
Известен электромагнитный клапан, содержащий корпус с входным и выходным патрубками, электромагнит, якорь с запорным органом, выполненный с возможностью взаимодействия с электромагнитом, и устройство для индикации положения запорного органа, например магнитоуправляемый контакт. Магнитопровод в области перехода его в стоп выполнен разъемным. В стопе и прилегающем к нему магнитопроводе выполнено отверстие, в которое установлено устройство индикации положения запорного органа с возможностью перемещения вдоль оси этого отверстия (см. авт.св. RU 2282771, кл. F16K 31/06).
Данные аналоги имеют следующие недостатки. Нет возможности установить клапан в промежуточное положение в автоматическом режиме, сложность изготовления, большое количество деталей, низкая надежность.
Наиболее близким по технической сущности и достигаемому эффекту и принимаемый авторами за прототип является клапан электромагнитный, основной запорный орган которого установлен в цилиндрической полости корпуса, а в его внутренней полости расположен вспомогательный клапан, соединенный штоком с электромагнитным приводом, причем он снабжен дополнительным электромагнитом, якорь которого соединен с рычагом, укрепленным на корпусе, а на штоке вспомогательного клапана установлен упор, воспринимающий воздействие указанного рычага (см. авт.св. SU 456952, кл. F16K 31/06).
Недостатком прототипа является сложная конструкция и наличие рычагов, что затрудняет управление работой устройства.
Раскрытие изобретения
Технический результат, который может быть достигнут с помощью изобретения, сводится к повышению точности регулирования и изменения потока рабочей среды.
Технический результат достигается с помощью электромагнитного клапана, содержащего корпус с патрубками, шток с плунжером, электромагнит с двумя катушками, якорь, который фиксируется пружинами в нейтральном положении и находится между намагничивающими катушками и когтеобразными полюсами, причем якорь изготовлен из двух магнитомягких вставок и немагнитной прослойки, две катушки электромагнита намотаны на магнитопроводы.
Применение заявленного электромагнитного клапана позволит повысить точность регулирования потока рабочей среды, упростит конструкцию и повысит ее надежность.
Краткое описание чертежей
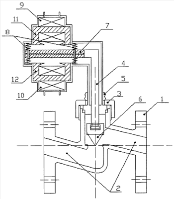
На чертеже представлен общий вид электромагнитного клапана.
Осуществление изобретения
Электромагнитный клапан состоит из корпуса 1 с патрубками 2 для соединения с трубопроводом (не показан). В корпус 1 через отверстие в крышке 3 вставлен шток 4. Отверстие уплотнено кольцами 5. На конце штока 4 закреплен плунжер 6. Шток 4 соединен с якорем 7, который изготовлен из двух магнитомягких вставок и немагнитной прослойки. Якорь 7 фиксируется пружинами 8 в нейтральном положении и находится между двумя намагничивающими катушками 9, 10. Катушки 9, 10 намотаны на магнитопроводы 11, 12 когтеобразной формы с полюсами.
Электромагнитный клапан работает следующим образом. Корпус 1 через патрубки 2 соединяется с трубопроводом с рабочей средой. Крышка 3 ограничивает движение штока 4. Уплотнительные кольца 5 предохраняют от утечек рабочей среды. Шток 4 с закрепленным плунжером 6 совершают возвратно-поступательные движения, задаваемые якорем 7. Положение якоря зависит от намагничивающей силы на катушках 9, 10. При подаче одинакового значения напряжения на намагничивающие катушки 9, 10 якорь 7 под действием одинаковых электромагнитных сил располагается посередине. Плунжер 6 занимает среднее положение как показано на чертеже. Пропускная способность электромагнитного клапана уменьшается в два раза. При увеличении значения напряжения на намагничивающей катушке 10 и пропорциональном уменьшении значения напряжения на намагничивающей катушке 9 электромагнитная сила, создаваемая намагничивающей катушкой 10, увеличивается и притягивает якорь 7 вниз. Шток 4 с плунжером 6 перемещаются вниз и постепенно перекрывают патрубки 2. Пропускная способность электромагнитного клапана уменьшается. Если значение напряжения на намагничивающей катушке 10 не увеличивать, то якорь 7 остается в промежуточном положении. Дальнейшее увеличение значения напряжения на намагничивающей катушке 10 до максимального приводит к тому, что шток 4 с плунжером 6 перекрывают патрубки 2. Электромагнитный клапан закрыт, а рабочая среда не поступает в трубопровод. При увеличении значения напряжения на намагничивающей катушке 9 возникает электромагнитная сила, притягивающая якорь 7 вверх. Шток 4 с плунжером 6 открывают патрубки 2, а поток рабочей среды увеличивается. Дальнейшее увеличение значения напряжения на намагничивающей катушке 9 до максимального приводит к тому, что шток 4 с плунжером 6 полностью открывают патрубки 2, электромагнитный клапан открыт, а рабочая среда поступает в систему в полном объеме. Таким образом происходит регулирование потока рабочей среды. Залипание якоря 7 предотвращается пружинами 8. Якорь 7 изготовлен из прослойки из немагнитного материала со вставками из магнитомягкого материала. Такая конструкция якоря 7 позволяет разделить магнитные потоки, а также уменьшить массу и габариты электромагнитного клапана в целом. Когтеобразная форма магнитопроводов 11, 12 увеличивает площадь взаимодействия и величину намагничивающей силы.
В отличие от прототипа заявленный электромагнитный клапан имеет электромагнит, режимом работы которого легче управлять, за счет чего повышается скорость и точность изменения потока рабочей среды.
Применение заявленного электромагнитного клапана позволит повысить точность регулирования потока рабочей среды, упростит конструкцию и повысит ее надежность.
Формула изобретения
Электромагнитный клапан, содержащий корпус с патрубками, шток с плунжером, электромагнит с двумя катушками, отличающийся тем, что якорь фиксируется пружинами в нейтральном положении и находится между намагничивающими катушками и когтеобразными полюсами, причем якорь изготовлен из двух магнитомягких вставок и немагнитной прослойки, две катушки электромагнита намотанными на магнитопроводы.
РИСУНКИ
|
|