|
|
(21), (22) Заявка: 2008103087/06, 28.01.2008
(24) Дата начала отсчета срока действия патента:
28.01.2008
(46) Опубликовано: 27.05.2009
(56) Список документов, цитированных в отчете о поиске:
US 6029682 А, 29.02.2000. SU 838247 А, 17.06.1981. SU 1789817 A1, 23.01.1993. RU 2063573 C1, 10.07.1996.
Адрес для переписки:
607188, Нижегородская обл., г. Саров, пр. Мира, 37, ФГУП “РФЯЦ-ВНИИЭФ”, начальнику ОПИНТИ
|
(72) Автор(ы):
Данилов Виктор Владимирович (RU), Свищев Виктор Владимирович (RU), Бойко Михаил Юрьевич (RU)
(73) Патентообладатель(и):
Российская Федерация в лице Федерального агентства по атомной энергии (RU), Федеральное государственное унитарное предприятие “Российский федеральный ядерный центр-Всероссийский научно-исследовательский институт экспериментальной физики”-ФГУП “РФЯЦ-ВНИИЭФ” (RU)
|
(54) БЫСТРОДЕЙСТВУЮЩИЙ ЭЛЕКТРОМАГНИТНЫЙ КЛАПАН
(57) Реферат:
Изобретение относится к области машиностроения, в частности к электромагнитным клапанам в системах подачи и сброса сжатого газа, и предназначено для использования в пневмоускорителях систем аварийной защиты. Быстродействующий электромагнитный клапан содержит электромагнит с якорем, седло, запорный элемент. Запорный элемент выполнен в виде тарелки с уплотнителем. Запорный элемент через шток связан с якорем. В якоре выполнено углубление под верхнюю часть головки штока. На якоре закреплен элемент центрирования штока. В последнем выполнена выемка под нижнюю часть головки штока, поверхность которой изготовлена в форме тела вращения. Клапан снабжен шайбой. Шайба установлена между запорным элементом и уступом. Уступ выполнен на штоке. Шайба регулирует величину зазора между запорным элементом и седлом клапана и между торцевыми поверхностями электромагнита и якоря. Усилие на уплотнителе выбрано из определенного условия. Элементы клапана объединены в единую конструкцию, размещенную на кронштейне и помещенную в ресивер. Кронштейн имеет фланцевую зону. В последней выполнено седло. Запорный элемент вынесен за пределы ресивера. Изобретение направлено на повышение быстродействия клапана, на уменьшение сил трения, на упрощение конструкции клапана. 2 з.п. ф-лы, 3 ил.
Предлагаемое изобретение относится к области машиностроения, в частности к электромагнитным клапанам в системах подачи и сброса сжатого газа, например может быть использовано в пневмоускорителях систем аварийной защиты.
Известен патент РФ 2063573 от 08.06.92 г., опубликованный 10.07.96 г. Электромагнитный клапан содержит корпус с седлом, с которым взаимодействует запорный орган, состоящий из внутренней и наружной частей, уплотнителя и гайки и размещенный на штоке якоря электромагнита. Пружина обеспечивает усилие прижатия запорного органа к седлу. При подаче напряжения на электромагнит якорь втягивается и поднимает запорный орган, сжимая пружину и открывая клапан.
Недостатком данного клапана является большое время срабатывания, необходимое для преодоления усилия пружины и давления рабочей среды на запорный орган, невозможность использования клапана в системах, требующих сброс давления при обесточивании клапана, отсутствие регулирующего органа для настройки на разные давления рабочей среды, что снижает эксплуатационные свойства, такие как универсальность и применяемость.
Известен также патент США 6029682 от 24.07.98 г., опубликованный 29.02.2000 г. Быстродействующий электромагнитный клапан имеет корпус клапана, включающий в себя канал с не менее чем одним седлом в нем, систему с возвратно-поступательным движением, содержащую золотник, расположенный в канале так, что он может двигаться между открытым положением клапана, в котором золотник находится на расстоянии от седла, и закрытым положением клапана, в котором золотник с усилием входит в зацепление с седлом. С корпусом соединен соленоид, который при подаче напряжения переводит клапан в закрытое положение.
Быстродействие клапана достигается за счет смещения якоря усилием пружины, которая при отключении напряжения заставляет якорь и соединительный элемент двигаться к золотнику, в итоге происходит удар по торцевой поверхности золотника, в результате чего золотник быстро сдвигается с места посадки.
Недостатком известного клапана является то, что смещение золотника в открытое положение осуществляется за счет пружины, которая обладает инерцией, что сказывается на быстродействии клапана. Необходимость уплотнения золотника по цилиндрической поверхности приводит к увеличению сил трения, что также уменьшает скорость открытия клапана. Выход газа в рассматриваемом клапане проходит с большим гидравлическим сопротивлением ввиду наличия узких проходов и изменения направления потока газа.
Вышеописанный быстродействующий электромагнитный клапан выбран за прототип по назначению.
Задачей изобретения является разработка быстродействующего электромагнитного клапана, обладающего малым гидравлическим сопротивлением, с временем срабатывания не более 50 мс и упрощение конструкции клапана за счет использования только сил давления газа для открытия клапана.
Технический результат заключается в повышении быстродействия клапана, за счет использования энергии сжатого газа, уменьшения сил трения, исключения промежуточных элементов, влияющих на быстродействие, упрощении конструкции клапана, повышении эксплуатационных свойств, таких как универсальность.
Технический результат достигается тем, что в заявляемом электромагнитном клапане, содержащем электромагнит с якорем, седло и запорный элемент, запорный элемент выполнен в виде тарелки с уплотнителем и через шток связан с якорем, в котором выполнено углубление под верхнюю часть головки штока, на якоре закреплен элемент центрирования штока, в котором выполнена выемка под нижнюю часть головки штока, поверхность которой изготовлена в форме тела вращения, клапан снабжен шайбой, установленной между запорным элементом и уступом, выполненным на штоке, регулирующей величину зазора между запорным элементом и седлом клапана, и между торцевыми поверхностями электромагнита и якоря, а также усилие на уплотнителе запорного элемента, выбранное из следующего условия:
Fэл.маг Fсж.упл+Fдавл.газа,
где Fэл.маг – усилие, развиваемое электромагнитом;
Fсж.упл – усилие сжатия уплотнителя;
Fдавл.газа – сила давления сжатого газа на запорный элемент,
при этом элементы клапана объединены в единую конструкцию, размещенную на кронштейне, имеющем фланцевую зону, в которой выполнено седло, и помещенную в ресивер, а запорный элемент вынесен за его пределы.
Клапан может быть снабжен по крайней мере одним датчиком положения якоря, например датчиком типа «сухой контакт», сигнализирующим о готовности к работе клапана.
Кронштейн электромагнита и шток могут быть выполнены из немагнитной стали.
Выполнение запорного элемента в виде тарелки с уплотнителем и размещение его снаружи ресивера позволяет для открытия клапана использовать только энергию сжатого газа ресивера, т.е. сил давления, что повышает быстродействие клапана.
Выполнение соединения штока с якорем, в котором сделано углубление под верхнюю часть головки штока и закреплен элемент центрирования штока, в котором выполнена выемка под нижнюю часть головки штока, поверхность которой изготовлена в форме тела вращения, обеспечивает плотное прилегание, практически беззазорное, торцевой поверхности якоря к поверхности электромагнита, повышает усилие, развиваемое электромагнитом.
Шайба, установленная между запорным элементом и уступом, выполненным на штоке, обеспечивает возможность регулировки перераспределения усилия электромагнита между силой сжатия уплотнителя (увеличение герметичности) и силой давления газа на запорный элемент, что позволяет увеличить максимально возможное давление, подаваемое на клапан при заданной степени герметичности.
При Fэл.маг>Fсж.упл+Fдавл.газа происходит надежное удержание клапана в закрытом положении. При Fэл.маг Fсж.упл+Fдавл.газа происходит нарушение герметичности клапана, вплоть до его полного открытия.
Выполнение кронштейна и штока из немагнитной стали исключает появление магнитных сил на перемещаемых элементах клапана и увеличивает скорость его срабатывания.
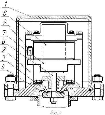
На фиг.1 представлена схема быстродействующего электромагнитного клапана, где показан корпус ресивера 1, кронштейн 2 с седлом 3, с которым взаимодействует запорный орган, состоящий из тарелки 4 с уплотнителем, шайбы 5, регулирующей величину зазора, штока 6, связанного с якорем 7 через центрирующий элемент 10, электромагнит 8, установленный на кронштейне 2, датчик положения якоря 9.
На фиг.2 показан элемент центрирования штока 10. R – радиус.
На фиг.3 в увеличенном масштабе показана шайба 5 и уплотнитель 11.
Работает клапан следующим образом.
При подаче напряжения на электромагнит 8 якорь 7 притягивается к нему. Шток 6, соединенный с якорем при помощи элемента центрирования 10, подтягивает запорный орган к седлу 3 клапана, при этом величину зазора между запорным элементом и седлом клапана устанавливают с помощью шайбы 5. Установка зазора производится до установки клапана в ресивер 1, когда все элементы его закреплены на кронштейне 2. Датчик положения якоря 9 подает сигнал о закрытии клапана.
При снятии напряжения с электромагнита давление газа в ресивере, действующее на запорный элемент, срывает его с седла и клапан открывается.
Использование изобретения позволяет повысить быстродействие клапана за счет использования энергии сжатого газа, уменьшения сил трения, исключения промежуточных элементов, влияющих на быстродействие, а также упростить конструкции клапана.
Примером конкретного выполнения данной конструкции может служить электромагнитный клапан, выполненный из немагнитной стали Х18Н10Т с установленными на нем двумя датчиками положения якоря типа «сухой контакт» и помещенный в ресивер объемом 3 л, изготовленный из стали Ст3.
Преимуществом в использовании данного клапана является возможность настройки и регулировки его вне ресивера, а также возможность размещения его в корпусе любого подходящего по габаритам клапана объема, что подчеркивает его универсальность.
Был изготовлен макет и проведены испытания, подтвердившие работоспособность клапана. Достигнуты следующие результаты:
при давлении в ресивере 10 атм время срабатывания составило 23 мс;
при давлении в ресивере 14 атм время срабатывания составило 12 мс, при этом
Fэл.маг составила 300 кгс, Fсж.упл. – 100 кгс, а Fдавл.газа при условном проходе клапана 32 мм составила (14 атм×8 см2) 112 кгс.
Формула изобретения
1. Быстродействующий электромагнитный клапан, содержащий электромагнит с якорем, седло, запорный элемент, отличающийся тем, что запорный элемент выполнен в виде тарелки с уплотнителем, и через шток связан с якорем, в котором выполнено углубление под верхнюю часть головки штока, на якоре закреплен элемент центрирования штока, в котором выполнена выемка под нижнюю часть головки штока, поверхность которой изготовлена в форме тела вращения, клапан снабжен шайбой, установленной между запорным элементом и уступом, выполненном на штоке, и регулирующей величину зазора между запорным элементом и седлом клапана, и между торцевыми поверхностями электромагнита и якоря, а также усилие на уплотнителе, выбранное из следующего условия: Fэл.маг. Fсж.упл.+Fдавл.газа; где Fэл.маг. – усилие, развиваемое электромагнитом; Fсж.упл. – усилие сжатия уплотнителя; Fдавл.газа – сила давления сжатого газа на запорный элемент, при этом элементы клапана объединены в единую конструкцию, размещенную на кронштейне, имеющем фланцевую зону, в которой выполнено седло, и помещенную в ресивер, а запорный элемент вынесен за его пределы.
2. Быстродействующий электромагнитный клапан по п.1, отличающийся тем, что клапан снабжен по крайней мере одним датчиком положения якоря, например датчиком типа «сухой контакт», сигнализирующим о готовности к работе клапана.
3. Быстродействующий электромагнитный клапан по п.1, отличающийся тем, что кронштейн и шток выполнены из немагнитной стали.
РИСУНКИ
|
|