|
|
(21), (22) Заявка: 2008101954/11, 24.01.2008
(24) Дата начала отсчета срока действия патента:
24.01.2008
(46) Опубликовано: 27.05.2009
(56) Список документов, цитированных в отчете о поиске:
RU 2138710 С1,27.09.1999. SU 765571 А, 27.09.1980. GB 1384679 А, 19.02.1976.
Адрес для переписки:
125212, Москва, ул. Адмирала Макарова, 21, кв.14, Э.П. Скорнякову
|
(72) Автор(ы):
Воробьев Дмитрий Викторович (RU), Гулиа Нурбей Владимирович (RU), Соболевский Михаил Исаакович (RU)
(73) Патентообладатель(и):
Закрытое акционерное общество “Комбарко” (RU)
|
(54) ДИСКОВЫЙ ПЛАНЕТАРНЫЙ ВАРИАТОР
(57) Реферат:
Изобретение относится к области машиностроения и может быть использовано для механических приводов как с автоматическим, так и с принудительным регулированием передаточного отношения. Дисковый планетарный вариатор содержит внешние (1) и внутренние (2) центральные фрикционные диски. Внешние диски (1) закреплены в корпусе (23), а внутренние (2) – на входном валу (34) и входят в контакт с промежуточными коническими фрикционными дисками-сателлитами (3), установленными на поворотных рычагах (4). Концы поворотных рычагов (4), противоположные тем, на которых закреплены сателлиты (3), снабжены толкателями – роликами (7), которые обкатываются по рабочим поверхностям профильных отверстий регуляторного звена (10), связанного с выходным валом (11) вариатора. Поворотные рычаги подпружинены относительно водила так, чтобы сателлиты (3) под действием пружин (6) стремились к центру вариатора, что соответствует уменьшению передаточного отношения. Поворотные рычаги (4) на вращающемся водиле (5) связаны со втулкой (21) механическими связями, преобразующими поворот поворотных рычагов (4) в осевое перемещение втулки (21). Втулка (21) приводится в движение рычажно-кулисным механизмом (13). Изобретение позволяет осуществлять помимо автоматического режима работы также и режим работы с принудительным изменением передаточного отношения. 3 з.п. ф-лы, 7 ил.
Изобретение относится к области машиностроения и может быть использовано для механических приводов как с автоматическим, так и с принудительным регулированием передаточного отношения. Вариатор может применяться в приводах транспортных машин, в частности колесных тракторов, автомобилей повышенной проходимости и аналогичных машин.
Из уровня техники известен дисковый планетарный вариатор, обладающий свойством автоматичности, обеспечиваемым регуляторным звеном – диском с вырезанными в нем профильными отверстиями, с рабочими поверхностями которых взаимодействуют толкатели в виде роликов, расположенные на поворотных рычагах и связанные с промежуточными коническими фрикционными дисками – сателлитами. При угловом перемещении регуляторного звена под действием крутящего момента на выходе вариатора меняется положение толкателей и связанных с ними сателлитов, что вызывает автоматическое изменение передаточного отношения вариатора (см. патент РФ 2091637, F16H 15/50, 1997, автор – Н.В.Гулиа). Это устройство принято за аналог.
Устройству-аналогу присущ недостаток, заключающийся в том, что толкатели подгружены к рабочим поверхностям профильных отверстий центробежными силами, вызванными неуравновешенностью поворотного рычага относительно его оси вращения. Такое выполнение весьма ненадежно нагружает регуляторное звено, что ведет к неточности регулирования. При изменении частоты вращения тихоходного (выходного) вала, например, в пять раз (а это реальные условия эксплуатации устройства), центробежная сила меняется в 25 раз, а крутящий момент – всего в пять раз. Такое расхождение в изменении сил на регуляторном звене и момента резко снижает точность регулирования вариатора.
Описанный недостаток устранен в техническом решении-прототипе. За прототип принято техническое решение, обладающее максимальной совокупностью общих признаков, по патенту РФ 2138710, F16H 15/50, 1999, автор – Н.В.Гулиа. Дисковый планетарный вариатор-прототип включает внешние и внутренние центральные фрикционные диски, первые из которых закреплены в корпусе, а вторые – на входном валу, входящие в контакт с промежуточными коническими фрикционными дисками – сателлитами, зафиксированными с возможностью вращения на поворотных рычагах, закрепленных с возможностью поворота на вращающемся водиле, причем концы поворотных рычагов, противоположные тем, на которых закреплены сателлиты, снабжены толкателями – роликами, обкатывающимися по рабочим поверхностям профильных отверстий регуляторного звена, выполненного в виде диска, связанного с выходным валом вариатора, а сами поворотные рычаги подпружинены относительно водила так, чтобы сателлиты под действием пружин стремились к центру вариатора, что соответствует уменьшению передаточного отношения.
Недостатком устройства-прототипа является невозможность наряду с автоматическим также и принудительного изменения передаточного отношения бесступенчатой передачи – вариатора, а также границ изменения этого передаточного отношения, что ограничивает использование технического решения в вариаторах транспортного назначения, когда изменяются дорожные сопротивления транспортной машины.
Задачей изобретения является создание универсального дискового планетарного вариатора, позволяющего использовать его как в автоматическом режиме при разных границах изменения передаточного отношения, так и в режиме принудительного регулирования передаточного отношения.
Указанная задача решается тем, что предложен дисковый планетарный вариатор, включающий внешние и внутренние центральные фрикционные диски, первые из которых закреплены в корпусе, а вторые – на входном валу, входящие в контакт с промежуточными коническими фрикционными дисками-сателлитами, зафиксированными с возможностью вращения на поворотных рычагах, закрепленных с возможностью поворота на вращающемся водиле, причем концы поворотных рычагов, противоположные тем, на которых закреплены сателлиты, снабжены толкателями – роликами, обкатывающимися по рабочим поверхностям профильных отверстий регуляторного звена, связанного с выходным валом вариатора, а сами поворотные рычаги подпружинены относительно водила так, чтобы сателлиты под действием пружин стремились к центру вариатора, что соответствует уменьшению передаточного отношения, при этом поворотные рычаги на вращающемся водиле связаны с перемещающейся в осевом направлении без возможности поворота вокруг оси втулкой, установленной на цилиндрической поверхности, неподвижно связанной с корпусом механическими связями, преобразующими поворот поворотных рычагов на вращающемся водиле в осевое перемещение втулки, а сама втулка связана механическими освобождающими связями с каждым из двух подвижных упоров, установленных на корпусе вариатора.
Еще одним отличием предложенного вариатора является то, что механические связи, преобразующие поворот поворотных рычагов в осевое перемещение втулки, выполнены в виде рычажно-кулисных механизмов, кинематически связывающих упомянутые поворотные рычаги и втулку.
Следующим отличием предложенного вариатора является то, что связь втулки с упорами выполнена в виде механизма “винт-гайка” с рычагом на гайке, а подвижные упоры выполнены в виде двух винтов с их хордальным перемещением в корпусе с маховичками на их наружных концах, выполненных с возможностью вращения вручную или с помощью сервопривода.
Следующим отличием предложенного вариатора является то, что подвижные упоры, выполненные в виде винтов с их хордальным перемещением в корпусе, выполнены с одинаковым направлением винтовой нарезки на них, а также с полумуфтами на их концах, обращенных друг к другу, образующими при их соединении сцепную муфту, причем управление сцеплением и расцеплением указанной муфты выведено на торец одного из упоров и связано с маховичком на этом упоре.
Технический результат изобретения состоит в том, что предложенный вариатор может осуществлять помимо автоматического режима работы, где передаточное отношение вариатора устанавливается автоматически в зависимости от крутящего момента (нагрузки) на выходном валу, причем с разными границами изменения передаточного отношения вариатора, также и режим работы с принудительным изменением передаточного отношения, причем последний режим устанавливается без устранения каких-либо деталей и механизмов, осуществляющих автоматический режим. Установленное вручную или с помощью сервопривода передаточное отношение фиксируется с прекращением автоматического режима работы вариатора, а при расфиксировании этого передаточного отношения вариатор самостоятельно возвращается к автоматическому режиму работы.
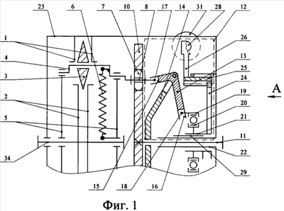
Сущность изобретения поясняется чертежами, где на фиг.1 и фиг.2 изображены схемы вариатора (продольные разрезы) в положениях соответственно, максимального и минимального передаточного отношений; на фиг.3 изображен вид по А на фиг.1, а на фиг.4, фиг.5 и фиг.6 различные положения подвижных упоров при различных границах изменения передаточного отношения вариатора.
Устройство состоит из внешних 1 и внутренних 2 центральных фрикционных дисков, входящих в контакт с промежуточными коническими фрикционными дисками-сателлитами 3, зафиксированными с возможностью вращения на поворотных рычагах 4, посаженных с возможностью поворота на водиле 5. Поворотные рычаги 4 подпружинены относительно водила 5 с помощью пружин 6 так, чтобы сателлиты под действием пружин стремились к центру вариатора, что соответствует уменьшению передаточного отношения. Поворотные рычаги 4 на своих концах, противоположных тем, где посажены сателлиты 3, содержат толкатели – ролики 7, закрепленные с возможностью вращения на осях 8 и контактирующие с рабочими поверхностями профильных отверстий 9 (см. фиг.3) регуляторного звена 10, выполненного в виде диска, связанного с выходным валом 11 вариатора. Механические связи 12 (выделены на фиг.1 и 2 штриховой линией) выполнены в виде рычагов 13, по количеству равных числу поворотных рычагов 4, шарнирно закрепленных на диске 14, установленном с возможностью поворота вокруг оси вращения вала 11, причем сами рычаги 13 выполнены с прорезями-кулисами 15 и 16 на обоих концах. В кулису 15 входит палец 17 на оси 8, а в кулису 16 – палец 18 на вращающейся обойме 19, сидящей на подшипнике 20 на втулке 21, посаженной с возможностью скольжения, но без возможности поворота на цилиндрической трубе 22 на корпусе 23 вариатора. На втулке 21 закреплен диск 24 с несамотормозящей винтовой нарезкой на периферии, входящей в зацепление с также несамотормозящей винтовой нарезкой на гайке 25, закрепленной с возможностью поворота, но с осевой фиксацией на корпусе 23. Угол подъема такой резьбы по винтовой линии составляет обычно от 7 8 градусов и выше; в данной конструкции этот угол составляет около 40°, что обеспечивает свободную передачу движения от гайка на винт. С гайкой 25 связан рычаг 26, связанный освобождающими связями с упорами 27 и 28 с обеих концов рычага, причем упоры 27 и 28 выполнены в виде винтов, установленных на резьбе в корпусе 23. Смысл упомянутых освобождающих связей заключается в том, что упоры 27 и 28 могут, контактируя с рычагом 26, перемещать его только в направлении контакта; при перемещении же упоров 27 и 28 в обратном направлении они отходят от рычага 26 и перестают быть с ним в связи (см. фиг.4, 5, 6). Таким образом, втулка 21 связана механическими связями с каждым из подвижных упоров 27 и 28, причем механические связи втулки 21 с поворотными рычагами 4 выполнены в виде кулис 15 и 16 на рычагах 13, шарнирно закрепленных на диске 14, а кулисы 15 и 16 кинематически связаны с пальцами 17 и 18 соответственно на осях 8, являющихся продолжением рычагов 4, и на вращающейся обойме 19, связанной в осевом направлении с втулкой 21 подшипником 20. Втулка 21, как было упомянуто выше, посажена на трубе 22 без возможности вращения, например с помощью шпонки 29. Упоры 27 и 28 несут на внешних концах маховички соответственно 30 и 31, выполненные с возможностью их вращения вручную или с помощью сервопривода, например, шаговых электродвигателей 32, вал которых соединен с соответствующим маховичком, а корпус соединен с корпусом вариатора 23 с возможностью осевого перемещения электродвигателей 32, например, с помощью направляющей рейки 33. Внешние фрикционные диски 1 закреплены на корпусе 23 вариатора, а внутренние фрикционные диски 2 связаны с входным валом 34 вариатора.
На фиг.7 представлено устройство для блокировки подвижных упоров 27 и 28 при принудительном изменении передаточного отношения вариатора. В рычаге 26 в месте контакта его с упорами 27 и 28 выполнено отверстие, по диаметру меньшее, чем диаметр упоров, но большее, чем стержень 35, помещенный в продольные канал в упоре 28. Концы упора 27 и стержня 35 выполнены с торцевыми кулачками 36 любой формы, обеспечивающими их зацепление друг с другом как полумуфт для передачи вращения от стержня 35 упору 27 и обратно, а стало быть, исполняющих роль сцепной муфты. Стержень на конце, противоположном кулачку 36, содержит головку 37, входящую в осевом направлении в маховичок 31 с возможностью передачи вращения, например, с помощью шпонки 38. Головка 37 подпружинена пружиной 39 в сторону расцепления кулачков 36, и перемещение ее ограничено упором 40 на маховичке 31. При нажатии на головку 37, например, винтом 41 через упор 40 она утапливается в маховичке 31 и может быть зафиксирована в этом положении, изображенном на фиг.7. Упор 27 при этом заблокирован – сцеплен – со стержнем 35, а стало быть, и с упором 28 через маховичок 31 и головку 37, связанные, например, шпонкой 38, а также с помощью кулачков 36 на концах упора 27 и стержня 35.
Работа устройства происходит следующим образом. Вращение от входного вала 34 к выходному валу 11 передается через внутренние центральные фрикционные диски 2, закрепленные на входном валу 34, к сателлитам 3, также входящим в контакт с внешними центральными фрикционными дисками 1, неподвижно закрепленными в корпусе 23. Из-за планетарной схемы работы устройства вращение от сателлитов 3, установленных с возможностью вращения в поворотных рычагах 4, установленных с возможностью поворота относительно водила 5 и подпружиненных относительно него пружинами 6, передается к жестко связанному с выходным валом 11 регуляторному звену 10, выполненному в виде диска с отверстиями 9, с профильными поверхностями которых контактируют ролики 7, установленные на осях 8, закрепленных на концах поворотных рычагов 4, противоположных тем, на которых установлены сателлиты 3. Для использования вариатора в автоматическом режиме с максимальным диапазоном передаточных отношений упоры 27 и 28 с помощью маховичков 30 и 31 вручную или с помощью сервоприводов, например, при дистанционном управлении, разводятся друг от друга на максимальное расстояние. Ролики 7 занимают относительно рабочих поверхностей профильных отверстий 9 регуляторного звена 10 положение, соответствующее силовому равновесию между действующим на выходной вал 11 крутящим моментом, стремящимся посредством рабочих поверхностей профильных отверстий 9 переместить ролики 7 к центру, а сателлиты 3 – от центра, что увеличивает передаточное отношение вариатора, и усилием пружин 6 и в меньшей степени прижимом сателлитов 3 внешними фрикционными дисками 1 переместить ролики 7 от центра, а сателлиты 3 – к центру, что уменьшает передаточное отношение вариатора. Таким образом, у вариатора автоматически устанавливается необходимое передаточное отношение на полном диапазоне их изменения, например, от 1,3 до 9, т.е. в диапазоне, равном примерно 7. Такой режим работы целесообразен, например, при работе транспортного средства в условиях бездорожья или трактора при пахоте при резко меняющихся тяговых усилиях машины. Для уменьшения этого диапазона, в том числе и со сдвигом его, т.е. границ изменения передаточного отношения как в сторону больших, так и в сторону меньших передаточных отношений, упоры 27 и 28 сдвигаются вращением маховичков 30 и 31 вручную или с помощью электродвигателей 32, оставляя рычагу 26 меньшую амплитуду угловых перемещений (см. фиг.4, 5 и 6, где на фиг.4 изображена полная амплитуда угловых перемещений рычага 26, на фиг.5 – частичная, а на фиг.6 эта амплитуда равна нулю), которые этот рычаг получает при осевом перемещении втулки 21 и зависящем от него угловом перемещении гайки 28 от диска 24 с несамотормозящими резьбами. Таким образом, перемещение упоров 27 и 28 можно регулировать границы изменения передаточных отношений вариатора в автоматическом режиме в любую сторону от максимального диапазона изменений передаточного отношения до диапазона, равного единице, т.е. до фиксации какого-либо передаточного отношения. Такой режим работы характерен при переходе транспортного средства на лучшие дорожные условия, включая движение по шоссе с максимальной экономичностью, где необходимо принудительное регулирование скорости движения машины с выбором оптимальных скоростей, исключающее автоматическое регулирование передаточных отношений в зависимости от нагрузки. Таким образом, наряду с работой вариатора в автоматическом режиме с любым доступным диапазоном и с любыми доступными границами изменений передаточных отношений предложенная конструкция (устройство) позволяет и фиксировать любое доступное передаточное отношение, а также принудительно изменять его. Для этого достаточно при зафиксированном любом передаточном отношении синхронно, вручную или электродвигателями 32 вращать маховички 30 и 31 в ту сторону, которая вызывает перемещение упоров 27 и 28 в одном направлении, с перемещением рычага 26 в том или ином нужном направлении практически без люфтов.
Для удобства синхронного вращения маховичков 30 и 31, а стало быль и перемещения упоров 27 и 28 при принудительном изменении передаточного отношения вариатора нажатием на головку 37 через упор 40, например, винтом 41 и сжатием пружины 39 оператор вводит в зацепление упоры 27 и 28 с помощью кулачков 36. После этого для синхронного перемещения упоров 27 и 28 в одну сторону достаточно вращать за один маховичок 30 или 31, разумеется, при одинаковом направлении резьбы на упорах 27 и 28. Для расцепления упоров 27 и 28 друг от друга достаточно открутить винт 41, после чего головка 37 под действием пружины 39 перейдет в крайнее правое положение по фиг.7 и упрется в упор 40. Это свойство вариатора позволяет называть его универсальным.
Предложенная конструкция вариатора позволяет ему работать как в автоматическом режиме с различным диапазоном изменения передаточных отношений, так и в режиме принудительного регулирования передаточных отношений, что повышает универсальность вариатора.
Формула изобретения
1. Дисковый планетарный вариатор, включающий внешние и внутренние центральные фрикционные диски, первые из которых закреплены в корпусе, а вторые – на входном валу, входящие в контакт с промежуточными коническими фрикционными дисками – сателлитами, зафиксированными с возможностью вращения на поворотных рычагах, закрепленных с возможностью поворота на вращающемся водиле, причем концы поворотных рычагов, противоположные тем, на которых закреплены сателлиты, снабжены толкателями – роликами, обкатывающимися по рабочим поверхностям профильных отверстий регуляторного звена, связанного с выходным валом вариатора, а сами поворотные рычаги подпружинены относительно водила так, чтобы сателлиты под действием пружин стремились к центру вариатора, что соответствует уменьшению передаточного отношения, отличающийся тем, что поворотные рычаги на вращающемся водиле связаны с перемещающейся вдоль продольной оси вариатора без возможности поворота вокруг этой оси втулкой посредством механических связей, преобразующих поворот поворотных рычагов на вращающемся водиле в осевое перемещение втулки, а сама втулка связана механическими освобождающими связями с каждым из двух подвижных упоров, установленных на корпусе вариатора.
2. Вариатор по п.1, отличающийся тем, что механические связи, преобразующие поворот поворотных рычагов в осевое перемещение втулки, выполнены в виде рычажно-кулисных механизмов, кинематически связывающих упомянутые поворотные рычаги и втулку.
3. Вариатор по п.1, отличающийся тем, что связь втулки с упорами выполнена в виде механизма “винт-гайка” с рычагом на гайке, а подвижные упоры выполнены в виде двух винтов с их хордальным перемещением в корпусе с маховичками на их наружных концах, выполненных с возможностью вращения вручную или с помощью сервопривода.
4. Вариатор по п.1 или 3, отличающийся тем, что подвижные упоры, выполненные в виде винтов с их хордальным перемещением в корпусе, выполнены с одинаковым направлением винтовой нарезки на них, а также с полумуфтами на их концах, обращенных друг к другу, образующими при их соединении сцепную муфту, причем управление сцеплением и расцеплением указанной муфты выведено на торец одного из упоров и связано с маховичком на этом упоре.
РИСУНКИ
|
|