|
|
(21), (22) Заявка: 2008112441/11, 31.03.2008
(24) Дата начала отсчета срока действия патента:
31.03.2008
(46) Опубликовано: 27.05.2009
(56) Список документов, цитированных в отчете о поиске:
SU 523216 А, 09.08.1976. RU 2217634 С1, 27.11.2003. RU 2291335 С2, 10.01.2007.
Адрес для переписки:
400131, г.Волгоград, пр. Ленина, 28, ВолгГТУ, отдел интеллектуальной собственности
|
(72) Автор(ы):
Шевчук Владимир Петрович (RU), Ляшенко Михаил Вольфредович (RU), Шеховцов Виктор Викторович (RU), Лавров Игорь Вячеславович (RU), Фетисов Александр Валерьевич (RU)
(73) Патентообладатель(и):
Государственное образовательное учреждение высшего профессионального образования Волгоградский государственный технический университет (ВолгГТУ) (RU)
|
(54) ПЛАНЕТАРНАЯ ПЕРЕДАЧА
(57) Реферат:
Изобретение относится к машиностроению, в частности к планетарным передачам. Планетарная передача содержит составное водило (7), состоящего из сателлитного блока (8) и ступицы (9), соединенных между собой компенсационным узлом, выполненным в виде шлицевого соединения. Сателлитный блок (8) состоит из двух щек (10, 11), жестко связанных между собой перемычками (12). Участки шлицевого соединения расположены на перемычках (12) между щеками (10, 11) и на внешних поверхностях секторов венца ступицы (9) в кольцевом объеме (21), ограниченном центральными колесами (1, 4) и щеками (10, 11) сателлитного блока. Изобретение позволяет повысить надежность и долговечность планетарной передачи за счет выравнивания нагрузки по длине контактных линий зубчатых зацеплений сателлитов с центральными колесами и между сателлитами. 6 ил.
Изобретение относится к машиностроению, в частности к планетарным передачам.
Известна конструкция планетарного редуктора Д.И.Шаткуса для зернового комбайна с плавающим центральным колесом и сателлитами на сферических опорах, не имеющего избыточных связей, в котором нагрузка выровнена по длине контактных линий зубчатых зацеплений и между сателлитами (Решетов Л.Н. Самоустанавливающиеся механизмы: Справочник. – М.: Машиностроение. – 1979, с.243, рис.5.12).
Наружное кольцо двухрядного роликового подшипника, на котором устанавливается сателлит, имеет сферическую наружную поверхность и оно же является внутренним кольцом сферической опоры. В качестве наружного кольца сферической опоры используется сателлит с прошлифованной в нем внутренней сферой.
Недостатком такой передачи являются то, что она не может быть реализована с малыми осевыми и радиальными габаритами сателлитного узла в связи с недостаточной долговечностью сферической опоры. Кроме того, данная планетарная передача не обладает возможностью самоустановки водила с сателлитами под воздействием радиальных и тангенциальных сил, возникающих в зацеплениях сателлитов с центральными колесами, что снижает ее надежность и долговечность.
Известна планетарная передача, содержащая центральные колеса, водило, сателлиты, установленные на осях, закрепленных в щеках посредством упругих элементов, между которыми размещены втулки, контактирующие одним из своих торцов с торцом водила планетарной передачи (авт.св. СССР 1427117 по М. кл. F16H 1/48, опубликовано 1989).
Недостатком данной планетарной передачи является то, что избыточные связи здесь заменены упругими, при этом равномерность распределения нагрузки между сателлитами и по длине контактных линий зубчатых зацеплений пропорциональна жесткости упругих элементов, поэтому полного выравнивания нагрузки не достигается, что снижает надежность и долговечность планетарной передачи. Кроме того, при неравномерном распределении нагрузки в зацеплениях сателлита с центральными колесами происходит перекос сателлита относительно его оси, что приводит к неравномерному распределению нагрузки в игольчатом подшипнике, расположенном в ободе сателлита, и снижению надежности и долговечности планетарной передачи.
Известна планетарная передача, которая содержит солнечную шестерню, сателлиты, каждый из которых состоит из двух колес, неподвижное колесо с внутренними зубьями и водило. Колеса сателлитов установлены на оси на сферических подшипниках. Узел каждого сателлита снабжен резиновым кольцом с переменной площадью поперечных сечений. Резиновое кольцо опирается на центрирующую шайбу и расположено между колесами сателлита. Водило выполнено с отверстиями, расположенными в щеках в шахматном порядке. Диаметр отверстий возрастает по мере удаления от места расположения оси сателлита (Патент RU 2291335 по М. кл. F16H 1/48, опубликовано 2007).
Недостатком данной планетарной передачи является то, что повышение нагрузочной способности обеспечивается за счет демпфирования динамической (ударной) нагрузки резиновыми кольцами, имеющими низкий ресурс при достаточно высоких рабочих температурах смазочной и охлаждающей жидкости.
Известна планетарная передача, принятая в качестве прототипа (Патент RU 2217634 по М. кл. F16H 1/48, опубликовано 2003), содержащая центральные колеса, водило, сателлиты, установленные на осях посредством компенсационного узла, содержащего шарнирный подшипник с двумя выступами на внутреннем кольце, которые обеспечивают его радиальное перемещение вдоль направляющих буртов втулок, причем направляющие бурты имеют заплечики для ограничения радиального перемещения внутреннего кольца шарнирного подшипника, а между отверстием внутреннего кольца шарнирного подшипника и наружной поверхностью втулок установлен набор колец с большим и меньшим диаметром сечения, расположенных поочередно и выполненных из упругоэластичного материала.
Недостатком данной планетарной передачи является то, что материал колец, заменяющих жесткие избыточные связи упругими, выполнен из упругоэластичного материала, не обеспечивающего высокую надежность и долговечность планетарной передачи при достаточно высоких температурах смазочной и охлаждающей жидкости.
Задача изобретения – создание планетарной передачи с малыми осевыми и радиальными габаритами сателлитного узла, позволяющего реализовывать малые передаточные числа, с выровненной нагрузкой между сателлитами и по длине зубьев сателлитов.
Технический результат – повышение надежности и долговечности планетарной передачи за счет выравнивания нагрузки между сателлитами и по длине зубьев сателлитов при малых осевых и радиальных габаритах сателлитного узла и независимо от температуры смазочной среды по причине отсутствия в конструкции элементов, изготовленных из упругоэластичных материалов, чувствительных к температурам, возникающим при рабочих режимах передачи.
Указанный технический результат достигается тем, что в планетарной передаче, содержащей центральные колеса, сателлиты, составное водило и компенсационный узел, состоящий из шлицевого соединения, составное водило выполнено из сателлитного блока и ступицы, соединенных между собой компенсационным узлом, выполненным в виде шлицевого соединения, расположенного в промежутках между сателлитами с радиальными и осевыми зазорами, которые обеспечивают самоустановку сателлитного блока относительно центральных колес в угловом направлении и выравнивание нагрузки между сателлитами, при этом участки внутренней поверхности шлицевого соединения расположены на перемычках между щеками сателитного блока на одинаковом расстоянии от них, а внешние участки шлицевой поверхности шлицевого соединения расположены на внешних поверхностях секторов венца ступицы, расположенных между сателлитами, в кольцевом объеме, ограниченном центральными колесами и щеками сателлитного блока.
Снижение неравномерности распределения нагрузки между сателлитами и, частично, по длине зубьев сателлитов происходит за счет радиального смещения и поворота сателлитного блока под воздействием сил, возникающих в зацеплениях всех сателлитов с центральными колесами в пределах осевых зазоров в зацеплениях короткого шлицевого соединения сателлитного блока с секторами перемычек ступицы составного водила, расположенными в цилиндрическом пространстве между центральными колесами в промежутках между сателлитами.
Короткое шлицевое соединение сателлитного блока и ступицы, длина которого определяется из соотношения: Lш.ст./Lш.в.=0,2, имеет осевой и радиальный зазоры, которые позволяют сателлитному блоку самоустанавливаться между центральными колесами, выравнивая нагрузку между сателлитами с учетом погрешностей изготовления всех элементов планетарной передачи и погрешностей монтажа. В угловом направлении сателлитный блок также может самоустанавливаться в пределах зазоров в его шлицевом соединении со ступицей водила под воздействием сил, возникающих в зацеплениях сателлитов с центральными колесами. При этом влияние перекосов и непараллельностей усредняется для всех зацеплений сателлитов с центральными колесами, таким образом, указанная планетарная передача обеспечивает повышение надежности.
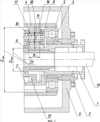
Сущность изобретения поясняется чертежами, где на фиг.1 показан общий вид планетарной передачи, на фиг.2 – сателлитный блок, на фиг.3 – поперечный разрез по А-А на фиг.2 сателлитного блока, на фиг.4 – ступица водила, на фиг.5 – поперечный разрез по В-В на фиг.4, на фиг.6 – компенсационный узел в виде шлицевого соединения.
Планетарная передача содержит центральное колесо внешнего зацепления 1 (фиг.1), размещенное в стакане 2 на подшипниках скольжения 3, центральное колесо внутреннего зацепления 4, установленное на подшипниках качения 5, опирающихся на стакан 2, установленный в расточке корпуса 6 составного водила 7, состоящего из сателлитного блока 8 и ступицы 9.
Сателлитный блок 8 состоит из двух щек 10 и 11 (фиг.2), которые жестко связаны между собою перемычками 12 (фиг.3), расположенными по окружности между сателлитами 13. Для передачи крутящего момента ступице 9 на внутренних, расположенных ближе к оси водила, поверхностях перемычек 12 между щеками 10 и 11 в их средней в осевом направлении части выполнены участки внутренней поверхности шлицевого соединения 14 на одинаковом расстоянии от них. На внешних поверхностях секторов 15 (фиг.4) сектора венца ступицы 9 в промежутках между сателлитами выполнены внешние участки шлицевой поверхности 16 (фиг.5), зацепляющейся с внутренней шлицевой поверхностью 14, расположенными на перемычках 12 между щеками (фиг.3).
В щеках 10, 11 (фиг.1) установлены на осях 17 три сателлита 13, оси 17 опираются на игольчатые подшипники качения 18.
Планетарный ряд образуют центральное колесо внешнего зацепления 1, которое является заторможенным, центральное колесо внутреннего зацепления 4, к которому подводится крутящий момент, сателлиты 13 и водило 7, предназначенное для передачи крутящего момента валу 19, с которого он снимается.
Стакан 2 выполняет роль опоры центрального колеса внешнего зацепления 1 посредством подшипников скольжения 3, выполненных в виде бронзовых втулок, которые запрессовываются в отверстие стакана 2. Также стакан 2 служит опорой для центрального колеса внутреннего зацепления 4, установленного на нем через подшипник качения 5.
Сателлитный блок 8 соединен шлицевым соединением 20 (фиг.6) со ступицей 9 (фиг.1), поверхности которого располагаются в кольцевом объеме 21, ограниченном центральными колесами 1 (Dвнутр) и 4 (Dнаруж) и щеками 10 и 11 сателлитного блока 8. Это шлицевое соединение 20, представляющее собой компенсационный узел и имеющее достаточные осевые и радиальные зазоры, обеспечивает передачу крутящего момента от водила 7 к валу 19 планетарной передачи с самоустановкой сателлитного блока в радиальном и угловом направлениях относительно центральных колес под воздействием сил, возникающих в зацеплениях сателлитов с центральными колесами передачи, и выравнивание нагрузки между сателлитами.
Планетарная передача работает следующим образом.
Крутящий момент, подводимый к центральному колесу внутреннего зацепления 4, передается сателлитному блоку 8 составного водила 7 и валу 19 через зацепления сателлитов 13 с центральными колесами внешнего зацепления 1 и внутреннего зацепления 4, оси 17 и подшипникам 18. От сателлитного блока 8 момент передается ступице водила 9, внешняя поверхность которого располагается в кольцевом объеме 21, посредством участков подвижного шлицевого соединения 20, расположенного участками в промежутках между сателлитами 13, представляющего собой компенсационный узел и имеющего осевые и радиальные зазоры. Участки внутренней шлицевой поверхности 14 расположены на внутренних, расположенных ближе к оси водила 7, поверхностях перемычек 12 между щеками 10 и 11 в их средней в осевом направлении части. Внешние участки шлицевой поверхности – на внешних поверхностях секторов 15 венца ступицы 9, в промежутках между сателлитами 13 образована внешняя шлицевая поверхность 16.
Описанная конструкция планетарной передачи позволяет повысить надежность и долговечность передачи за счет применения составного водила, состоящего из сателлитного блока и ступицы, соединенных подвижным шлицевым соединением, одновременно выравнивающим нагрузку между сателлитами и, частично, по длине контактных линий зубчатых зацеплений сателлитов с центральными колесами, при малых осевых габаритах сателлитного узла.
Формула изобретения
Планетарная передача, содержащая центральные колеса, сателлиты, составное водило и компенсационный узел, отличающаяся тем, что составное водило выполнено из сателлитного блока и ступицы, соединенных между собой компенсационным узлом, выполненным в виде шлицевого соединения, расположенного в промежутках между сателлитами с радиальными и осевыми зазорами, которые обеспечивают самоустановку сателлитного блока относительно центральных колес в угловом направлении и выравнивание нагрузки между сателлитами, при этом участки внутренней поверхности шлицевого соединения расположены на перемычках между щеками сателлитного блока на одинаковом расстоянии от них, а внешние участки шлицевой поверхности шлицевого соединения расположены на внешних поверхностях секторов венца ступицы, расположенных между сателлитами, в кольцевом объеме, ограниченном центральными колесами и щеками сателлитного блока.
РИСУНКИ
|
|