|
|
(21), (22) Заявка: 2006141968/11, 27.11.2006
(24) Дата начала отсчета срока действия патента:
27.11.2006
(43) Дата публикации заявки: 10.06.2008
(46) Опубликовано: 27.05.2009
(56) Список документов, цитированных в отчете о поиске:
SU 1649160 А1, 1991.05.15. US 3450242 А, 17.06.1969. US 2980220 А, 18.04.1961. US 3040845 А, 26.06.1962. RU 2221172 С1, 10.01.2004.
Адрес для переписки:
76019, Украина, г.Ивано-Франковск, ул. Карпатская, 15, Технический университет нефти и газа, патентно-лицензионный отдел, пат.пов. Т.А.Мамченко, рег. 726
|
(72) Автор(ы):
Вольченко Александр Иванович (UA), Крыжановский Евстахий Иванович (UA), Вольченко Николай Александрович (RU), Вольченко Дмитрий Александрович (UA)
(73) Патентообладатель(и):
Ивано-Франковский национальный технический университет нефти и газа (UA)
|
(54) ДВУХСТУПЕНЧАТЫЙ ЛЕНТОЧНО-КОЛОДОЧНЫЙ ТОРМОЗ С ПРИНУДИТЕЛЬНЫМ ОХЛАЖДЕНИЕМ
(57) Реферат:
Изобретение относится к области машиностроения и может быть использовано в ленточно-колодочных тормозах буровых лебедок. Ленточно-колодочный тормоз содержит тормозной шкив с полостью, фрикционные элементы, тормозные ленты, охлаждающие узлы, механический привод и торовую резиновую пневмокамеру. На наружной поверхности торовой резиновой пневмокамеры нанесено фрикционное покрытие, а ее внутренняя поверхность расположена на неподвижном цилиндрическом кольцевом выступе фланца и прикреплена к нему штуцерами воздушных трубопроводов, при этом сопряжены трущиеся поверхности двух ступеней фрикционных узлов тормоза. Охлаждающие узлы выполнены в виде симметрично расположенных труб. Верхняя труба ввинчена в штуцер с отверстием, находящимся на наружной поверхности обода тормозного шкива, и закрыта сверху крышкой с прорезью. Нижняя труба, имеющая дно, ввинчена в штуцер с отверстием, находящимся на внутренней поверхности обода тормозного шкива. Отверстия штуцеров соединяют объемы труб с полостью тормозного шкива. На наружные поверхности труб одеты основная и дополнительные накладки, составляющие фрикционный элемент. Достигается повышение интенсивности принудительного охлаждения фрикционных узлов двухступенчатого ленточно-колодочного тормоза для улучшения их износофрикционных свойств обратных пар трения. 3 ил.
Изобретение относится к машиностроению и может быть использовано в ленточно-колодочных тормозах буровых лебедок.
Известен двухступенчатый ленточно-колодочный тормоз с радиально подвижными фрикционными элементами, в котором в тормозном шкиве по периметру его цилиндрической поверхности выполнены равномерно расположенные сквозные окна, в которые установлены фрикционные элементы, имеющие в продольном сечении форму равнобокой трапеции с большим выпуклым и меньшим вогнутым основаниями, радиусы кривизны которых соответствуют кривизне сопрягаемых с ними поверхностей, при этом большее основание выступает над поверхностью шкива, а к меньшему по его нижней поверхности присоединена толстостенная металлическая пластина, которая своим выступом препятствует выпаданию фрикционного элемента из окна шкива, а снизу она своей вогнутой поверхностью контактирует с нанесенным фрикционным покрытием на наружную поверхность торовой резиновой пневмокамеры, внутренняя поверхность которой расположена на неподвижном цилиндрическом выступе фланца, опирающегося на установочную лапу, и прикреплена к нему штуцерами воздушных трубопроводов [1, аналог; положит решен на выдачу патента на изобретение по заявке 2005100750/11 от 30.08.06 г., кл. F16D 49/08]. Данный тормоз имеет тот недостаток, что поверхности тормозного шкива не принимают участия в процессах теплообмена, и поэтому всю теплоту воспринимают пары трения «тормозная лента – наружные поверхности фрикционных элементов».
Известен ленточный тормоз, в котором охлаждающее устройство выполнено в виде тепловых труб, установленных в кольцевом зазоре по ширине обода ступицы, в выполненных в последних пазах и соединенных между собой в своей средней части трубопроводами по периметру фрикционного обода [2, прототип; а.с. 1649160 А1 (СССР), кл. F16D 65/80, за 1991 г.]. Охлаждающее устройство имеет тот недостаток, что обеспечивает охлаждение только тормозного шкива, а не фрикционных узлов тормоза.
По сравнению с аналогом и прототипом предложенное техническое решение имеет следующие отличительные существенные признаки:
– увеличивается энергоемкость обратных пар трения тормоза за счет выполнения тормозного шкива с полостью в виде тепловой трубы;
– непосредственное принудительное охлаждение основных и дополнительных фрикционных накладок за счет труб, находящихся в их теле и являющихся своего рода отростками большой тепловой трубы;
– выполнение отверстий различного переменного сечения в штуцерах, соединяющих полость большой трубы с объемами маленьких труб (отростков), позволит эжектировать теплоноситель в любой его фазе под трущиеся поверхности обратных пар трения;
– тепловая разгрузка тормозного шкива позволяет его использовать в виде мощной тепловой трубы с отростками для принудительного охлаждения обратных пар трения и, как следствие, улучшить их износофрикционные свойства.
Целью настоящего изобретения является повышение интенсивности принудительного охлаждения фрикционных узлов двухступенчатого ленточно-колодочного тормоза для улучшения их износофрикционных свойств обратных пар трения.
Поставленная цель в двухступенчатом ленточно-колодочном тормозе с принудительным охлаждением достигается тем, что в нем охлаждающие узлы выполнены в виде симметрично расположенных труб: верхняя, из которых ввинчена в штуцер с отверстием, находящимся на наружной поверхности обода тормозного шкива, и сверху закрыта крышкой с прорезью; нижняя из которых, имеющая дно, ввинчена в штуцер с отверстием, находящимся на внутренней поверхности обода тормозного шкива, и при этом отверстия штуцеров соединяют объемы труб с полостью тормозного шкива, а на наружные поверхности труб надеты основная и дополнительные накладки, составляющие фрикционный элемент.
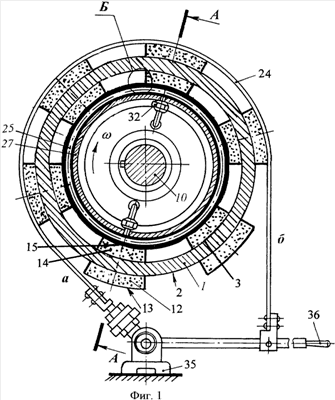
На фиг.1 показан общий вид двухступенчатого ленточно-колодочного тормоза; на фиг.2 представлен поперечный разрез по А-А тормоза; на фиг.3 – вид Б-Б фиг.1, иллюстрирующий взаимодействие фрикционных узлов второй ступени тормоза.
Двухступенчатый ленточно-колодочный тормоз содержит тормозной шкив 1 с наружной 2 и внутренней 3 поверхностями. На последней имеется выступ 4, к которому с помощью болтового соединения 5 крепится фланец 6 барабана 7. Ступица 8 барабана 7 с фланцем 6 посредством призматической шпонки 9 закреплена на подъемном валу 10 лебедки.
На наружной 2 и внутренней 3 поверхностей обода шкива 1 установлены фрикционные элементы 11, состоящие из основных 12 и дополнительных 14 накладок, имеющих рабочие поверхности 13 и 15, которые отличаются площадями. При этом в ободе тормозного шкива 1 выполнена кольцевая полость 16. На наружной 2 и внутренней 3 поверхности обода тормозного шкива 1 установлены симметрично верхний 17 и нижний 18 штуцера, имеющие отверстия 19, которые могут быть переменного сечения. На штуцеры 17 и 18 навинчены трубы 20 и 22. Верхняя труба 20 выполнена с внутренней резьбой для соединения с крышкой 21, имеющий прорезь. Нижняя труба 22 выполнена с дном. Основные 12 и дополнительные 14 накладки надеваются, например, путем запрессовки на трубы 20 и 22. При этом толщина крышки 21 верхней трубы 20 является уровнем критического допустимого износа рабочей поверхности 13 основной фрикционной накладки 12. Для рабочей поверхности 15 дополнительной фрикционной накладки 14 уровнем допустимого износа является торец дна нижней трубы 22. Полость 16 тормозного шкива 1 заполняется теплоносителем, например 25%-ным раствором аммиака, имеющим высокую скрытую теплоту парообразования. Объемы полости 16 тормозного шкива 1 и верхних 20, и нижних 22 труб вакуумированы, что позволяет использовать эффект «тепловой трубы» для принудительного охлаждения обратных пар трения двух ступеней ленточно-колодочного тормоза.
Над рабочими поверхностями 13 основных накладок 12 расположена внутренняя (рабочая) поверхность 23 тормозной ленты 24, имеющей набегающую (а) и сбегающую (б) ветви. Указанные рабочие поверхности взаимодействуют между собой. Рабочие поверхности 15 дополнительных фрикционных накладок 14 контактируют с нанесенным фрикционным покрытием 25 на наружную поверхность 26 торовой резиновой пневмокамеры 27. Внутренняя поверхность 28 пневмокамеры 27 расположена на неподвижном цилиндрическом выступе 29 специального фланца 30, опирающегося на установочную лапу 31. Крепление внутренней поверхности 28 торовой резиновой пневмокамеры 27 к цилиндрическому кольцевому выступу 29 осуществляется при помощи штуцеров 32 воздушных трубопроводов 33. Трубопроводы 33 подсоединены к воздушному тракту 34, проходящему через отверстия, выполненные в специальном фланце 30. Второй шкив тормоза (на фиг.1, 2 не показан) подключен аналогичным образом к общей пневмосистеме.
Тормозная лента 24 своей набегающей ветвью (а) связана с опорой 35, а сбегающая ветвь (б) соединена с рычагом 36 управления тормозом.
В данном тормозе различают следующие пары трения при условии, что их рабочие поверхности сопряжены:
обратная – «рабочая поверхность 13 основной накладки 12 (индекс 1 – рабочая поверхность 23 тормозной ленты 24 (индекс 2)» при соблюдении условия расположения ее материалов: Н2>H1 (твердость) и АН2>АН1 (площади поверхностей касания);
обратная – «рабочая поверхность 15 дополнительной накладки 14 (индекс 3) – фрикционное покрытие 25 наружной поверхности 26 торовой резиновой пневмокамеры 27 (индекс 4)» при соблюдении условия расположения ее материалов: Н4>Н3 (твердость) и АН4>АН3 (площади поверхностей касания).
Выполнение рабочих поверхностей 13 и 15 основной 12 и дополнительной 14 накладок с различными площадями их взаимодействия с металлическими фрикционными элементами позволяет иметь на первой ступени с обратными парами трения меньшие удельные нагрузки и большие коэффициенты трения по сравнению со второй ступенью с обратными парами трения (большие удельные нагрузки и меньшие коэффициенты трения).
В данном виде тормоза вторую ступень, имеющую обратные пары трения, можно превратить в ступень с прямыми парами трения путем установки на рабочей поверхности 15 дополнительной накладки 14 металлического фрикционного элемента. Однако применение обратных пар трения имеет некоторые преимущества по сравнению с прямыми парами трения (серийные фрикционные узлы) в любом виде ленточно-колодочного тормоза, а именно: сказывается существенное влияние механического и теплового факторов на напряженно-деформируемое состояние тормозного шкива и на структурные превращения в его материале; снижается вероятность развития процессов ползучести в зоне контакта из-за снижения поверхностей температуры шкива; «мягкие» условия к фрикционному материалу накладок исходя из его износофрикционных свойств.
Двухступенчатый ленточно-колодочный тормоз с принудительным охлаждением работает на следующих тормозных режимах.
Первый тормозной режим.
При нажатии на рычаг управления 37 тормозная лента 24 набегающей (а) и сбегающей (б) ветвями взаимодействует с выступающими над поверхностью шкива 1 выпуклыми рабочими поверхностями 13 основных фрикционных накладок 12, обуславливая тем самым притормаживание шкива 1. При этом на поверхностях трения «внутренняя поверхность 23 тормозной ленты 24 – рабочие поверхности 13 основных фрикционных накладок 12» генерируется некоторое количество теплоты. Последнее делится на две части, из которых меньшая часть теплоты воспринимается тормозной лентой 24 и от ее наружных поверхностей конвективным и радиационным теплообменом рассеивается в окружающую среду. Большую часть теплоты воспринимают торцы поверхностей верхней трубы 20 и крышки с прорезью 21 и передают теплопроводностью, так как их тела выполнены из материала с высоким коэффициентом теплопроводности, омывающему их внутренние поверхности теплоносителю в различных фазах. При вращении шкива 1 из его полости 16 теплоноситель попадает в объемы верхних труб 20 через отверстия 19 штуцеров 17 под действием веса его столба. Выполнение отверстий 19 в штуцерах 17 переменного сечения в виде конфузоров или диффузоров будет способствовать интенсификации наполнения или вытока теплоносителя из объемов труб 20 и 22. При повороте вращающегося шкива 1 на угол ( ) вытока теплоносителя из объемов верхних труб 20 через отверстия 19 штуцеров 17 почти не будет, что исключает пересыхание внутренних поверхностей верхних труб 20. Кроме того, во вращающемся шкиве 1 с полостью 16, заполненной на 2/3 объема теплоносителем, и объемов верхних труб 20 происходит непрерывное изменение зон испарения и конденсации тепловой трубы с отростками. Так реализуется принудительное охлаждение обратных пар трения на первой ступени ленточно-колодочного тормоза.
Второй тормозной режим.
В этом случае первая ступень тормоза является не включенной, т.е. пары трения разомкнуты, а работают торовые резиновые пневмокамеры 27, которые заполняются сжатым воздухом, в результате чего фрикционное покрытие 25, расположенное на наружной поверхности 26 пневмокамеры 27, взаимодействует с рабочими поверхностями 15 дополнительных фрикционных накладок 14, и тем самым притормаживают тормозной шкив 1. Генерируемая теплота на рабочих поверхностях 15 дополнительной накладки 14 и фрикционного покрытия 25 торовой резиновой пневмокамеры, в основном, передается телу накладки 14 и от нее телу нижней трубы с дном 22. Это вызвано тем, что температурный перепад между рабочей поверхностью 15 дополнительной накладки 14 и торцом поверхности нижней трубы 22 больше, нежели между фрикционным покрытием 25 пневмокамеры 27 и сжатым воздухом, находящимся в ее полости. Процессы выливания и наполнения теплоносителем нижних труб 22 через отверстия 19 штуцеров 18 и теплообмена будут аналогичные процессам, происходящим в верхних трубах 20. Разница состоит только в том, что если верхние трубы 20 работают на слив теплоносителя из их объемов, то объемы нижних труб 22 им в это время заполняются (см. фиг.2 – верхнее положение труб). При нижнем положении труб 20 и 22 наблюдаются обратные процессы слива и наполнения их объемов.
Третий тормозной режим.
Данный режим торможения является суммарным, включающий первый и второй.
Величина развиваемого тормозом тормозного момента определяется усилием замыкания тормоза (усилием на рычаге управления 37), но и давлением сжатого воздуха в торовой резиновой пневмокамере 27, поскольку именно величина давления сжатого воздуха в ней влияет на силу прижатия основных накладок 12 к тормозной ленте 24. В общем случае тормозной момент, развиваемый ленточно-колодочным тормозом, равен МТ1=(SH-SC)R, где SH, SC – натяжение набегающей (а) и сбегающей (б) ветвей тормозной ленты 24; R – радиус поверхности трения. Таким образом, управлять величиной тормозного момента можно не только изменяя разность натяжения ветвей тормозной ленты 24, но и давлением сжатого воздуха в пневмокамере 27.
Тормозной момент, развиваемый второй ступенью тормоза, равен МT2=n·p·A2·f2·R2, где n – количество обратных пар трения тормоза; p – давление сжатого воздуха в полости пневмокамеры 27; A2 – площадь вторых обратных пар трения; f2 – коэффициент трения скольжения во вторых обратных парах трения тормоза; R2 – радиус поверхности трения вторых обратных пар трения. Суммарный тормозной момент равен МC=МT1+МT2. Все составляющие, входящие в последнюю аналитическую зависимость для определения суммарного тормозного момента, являются переменными. Целенаправленно изменяя величины SH, SC, n, p, A2, f2, R1 и R2, можно добиться существенного уменьшения усилий натяжения тормозной ленты 24 при том же значении тормозного момента.
При реализации третьего тормозного режима суммарный тормозной момент, развиваемый данным видом тормоза, будет несколько большим, чем максимальный тормозной момент серийного тормоза.
Интенсивность, износа рабочей поверхности 13 основной накладки 12 и рабочей поверхности 15 дополнительной накладки 14 будет различной. Большая – основной накладки 12 и меньшая – дополнительной накладки 14 фрикционного элемента 11. Однако интенсивное охлаждение рабочей поверхности 13 основной накладки 12 будет способствовать улучшению ее износофрикционных свойств. После износа рабочей поверхности 13 основной накладки 12 на величину 2/3 от толщины крышки с прорезью 21, а вместе с ней и верхней трубы 20 и рабочей поверхности 15 дополнительной накладки 14 до торца дна нижней трубы 20, т.е. до их допустимой величины, производят замену всего фрикционного элемента 11. Изношенное фрикционное покрытие 25 наружной поверхности 26 торовой резиновой пневмокамеры 27 наносят на указанную поверхность после ее снятия с цилиндрического кольцевого выступа 29.
Предложенное техническое решение позволяет существенно улучшить не только динамику процесса торможения, но и износофрикционные характеристики обратных пар трения первой и второй ступени тормоза путем интенсивного их охлаждения.
Источники информации, принятые во внимание при экспертизе
1. Патент России 2270942, кл. F16D 49/08, 2006 г. (аналог).
2. А.с. 1649160 A1 (СССР), F16D 65/80, 1991 г. (прототип).
Формула изобретения
Двухступенчатый ленточно-колодочный тормоз с принудительным охлаждением, содержащий тормозной шкив с полостью, фрикционные элементы, тормозные ленты, охлаждающие узлы, механический привод и торовую резиновую пневмокамеру, на наружной поверхности которой нанесено фрикционное покрытие, а ее внутренняя поверхность расположена на неподвижном цилиндрическом кольцевом выступе фланца и прикреплена к нему штуцерами воздушных трубопроводов, при этом сопряжены трущиеся поверхности двух ступеней фрикционных узлов тормоза, отличающийся тем, что охлаждающие узлы выполнены в виде симметрично расположенных труб, верхняя из которых ввинчена в штуцер с отверстием, находящимся на наружной поверхности обода тормозного шкива, и закрыта сверху крышкой с прорезью, а нижняя труба, имеющая дно, ввинчена в штуцер с отверстием, находящимся на внутренней поверхности обода тормозного шкива, и при этом отверстия штуцеров соединяют объемы труб с полостью тормозного шкива, а на наружные поверхности труб одеты основная и дополнительные накладки, составляющие фрикционный элемент.
РИСУНКИ
|
|