|
|
(21), (22) Заявка: 2006126674/11, 13.12.2004
(24) Дата начала отсчета срока действия патента:
13.12.2004
(30) Конвенционный приоритет:
23.12.2003 DE 10361440.0
(43) Дата публикации заявки: 27.01.2008
(46) Опубликовано: 27.05.2009
(56) Список документов, цитированных в отчете о поиске:
US 3436916 А, 08.04.1969. US 2216351 А, 01.10.1940. SU 786929 A3, 07.12.1980. GB 153122 A, 04.11.1920.
(85) Дата перевода заявки PCT на национальную фазу:
24.07.2006
(86) Заявка PCT:
EP 2004/014190 20041213
(87) Публикация PCT:
WO 2005/064178 20050714
Адрес для переписки:
129090, Москва, ул. Б.Спасская, 25, строение 3, ООО “Юридическая фирма Городисский и Партнеры”, пат.пов. С.А.Дорофееву, рег. 146
|
(72) Автор(ы):
ФРАНК Антон (DE), НЕЛЬ Оливер (DE), ХОФФЕЛЬД Харальд (DE)
(73) Патентообладатель(и):
ФОЙТ ТУРБО ГМБХ УНД КО.КГ (DE)
|
(54) ЗАТВОР С ФУНКЦИЕЙ ТЕПЛОВОЙ ЗАЩИТЫ
(57) Реферат:
Изобретение относится к затвору с функцией тепловой защиты. Затвор включает в себя тело затвора с пропускным отверстием, которое закрыто плавким предохранительным элементом. Также тело затвора выполнено с расширением ступенчатой формы для приема втулки со сквозным отверстием. Втулка введена в пропускное отверстие тела затвора у осевого конца таким образом, что сквозное отверстие и область пропускного отверстия, которая в осевом направлении примыкает к втулке, расположены на одной оси. Плавкий предохранительный элемент полностью заполняет сквозное отверстие втулки по всему поперечному сечению на заданной по оси длине. В качестве плавкого предохранительного элемента может использоваться легкоплавкий припой. Предложенный затвор имеет повышенную точность срабатывания, а также может быть использован в целях герметизации рабочего пространства гидродинамической машины, в частности гидродинамической муфты. 6 н. и 5 з.п. ф-лы, 3 ил.
Изобретение относится к затвору с функцией тепловой защиты согласно ограничительной части п.1 формулы изобретения. В частности, изобретение относится к гидродинамическим силовым машинам для превращения энергии потока в механическую, рабочее пространство которых перекрыто затвором с функцией тепловой защиты относительно окружающей среды.
Затворы с функцией тепловой защиты известны. Такие затворы служат для уплотнения полого пространства относительно окружающей среды, например рабочего пространства гидродинамической муфты, которое заполнено рабочей средой. Такой затвор, как правило, вставлен в корпус, который образует полое пространство непосредственно или, по меньшей мере, окружает опосредствованно. Затвор находится в теплопроводной связи с содержимым полого пространства, которое включает в себя, к примеру, рабочую среду в форме текучей среды.
Функция тепловой защиты в смысле настоящего изобретения означает, что затвор, который принимает температуру в зависимости от температуры внутри полого пространства, ниже заданного предельного значения температуры является влагонепроницаемым, а выше заданного предельного значения автоматически открывается. При применении в гидродинамической машине для преобразования энергии потока в механическую, в частности в гидродинамической муфте, это служит, например, для того, чтобы рабочая среда автоматически выпускалась из гидродинамической муфты, если достигается недопустимо высокая предельная температура. Благодаря этому исключается чрезмерный перегрев гидродинамической муфты.
Известные затворы с функцией тепловой защиты образованы в виде винта с плавким предохранителем. Такой соответствующий уровню техники винт с плавким предохранителем показан на фиг.1. Винт с плавким предохранителем имеет основное тело, в котором выполнено сквозное отверстие. Сквозное отверстие влагонепроницаемо перекрыто легкоплавким припоем, который введен по всему поперечному сечению сквозного отверстия на значительную толщину. Выполненный таким образом винт с плавким предохранителем ввинчивается в отверстие окружающей стенки перекрываемого полого пространства, например в корпус гидродинамической машины для преобразования энергии потока в механическую, и уплотняется относительно стенки, например, с помощью кольцевого уплотнения под головкой винта.
Для того, чтобы можно было противостоять высоким давлениям внутри полого пространства и обеспечить надежное функционирование затвора, необходимо нанести легкоплавкий припой по всему поперечному сечению сквозного отверстия в винте с плавким предохранителем на значительную толщину. Это приводит к относительно большим объемам легкоплавкого припоя. При использовании такого винта с плавким предохранителем в стенке корпуса гидродинамической муфты требуется, например, объем легкоплавкого припоя примерно 700 кубических миллиметров (мм3), если винтом с плавким предохранителем должно надежно закрываться сквозное отверстие диаметром 9 миллиметров.
Известные затворы с функцией тепловой защиты имеют недостатки. Особенно весомым недостатком является то, что время срабатывания, т.е. время до введения в действие функции защиты путем освобождения перекрытого легкоплавким припоем поперечного сечения, в частности, при применении в гидродинамических муфтах, до настоящего времени нельзя точно воспроизвести. Так, например, различные винты с плавким предохранителем одной и той же серии в одной и той же гидродинамической муфте раскрывались в различное время. Собственно в случаях, в которых прохождение потока в винте с плавким предохранителем после срабатывания снова было перекрыто почти идентично легкоплавким припоем, введенный таким образом снова в действие винт с плавким предохранителем обнаружил отличающееся время срабатывания по сравнению с первоначальным плавким предохранителем. Причина плохой воспроизводимости свойств срабатывания соответствующих уровню техники винтов с плавким предохранителем до настоящего времени была неизвестна.
В основе изобретения лежит задача предложить затвор с функцией тепловой защиты, который усовершенствован по сравнению с уровнем техники. В частности, затвор согласно изобретению с функцией тепловой защиты должен иметь точно воспроизводимые свойства срабатывания, в частности отличаться коротким временем срабатывания. При этом такой затвор должен быть пригоден для применения в целях герметизации рабочего пространства гидродинамической машины для преобразования энергии потока в механическую, в частности гидродинамической муфты.
Задача соответственно изобретению решается с помощью затвора согласно одному из п.п.1 или 2. Зависимые пункты формулы описывают наиболее предпочтительные дальнейшие варианты выполнения изобретения.
Затвор согласно изобретению имеет корпус затвора, который можно вставить в уплотняемое отверстие. Например, корпус затвора можно вставить в стенку корпуса гидродинамической машины для преобразования энергии потока в механическую, в частности гидродинамической муфты, чтобы, таким образом, герметизировать рабочее пространство внутри корпуса муфты относительно окружающей среды.
Затвор имеет плавкий предохранительный элементный элемент, который введен в корпус затвора. Плавкий предохранительный элемент сохраняет закрытым пропускное отверстие, выполненное в корпусе затвора, в пределах заданной температуры. Выше заданной предельной температуры плавкий предохранительный элемент расплавляется и тем самым освобождает пропускное отверстие в корпусе затвора.
Согласно первому варианту выполнения изобретения корпус затвора имеет втулку, которая вставлена в пропускное отверстие корпуса затвора у его расположенного в осевом направлении конца таким образом, что сквозное отверстие, которое выполнено во втулке в осевом направлении, расположено на одной оси с участком пропускного отверстия корпуса затвора, который в осевом направлении примыкает к вставленной втулке. Плавкий предохранительный элемент при этом не заполняет непосредственно пропускное отверстие в корпусе затвора, т.е. он не находится в непосредственном контакте с корпусом затвора, а предпочтительно введен в сквозное отверстие вставленной втулки исключительно таким образом, что он полностью заполняет все поперечное сечение этого сквозного отверстия на заданную по оси длину. Под понятием полное заполнение при этом следует понимать всякое заполнение свободного поперечного сечения сквозного отверстия, которое, по меньшей мере, по существу, является полным.
Втулка уплотнена относительно корпуса затвора, например, с помощью впаивания. Согласно альтернативному варианту выполнения плавкий предохранительный элемент непосредственно введен в корпус затвора, т.е. введен полностью или, по меньшей мере, по существу, полностью, запирая пропускное отверстие внутри осевой области пропускного отверстия. При рассмотрении в осевом направлении корпус затвора имеет первый, расположенный по оси конец, и второй, расположенный по оси конец, между которыми проходит пропускное отверстие, причем плавкий предохранительный элемент держит закрытым пропускное отверстие в области одного расположенного по оси конца. При этом для этого выбирают расположенный по оси конец, который при вставлении затвора в стенку, ограничивающую полое пространство, обращен внутрь полого пространства.
В области этого осевого конца, который в данном случае обозначается как второй осевой конец, который закрывается плавким предохранительным элементом, корпус затвора снабжен выполненным в форме цилиндра или, по существу, в форме цилиндра, проходящим в осевом направлении выступом, т.е. этот выступ проходит, по существу, в осевом направлении корпуса затвора. При этом выступ имеет толщину стенки, которая уменьшена по сравнению с толщиной стенки остальной части корпуса затвора. Осевой выступ имеет при этом такую протяженность по оси, что плавкий предохранительный элемент, который, в частности, заканчивается заподлицо с внешним концом проходящего в осевом направлении выступа, по меньшей мере, на половине своей длины в осевом направлении окружен проходящим в осевом направлении выступом в окружном направлении.
Оба описанных альтернативных варианта выполнения изобретения имеют общую основополагающую идею, к которой пришел автор. Было установлено, что плохая воспроизводимость свойства срабатывания обычных затворов с функцией тепловой защиты, которые, в частности, как и настоящее изобретение согласно предпочтительному варианту выполнения образованы в виде винта с плавким предохранителем, объясняется слишком большим влиянием теплоемкости корпуса затвора на плавкий предохранительный элемент. В соответствии с этим были усовершенствованы обычные винты с плавкими предохранителями таким образом, что влияние теплоемкости корпуса затвора на плавкий предохранительный элемент, в частности на впаянный легкоплавкий припой в пропускном отверстии корпуса затвора, существенно снижается. Согласно первому описанному варианту выполнения изобретения с помощью введенной втулки обеспечивается изоляция между корпусом затвора и плавким предохранительным элементом. Изолирующее действие можно предпочтительным образом повысить благодаря тому, что между втулкой и корпусом затвора включено полое пространство, которое заполнено, например, воздухом или, что особенно предпочтительно, содержит вакуум.
Согласно второму варианту выполнения влияние теплоемкости корпуса затвора на плавкий предохранительный элемент снижается благодаря тому, что корпус затвора в области, соседствующей с плавким предохранительным элементом, в частности с введенным легкоплавким припоем, выполнен с чрезвычайно низкой теплоемкостью. Это согласно изобретению достигается благодаря тому, что толщина стенки корпуса затвора снижена вследствие выполнения осевого выступа, так что плавкий предохранительный элемент окружается незначительной массой корпуса затвора, которая обладает соответственно меньшей теплоемкостью.
Оба варианта выполнения отличаются, с одной стороны, особенно быстрым срабатыванием при повышенных температурах, а также чрезвычайно точным срабатыванием.
Плавкий предохранительный элемент представляет собой эвтектический легкоплавкий припой, который введен в пропускное отверстие корпуса затвора или в сквозное отверстие втулки. При введении легкоплавкого припоя предпочтительно этот легкоплавкий припой имеет длину в осевом направлении меньше 9 мм, в частности длину 8 мм. Однако на основании требуемой прочности на сжатие, в частности при применении в гидродинамических муфтах, легкоплавкий припой имеет длину предпочтительно по меньшей мере 5 мм. Для того, чтобы достичь особенно малой длины в осевом направлении, пропускное отверстие в корпусе затвора и/или, в частности, в сквозном отверстии во втулке в области самого наружного осевого конца имеет расширение поперечного сечения в форме, по меньшей мере, одной ступени. Такое выполнение показано далее с помощью описанных ниже чертежей. Благодаря ступенчатому выполнению осевого хода пропускного отверстия или сквозного отверстия передача усилий сдвига от легкоплавкого припоя на втулку или корпус затвора или от втулки на корпус затвора достигается, если затвор с торцевой стороны, т.е., например, с помощью соответствующего повышенного давления в уплотненном корпусом затвора полом пространстве, нагружается осевым усилием.
Для того, чтобы затвор с функцией тепловой защиты согласно изобретению обеспечивал быстрое опорожнение полого пространства, которое им уплотнено, проводящее поток пропускное отверстие предпочтительно по всей своей длине в осевом направлении имеет минимальный диаметр, по меньшей мере, 11 мм.
Осевой выступ согласно второму варианту выполнения изобретения предпочтительно имеет максимальную толщину стенки 2,5 мм, в частности толщину стенки 1-2 мм или даже меньше.
Затвор согласно изобретению пригоден, в частности, для применения в гидродинамической машине для преобразования энергии потока в механическую, в частности в гидродинамической муфте, или также в гидродинамическом тормозном устройстве, или гидродинамическом преобразователе для уплотнения относительно окружающей среды рабочего пространства гидродинамической машины для преобразования энергии потока в механическую.
Изобретение поясняется далее на основе двух примеров выполнения более подробно. Показывают:
Фиг.1 – затвор в форме винта с плавким предохранителем согласно уровню техники,
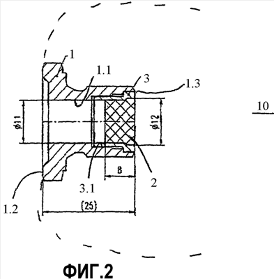
Фиг.2 – первый вариант выполнения образованного согласно изобретению затвора с функцией тепловой защиты в форме винта с плавким предохранителем,
Фиг.3 – второй вариант выполнения затвора согласно изобретению в форме винта с плавким предохранителем.
Фиг.1 показывает затвор согласно уровню техники. Как можно увидеть, затвор имеет тело 1 затвора с пропускным отверстием 1.1, которое закрыто плавким предохранительным элементом 2. Плавкий предохранительный элемент 2 является легкоплавким припоем, который по всему поперечному сечению пропускного отверстия 1.1 введен в пропускное отверстие 1.1 и имеет значительную толщину.
Такой затвор согласно уровню техники, который вставлен, например, в корпус гидродинамической муфты, имеет замедление в срабатывании, которое приводит к превышению температуры рабочей среды примерно на 50К, в зависимости от скорости нагревания рабочей среды. Это означает, что температура рабочей среды гидродинамической муфты примерно на 50К выше номинальной температуры легкоплавкого припоя. Далее, как это уже было подробно представлено во введении в описание, воспроизводимость свойства срабатывания показанного затвора неудовлетворительна.
На фиг.2 показан первый вариант выполнения затвора согласно изобретению. Видно, что этот вариант выполнения имеет основное тело 1 с пропускным отверстием 1.1, которое в области осевого конца, обращенного в полое пространство 10 (здесь представлено лишь в виде приставки) снабжен тремя ступенями. Таким образом, пропускное отверстие 1.1 с диаметром, как представлено сначала 11 мм, еще в области своего первого осевого конца расширяется на три ступени в направлении своего второго осевого конца. Первое, выполненное в ступенчатой форме расширение служит для приема втулки 3 таким образом, что пропускное отверстие 1.1 и сквозное отверстие 3.1 во втулке располагаются на одной оси. Второе ступенчатое расширение служит для образования полого пространства между втулкой 3 и телом 1 затвора. Наконец, третья ступень служит для приема уступа в радиальном направлении втулки 3, чтобы таким образом в осевом направлении между втулкой 3 и телом 1 затвора выполнить опору, посредством которой можно отводить в тело 1 затвора осевое усилие сдвига, которое оказывается со стороны торца на плавкий предохранительный элемент, в данном случае эвтектический легкоплавкий припой или втулку 3 на стороне полого пространства 10. По той же причине также диаметр сквозного отверстия 3.1 во втулке 3 в области того же осевого конца предусмотрен со ступенчатым расширением, так чтобы усилие сдвига могло передаваться от легкоплавкого припоя на втулку 3. Легкоплавкий припой можно поэтому выполнить со сравнительно малой длиной в осевом направлении, в данном случае с длиной по оси примерно 8 мм, причем предпочтителен допуск ±1 мм.
В области второго осевого конца, т.е. конца, который обращен к полому пространству 10, сквозное отверстие 3.1 во втулке 3 имеет диаметр 12 мм, у противоположного конца втулки, а также приблизительно по остальной осевой области пропускного отверстия предусмотрен диаметр 11 миллиметров. У его первого по оси конца, как показано, пропускное отверстие 1.1 может быть снабжено заметным расширением поперечного сечения, чтобы облегчить вытекание среды из полого пространства 10 в случае срабатывания.
Втулка выполнена предпочтительно из материала с хорошей теплопроводностью, например из меди. Корпус 1 затвора может быть изготовлен из сплава CuZn39Pb3F43.
На фиг.3 представлен второй вариант выполнения затвора согласно изобретению. Этот вариант выполнения имеет в соответствии с изобретением цилиндрический, проходящий по оси выступ 1.4 у второго осевого конца 1.3 тела 1 затвора. Как видно, этот цилиндрический выступ вначале имеет толщину стенки примерно 1,5 мм, а в самой наружной области второго осевого конца 1.3 толщину стенки 1 мм. Весь осевой выступ 1.4 может омываться средой, которая заполняет полое пространство 10, так что температура среды в полом пространстве 10 очень непосредственно передается на плавкий предохранительный элемент 2, в данном случае эвтектический легкоплавкий припой. За счет малой толщины стенки осевого выступа влияние теплоемкости на эту область тела 1 затвора очень незначительно. Достигается быстрое и очень точно воспроизводимое функционирование срабатывания затвора.
Подобно тому, как изображено на фиг.2, также и здесь пропускное отверстие 1.1 в области второго осевого конца 1.3 снабжено ступенчатым расширением поперечного сечения. Благодаря этому, во-первых, достигается еще меньшая толщина стенки осевого выступа в самой наружной осевой области, а во-вторых, становится возможной описанная выше передача усилий сдвига от плавкого предохранительного элемента на тело 1 затвора. Это ступенчатое расширение поперечного сечения в пропускном отверстии 1.1 проходит, в частности, от внешнего осевого конца 1.3 максимально до половины введенного плавкого предохранительного элемента, т.е. в данном случае максимально до 4 мм по оси в пропускное отверстие 1.1. Другой вариант выполнения имеет (как показано) протяженность этого расширения поперечного сечения примерно 2 мм, т.е., например, четвертую часть протяженности в осевом направлении плавкого предохранительного элемента.
В показанном примере выполнения на фиг.3 тело 1 затвора может быть выполнено, например, из того же материала, что и тело затвора по фиг.2. Альтернативно также в качестве материала для корпуса затвора одного или обоих примеров выполнения можно использовать St52-3.
Оба показанных на фиг.2 и 3 тела затвора имеют сравнительно большую длину в осевом направлении, а именно длину примерно 25 мм. Благодаря этому достигается, что легкоплавкий припой находится сравнительно далеко внутри полого пространства 10, за счет чего, с одной стороны, сводятся к минимуму влияния окружающей среды, а с другой стороны, является более непосредственным влияние температуры в полом пространстве 10 на плавкий предохранительный элемент 2.
Формула изобретения
1. Затвор с функцией тепловой защиты, включающий в себя тело (1) затвора для уплотнения запираемого полого пространства (10); плавкий предохранительный элемент (2), который введен в тело (1) затвора и, по меньшей мере, опосредствованно держит закрытым пропускное отверстие (1.1), которое образовано в теле (1) затвора; тело (1) затвора включает в себя втулку (3) со сквозным отверстием (3.1); и втулка (3) вставлена в пропускное отверстие (1.1) тела (1) затвора у одного осевого конца (1.3) таким образом, что сквозное отверстие (3.1) и часть пропускного отверстия, которое примыкает по оси к втулке (3), расположены на одной оси; предохранительный плавкий элемент (2) заполняет сквозное отверстие (3.1) втулки по всему поперечному сечению на заданной по оси длине; плавкий предохранительный элемент (2) является легкоплавким припоем, который впаян в сквозное отверстие (3.1) втулки (3); отличающийся следующими признаками: втулка (3) на своем расположенном по оси конце, в котором расположен легкоплавкий припой, имеет ступенчатое расширение поперечного сечения, так что часть легкоплавкого припоя в осевом направлении примыкает к втулке (3) таким образом, что осевое усилие сдвига может передаваться от легкоплавкого припоя на втулку (3), причем ступенчатое расширение выполнено у того конца (1.3), который при вставлении затвора в ограничивающую полое пространство стенку обращен к полому пространству и легкоплавкий припой проходит по всему расширению ступенчатой формы.
2. Затвор по п.1, отличающийся тем, что тело (1) затвора в области приема втулки (3) снабжено тремя расширениями ступенчатой формы, и втулка (3) включает в себя уступ в радиальном направлении, так что образуется полое пространство между втулкой (3) и телом (1) затвора.
3. Затвор по п.2, отличающийся тем, что легкоплавкий припой имеет максимальную длину по оси 9 мм, в частности длину 8 мм.
4. Затвор по п.3, отличающийся тем, что легкоплавкий припой имеет минимальную длину 5 мм.
5. Затвор по одному из пп.1-4, отличающийся тем, что пропускное отверстие (1.1) и, в частности, сквозное отверстие (3.1) по их общей длине в осевом направлении имеют минимальный диаметр 11 мм.
6. Затвор с функцией тепловой защиты, включающий в себя: тело (1) затвора для уплотнения запираемого полого пространства (10); плавкий предохранительный элемент (2), который введен в тело (1) затвора и, по меньшей мере, опосредствованно держит закрытым пропускное отверстие (1.1), которое образовано в теле (1) затвора; тело (1) затвора имеет первый осевой конец (1.2) и второй, противоположный осевой конец (1.3), причем пропускное отверстие (1.1) проходит в осевом направлении от первого осевого конца (1.2) ко второму осевому концу (1.3) и в области второго осевого конца (1.3) перекрыто плавким предохранительным элементом (2); в области своего второго осевого конца (1.3) тело (1) затвора снабжено проходящим в осевом направлении выступом цилиндрической формы или, по существу, цилиндрической формы, который имеет меньшую, по сравнению с остальной частью тела (1) затвора, толщину стенки и который образует осевой участок окружающей наружной стенки пропускного отверстия (1.1); причем плавкий предохранительный элемент (2), по меньшей мере, на половине своей проходящей по оси длины окружен проходящим в окружном направлении выступом (1.4); плавкий предохранительный элемент представляет собой легкоплавкий припой, который впаян в пропускное отверстие (1.1) в теле (1) затвора; отличающийся следующими признаками: пропускное отверстие (1.1) на своем осевом конце, в котором расположен легкоплавкий припой, образовано с расширением поперечного сечения ступенчатой формы, так что часть легкоплавкого припоя в осевом направлении таким образом примыкает к телу (1) затвора, что осевое усилие сдвига может передаваться от легкоплавкого припоя на тело (1) затвора; причем имеющее ступенчатую форму расширение выполнено на том осевом конце (1.3), который при введении затвора в ограничивающую полое пространство стенку обращен к полому пространству, и легкоплавкий припой проходит по оси через все ступенчатое расширение.
7. Затвор по п.6, отличающийся тем, что образованный в осевом направлении выступ (1.4) имеет максимальную толщину стенки 1-2 мм или меньше.
8. Применение затвора по п.1 в гидродинамической машине для преобразования энергии потока в механическую, в частности, в гидродинамической муфте, гидродинамическом тормозе или гидродинамическом преобразователе для уплотнения рабочего пространства (20) гидродинамической машины для преобразования энергии потока в механическую относительно окружающей среды.
9. Применение затвора по п.6 в гидродинамической машине для преобразования энергии потока в механическую, в частности, в гидродинамической муфте, гидродинамическом тормозе или гидродинамическом преобразователе для уплотнения рабочего пространства (20) гидродинамической машины для преобразования энергии потока в механическую относительно окружающей среды.
10. Гидродинамическая машина для преобразования энергии потока в механическую с рабочим пространством (20), отличающаяся тем, что рабочее пространство (20) уплотнено относительно окружающей среды с помощью затвора согласно п.1.
11. Гидродинамическая машина для преобразования энергии потока в механическую с рабочим пространством (20), отличающаяся тем, что рабочее пространство (20) уплотнено относительно окружающей среды с помощью затвора согласно п.6.
РИСУНКИ
|
|