|
|
(21), (22) Заявка: 2007126420/11, 12.07.2007
(24) Дата начала отсчета срока действия патента:
12.07.2007
(43) Дата публикации заявки: 20.01.2009
(46) Опубликовано: 27.05.2009
(56) Список документов, цитированных в отчете о поиске:
US 5578881 А, 26.11.1996. RU 26092 U1, 10.11.2002. SU 769502 A, 07.10.1980. SU 336438 A, 21.07.1972. SU 191961 A, 23.03.1967. US 2661580 A, 08.11.1953.
Адрес для переписки:
111116, Москва, ул. Авиамоторная, 2, ФГУП “ЦИАМ им. П.И. Баранова”, отдел Интеллектуальной собственности
|
(72) Автор(ы):
Степанов Георгий Павлович (RU), Белуков Анатолий Анатольевич (RU), Петухов Александр Александрович (RU), Степанов Сергей Георгиевич (RU)
(73) Патентообладатель(и):
Федеральное государственное унитарное предприятие “Центральный институт авиационного моторостроения имени П.И. Баранова” (RU)
|
(54) ГАЗОСТАТИЧЕСКИЙ УПОРНО-ОСЕВОЙ ПОДШИПНИК С ПНЕВМАТИЧЕСКИМ РЕГУЛЯТОРОМ ПОЛОЖЕНИЯ ВАЛА
(57) Реферат:
Изобретение относится к пневматически регулируемым упорно-осевым газостатическим подшипникам скольжения и может быть использовано в турбинах. Подшипник содержит корпус, вал (2), упорный диск (1), жестко посаженный на вал (2) подшипника и размещенный между фиксированными упорами (3, 4) корпуса с двух сторон диска (1), группу парных дросселей (7-14) питателей, противолежащих соосно и разделенных диском (1). Входные каналы регулятора (21) управления положением вала (2) соединены коммуникационными трубопроводами (17, 18) с индикаторными соплами (5, 6), выполненными в том же корпусе. При этом индикаторные сопла (5, 6) противолежат соосно, разделены диском (1), размещены диаметрально ближе к центру подшипника, чем парные дроссели питателей (7-14), и создают с диском (1) элементы сопло-заслонка. Выходные каналы (22, 23) регулятора соединены коммуникационными трубопроводами с мембранно-тарельчатыми узлами (26, 27), выполненными с самоустанавливающимися тарелками (30, 31), которые имеют направляющую поверхность. Выходы узлов (26, 27) соединены коммуникационными трубопроводами с соответствующей группой парных дросселей (7-14) питателей. Решение направлено на повышение надежности. 2 з.п. ф-лы, 4 ил.
Изобретение относится к машиностроению, а именно к упорным газостатическим осевым подшипникам, и может быть использовано в различных областях техники общепромышленного назначения, в том числе на силовых турбоустановках авиационных и других двигателях.
Известен управляемый газовый упорный подшипник, описанный в патенте США 6,851,862 В2 от 8.02.2005 г., заявитель Corac Group PLC. В качестве параметра управления положения вала в осевом направлении предлагается использовать температуру нагрева вкладышей, установленных с обеих сторон вспомогательного вращаемого валом диска, которая изменяется в зависимости от величины зазоров между вкладышами и плоскостями диска. Изменение температуры вкладышей используется регулятором для управления двумя кранами подачи воздуха под давлением из аккумуляторной емкости к двум противоположным полостям рабочего второго установленного на валу диска. При увеличении на вкладыше температуры выше допустимого значения, соответствующий кран приоткрывается, увеличивая давление в соответствующей полости рабочего диска для перемещения вала в сторону увеличения зазора между соответствующим вкладышем и вспомогательным диском. Основным недостатком изобретения является существенное его усложнение с присутствием электрических, механических гидравлических элементов конструкции, что не позволяет рассчитывать на обеспечение высокодинамичных характеристик системы при использовании в качестве параметра управления температуры нагрева вкладышей.
Наиболее близким по техническому решению к заявленному является патент США 5,578,881А от 26.11.1996 г., в котором рассматривается устройство демпфирования колебаний в осевом направлении с использованием гидравлических бистабильных элементов струйной техники.
В заявляемом техническом решении решается задача автоматического управления положением вала в осевом направлении при воздействии на него внешних нагрузок от подсоединенных агрегатов (турбины, компрессора, вентилятора), а также от инерционных сил при маневрах движущегося объекта.
Технический результат достигается в заявляемом газостатическом упорно-осевом подшипнике с пневматическим регулятором положения вала, который содержит корпус, вал, упорный диск, жестко посаженный на вал подшипника, размещенный между фиксированными упорами корпуса с двух сторон диска, группу парных дросселей питателей, противолежащих соосно и разделенных диском, регулятор управления положением вала, коммуникационные трубопроводы и дроссели настройки, регулятор, входные каналы которого соединены коммуникационными трубопроводами с индикаторными соплами, противолежащими соосно и разделенные диском, создающими с диском элементы «сопло-заслонка», и выполненными в том же корпусе, при этом выходные каналы регулятора соединены коммуникационными трубопроводами с мембранно-тарельчатыми узлами, выполненными с самоустанавливающимися летающими подвешенными тарелками, которые имеют боковую сферическую направляющую поверхность, причем выходы мембранно-тарельчатых узлов соединены коммуникационными трубопроводами с соответствующей группой парных дросселей питателей.
В газостатическом упорно-осевом подшипнике с пневматическим регулятором положения вала на оконечных частях обеих плоскостей упорного диска выполнены шнековые борозды лопаточного профиля.
В оконечных частях фиксированных упоров корпуса выполнены отверстия сброса отработанного воздуха.
Для решения данной задачи на валу газового подшипника размещают упорный диск, плоскости которого с обеих его сторон перпендикулярны оси вращения вала и параллельны двум фиксированным упорным плоскостям на корпусе с противоположных сторон диска. Для регистрации положения вала и его перемещения от расчетного положения с заданным зазором между диском и фиксированными упорами на корпусе устанавливают пару индикаторных сопел, противолежащих соосно друг другу и разделенных упорным диском, которые в сочетании с плоскостями диска создают элементы «сопло-заслонка». Каждое индикаторное сопло связано коммуникационными трубопроводами с системой питания воздухом и с каналами управления струйного регулятора. Струйный регулятор вырабатывает выходные команды изменения давления, подаваемого в группы парных дросселей питателей, количество которых зависит от размеров диска, также противолежащих друг другу и разделенных диском. При этом индикаторные сопла размещают диаметрально ближе к центру подшипника, чем парные дроссели питатели, которые подают воздух в циркуляционные зазоры, чтобы избежать влияния центробежного потока воздуха на показания индикаторных сопел.
Конструктивно влияние подачи воздуха через парные дроссели питатели на показания индикаторных сопел может быть обеспечено размещением на валу дополнительного диска, предназначенного для регистрации положения вала с соответствующей при нем пары индикаторных сопел.
Особенностью управления положением вала газостатического упорно-осевого подшипника в осевом направлении является то, что используется развязанная система подачи воздуха непосредственно в циркуляционные зазоры подшипника, а избыток давления воздуха, вызывающий смещение вала от расчетного его положения, снимается сбросом воздуха в атмосферу из соответствующих каналов подачи воздуха в подшипник.
Эта конструктивная особенность обеспечивается введением в систему мембранно-тарельчатого узла, в котором самоустанавливающаяся летающая мембрана тарельчатого типа с боковой сферической поверхностью при положении вала в расчетной зоне нечувствительности закрывает сопло сброса воздуха, положение – “нормально закрыто” из коммуникационного трубопровода, подсоединенного к дросселям питателям. При выходе вала из расчетной зоны нечувствительности при внешних возмущениях мембрана раскрывает сопло мембранного узла, обеспечивая при этом сброс воздуха из подсоединенного коммуникационного трубопровода с дросселями питателями и в соответствующей части циркуляционного зазора подшипника, возвращая вал в исходное положение в зоне нечувствительности.
Для уменьшения расхода воздуха в системе на периферийной части плоскостей с обеих сторон диска выполнены шнековые борозды лопаточного профиля, создающие противоток основному потоку воздуха в зазорах между диском и упорами корпуса. Отработанный воздух в подшипнике сбрасывают через серию отверстий в оконечной части фиксированных упорных плоскостей корпуса.
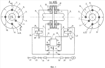
На фиг.1 представлена схема газостатического упорно-осевого подшипника с пневматическим регулятором положения вала в осевом направлении с системой управления положением вала.
На фиг.2 представлен упорный диск со шнековыми бороздами лопаточного профиля, создающими противоток основному потоку воздуха в циркуляционном зазоре.
На фиг.3 представлена конструктивная схема мембранно-тарельчатого узла с самоустанавливающимися летающими подвешенными тарелками.
На фиг.4 показана характеристика работы струйного блока регулятора, отражающая зависимость изменения выходных давлений от величины перепада давления в его каналах управления.
Газостатический упорно-осевой подшипник с пневматическим регулятором положения вала на фиг.1 и фиг.2 содержит следующие элементы: упорный диск 1, жестко посаженный на вал 2. Плоскости диска 1 параллельны плоскостям фиксированных упоров 3, 4 корпуса. Противостоящие индикаторные сопла 5, 6 выполнены в упорах 3, 4 корпуса. Группы парных дросселей питателей 7, 9, 11 13, с противостоящими соответственно дросселями питателями 8, 10, 12, 14, с размещенным между ними диском 1, также размещены в упорах 3, 4 корпуса и объединены между собой коммуникационными трубопроводами 15, 16. Индикаторные сопла 5, 6 соединенные коммуникационными трубопроводами 17, 18 с входами каналов управления 19, 20 струйного регулятора 21, а его выходные каналы 22, 23 подсоединены соответственно к глухим камерам 24, 25 мембранно-тарельчатых узлов 26, 27. Сопла 28, 29 в сочетании с мембранами 30, 31 образуют элементы «Сопла-Заслонки», при том входы сопел 28, 29 соединены коммуникационными трубопроводами с кольцевыми магистралями 15, 16 подачи воздуха к дросселям питателям 7, 9, 11, 13 и 8, 10, 12, 14 соответственно.
Отработанный воздух в циркуляционных зазорах между упорным диском 1 и упорами 3, 4 сбрасывают в атмосферу через серию отверстий 32 в оконечной части упоров.
На режимах запуска и останова двигателя питание воздухом системы под давлением осуществляется от аккумулятора 33 через кран 34 и обратный клапан 35 при закрытии крана 36, который связывает систему управления с компрессором 37 двигателя.
После режима запуска двигателя с повышением частоты вращения вала и давления воздуха от компрессора, при котором обеспечивается нормальное функционирование струйного регулятора, открывается кран 36. При этом, если давление воздуха от компрессора 37 более высокое, чем это требуется, вступает в работу редукционный клапан 38. В магистрали питания воздухом от компрессора предусматривается размещение фильтра 39 для очистки воздуха. Для обеспечения необходимого функционирования газостатического упорно-осевого подшипника с его САУ при применении на объектах с вращающимися валами различной размерности, а также для учета производственных отклонений в размерах, в пределах назначенных допусков, в систему введены дроссели настройки 40, 41, 42, 43, 44, 45, 46.
Для уменьшения расхода воздуха в системе на периферийной части плоскостей диска с обеих его сторон выполнены шнековые борозды 47 лопаточного профиля, создающие противоток основному потоку воздуха в зазорах между диском 1 и упорами 3, 4. Отработанный воздух в подшипнике сбрасывается через серию отверстий 32, выполненных в оконечной части фиксированных упорных плоскостей 3, 4 корпуса.
Газостатический упорно-осевой подшипник с пневматическим регулятором положения вала работает следующим образом.
При возникновении внешних возмущений происходит изменение положения упорного диска 1 относительно упоров 3, 4 корпуса.
При сокращении зазора между упором 3 корпуса и упорным диском 1 давление в индикаторном сопле 5 и, соответственно, в магистрали 17, входном канале 19 струйного регулятора 21 повышается, что вызывает уменьшение давления в выходном канале 23. При уменьшении давления в глухой камере 25 мембранного-тарельчатого узла 27 мембрана 31 откроет сопло 29, уменьшая давление в магистрали 15 перед дросселями 7, 9, 11, 13, не допуская движение упорного диска 1 к упору 3.
При движении упорного 1 диска к упору 4, аналогичная картина работы системы происходит с мембранным узлом 26, который уменьшает давление перед дросселями 8, 10, 12, 14, не допуская перемещения упорного диска 1 к упору 4.
Система управления газостатическим упорно-осевым подшипником обладает достаточно высоким быстродействием, определяемым скоростью распределения звука в воздухе.
Применение заявляемого технического решения позволяет автоматически управлять перемещением вала при переменных нагрузках на вал подшипника в осевом направлении и обеспечивать необходимый зазор между упорным диском и упорами корпуса, что дает возможность использовать его на турбоустановках различного назначения. Применение газостатического упорно-осевого подшипника с предлагаемой системой управления позволяет существенно повысить надежность и ресурс работы силовой установки, в том числе автоматической системы управления в связи с тем, что в ней отсутствуют подвижные детали, и выполнена на элементах струйной техники, не подверженной влиянию температуры, электромагнитных и радиационных возмущений, а также при ударных и внешних вибрационных нагрузках.
Формула изобретения
1. Газостатический упорно-осевой подшипник с пневматическим регулятором положения вала, содержит корпус, вал, упорный диск, жестко посаженный на вал подшипника, размещенный между фиксированными упорами корпуса с двух сторон упорного диска, группу парных дросселей питателей, противолежащих соосно и разделенных упорным диском, коммуникационные трубопроводы и дроссели настройки, регулятор управления положением вала, входные каналы которого соединены коммуникационными трубопроводами с индикаторными соплами, выполненными в том же корпусе, отличающийся тем, что индикаторные сопла противолежат соосно, разделены упорным диском и создают с упорным диском элементы сопло-заслонка, причем выходные каналы регулятора соединены коммуникационными трубопроводами с мембранно-тарельчатыми узлами, выполненными с самоустанавливающимися тарелками, которые имеют направляющую поверхность, при этом выходы мембранно-тарельчатых узлов соединены коммуникационными трубопроводами с соответствующей группой парных дросселей питателей, причем индикаторные сопла размещены диаметрально ближе к центру подшипника, чем парные дроссели питателей.
2. Газостатический упорно-осевой подшипник с пневматическим регулятором положения вала по п.1, отличающийся тем, что на оконечных частях обеих плоскостей упорного диска выполнены шнековые борозды лопаточного профиля.
3. Газостатический упорно-осевой подшипник с пневматическим регулятором положения вала по п.1, отличающийся тем, что в оконечных частях фиксированных упоров корпуса выполнены отверстия сброса отработанного воздуха.
РИСУНКИ
|
|