|
|
(21), (22) Заявка: 2004118679/11, 18.06.2004
(24) Дата начала отсчета срока действия патента:
18.06.2004
(30) Конвенционный приоритет:
20.06.2003 FR 0350240
(43) Дата публикации заявки: 10.01.2006
(46) Опубликовано: 27.05.2009
(56) Список документов, цитированных в отчете о поиске:
ЕР 1126137 А2, 22.08.2001. US 6109022 A, 29.08.2000. FR 2752024 A1, 06.02.1998. GB 2376504 A, 18.12.2002. SU 1354834 A1, 15.11.1990.
Адрес для переписки:
103735, Москва, ул. Ильинка, 5/2, ООО “Союзпатент”, пат.пов. Ю.В.Пинчуку, рег. 656
|
(72) Автор(ы):
БУШИ Гаэль (FR), МАЗЛЕ Ален (FR), МАРТЕН Даниель Жан-Мари (FR), МОРЕЛЬ Патрик Шарль Жорж (FR)
(73) Патентообладатель(и):
СНЕКМА МОТЁР (FR)
|
(54) ОПОРНОЕ УСТРОЙСТВО ПОДШИПНИКОВ ВРАЩАЮЩЕГОСЯ ВАЛА АВИАЦИОННОГО ДВИГАТЕЛЯ И АВИАЦИОННЫЙ ДВИГАТЕЛЬ, ОБОРУДОВАННЫЙ ТАКИМ УСТРОЙСТВОМ
(57) Реферат:
Изобретение относится к области техники, касающейся авиационных двигателей. Опорное устройство подшипников предназначено для удержания вращающегося вала (10) авиационного двигателя, смонтированного в подшипниках (20, 50), связанных с конструкцией (16) статора двигателя при помощи опор подшипников (22, 52). При этом опорное устройство содержит первый подшипник (20), удерживаемый опорой первого подшипника (22), и второй подшипник (50), удерживаемый опорой второго подшипника (52). Опора второго подшипника (52) содержит два элемента (24, 40), действующих параллельно и связывающих одновременно второй подшипник (50) с конструкцией (16) статора двигателя. Два элемента (24, 40) представляют различные степени жесткости и определяют жесткий элемент (40) и гибкий элемент (24). Жесткий элемент (40) осуществляет связь между вторым подшипником (50) и конструкцией (16) статора двигателя при помощи предохранительных средств. Опора первого подшипника (22) заканчивается фланцем (34), закрепленным на конструкции (16) статора двигателя при помощи предохранительных элементов (36). Технический результат: создание опорного устройства подшипника для вращающегося вала авиационного двигателя, которое содержит жесткий путь передачи усилий и гибкий путь передачи усилий, совместимые с возможными перемещениями этого вращающегося вала после его разъединения, и которое достаточно просто и удобно использовать. 2 н. и 12 з.п. ф-лы, 5 ил.
Область техники, к которой относится изобретение
Изобретение относится к области техники, касающейся авиационных двигателей.
Более конкретно, изобретение имеет целью создание опорного устройства подшипников, предназначенных для удержания вращающегося вала авиационных двигателей, способного компенсировать нежелательные эффекты, возникающие вследствие использования системы разъединения этого вращающегося вала. Система разъединения вращающегося вала, когда она предусмотрена в данном авиационном двигателе, приводится в действие, например, в случае возникновения значительной несбалансированности этого вращающегося вала, вызванной, например, разрушением лопатки вентилятора, являющимся следствием попадания птицы в этот двигатель.
Изобретение также имеет целью создание авиационного двигателя, оборудованного опорным устройством, используемым для подшипников вала двигателя.
Уровень техники
В общем случае авиационный двигатель содержит вращающийся вал, который приводит во вращательное движение один или несколько агрегатов, таких, например, как лопатки, образующие вентилятор двигателя. Этот вращающийся вал удерживается на конструкции статора двигателя при помощи подшипников и опор для этих подшипников. В случае попадания птицы в двигатель может произойти разрушение лопаток, что вызывает значительную несбалансированность этого вращающегося вала. Нагрузки, возникающие вследствие возникновения этой несбалансированности, распространяются от вращающегося вала к остальной конструкции двигателя и могут повредить его вплоть до невозможности продолжения полета данного летательного аппарата, что заставляет некоторых конструкторов авиационных двигателей устанавливать так называемые системы разъединения вращающегося вала. Однако наличие таких разъединителей вращающегося вала приводит к возникновению следующих нежелательных эффектов:
– с одной стороны, вращающийся вал после его разъединения перемещается в радиальном направлении неконтролируемым образом с некоторым свободным ходом, который может быть значительным и который поддерживается в процессе его вращения,
– а с другой стороны, вращающийся вал в этом случае больше не удерживается в осевом направлении, вследствие чего он перемещается в направлении вперед, что может быть причиной значительных повреждений в конструкции двигателя.
В нескольких документах предшествующего уровня техники в данной области описаны устройства, функция которых состоит в том, чтобы уменьшить нежелательные эффекты, обусловленные возникновением такой несбалансированности.
В патентном документе ЕР 0814236, содержание которого используется здесь в качестве ссылки, описана работа авиационного двигателя, имеющего вращающийся вал, смонтированный в подшипниках, которые связаны с конструкцией двигателя при помощи опор этих подшипников. В этом патентном документе описана, в частности, опора подшипника, оснащенная двойным путем передачи усилий, который содержит первый путь передачи усилий, или так называемый “жесткий” путь передачи усилий, и второй путь передачи усилий, или так называемый “гибкий” путь передачи усилий.
На фиг.4 схематически представлен пример реализации, который подробно описан в предшествующем патентном документе ЕР 0814236. В соответствии с этим специфическим способом реализации вращающийся вал 110, с которым связаны лопатки 112 вентилятора, направляется в своем вращательном движении при помощи первого подшипника 120, называемого также подшипником 1, и при помощи второго подшипника 150, называемого также подшипником 2 и располагающегося по потоку позади упомянутого первого подшипника 120. Свободные концы лопаток 112 вентилятора проходят в непосредственной близости от кожуха 114, охватывающего ступень вентилятора. Второй подшипник 150 в проиллюстрированном здесь примере реализации представляет собой роликовый подшипник, связанный с конструкцией 116 данного турбореактивного двигателя при помощи опоры 152 этого второго подшипника. Первый подшипник 120 в проиллюстрированном здесь примере реализации представляет собой шариковый подшипник 121, связанный с конструкцией 116 данного авиационного двигателя при помощи опоры этого первого подшипника 122. Опора первого подшипника 122 содержит первый элемент 124 и второй элемент 140, обладающие различными степенями жесткости. При этом упомянутый второй элемент 140 (жесткий путь передачи усилий) представляет более высокую степень жесткости по сравнению с первым элементом 124 (гибкий путь передачи усилий).
Упомянутый первый элемент 124 содержит первую гибкую коническую стенку 126, продолжающуюся на своем наиболее удаленном от первого подшипника 120 конце первым удаленным от вала фланцем 128 и продолжающуюся на другом своем конце в осевом направлении органом 132, охватывающим подшипник 120, и наружу в радиальном направлении при помощи первого расположенного ближе к валу фланца 130.
Упомянутый второй элемент 140 представляет вторую гибкую коническую стенку 142, продолжающуюся на своем наиболее удаленном от первого подшипника 120 конце вторым удаленным от вала фланцем 144 и продолжающуюся на другом своем конце внутрь в радиальном направлении вторым расположенным ближе к валу фланцем 146. Два этих удаленных от вала фланца 128, 144 прикреплены друг к другу и к конструкции 116 двигателя при помощи болтов 134. Два расположенных ближе к валу фланца 130, 146 прикреплены друг к другу при помощи так называемых предохранительных соединительных элементов 136, которые способны разрушаться под действием радиального усилия сдвига, равного или превышающего некоторую предварительно определенную величину, причем упомянутые предохранительные соединительные элементы могут представлять собой болты. На фиг.4 позицией 138 обозначена упомянутая предохранительная зона, то есть зона, в которой действуют эти предохранительные элементы.
При нормальном функционировании двигателя его вращающийся вал связан с конструкцией этого двигателя при помощи комбинации жесткого пути передачи усилий и гибкого пути передачи усилий опоры первого подшипника, причем в этом случае усилия передаются, главным образом, через жесткий путь передачи усилий.
Если в этом случае возникает случайная и достаточно значительная несбалансированность вращающегося вала, упомянутые предохранительные элементы разрушаются под влиянием механических воздействий. При этом жесткий путь передачи усилий больше не используется. Разрушение упомянутых предохранительных элементов позволяет исключить повреждение конструкции двигателя, не допуская распространения нагрузок, связанных с возникшей несбалансированностью, от вращающегося вала к конструкции двигателя посредством жесткого пути передачи усилий опорного устройства первого подшипника.
При этом усилия передаются только через гибкий путь передачи усилий. Такая конструкция позволяет оптимизировать поведение данного двигателя, то есть минимизировать вибрации для заданной нагрузки. Таким образом, двигатель имеет возможность функционировать в нештатном режиме в условиях повреждений на протяжении времени, достаточного для обеспечения посадки данного летательного аппарата.
В то же время техническое решение, предложенное в патентном документе ЕР 0814236, совместимо с осевым позиционированием подшипника, удерживаемого при помощи такой опоры подшипника, после разрушения предохранительных соединительных элементов, то есть в том случае, когда двигатель функционирует в режиме повреждения. Это осевое позиционирование обеспечивается посредством гибкого пути передачи усилий. Подшипник с эффектом упора, например шариковый подшипник, может быть связан с гибким путем передачи усилий для поддержания осевого позиционирования самого этого вращающегося вала и восприятия осевого толкающего усилия, воздействию которого подвергается этот вал.
Однако при использовании опорного устройства подшипника, соответствующего примеру реализации, который подробно описан в патентном документе ЕР 0814236, радиальное отклонение вращающегося вала 110 возрастает в направлении сзади к его передней части, как это схематически проиллюстрировано на фиг.4 радиальными отклонениями D1 и D2. При этом отклонение D1 представляет собой радиальное отклонение вращающегося вала 110, измеренное в осевом положении второго подшипника 150, и отклонение D2 представляет собой радиальное отклонение вращающегося вала 110, измеренное в осевом положении первого подшипника 120. При использовании такой механической конструкции отклонение D2 весьма значительно превышает отклонение D1, и механическая концепция двойного пути передачи усилий в первом подшипнике, которая будет совместима с достаточно большими перемещениями, оказывается слишком сложной в ее практической реализации.
Раскрытие изобретения
Техническая задача данного изобретения состоит в том, чтобы предложить опорное устройство подшипника для вращающегося вала авиационного двигателя, которое содержит жесткий путь передачи усилий и гибкий путь передачи усилий, совместимые с возможными перемещениями этого вращающегося вала после его разъединения, и которое достаточно просто и удобно использовать.
В соответствии с первым своим аспектом изобретение касается опорного устройства подшипника для вращающегося вала авиационного двигателя, причем на передней части этого вращающегося вала закреплено приводимое им во вращательное движение оборудование, причем этот вращающийся вал проходит в направлении назад по отношению к упомянутому оборудованию и смонтирован в подшипниках, связанных с конструкцией статора двигателя при помощи опор подшипников, по меньшей мере, одна из которых содержит N>1 элементов, действующих, по существу, параллельно и предназначенных для одновременного соединения данного подшипника с упомянутой конструкцией двигателя, среди которых N-1 из этих N элементов осуществляют эту связь при помощи предохранительных средств. Упомянутая опорная конструкция подшипников содержит первый подшипник, удерживаемый опорой первого подшипника, и второй подшипник, удерживаемый опорой второго подшипника, и та из двух этих опор подшипников, которая содержит упомянутые N>1 элементов, представляет собой опору второго подшипника.
Этот второй подшипник представляет собой подшипник с эффектом осевой блокировки. В этом случае первый подшипник не является подшипником с эффектом осевой блокировки.
Предпочтительным образом упомянутая опора второго подшипника содержит два элемента, действующих, по существу, параллельно и связывающих одновременно данный подшипник с конструкцией двигателя, причем два эти элемента представляют различные степени жесткости и определяют жесткий элемент и гибкий элемент, причем упомянутый жесткий элемент осуществляет связь между упомянутым вторым подшипником и конструкцией двигателя при помощи предохранительных средств.
Предпочтительным образом упомянутый жесткий элемент представляет в продольном разрезе, по существу, прямолинейный профиль.
Предпочтительным образом упомянутый гибкий элемент представляет в продольном разрезе профиль, имеющий, по существу, форму шпильки для волос, содержащей один или несколько криволинейных участков. В соответствии с вариантом реализации этот профиль в форме шпильки для волос содержит два криволинейных участка.
Предпочтительным образом опора подшипника, состоящая из N>1 элементов, дополнительно содержит радиальные средства упора, предназначенные для ограничения радиального отклонения вращающегося вала после использования упомянутых предохранительных средств.
Предпочтительным образом опора подшипника, состоящая из N>1 элементов, дополнительно содержит средства амортизации, связанные с радиальными средствами упора.
В одной из своих наиболее предпочтительных форм реализации опорное устройство подшипников в соответствии с изобретением позволяет сочетать в себе:
– наличие двойного пути передачи усилий, содержащего жесткий путь передачи усилий, который может быть устранен в результате разъединения вращающегося вала в случае его значительной несбалансированности, и гибкий путь передачи усилий, при помощи которого этот вращающийся вал остается связанным с конструкцией двигателя,
– наличие предохранительных средств, реализующих разъединение между вращающимся валом и конструкцией двигателя на жестком пути передачи усилий под действием второго подшипника, обладающего функцией осевой блокировки, не позволяющей этому вращающемуся валу быть продвинутым вперед после разъединения между этим вращающимся валом и конструкцией двигателя на жестком пути передачи усилий,
– средства радиального упора, предназначенные для ограничения амплитуды отклонения вращающегося вала, удерживаемого на конструкции двигателя при помощи гибкого пути передачи усилий после разъединения этого вращающегося вала,
– средства осевой блокировки, предназначенные для восприятия осевых усилий, передаваемых через второй подшипник после разъединения этого вращающегося вала.
По сравнению с опорными устройствами подшипников из существующего уровня техники, описанными выше, опорное устройство подшипников в соответствии с данным изобретением обладает преимуществом наличия двойного пути передачи усилий на опоре второго подшипника скорее, чем на опоре первого подшипника, что придает ему более компактную и облегченную конфигурацию.
В соответствии со вторым своим аспектом предлагаемое изобретение касается авиационного двигателя, оборудованного таким опорным устройством подшипников. Предпочтительным образом приводимое в движение вращающимся валом оборудование представляет собой вентилятор двигателя, содержащий лопатки, закрепленные на этом валу.
Краткое описание чертежей
Изобретение будет лучше понято из приведенного ниже описания специфического способа его реализации, где даются ссылки на приведенные в приложении, среди которых:
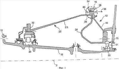
фиг.1 представляет собой схематический вид в продольном разрезе части авиационного двигателя, демонстрирующий опорное устройство для подшипников его вращающегося вала в соответствии с изобретением;
фиг.2 представляет собой схематический вид в продольном разрезе первого варианта реализации опорного устройства подшипника с двойным путем передачи усилий в соответствии с изобретением;
фиг.3 представляет собой схематический вид в продольном разрезе второго варианта реализации опорного устройства подшипника с двойным путем передачи усилий в соответствии с изобретением;
фиг.4, уже описанная в предшествующем изложении, представляет собой схематический вид в продольном разрезе опорного устройства подшипника в соответствии с существующим уровнем техники в данной области;
фиг.5 представляет собой схематический вид в продольном разрезе опорного устройства подшипника в соответствии с изобретением.
Осуществление изобретения
Как можно видеть, прежде всего, на фиг.1 и 5, на них представлена часть авиационного двигателя, содержащая вал 10, вращающийся относительно его оси вращения 2.
На передней части этого вращающегося вала 10 размещается оборудование 12, например лопатки вентилятора, причем свободные концы этих лопаток проходят в непосредственной близости от кожуха 14, охватывающего ступень вентилятора.
Вращающийся вал 10 двигателя установлен в первом подшипнике 20, который представляет собой роликовый подшипник с роликами 21, и во втором подшипнике 50, который представляет собой шариковый подшипник с шариками 51.
Рассматриваемый здесь авиационный двигатель содержит конструкцию статора 16, с которой первый подшипник 20 и второй подшипник 50 связаны соответственно при помощи опоры первого подшипника 22 и опоры второго подшипника 52.
Опора первого подшипника 22 содержит стенку 23, выполненную в виде тела вращения и имеющую в продольном разрезе, по существу, прямолинейный профиль. Эта стенка 23 продолжается в направлении вперед при помощи элемента 32, охватывающего первый подшипник 20. Со своей задней стороны эта стенка 23 связана с конструкцией 16 двигателя посредством классической системы разъединения вращающегося вала, то есть системы разъединения, содержащей только один путь передачи усилий. Для этого стенка 23 завершается фланцем 34, проходящим в радиальном направлении наружу. Этот фланец прикреплен к конструкции 16 двигателя при помощи предохранительных элементов 36, причем весь этот узел определяет предохранительную зону 38.
Опора второго подшипника 52 подробным образом проиллюстрирована на фиг.2 и 3, на которых схематически представлены соответственно два варианта ее реализации.
Прежде всего, со ссылками на фиг.3, будет описан первый вариант реализации опоры второго подшипника 52. Эта опора второго подшипника 52 содержит первый элемент 24 и второй элемент 40, представляющие различные степени жесткости и образующие двойной путь передачи усилий. Упомянутый второй элемент 40 (жесткий путь передачи усилий) представляет более высокую жесткость, чем упомянутый первый элемент 24 (гибкий путь передачи усилий). Опора второго подшипника 52 имеет также в своем составе соединительное кольцо 70, содержащее основание 75, имеющее внутреннюю поверхность 72, при помощи которой это кольцо стягивает наружное кольцо второго подшипника 50, и наружную поверхность 74, противоположную внутренней поверхности 72, а также ободок 76, проходящий в радиальном направлении наружу.
Упомянутый первый элемент 24 содержит первую гибкую стенку 26, выполненную в виде тела вращения и представляющую в продольном разрезе профиль, имеющий, по существу, форму шпильки для волос. Эта первая стенка 26, выполненная в форме тела вращения, продолжается на своем конце, наиболее удаленном от второго подшипника 50, при помощи первого удаленного от вала фланца 28, прикрепленного к конструкции 16 двигателя при помощи любого известного и подходящего в данном случае средства 60. В то же время эта стенка продолжается на своем конце, ближайшем к упомянутому второму подшипнику 50, при помощи первого расположенного ближе к валу фланца 30, который оказывается ориентированным таким образом, чтобы быть, по существу, параллельным упомянутому основанию 75. Этот первый расположенный ближе к валу фланец 30 закреплен заклиниванием, не будучи при этом жестко зафиксированным, одновременно относительно наружной поверхности 74 упомянутого основания 75 и относительно радиального ободка 76 соединительного кольца 70.
Профиль первой стенки 26 в виде тела вращения, выполненный в форме шпильки для волос, представляет в соответствии с первым вариантом реализации опоры второго подшипника 52 (см. фиг.3) два криволинейных участка 27, 25. При этом расположенный ближе к валу криволинейный участок 27, который представляет собой криволинейный участок, наиболее близкий к первому расположенному ближе к валу фланцу 30, имеет вогнутость, ориентированную таким образом, чтобы она располагалась, по существу, против соединительного кольца 70, тогда как удаленный от вала криволинейный участок 25, который представляет собой криволинейный участок, ближайший к первому удаленному от вала фланцу 28, имеет вогнутость, ориентированную, по существу, в обратном направлении. Предпочтительным образом первый расположенный ближе к валу криволинейный участок 23 представляет радиус кривизны меньший, чем радиус кривизны удаленного от вала криволинейного участка 25. Радиусы кривизны и линейные протяженности ветвей детали в форме шпильки для волос выбираются в функции требуемых свойств упругости для гибкого пути передачи усилий.
Криволинейные участки 27, 25 образуют средства осевой блокировки, которые позволяют упомянутому гибкому пути передачи усилий воспринимать осевые усилия, передаваемые вторым подшипником, и ограничивать таким образом осевое перемещение вращающегося вала в направлении вперед в том случае, когда предохранительные средства (80, 800, 810) разрушаются, не выдерживая нагрузки, о чем более подробно будет сказано в последующем изложении.
Упомянутое выше соединительное кольцо 70 дополнительно содержит часть, образующую выступ 78, проходящий от радиального ободка 76, по существу, вдоль осевого направления, то есть проходящий параллельно основанию 75, со стороны, при помощи которой оба элемента 40, 24 закрепляются на этом соединительном кольце 70. Эта часть, образующая выступ 78, выполняет функцию реализации радиального упора, предназначенного для ограничения амплитуды радиального отклонения D1 вращающегося вала 10 в том случае, когда предохранительные средства 80 разрушаются, не выдерживая нагрузки, как об этом более подробно будет сказано в последующем изложении.
Второй элемент 40 содержит вторую гибкую стенку 42, выполненную в форме тела вращения и представляющую в продольном разрезе, по существу, прямолинейный профиль. Эта вторая стенка, выполненная в форме тела вращения 42, продолжается на своем конце, наиболее удаленном от второго подшипника 50, вторым удаленным от вала фланцем 44, прикрепленным к конструкции 16 двигателя при помощи любых обычных и подходящих в данном случае средств. Эта вторая стенка продолжается на своем конце, ближайшем к второму подшипнику 50, вторым расположенным ближе к валу фланцем 46, прикрепленным при помощи предохранительных средств 80 к свободному концу радиального ободка 76 соединительного кольца 70. В проиллюстрированном здесь примере реализации упомянутый второй расположенный ближе к валу фланец 46 ориентирован таким образом, чтобы располагаться, по существу, параллельно основанию 75. При этом предохранительные средства 80, которые могут представлять собой болты, разрушаются под действием усилия сдвига.
Теперь со ссылками на фиг.5 будет описано функционирование опорного устройства подшипников 20, 50, 22, 52, 520 в соответствии с предлагаемым изобретением, причем этот чертеж представляет собой схематический вид опорного устройства подшипников 20, 50, 22, 52, 520 в соответствии с предлагаемым изобретением, аналогичного опорному устройству подшипников 120, 150, 122, 152 из существующего уровня техники, уже описанному выше и схематически представленному на фиг.4.
При нормальном функционировании данного авиационного двигателя второй подшипник 50 связан с конструкцией 16 этого двигателя при помощи комбинации двух элементов 24 и 40, причем в этом случае усилия передаются, главным образом, при помощи жесткого пути передачи усилий, то есть при помощи второго элемента 40. Под действием случайно возникающей несбалансированности вращающегося вала этого двигателя, превосходящей некоторое предварительно установленное пороговое значение, предохранительные средства 36, локализованные, как это можно видеть на фиг.5, в предохранительной зоне 38 опоры первого подшипника 22, не выдерживают нагрузки и разрушаются. Затем предохранительные средства 80, локализованные в предохранительной зоне 82 опоры второго подшипника 52, также разрушаются, не выдержав приложенной к ним нагрузки. При этом второй подшипник 50 оказывается связанным с конструкцией 16 двигателя только посредством гибкого пути передачи усилий, то есть при помощи первого элемента 24, стенка 26 которого представляет профиль, по существу, имеющий форму шпильки для волос. Жесткий путь передачи усилий опоры второго подшипника 52, то есть второй элемент 40, при этом больше не используется. В этом случае вращающийся вал 10 имеет тенденцию перемещаться в радиальном направлении относительно своего устойчивого положения, которое он занимает при нормальном функционировании двигателя, совершая радиальные отклонения D1, D2. На практике встречаются величины радиальных отклонений в диапазоне примерно от 30 мм до 40 мм для параметра D2 и в диапазоне порядка 5 мм для параметра D1.
Кроме того, вследствие особенностей формы своей стенки 26, выполненной в форме шпильки для волос, первый элемент 24 позволяет удерживать в осевом направлении этот вращающийся вал 10, не препятствуя при этом его отклонениям в радиальном направлении. Расположенный ближе к валу конец этого первого элемента 24, материализованный при помощи первого расположенного ближе к валу фланца 30, приводится в движение, по существу, в радиальном направлении, причем это движение ограничивается частью, образующей выступ 78, который для этого первого расположенного ближе к валу фланца 30 выполняет функцию радиального упора в расположенную ближе к валу поверхность 79 второго расположенного ближе к валу, фланца 46 второго элемента 40.
Расстояние между упомянутой наружной поверхностью 74 основания 75 и упомянутой частью, образующей выступ 78, устанавливается в функции требуемого эффекта радиального упора.
В случае необходимости средство амортизации 90, схематически представленное на фиг.3 в виде кольца, образующего амортизирующую подушку, связано с этой частью, образующей выступ 78, для амортизации эффекта упора. Эта амортизирующая подушка располагается между упомянутой частью, образующей выступ 78, и вторым расположенным ближе к валу фланцем 46 второго элемента 40.
Выше было дано объяснение того, как это опорное устройство подшипников 20, 50, 120, 150, в частности, проиллюстрированное на фиг.5, позволяет установить двойной путь передачи усилий в том месте, где радиальное отклонение вращающегося вала 10 является относительно малым, в отличие от конфигурации, соответствующей существующему уровню техники в данной области.
Теперь будет описан второй вариант реализации опоры второго подшипника со ссылками на фиг.2. Опора этого второго подшипника 50 связана с деталью 160, закрепленной на конструкции 16 двигателя. Эта опора содержит первый элемент 240, образующий гибкий путь передачи усилий, и второй элемент 400, выполненный в виде единой детали с вторым подшипником 50 или жестко закрепленной на нем и образующий жесткий путь передачи усилий.
Первый элемент 240 (гибкий путь передачи усилий) выполнен в виде детали в форме шпильки для волос, представляющей в рассматриваемом здесь варианте реализации один единственный криволинейный участок 230, вогнутость которого ориентирована таким образом, чтобы располагаться, по существу, против упомянутого второго элемента 400. Радиус кривизны и протяженность ветвей этой детали в форме шпильки для волос выбираются в функции требуемых свойств упругости для данного гибкого пути передачи усилий. Первый элемент 240 закреплен непосредственно на втором подшипнике 520 при помощи свободного конца расположенной ближе к валу ветви 234 этой детали в форме шпильки для волос. Этот первый элемент содержит на свободном конце удаленной от вала ветви 236 детали в форме шпильки для волос удаленный от вала фланец 280, проходящий, по существу, вдоль радиального направления.
Второй элемент 400 (жесткий путь передачи усилий) выполнен, по существу, в форме фланца 760, проходящего наружу в радиальном направлении от второго подшипника 50, причем этот фланец 760 имеет основание 750, которое представляет, по существу, осевую поверхность 780, ориентированную в направлении наружу.
Предохранительные средства 800, выполненные, например, в виде болтов, скрепляют вместе деталь 160, жестко связанную с конструкцией 16 двигателя, упомянутый первый элемент, или гибкий путь передачи усилий 240, и упомянутый второй элемент, или жесткий путь передачи усилий 400. Говоря более конкретно, эти предохранительные средства 800 последовательно проходят сквозь радиальный фланец 760 второго элемента 400, конец 162 детали 160 и удаленный от вала фланец 280 первого элемента 240. Эти предохранительные средства спроектированы таким образом, чтобы иметь в своем составе предохранительную часть 810, при помощи которой они фиксируют радиальный фланец 760 и конец 162 детали 160, и не являющуюся предохранительной часть 820, при помощи которой они фиксируют конец 162 детали 160 и удаленный от вала фланец 280. Эти предохранительные средства 800 ориентированы, по существу, вдоль осевого направления и разрушаются, не выдерживая нагрузки, в их предохранительной части под действием усилия среза, возникающего в результате случайной несбалансированности вращающегося вала, превышающей некоторое предварительно определенное пороговое значение. В случае необходимости эти предохранительные средства 800 содержат в своей предохранительной части 810 устройство, предназначенное для калибровки эффекта разрушения этих предохранительных средств, которое в рассматриваемом здесь примере реализации представлено в виде специфической внутренней расточки 830. В процессе нормального функционирования двигателя система, образованная вторым подшипником 50, вторым элементом 400, первым элементом 240 и концом 162 детали 160, удерживается в состоянии жесткой фиксации. Под действием значительной несбалансированности вращающегося вала предохранительная часть 810 предохранительных средств 800 разрушается, не выдерживая нагрузки, тогда как не являющаяся предохранительной часть 820 этих средств не разрушается. При этом происходит относительное перемещение остаточной части радиального фланца 760, которая соответствует части, располагающейся между предохранительными средствами 800 и основанием 750, по отношению к концу 162 детали 160, жестко связанной с конструкцией 16 двигателя. Это относительное перемещение представляет собой радиальное перемещение, направляемое поверхностью конца 162 в контакте с остаточной частью радиального фланца 760, поскольку остальная часть упомянутой системы остается жестко зафиксированной. Амплитуда этого перемещения в радиальном направлении регулируется упругостью гибкого пути передачи усилий. Эта амплитуда ограничивается наружной поверхностью 780 основания 750, которая в данном случае выполняет функцию радиального упора, входя в механический контакт с концом 162 детали 160. Величина радиального зазора устанавливается в функции требуемого эффекта радиального упора. В случае необходимости средство амортизации 900, схематически представленное на фиг.2 в виде кольца, образующего подушку амортизации, связано с основанием 750 для того, чтобы обеспечить амортизацию эффекта радиального упора. Это средство амортизации располагается между упомянутым основанием 750 и концом 162 детали 160.
Первый вариант реализации опоры второго подшипника 52 представляет преимущество, которое заключается в простоте и удобстве использования этой опоры.
Второй вариант реализации опоры второго подшипника 520 дополнительно представляет преимущество, которое заключается в компактности конструкции, которая обеспечивает ему небольшие габаритные размеры и уменьшенный вес.
Разумеется, изобретение не ограничивается теми примерами его реализации, которые были описаны в предшествующем изложении.
При этом можно, не выходя за рамки предлагаемого изобретения, использовать другие предохранительные средства, отличные от болтов, способных разрушаться под действием усилия среза. Эти предохранительные средства могут представлять собой, например, заклепки или стержни, поддающиеся разрушению под действием усилия сдвига или растяжения, или деталь, способную деформироваться или разрушаться в результате продольного изгиба под действием усилия, превышающего некоторую предварительно определенную величину.
Можно также, не выходя за рамки изобретения, заменить упомянутый второй подшипник на другой подшипник, обеспечивающий функцию осевой блокировки, например конический роликовый подшипник, установленный на место шарикового подшипника.
В качестве альтернативного варианта реализации предохранительные средства 800 для второго варианта реализации опоры второго подшипника 520 можно рассматривать как предохранительные средства крепления 810 и средства крепления 820, не являющиеся предохранительными, которые будут отличаться друг от друга.
Формула изобретения
1. Опорное устройство подшипника (20, 50, 22, 52, 520) для вращающегося вала (10) авиационного двигателя, причем на передней части этого вращающегося вала (10) закреплено приводимое им во вращательное движение оборудование (12), и этот вращающийся вал (10) проходит в направлении назад по отношению к упомянутому оборудованию (12) и смонтирован в подшипниках (20, 50), связанных с конструкцией (16) статора двигателя при помощи опор подшипников (22, 52, 520), по меньшей мере, одна из которых содержит N>1 эластичных элементов (24, 240, 40, 400), действующих, по существу, параллельно и предназначенных для одновременного соединения упомянутого подшипника (20, 50) с упомянутой конструкцией (16) статора двигателя, среди которых N-1 из этих N эластичных элементов (24, 240, 40, 400) осуществляют эту связь при помощи предохранительных средств (80, 800, 810), отличающееся тем, что это опорное устройство подшипников (20, 50, 22, 52, 520) содержит первый подшипник (20), удерживаемый опорой первого подшипника (22), и второй подшипник (50), удерживаемый опорой второго подшипника (52, 520), а также тем, что та из двух этих опор подшипников (22, 52, 520), которая содержит упомянутые N>1 эластичных элементов (24, 240, 40, 400), представляет собой опору второго подшипника (52, 520), при этом упомянутая опора второго подшипника (52, 520) содержит два элемента (24, 240, 40, 400), действующих, по существу, параллельно и связывающих одновременно этот второй подшипник (50) с конструкцией (16) статора двигателя, а также тем, что два упомянутых элемента (24, 240, 40, 400) представляют различные степени жесткости и определяют некоторый жесткий элемент (40, 400) и некоторый гибкий элемент (24, 240), причем упомянутый жесткий элемент (40, 400) осуществляет связь между упомянутым вторым подшипником (50) и конструкцией (16) статора двигателя при помощи предохранительных средств (80, 800, 810), причем опора первого подшипника (22) заканчивается фланцем (34), закрепленным на конструкции (16) статора двигателя при помощи предохранительных элементов (36).
2. Опорное устройство подшипника (20, 50, 22, 52, 520) по п.1, отличающееся тем, что упомянутый второй подшипник (52, 520) представляет собой подшипник с эффектом осевой блокировки.
3. Опорное устройство подшипника (20, 50, 22, 52, 520) по п.2, отличающееся тем, что упомянутый второй подшипник (52, 520) представляет собой шариковый подшипник (51).
4. Опорное устройство подшипника (20, 50, 22, 52, 520) по п.1, отличающееся тем, что упомянутый первый подшипник (20) представляет собой подшипник без эффекта осевой блокировки.
5. Опорное устройство подшипника (20, 50, 22, 52, 520) по п.4, отличающееся тем, что упомянутый первый подшипник (20) представляет собой роликовый подшипник.
6. Опорное устройство подшипника (20, 50, 22, 52, 520) по п.1, отличающееся тем, что упомянутый жесткий элемент (40, 400) представляет в продольном разрезе, по существу, прямолинейный профиль.
7. Опорное устройство подшипника (20, 50, 22, 52, 520) по п.1, отличающееся тем, что упомянутый гибкий элемент (24, 240) представляет в продольном разрезе профиль, имеющий, по существу, форму шпильки для волос.
8. Опорное устройство подшипника (20, 50, 22, 52, 520) по п.6, отличающееся тем, что упомянутый гибкий элемент (24, 240) представляет в продольном разрезе профиль, имеющий, по существу, форму шпильки для волос.
9. Опорное устройство подшипника (20, 50, 22, 52, 520) по п.8, отличающееся тем, что упомянутый профиль в форме шпильки для волос содержит, по меньшей мере, один криволинейный участок (23, 25).
10. Опорное устройство подшипника (20, 50, 22, 52, 520) по п.8, отличающееся тем, что упомянутый гибкий элемент (24, 240) содержит средства осевой блокировки (23, 25), предназначенные для восприятия осевых усилий, передаваемых упомянутым вторым подшипником после срабатывания предохранительных средств (80, 800, 810).
11. Опорное устройство подшипника (20, 50, 22, 52, 520) по п.9, отличающееся тем, что упомянутый гибкий элемент (24, 240) содержит средства осевой блокировки (23, 25), предназначенные для восприятия осевых усилий, передаваемых упомянутым вторым подшипником после срабатывания предохранительных средств (80, 800, 810).
12. Опорное устройство подшипника (20, 50, 22, 52, 520) по п.1, отличающееся тем, что упомянутая опора второго подшипника (52, 520), состоящая из N>1 элементов, дополнительно содержит средства радиального упора (78, 780), предназначенные для ограничения радиального отклонения (D1, D2) вращающегося вала (10) после срабатывания предохранительных средств (80, 800, 810).
13. Опорное устройство подшипника (20, 50, 22, 52, 520) по п.12, отличающееся тем, что упомянутая опора второго подшипника (52, 520), состоящая из N>1 элементов, дополнительно содержит средства амортизации (90, 900), связанные с радиальными средствами упора (78, 780).
14. Авиационный двигатель, отличающийся тем, что этот двигатель оборудован опорным устройством подшипников (20, 50, 22, 52, 520) в соответствии с любым из пп.1-13.
РИСУНКИ
|
|