|
|
(21), (22) Заявка: 2007120784/11, 04.06.2007
(24) Дата начала отсчета срока действия патента:
04.06.2007
(43) Дата публикации заявки: 10.12.2008
(46) Опубликовано: 27.05.2009
(56) Список документов, цитированных в отчете о поиске:
GB 511662 А, 22.08.1939. RU 2069279 С1, 20.11.1996. SU 734444 А, 17.05.1980. GB 756340 А, 05.09.1956. ЕР 0972956 А1, 19.01.2000. US 4126170 А, 21.11.1978. GB 511662 А, 22.08.1939. JP 2000154816 А, 22.05.2000.
Адрес для переписки:
614990, г.Пермь, ГСП, Комсомольский пр-кт, 93, ОАО “Авиадвигатель”, отдел защиты интеллектуальной собственности
|
(72) Автор(ы):
Хасанов Рафис Зафарович (RU)
(73) Патентообладатель(и):
Открытое акционерное общество “АВИАДВИГАТЕЛЬ” (RU)
|
(54) САМОКОНТРЯЩАЯСЯ ГАЙКА
(57) Реферат:
Изобретение относится к резьбовым соединениям конструктивных элементов в машинах и механизмах. Самоконтрящаяся гайка состоит из корпуса гайки и эластичного кольца. Эластичное кольцо установлено на гайку путем завальцовки его закаточным методом посередине юбки корпуса гайки. В результате повышается надежность и упрощается конструкция. 1 ил.
Изобретение относится к резьбовым соединениям конструктивных элементов в машинах и механизмах.
Известна самоконтрящаяся гайка, содержащая корпус с цилиндрической коронкой и эластичное кольцо (патент RU 2069280 С1).
Недостатком известной конструкции является сложность и трудоемкость изготовления и сборки конструкции.
Наиболее близкой к заявляемой конструкции является самоконтрящаяся гайка, содержащая корпус гайки и эластичное кольцо (патент RU 2069279 С1).
Недостатком известной конструкции, принятой за прототип, является сложность и трудоемкость изготовления гайки, так как эластичное кольцо выполнено в виде втулки с разрезным эксцентричным внутренним отверстием относительно своей наружной поверхности. Кроме того, для уменьшения трудоемкости изготовления деталей эластичное кольцо запрессовывается при изготовлении на станке-автомате и завальцовывается ударным способом. От этого на внутренней проточке юбки гайки появляются несплошности деформационного характера (складки), являющиеся концентраторами напряжений и потенциальными очагами образования трещин.
Техническая задача, на решение которой направлено заявляемое изобретение, заключается в повышении надежности, в упрощении конструкции и в уменьшении трудоемкости изготовления гайки путем исключения складок деформационного характера, получаемых при изготовлении самоконтрящихся гаек, заменяя ударный метод завальцовки эластичного кольца закаточным.
Сущность технического решения заключается в том, что в самоконтрящейся гайке, состоящей из корпуса гайки и эластичного кольца, согласно изобретению, эластичное кольцо установлено на корпус гайки путем завальцовки его закаточным методом посередине юбки корпуса гайки.
Установка эластичного кольца на гайку путем завальцовки его закаточным методом вместо ударного исключает образование несплошности деформационного характера (складки), являющиеся концентраторами напряжений и потенциальными очагами образования трещин, что повышает надежность, упрощает конструкцию и уменьшает трудоемкость изготовления гайки.
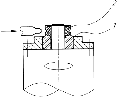
На чертеже эластичное кольцо завальцовано посередине юбки корпуса гайки.
Самоконтрящаяся гайка состоит из двух конструктивных элементов: корпуса гайки 1 и эластичного кольца 2. Оси гайки и эластичного кольца совпадают. Эластичное кольцо закладывается внутрь цилиндрической коронки корпуса гайки и завальцовывается закаточным методом.
Завальцовка закаточным методом заключается в том, что сила, подводимая для смятия юбки при завальцовке, действует не вдоль оси гайки, а в плоскости, перпендикулярной оси вращения гайки. При этом гайка с эластичным кольцом вращается вокруг своей оси, и эластичное кольцо зацентрировано втулкой, равной внутреннему диаметру резьбы стержня, на который навинчена предлагаемая гайка.
Формула изобретения
Самоконтрящаяся гайка, состоящая из корпуса гайки и эластичного кольца, отличающаяся тем, что эластичное кольцо установлено на корпус гайки путем завальцовки его закаточным методом посередине юбки корпуса гайки.
РИСУНКИ
|
|