|
|
(21), (22) Заявка: 2007111714/11, 14.10.2004
(24) Дата начала отсчета срока действия патента:
14.10.2004
(43) Дата публикации заявки: 10.10.2008
(46) Опубликовано: 27.05.2009
(56) Список документов, цитированных в отчете о поиске:
RU 14260 U1, 10.07.2000. SU 436948 А, 26.12.1974. SU 1295052 А1, 07.03.1987. US 2476339 А, 19.07.1949.
(85) Дата перевода заявки PCT на национальную фазу:
29.03.2007
(86) Заявка PCT:
EP 2004/011573 20041014
(87) Публикация PCT:
WO 2006/042564 20060427
Адрес для переписки:
129090, Москва, ул.Б.Спасская, 25, стр.3, ООО “Юридическая фирма Городисский и Партнеры”, пат.пов. А.В.Мицу, рег. 364
|
(72) Автор(ы):
ХЮНЕРБАЙН Франк (DE)
(73) Патентообладатель(и):
СТИЛКЕЙС ВЕРНДЛ АГ (DE)
|
(54) СТОПОРНАЯ СИСТЕМА
(57) Реферат:
Изобретение относится к стопорной системе для фиксации двух секций мебели друг на друге. Стопорная система включает в себя два стопорных устройства. Оба стопорных устройства выполнены функционально одинаково. Каждое стопорное устройство имеет горшкообразную неподвижную часть. В соответствующем дне горшкообразной неподвижной части выполнена выемка. Выемка включает в себя проходящие радиально наружу от аксиально пронизывающей неподвижную часть центральной оси участки выемки. Стопорный элемент имеет выступающие радиально наружу стопорные лапки. Для осуществления стопорения два размещенных друг на друге своими донными областями стопорных устройства выполнены с возможностью фиксации друг с другом за счет того, что посредством выдавливания регулирующего элемента или поворотной части первого стопорного устройства соответствующий стопорный элемент выполнен с возможностью прохождения через выемку в дне собственного стопорного устройства и через соответствующую выемку в дне расположенного смежно второго стопорного устройства и за счет последующего поворотного движения выполнен с возможностью фиксации позади стопорных выступов, которые принадлежат дну другого стопорного устройства и сформированы между участками выемки. В результате упрощается конструкция и повышается надежность фиксации. 15 з.п. ф-лы, 10 ил.
Изобретение касается стопорной системы для фиксации двух секций мебели друг на друге согласно ограничительной части пункта 1 формулы изобретения.
Пристроечные стенки в своем самом различном выполнении в достаточной степени известны. Большой популярностью также пользуются офисные или стеллажные стенки. Эти стенки могут собираться с высокой вариативностью, например, из отдельных выполненных в виде контейнеров или в целом коробчатых основных элементов, которые в дальнейшем отчасти также называются модулями. Модули могут, например, оставляться открытыми, а могут также быть снабжены с передней стороны различными откидными крышками. Также могут быть встроены выдвижные ящики или тому подобное.
В случае подобного рода в выполненной с возможностью собирания по типу модульной конструкции стеллажной стенке имеется, например, проблема максимально простой, но в то же время действенной фиксации друг на друге отдельных модулей таким образом, что в целом получается стабильная общая конструкция.
Поэтому задача настоящего изобретения состоит в создании улучшенной фиксирующей системы для секций мебели, в частности для коробчатых модульных или основных частей, чтобы закреплять или, соответственно, фиксировать друг с другом подобного рода отдельные части.
Эта задача в соответствии с изобретением решается посредством приведенных в пункте 1 формулы изобретения признаков. Предпочтительные варианты осуществления изобретения приведены в зависимых пунктах формулы изобретения.
Согласно настоящему изобретению создается чрезвычайно эффективная соединительная система, которой могут быть снабжены отдельные подлежащие соединению секции мебели. Основной принцип состоит в том, что любые снабженные соответствующим соединительным и стопорным устройством секции мебели, например коробчатые или выполненные в виде контейнеров основные или модульные элементы, могут устанавливаться друг на друге, чтобы лишь затем, например, на насажанном мебельном элементе приводить в действие предусмотренное там стопорное или фиксирующее устройство, вследствие чего обе секции мебели жестко соединяются друг с другом.
Подобная конструкция является предпочтительной в том, что на каждой секции мебели предусмотрены не только аналогичные или функционально одинаковые, но и, в частности, идентичные фиксирующие базовые участки, которые позиционированы так, что при соответствующем монтаже предусмотренные на обеих секциях мебели стопорные элементы соответственно конгруэнтно прилегают друг к другу. В таком случае при одинаковой конструкции, смотря по тому, какой фиксирующий базовый участок является более легко доступным, на нем может обоюдно осуществляться фиксация с соответственно другим фиксирующим участком. Предпочтительно фиксация осуществляется только лишь посредством вдавливания или поворота исполнительной части.
Предпочтительно предусмотрен байонетный стопорный механизм. Для этого на отдельных взаимодействующих друг с другом участках или элементах могут быть сформированы выступы и, соответственно, углубления для того, чтобы реализовать желаемый байонетный запирающий механизм. Предпочтительно предусмотренные стопорные лапки могут состоять из лапок, которые выступают радиально наружу от центрального среднего участка выполненного с возможностью поворота фиксирующего элемента. Однако в предпочтительном усовершенствовании предусмотрен фиксирующий элемент с расположенными крестообразно фиксирующими лапками. Это предоставляет, например, возможность того, что установленные друг на друге контейнеры могут монтироваться друг на друге даже в повернутом на 90° положении так, что в случае коробчатого контейнера, например, открытая сторона может произвольно ориентироваться не только вверх, но и влево, вправо или вниз. Негативного влияния на эффективность (действенность) фиксирующего устройства это не оказывает.
В одном особенно предпочтительном варианте осуществления отдельные фиксирующие участки сформированы таким образом, что они соответствуют форме проходного отверстия в горшкообразном донном участке соответствующего фиксирующего элемента и в исходной позиции расположены на уровне этого проходного отверстия. При этом весь фиксирующий базовый участок встроен без возможности проворота в часть мебели. Таким образом, эта снабженная подобного рода фиксирующим элементом часть мебели как бы заперта в сплошной внешней поверхности, так как фиксирующие лапки фиксирующего элемента расположены на уровне проходного отверстия, вследствие чего это отверстие в известной степени закрыто.
В усовершенствовании изобретения также еще предусмотрен пружинный элемент, который нагружает усилием выполненную с возможностью регулирования фиксирующую или поворотную часть в ее зафиксированное основное или исходное положение. Вследствие этого, гарантировано, что фиксирующие лапки в своем основном или исходном положении расположены точно в плоскости проходного отверстия в горшкообразном дне фиксирующего базового участка. Это связано с тем преимуществом, что в процессе расфиксации, тогда, когда фиксирующие лапки поворачиваются в расфиксированное (свободное) положение, причем они в этой позиции расположены конгруэнтно относительно проходного отверстия в горшкообразном донном участке фиксирующего основания, соответствующий фиксирующий элемент посредством упругого воздействия приподнимается в свое расфиксированное положение. В этом положении еще предусмотрен другой зажимной механизм, который затем удерживает поворотную часть в этом аксиальном положении.
Другие преимущества, детали и отличия изобретения следуют ниже из примера осуществления, описываемого посредством чертежей, на которых, в частности, показано:
фиг.1 – схематичное перспективное изображение мебельной стенки, которая собирается из нескольких контейнерных элементов;
фиг.2 – схематичное перспективное изображение встроенного в дно контейнера первого фиксирующего элемента;
фиг.3 – соответствующее перспективное изображение второго идентичного стопорного устройства, которое встроено в верхнюю стенку контейнера и в зафиксированном положении взаимодействует с показанным на фиг.2 первым стопорным устройством;
фиг.4 – схематичный вид сверху соответствующего изобретению стопорного устройства;
фиг.5 – вид снизу соответствующего изобретению стопорного устройства;
фиг.6 – схематичное изображение поперечного сечения соответствующего изобретению стопорного устройства;
фиг.7 – соответствующее фиг.6 изображение поперечного сечения, у которого, однако, поперечное сечение проходит диагонально через крестообразный стопорный элемент;
фиг.8 – соответствующее фиг.7 изображение поперечного сечения, но в зафиксированном положении, в котором два расположенных зеркально относительно друг друга стопорных устройства и, тем самым, два дна секций мебели зафиксированы друг на друге;
фиг.9 – схематичное перспективное изображение соответствующей изобретению поворотной детали со слегка крышеобразными в поперечном сечении стопорными лапками;
фиг.10 – схематичный вид сверху свободной горшко- или корпусообразной неподвижной детали со стопорными выемками в остающихся стопорных выступах для обеспечения байонетного фиксирующего механизма.
На фиг.1 в соответствии со схематичным перспективным изображением показаны три установленные друг на друга и зафиксированные друг с другом коробчатые или выполненные в виде контейнера секции 1 мебели.
На фиг.1 показаны две установленные друг на друга большие по размеру секции 1 мебели, которые имеют одинаковую глубину 3 и высоту 5 и которые образуют соответствующие торцевые поверхности, а именно квадратные поверхности. Длина 7 представляет собой величину, которая вдвое больше, чем высота или глубина. В вертикальные боковые стенки 1а по центру встроено, соответственно, стопорное устройство 9, которое ниже будет рассмотрено более подробно. То же самое имеет место для противолежащей вертикальной боковой стенки 1b. В нижнюю донную полку 1с и расположенную наверху верхнюю полку 1d также встроены такие же стопорные устройства 9, но поскольку донная полка 1с и верхняя полка 1d по своей величине вдвое больше, чем расположенные по торцам боковые стенки 1а и 1b, то в них соответственно предусмотрено два стопорных устройства 9, которые расположены по центру в поперечном направлении прямоугольной донной полки и верхней полки, и при этом расстояние между стопорными устройствами 9 соответствует половине длины этого выполненного в виде полки стенового элемента, причем расстояние от центра стопорного устройства 9 до расположенного на торце края прямоугольного дна составляет четверть всей длины полки.
Далее, только для наглядного пояснения различных возможных конструктивных вариантов показано, что сверху согласно фиг.1 установлен другой контейнерный элемент 1′, который имеет только половину длины по отношению к расположенному ниже контейнерному элементу 1 и который в донной полке 1с, как и в верхней полке 1d, соответственно, имеет только одно расположенное по центру стопорное устройство 9.
Уже за счет этой конструкции очевидно, что соответствующее встроенное в донную полку 1с стопорное устройство 9 на виде сверху расположено непосредственно смежно и конгруэнтно относительно соответствующего стопорного устройства 9, которое предусмотрено в находящейся под ним верхней полке 1d следующей коробчатой или выполненной в виде контейнера секции 1 мебели.
Согласно поясняемому примеру осуществления все упомянутые стопорные устройства 9 выполнены функционально одинаковыми и при этом предпочтительно даже идентичными, причем соответственно два расположенных зеркально-симметрично относительно друг друга стопорных устройства 9 взаимодействуют друг с другом и образуют соответствующую изобретению стопорную систему.
Далее следует сослаться на фиг.2 и 3, причем на фиг.2 в схематичном перспективном представлении показано стопорное устройство 9 на виде на верхнюю сторону, а на фиг.3 – соответствующее стопорное устройство 9 на виде на нижнюю сторону, а именно показано, как два стопорных устройства 9 взаимодействуют, например, на условно обозначенном позицией “А” месте на фиг.1, чтобы жестко соединять расположенную сверху донную полку 1с с расположенной снизу верхней полкой 1d второго мебельного контейнера 1. Как далее еще будет рассмотрено, в таком случае при использовании не только обе полки 1с и 1d прилегают друг к другу вдоль общей монтажной плоскости 11, но и оба стопорных устройства согласно фиг.3 и 4 соприкасаются своими донными поверхностями или позиционированы лишь на небольшом расстоянии друг от друга. Другими словами, оба показанных на фиг.3 и 4 стопорных устройства 9 приводятся в контакт или в непосредственный контакт согласно стрелке 13 в обозначенном таким образом направлении монтажа. Упомянутая монтажная плоскость 11 соответствует, например, горизонтальной плоскости. Таким образом, уже из фиг.2 и 3 очевидно, что соответственно взаимодействующие стопорные устройства 9 в своей основной конструкции выполнены горшкообразно, то есть включают в себя горшкообразную неподвижную часть, корпусную часть или основную часть 15, которая имеет горшкообразную или цилиндрическую ограничивающую стенку 15а и дно 15b.
Кроме того, в показанном примере осуществления каждое стопорное устройство 9 включает в себя окружной пояс или фланец 15с, который в показанном примере осуществления расположен на уровне расположенного вверху отверстия 17 горшка, то есть противолежит нижнему дну 15b.
Каждое из стопорных устройств 9, в целом, имеет отклоняющуюся от круга форму, чтобы, в конечном счете, иметь возможность встраиваться в стеллажную (ярусную) полку или донную полку с фиксацией от проворота. В показанном примере осуществления цилиндрическая ограничивающая стенка 15а горшкообразного стопорного устройства 9 сама по себе не является зафиксированной от проворота. Правда, расположенный сверху выполненный в виде фланца пояс 15с выполнен эллиптическим. Соответственно толщине материала этого пояса в соответствующей мебельной полке 1с или, соответственно, 1d наряду с цилиндрическим проходящим сквозь полку отверстием 19 выполнено эллиптическое углубление так, что после вставки стопорного устройства 9 проворачивание невозможно. В альтернативном случае, например, также один или два проходящих через фланцевый пояс 15с винта 21 могли бы быть вкручены в соответствующую полку 1с или 1d, чтобы блокировать проворот даже в случае круговой формы пояса или фланца 15с.
Впрочем, горшкообразная форма основной или неподвижной части 15 могла бы также иметь, например, на внешней периферии отличающуюся от цилиндрического поперечного сечения форму, чтобы в соответственно выполненном отверстии 19, проходящем через стеллажную полку, обеспечить предотвращающую проворот посадку. Однако это является более трудоемким.
На фиг.4 показан схематичный аксиальный вид сверху, а на фиг.5 – схематичный аксиальный вид снизу поясняемого стопорного устройства 9. Из фиг.5 видно, что дискообразное дно 15b стопорного устройства 9 имеет крестообразную выемку 23. Эта выемка 23 в показанном примере осуществления выполнена симметрично относительно средней центральноосевой линии 25 так, что радиально исходящие от центральной оси 25 лапкообразные открытые области 23′ имеют одинаковую радиальную длину, а также одинаковую проходящую поперечно радиальному направлению ширину.
В горшкообразном внутреннем пространстве 27 каждого из стопорных устройств 9, то есть в горшкообразном внутреннем пространстве 27 основной или неподвижной части 15 соответствующего стопорного устройства 9, расположен регулирующий элемент 29, который далее называется также поворотной частью 29. Эта поворотная часть 29 включает в себя колпачкообразную исполнительную часть 29а, расположенный под ней и аксиально примыкающий к исполнительной части 29а прижим 29b и расположенный на нижней стороне прижима 29b стопорный элемент 29 с. Упомянутые выше участки 29а-29с выполненного таким образом выемочного элемента или поворотной части 29 закреплены друг относительно друга без возможности проворота. Кроме того, выполненная таким образом поворотная часть 29 может быть выполнена за одно целое. Однако также возможно, что прижим 29b выполнен с возможностью незначительного аксиального, т.е. телескопического, вдвигания и выдвигания, другими словами, аксиальная длина прижима является регулируемой.
Стопорный элемент 29с в показанном примере осуществления включает в себя четыре исходящие от центральной оси 25 стопорные лапки 31, которые по своей форме и своему расположению также выполнены крестообразно, то есть в этом отношении соответствуют крестообразной выемке 23. Разумеется, ширина и длина этих стопорных лапок подбираются таким образом, что они, соответственно, меньше по размерам указанной выемки настолько, что даже в исходном положении согласно фиг.3 или 5 эти стопорные лапки 31 окружены проходящим по их периферии зазором 33, даже если они расположены на уровне дна 15b в имеющейся в нем выемке 23. Вследствие этого в целом создается зазор, который более подробно будет рассмотрен ниже.
Как можно видеть из представлений поперечного сечения согласно фиг.6, во внутреннем пространстве 34 предусмотрен пружинный элемент 35, который опирается с одной стороны на горшкообразный корпус, то есть на дно 15b основной или неподвижной части 15, а с другой стороны – на нижнюю сторону колпачкообразной исполнительной части 29а. Поскольку поворотная часть 29 удерживается надежно от выпадения в горшкообразной корпусной части (далее также отчасти называемая неподвижной частью 15), поворотная часть 29 не может выпадать или выдавливаться из горшкообразного приемного пространства 34. Для этого, например, на уровне фланцеобразного пояса 15с выполнены, по меньшей мере, два, предпочтительно несколько, расположенных со смещением в окружном направлении выступов или один замкнутый окружной упорный пояс 37, в который упирается колпачкообразная исполнительная часть 29а. При этом аксиальная продольная протяженность выполненного с возможностью поворота регулирующего элемента или поворотной части 29 является такой, что в исходном положении согласно фиг.6 лучеобразно и радиально выступающие стопорные лапки 31 лежат точно на уровне крестообразной выемки 23 в дне 15b. При этом упомянутый пружинный элемент 35 настроен таким образом, что усилие предварительного натяжения пружины оказывает на поворотную часть 29 в направлении расположенного выше фланцеобразного пояса 15с перестановочные усилия, но только до тех пор, пока колпачкообразная исполнительная часть 29а не достигнет показанного на фиг.6 исходного положения. В этом исходном положении еще остается сам по себе дополнительный аксиальный перестановочный путь до тех пор, пока колпачкообразная исполнительная часть 29а не упрется в расположенный вверху пояс 37. Однако в показанном на фиг.6 положении один или несколько (обозначенные на фиг.9) выступов 38, которые сформированы на периферийном крае колпачкообразной исполнительной части 29а, входят во взаимодействие с выполненными на соответствующих местах во внутренней стенке горшкообразного центрального участка неподвижной части 15 углублениями. Вследствие этого также осуществляется предварительное совмещение и ориентирование крестообразных стопорных лапок 31, поскольку именно в этом положении стопорные лапки 31 могут приводиться в именно такую крестообразную ориентацию, с которой совпадает ориентация крестообразной выемки 23. При этом входящие в углубление 43 в периферийной стенке 15а неподвижной части 15 выступы 38 дополнительно создают еще и определенное фрикционное замыкание. Вследствие этого посредством силы упругости пружинного элемента 35 также больше не может сама по себе переставляться (регулироваться) за счет усилия пружины вставляющаяся или поворотная часть 29, как это показано на фиг.6.
Поясненная выше конструкция также приводит к тому, что при доставке соответствующим образом выполненного контейнера колпачкообразная крышка 29 находится в известной степени на небольшом расстоянии ниже уровневой поверхности внешней ограничивающей плоскости 1е соответствующей стенки коробчатого контейнера, и также противоположная уровневая поверхность 1f в известной степени по всей поверхности закрыта дном и установленным в выемке 23 в дне 15b стопорным элементом 19b.
Фиг.7 по существу соответствует представлению согласно фиг.6, однако с тем отличием, что на фиг.7 поворотная часть или регулирующий элемент 29 вжат в направлении дна 15b против действия усилия пружинного элементы 35 так, что стопорный элемент 29 с противолежащими стопорными лапками 31 выдавливается вниз за поверхность дна 15b, то есть в ту позицию, в которой потом производится собственно стопорение. Поскольку сечение согласно фиг.6 и фиг.7 представлено диагонально проходящим через крестообразный стопорный элемент 29с, всю длину стопорных лопаток 31 можно увидеть только на фиг.7, но не на фиг.6.
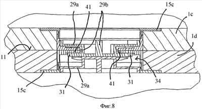
Если два контейнера согласно фиг.1 установлены друг на друга в правильном положении и должны друг относительно друга фиксироваться, то соответственно представлению согласно фиг.8 два поясненных стопорных устройства 9 непосредственно конгруэнтно прилегают друг к другу. При этом оба смежно располагающихся стопорных устройства 9 ориентированы зеркально-симметрично относительно своей средней монтажной плоскости 11, т.е. оба устройства 9 контактируют между собой посредством своего дна. Сторона, на которой расположено соответствующее дно, представляет собой соответствующую внешнюю сторону соответствующего контейнера, так что колпачкообразная исполнительная часть 29а свободно доступна с соответствующей внутренней стороны контейнера.
Чтобы осуществить стопорение второй секции мебели, теперь у одного из двух стопорных устройств 9, например у расположенного выше на фиг.8 стопорного устройства 9, свободно доступная колпачкообразная исполнительная часть 29а вдавливается против направления действия усилия пружины 35. Поскольку оба крестообразных стопорных элемента 29b верхнего или нижнего стопорного устройства 9 расположены друг на друге, теперь посредством вдавливания расположенной выше поворотной части 29 расположенный ниже регулирующий элемент 28 сдвигается аксиально вниз или, соответственно, принадлежащий нижнему стопорному устройству 9 стопорный элемент 29b посредством телескопически входящего и выходящего прижимного элемента 29а регулируется или, соответственно, переставляется (если подобного рода механизм предусмотрен) так, что соединенный без возможности проворота с верхней исполнительной частью 29а стопорный элемент 29с своими четырьмя радиально выступающими стопорными лапками или пальцами 31 находится во внутреннем пространстве 34 находящейся в другой стеллажной полке, т.е. в нижней стеллажной полке, неподвижной части 15, а именно, непосредственно смежно с горшкообразным дном 15b второго расположенного ниже на фиг.8 стопорного устройства 9. Если после этого принадлежащая верхнему стопорному устройству 9 исполнительная часть 29а аксиально поворачивается, то принадлежащие расположенной выше поворотной части 29 стопорные лапки 31 располагаются за остающимися стопорными выступами 41, которые сформированы посредством оставшихся донных участков в дне 15b расположенного ниже на фиг.8 стопорного устройства 9. Эти стопорные выступы 41 являются оставшимися участками материала в дне 15b, которые соответственно образованы со смещением (повернуто) относительно крестообразных выемок в направлении поворота вокруг центральной оси 25.
Поскольку, как упомянуто, выемка 23 по размеру больше, чем перемещаемые здесь через нее стопорные элементы 29с, а также вследствие того, что в обычном повернутом или стопорном положении торцевые концы стопорных элементов 29b оканчиваются на радиальном расстоянии перед взаимодействующей с ними ограничивающей стенкой 15а основной или неподвижной части 15, обеспечен достаточный компенсирующий промежуток, чтобы компенсировать, например, допустимую погрешность при неподвижном соединении двух контейнеров друг на друге.
Далее, предпочтительно нижняя сторона этих стопорных выступов 41 дна 15b и/или расположенные смежно контактные поверхности стопорных лапок 31 в поперечном сечении выполнены в виде треугольной крыши (т.е. крышеобразно) так, что с помощью увеличивающегося поворотного движения из нейтрального исходного положения устанавливается увеличенно большее зажимное действие между регулирующим элементом 28 первого стопорного устройства 9 и, соответственно, стопорными выступами 41 в дне 15b соответственно взаимодействующего с ним второго стопорного устройства 9.
На фиг.9 видны выполненные слегка крышеобразно в поперечном сечении или снабженные радиально проходящим, предпочтительно посередине, и слегка реброобразным возвышением 42 стопорные лапки 31, причем на фиг.10 представлен вид сверху пустой горшкообразной корпусной или неподвижной части 15 без вставленного регулирующего элемента или поворотной части 29 так, что здесь особенно хорошо можно видеть, соответственно, слегка желобообразное углубление 43. Вследствие этого получается байонетный фиксирующий механизм, а именно тогда, когда в окончательном стопорном положении, например, слегка реброобразные или шипообразные возвышения или выступы 42 на соответствующей стопорной лапке 31 входят в соответствующие углубления 43 на внутренней стороне дна 15b горшкообразной корпусной крышки 9а, соответственно, второго стопорного устройства. Поскольку поворотная часть снабжена поддерживающим вращение захватным ребром 45 или захватным выступом 45, также непосредственно через выравнивание этого захватного выступа может определяться, достигнуто ли фиксирующее положение или нет.
Наконец, на внутренней стороне периферийной стенки 15а горшкообразной корпусной части 9а также выполнены еще вертикальные углубления или вертикальные выступы, которые взаимодействуют с соответствующими вертикальными выступами или, соответственно, вертикальными углублениями на внешней стороне колпачкообразной поворотной части 29 и, тем самым, также поддерживают еще байонетный фиксирующий механизм. Вследствие этого также для производящего стопорение человека непосредственно становится заметно, когда регулирующий элемент 28 достиг окончательного фиксирующего положения.
Пример осуществления изобретения пояснялся для того случая, когда выемка 23 в дне 15b является крестообразной, и, соответственно, стопорные лапки 31 также выполнены крестообразно. Однако принципиально также было бы возможно, что как выемки, так и стопорные лапки выполнены только диагонально или в виде перекладины.
Так же вместо поясненного винтового пружинного элемента 35 и выполненной предпочтительно из полимерного материала горшкообразной корпусной части 15 могут быть отлиты упругодеформируемые расположенные внутри лапки из полимерного материала, которые оказывают желаемое усилие предварительного натяжения на регулирующий элемент 28.
Расфиксация, в свою очередь, может производиться также просто, как и фиксация. Та же самая поворотная часть 29, которая использовалась для фиксации, теперь, наоборот, поворачивается назад или поворачивается дальше до тех пор, пока стопорные лапки 31 не окажутся в надлежащем положении относительно крестообразного сквозного отверстия 23, которое проходит через оба расположенных друг на друге дна 15b. В таком случае, за счет поддержки аккумулятора пружинного усилия вдавленная поворотная часть перемещается, в свою очередь, обратно в свое приподнятое на фиг.6 положение.
Посредством крышеобразных приемных поверхностей на стопорных лапках 31 или посредством, в противном случае, наклонно или клиновидно выполненных приемных поверхностей при увеличивающемся поворотном движении может создаваться увеличенно более сильное, аксиально ориентированное друг на друга усилие предварительного натяжения между обоими взаимодействующими фиксирующими устройствами 9. При этом каждое из обоих фиксирующих устройств 9 неподвижно закреплено на соответствующей секции мебели, например на донной полке 1с и на находящейся под ней верхней полке 1с. Поскольку соответственно фланцеобразный окружной пояс 15с расположен на противоположной внутренней стороне контейнера, то даже при увеличенно больших ориентируемых друг на друга стопорных усилиях ни одно из двух фиксирующих устройств не может вытягиваться из своего отверстия в соответствующей стеллажной полке. При этом каждое из обоих фиксирующих устройств 9 удерживается посредством фланцеобразного пояса на соответствующей стеллажной полке.
Формула изобретения
1. Стопорная система для фиксации двух секций мебели друг на друге, в частности, посредством соединения двух боковых стенок (1c, 1d), в которых соответственно встроено стопорное устройство (9), отличающаяся тем, что стопорная система включает в себя два стопорных устройства (9), оба стопорных устройства (9) выполнены функционально одинаково, каждое стопорное устройство (9) имеет горшкообразную неподвижную часть (15), в соответствующем дне (15b) горшкообразной неподвижной части (15) выполнена выемка (23), выемка (23) включает в себя проходящие радиально наружу от аксиально пронизывающей неподвижную часть (15) центральной оси (25) участки (23 ) выемки, исходя от центральной оси (25) предусмотрены, по меньшей мере, два проходящих радиально наружу участка (23 ) выемки, которые расположены друг относительно друга через регулярные угловые участки, во внутреннем пространстве (27) горшкообразной неподвижной части (15) предусмотрена действующая в качестве регулирующего элемента (29) поворотная часть (29), поворотная часть (29) включает в себя исполнительную часть (29а) с расположенным аксиально смещенным в направлении дна (15b) стопорным элементом (29с), стопорный элемент (29с) имеет форму с выступающими радиально наружу стопорными лапками (31) так, что образованный таким образом стопорный элемент (29с) выполнен с возможностью аксиального прохождения через выемку (23), и для осуществления стопорения два размещенных друг на друге своими донными областями стопорных устройства (9) выполнены с возможностью фиксации друг с другом за счет того, что посредством выдавливания регулирующего элемента или поворотной части (29) первого стопорного устройства (9) соответствующий стопорный элемент (29 с) выполнен с возможностью прохождения через выемку (23) в дне (15b) собственного стопорного устройства (9) и через соответствующую выемку (23) в дне (15b) расположенного смежно второго стопорного устройства (9) и за счет последующего поворотного движения выполнен с возможностью фиксации позади стопорных выступов (41), которые принадлежат дну (15b) другого стопорного устройства (9) и сформированы между участками (23 ) выемки.
2. Стопорная система по п.1, отличающаяся тем, что стопорный элемент (29с) и соответствующая ему выемка (23) в дне (15b) первого стопорного устройства (9) сформированы и рассчитаны по размерам таким образом, что соответствующая выемка (23) окружает с зазором (33) стопорный элемент (29с).
3. Стопорная система по п.1 или 2, отличающаяся тем, что выемка (23) в дне (15b) выполнена крестообразной.
4. Стопорная система по п.3, отличающаяся тем, что стопорный элемент (29 с) выполнен крестообразным.
5. Стопорная система по п.1 или 2, отличающаяся тем, что стопорное действие осуществлено по типу байонетного замка.
6. Стопорная система по п.1 или 2, отличающаяся тем, что стопорный элемент (29 с) включает в себя несколько радиально выступающих стопорных лапок (31).
7. Стопорная система по п.6, отличающаяся тем, что стопорные лапки (31) в поперечном сечении, параллельном центральной оси (25), выполнены крышеобразными и/или снабжены выступом или возвышением (42), в частности реброобразным выступом (42).
8. Стопорная система по п.6, отличающаяся тем, что с внутренней стороны корпуса предусмотрены, соответственно, углубления (40) или выступы, которые для реализации байонетного стопорного действия, по меньшей мере, в зафиксированном положении, взаимодействуют с соответствующим выступом (38) или соответствующим углублением на стопорных лапках (31) и/или на колпачкообразной исполнительной части (29а), которая представляет собой поворотную часть (29).
9. Стопорная система по п.1 или 2, отличающаяся тем, что регулирующий элемент (29) имеет колпачкообразную исполнительную часть (29а).
10. Стопорная система по п.9, отличающаяся тем, что на окружном поясе колпачкообразной исполнительной части (29а) предусмотрен, по меньшей мере, один выступ (38), а на цилиндрической внутренней стороне периферийной стенки (15а) горшкообразной неподвижной части (15) соответствующее углубление (40), или наоборот, причем стопорный выступ (38) входит в углубление (40) в стопорном положении и/или в свободном положении.
11. Стопорная система по п.1 или 2, отличающаяся тем, что во внутреннем пространстве (34) горшкообразной неподвижной части (15) предусмотрен пружинный элемент (35), который выдавливает регулирующий элемент или поворотную часть (29) из соответствующего дна (15b).
12. Стопорная система по п.1 или 2, отличающаяся тем, что регулирующий элемент или поворотная часть (29) удерживается без возможности выпадения во внутреннем пространстве (34) горшкообразной неподвижной части (15).
13. Стопорная система по п.1 или 2, отличающаяся тем, что каждое стопорное устройство (9) в соответствующей стенке (1a-1d) секции мебели, в частности коробчатой или выполненной в виде контейнера секции мебели, закреплено без возможности проворота.
14. Стопорная система по п.13, отличающаяся тем, что стопорное устройство (9) по своей форме в целом отличается от тела вращения.
15. Стопорная система по п.1 или 2, отличающаяся тем, что горшкообразный стопорный корпус (9а) на противоположной соответствующему дну (15b) стороне снабжен окружным, фланцеобразным поясом (15с).
16. Стопорная система по п.15, отличающаяся тем, что фланцеобразный пояс (15с) отличается от круглой формы, и, предпочтительно, выполнен овальным.
РИСУНКИ
|
|